Изобретение относится к области металлургии, в частности к устройствам подачи мелкодисперсной стартовой смеси в выпускной канал сталеразливочного ковша перед его подачей к плавильной печи для приема жидкой стали.
Известно устройство для заполнения сыпучей смесью выпускного канала разливочного ковша, содержащее установленную на опоре, имеющую возможность поворота относительно вертикальной оси, колонну, к верней части которой закреплена консоль, удерживающая на конце питающий бункер с мелкодисперсным материалом, ссыпающимся сверху самотеком в выпускной канал ковша при открывании вручную с помощью тяги с рычагом шиберной заслонки, размещенной в нижней части бункера [Pat. 2015009249 Japan / B22D 41/46. 11/10. Filler casting apparatus and filler casting method / S. Norio [et. al] JFE steel corp.- №2013-135282; filed 27.06.2013, published 19.01.2015].
Недостатком данного устройства является то, что из-за воздействия восходящих конвективных потоков нагретого воздуха на вертикальную струю мелкодисперсного материала, истекающего из бункера с высоты нескольких метров, некоторая его часть рассеивается в полости ковша, что приводит к повышенному расходу дорогой стартовой смеси. Наряду с этим, у данного устройства отсутствует возможность изменения положения питающего бункера вдоль консоли, что снижает точность его позиционирования относительно центральной оси выпускного канала ковша в случае ее смещения от заданных координат при установке самого ковша подъемным краном на подготовительный стенд для обслуживания.
Наиболее близким по технической сути к заявляемому решению является устройство, включающее поворотную колонну, установленную на основании и несущую консоль, выполненную из двух жестко связанных поперечиной между собой балок с продольными направляющими для колесных пар тележки, удерживающей бункер с сыпучим материалом, расположенный в горизонтальном положении на опорных роликах гибкий металлический рукав, задний конец которого соединен с нижней частью бункера, а передняя его часть, огибающая шкив, находится в вертикальном положении, причем тележка имеет возможность перемещения с помощью цепного привода в позицию, в которой гибкий металлический рукав по всей своей длине переходит в вертикальное положение для обеспечения пересыпание по нему самотеком стартовой смеси из бункера в выпускной канал сталеразливочного ковша [Черная металлургия: Бюл. ин-та «Черметинформация».- 2017.- №3.- С. 54-59].
В основу предлагаемого изобретения поставлена задача повышения эффективности функционирования устройства за счет обеспечения возможности корректировки центрирования гибкого металлического рукава при его переводе в вертикальное положение относительно входного отверстия выпускного канала разливочного ковша перед подачей в него самотеком сыпучей стартовой смеси.
Техническим результатом изобретения является повышение эффективности функционирования заявляемого устройства за счет устранения потерь дорогостоящей стартовой смеси благодаря исключению ее рассеивания восходящими конвективными потоками горячего воздуха, а также лучшему центрированию относительно входного отверстия выпускного канала разливочного ковша струи поступающего в него самотеком сыпучего материала.
Технический результат достигается за счет того, что устройство включает в себя поворотную колонну, установленную на основании, и несущую консоль, выполненную из двух жестко связанных поперечиной между собой балок с продольными направляющими для колесных пар тележки, удерживающей бункер с сыпучим материалом, расположенный в горизонтальном положении на опорных роликах гибкий металлический рукав, задний конец которого соединен с нижней частью бункера, а передняя его часть огибает шкив и находится в вертикальном положении, причем тележка имеет возможность перемещения с помощью цепного привода в позицию, в которой гибкий металлический рукав по всей своей длине переходит в вертикальное положение для обеспечения пересыпания по нему самотеком стартовой смеси из бункера в выпускной канал сталеразливочного ковша. Согласно изобретению, продольные направляющие колесных пар тележки жестко связаны между собой двумя поперечинами и имеют возможность перемещения относительно балок консоли и удерживают в опорах поворотный рычаг, прижимающий посредством профилированного ролика гибкий металлический рукав к шкиву и снабженный лазерным визиром-дальномером, а также концевым выключателем.
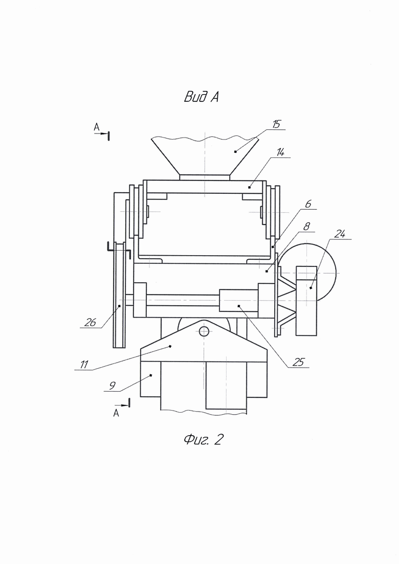
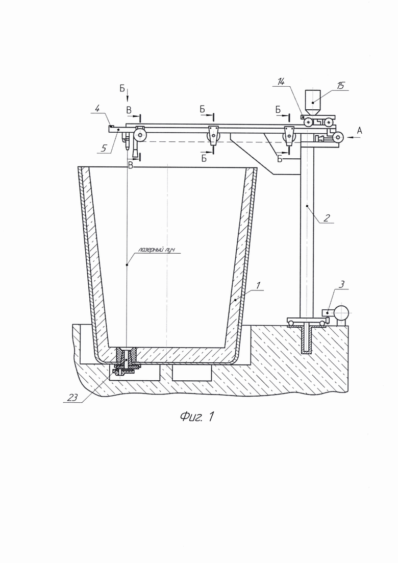
Изобретение поясняется чертежами, где на фиг. 1 показан общий вид заявляемого устройства в исходной позиции; на фиг. 2 показан вид А на фиг. 1; на фиг. 3 показан вид Б на фиг. 1; на фиг. 4 показан разрез А-А на фиг. 2; на фиг. 5 показано сечение Б-Б на фиг. 1; на фиг. 6 показано сечение В-В на фиг. 1; на фиг. 7 показан разрез Г-Г на фиг. 3; на фиг. 8 показано срабатывание концевого выключателя при переходе гибкого металлического рукава в вертикальное положение; на фиг. 9 показано устройство во время заполнения выпускного канала разливочного ковша стартовой смесью самотеком по гибкому металлическому рукаву.
Предлагаемое устройство располагается рядом с размещенным на подготовительном стенде сталеразливочным ковшом 1 и включает колонну 2, установленную на основании возможностью поворота с помощью привода 3, и несущую консоль, выполненную из двух жестко связанных между собой поперечиной 4 балок 5. На этих балках смонтированы две продольные направляющие 6, жестко связанные между собой перемычками 7, 8 и имеющие возможность относительного перемещения с помощью винтового механизма, закрепленного на жестко связанной с поворотной колонной 2 раме 9 и включающего мотор-редуктор 10 с винтовой передачей, винт которой установлен в опорах 11, 12, а гайка 13 закреплена снизу на перемычке 8. На продольных направляющих 6 установлены колесные пары тележки 14, поддерживающей бункер 15 с сыпучей стартовой смесью. К нижней части бункера прикреплен гибкий металлический рукав 16, располагаемый в горизонтальном положении на двух опорных роликах 17 и огибающий своей передней частью шкив 18. Каждый из опорных роликов 17 центрируется втулками 19 на оси 20, концы которой закреплены на двух вертикально расположенных пластинах 21, 22, жестко связанных с продольными направляющими 6 и контактирующими с наружными боковыми поверхностями балок 5 консоли. При этом тележка 14 имеет возможность перемещения по продольным направляющим 6 с помощью цепного привода в положение, в котором гибкий металлический рукав 16 может занять вертикальное положение и обеспечить пересыпание по нему самотеком стартовой смеси из бункера 15 в выпускной канал 23 сталеразливочного ковша 1. Цепной привод тележки 14 включает червячный мотор-редуктор 24, выходной вал которого связан с трансмиссионным валом 25, несущим на конце ведущую звездочку 26, передающую посредством пластинчатой цепи 27 вращение ведомой звездочке 28, жестко связанной с хвостовиком вала 29, подшипниковые опоры которого установлены на вертикально расположенных пластинах 30, смонтированных на передних частях продольных направляющих 6. Между этими пластинами на валу 29 посредством шпоночного соединения жестко закреплен шкив 18, находящийся в одной вертикальной плоскости с опорными роликами 17 гибкого металлического рукава 16. Шкив 18 имеет кольцевую канавку, форма которой соответствует половинному поперечному сечению гибкого металлического рукава 16, а диаметр шкива по максимальному углублению кольцевой канавки равен диаметру опорной части ходового колеса тележки 14. Пластичная цепь 27, обвивающая звездочки 28 и 26, своими концами связана с рамой тележки 4 с помощью натяжных винтов 31, а ее нижняя ветвь поддерживается пластинами 22, уменьшающими ее провисание.
Для управления согласованной работой механизмов перемещения жестко связанных между собой продольных направляющих 6 и тележки 14 служит система автоматики, включающая установленный в закрепленных на продольных направляющих 6 опорах 32 поворотный рычаг 33, несущий на оси 34 профилированный ролик 35 и прижимающий им гибкий металлический рукав 16 к шкиву 18. На наружной части поворотного рычага 33 установлен конечный выключатель 36, а к горизонтальной оси 37 рычага прикреплен с обеспечением самоустановки в вертикальном положении помещенный в теплозащитный корпус лазерный визир-дальномер 38. Электрическая связь концевого выключателя 36 и лазерного визира-дальномера 38 осуществляется посредством защищенных от перегрева кабелей 39 и 40, подключенных к распределительной коробке 41, которая закреплена на перемычке 7 и стыкуется с защитным трубопроводом 42, экранирующим электрическую проводку.
Принцип работы предложенного устройства следующий. Перед началом проведения операции по заполнению стартовой смесью выпускного канала 23 сталеразливочного ковша 1, предварительно установленного подъемным краном на подготовительный стенд, поворотная колонна 2 со связанными поперечиной 4 балками 5 несущей консоли отвернуты в сторону относительно ковша. По команде оператора с помощью привода механизма 3 колонну 2 поворачивают на требуемый угол относительно сталеразливочного ковша 1 и останавливают в положении, при котором продольная ось несущей консоли будет проходить через центр входного отверстия его выпускного канала 23. Продольные направляющие 6 и тележка 14, поддерживающая заполненный стартовой смесью бункер 15, находятся в исходной позиции как показано на фиг. 1. Причем гибкий металлический рукав 16, соединенный задним концом с нижней частью бункера 15, располагается в горизонтальном положении на опорных роликах 17. Передняя его часть, огибающая шкив 18, прижимается к нему профилированным роликом 35, удерживающимся поворотным рычагом 33 (фиг. 7). После этого включают лазерный визир-дальномер 38 и запускают винтовой механизм, размещенный на горизонтальной раме 9. Его мотор-редуктор 10, вращая ходовой винт 43, находящийся в зацеплении с гайкой 13, закрепленной снизу на задней перемычке 8, обеспечивает перемещение продольных направляющих 6 по балкам 5 несущей консоли в сторону выпускного канала 23 сталеразливочного ковша 1, о чем будет свидетельствовать движущаяся по поверхности футеровки его днища светящаяся точка от лазерного луча визира-дальномера 38. В момент попадания лазерного луча в сам выпускной канал 23 путь его прохождения до отражающей поверхности резко увеличится на длину канала, что послужит командой на остановку винтового механизма перемещения продольных направляющих 6 и к одновременному пуску привода цепного механизма перемещения тележки 14, поддерживающей бункер 15 со стартовой смесью. Ведущая звездочка 26, установленная на трансмиссионном валу 25, вращаемом мотором-редуктором 24, создаст при своем вращении тяговое усилие в пластинчатой цепи 27, под действием которого ее нижняя ветвь, поддерживаемая пластинами 22, приведет во вращение ведомую звездочку 28 совместно с валом 29, размещенным в подшипниковых опорах на вертикальных пластинах 30 и несущим жестко закрепленный на нем шкив 18. Под действием этого усилия при одновременном вращении обеих звездочек пластинчатая цепь 27 соединенная посредством натяжных винтов 31 с тележкой 14 заставит ее перемещаться по продольным направляющим 6. Благодаря тому, что диаметр опорной части ходовых колес тележки равен диаметру шкива 18 по максимальному углублению его кольцевой канавки, в которой находится поджимаемый к нему профилированным роликом 35 поворотного рычага 33 гибкий металлический рукав 16, горизонтально располагаемый на последовательно установленных опорным роликах 17, поступательное перемещение тележки и рукава будет происходить с одинаковой скоростью относительно продольных направляющих без его провисания между опорными роликами 17. Когда тележка 14 с бункером 15 достигнет рабочей позиции, в которой гибкий металлический рукав 16 займет вертикальное положение (фиг. 8) и, воздействуя через профилированный ролик 35, повернет на оси 37 рычаг 33, сработает размещенный на его наружной части концевой выключатель 36 и обеспечит остановку цепного механизма. По каналу вертикально расположенного гибкого металлического рукава 16 (фиг. 9) стартовая смесь беспрепятственно самотеком из полости бункера 15 попадет в выпускной канал 23 сталеразливочного ковша 1. После полного высыпания стартовой смеси из бункера осуществляют реверс цепного механизма для перемещения тележки 14 в исходное положение. Затем отводят в сторону несущую консоль путем поворота в нужном направлении колонны 2 для уборки подъемным краном сталеразливочного ковша 1, подготовленного к приему жидкого металла из плавильной печи.
Таким образом, технические решения, используемые в предлагаемом изобретении, в сравнении с известными аналогами позволят повысить эффективность функционирования заявляемого устройства за счет устранения потерь дорогостоящей стартовой смеси благодаря исключению ее рассеивания восходящими конвективными потоками горячего воздуха, а также лучшему центрированию относительно входного отверстия выпускного канала разливочного ковша струи поступающего в него самотеком сыпучего материала.
| название | год | авторы | номер документа |
|---|---|---|---|
| Ковшевой шиберный затвор | 2019 |
|
RU2751196C2 |
| СПОСОБ ПОДГОТОВКИ МЕТАЛЛУРГИЧЕСКОГО КОВША | 2016 |
|
RU2639109C2 |
| Способ заполнения сталевыпускного канала стартовой смесью | 2022 |
|
RU2802042C1 |
| Устройство для сортирования зерна | 1939 |
|
SU63044A1 |
| Установка для футерования металлургических ковшей | 1981 |
|
SU997981A1 |
| БУНКЕР ДЛЯ СЫПУЧИХ МАТЕРИАЛОВ | 2016 |
|
RU2641863C1 |
| ПОДОВЫЙ СТАЛЕПЛАВИЛЬНЫЙ АГРЕГАТ | 1993 |
|
RU2061943C1 |
| Катапульта для открытия выпускного канала металлургического ковша с донным шиберным затвором | 2019 |
|
RU2751946C2 |
| УСТРОЙСТВО ДЛЯ ПОДАЧИ КОМПОНЕНТОВ ПРИ ПРЯМОМ ЛЕГИРОВАНИИ СТАЛИ | 2005 |
|
RU2279484C1 |
| Устройство для подачи шлакообразующей смеси в кристаллизатор слябовой машины непрерывного литья заготовок | 2015 |
|
RU2630913C2 |
Изобретение относится к области металлургии. Устройство для подачи стартовой смеси в выпускной канал (23) сталеразливочного ковша (1) содержит основание, установленную на нем поворотную колонну (2) с несущей консолью, тележку с бункером (15) для стартовой смеси, опорные ролики и шкив, установленные на несущей консоли, гибкий металлический рукав, концевой выключатель и лазерный визир-дальномер. На консоли, выполненной из двух связанных поперечиной (4) балок (5), установлены продольные направляющие тележки, связанные двумя перемычками и перемещаемые относительно балок. Гибкий рукав соединен задним концом с бункером и размещен на опорных роликах в горизонтальном положении с огибанием шкива и размещением передней части вертикально. Тележка при перемещении по направляющим переводит гибкий рукав в вертикальное положение по всей длине для пересыпания по нему стартовой смеси из бункера самотеком. На продольных направляющих закреплены опоры, в которых установлен поворотный рычаг, прижимающий рукав к шкиву профилированным роликом. Обеспечивается устранение потерь стартовой смеси за счет устранения ее рассеивания восходящими потоками воздуха и центрирования струи поступающей смеси относительно выпускного канала ковша. 9 ил.
Устройство для подачи стартовой смеси в выпускной канал сталеразливочного ковша, включающее основание, установленную на нем поворотную колонну с несущей консолью, выполненной из двух балок, жестко связанных между собой поперечиной, на которых установлены продольные направляющие для колесных пар тележки, выполненной с возможностью удержания бункера со стартовой смесью, опорные ролики и шкив, установленные на несущей консоли, гибкий металлический рукав, соединенный задним концом с нижней частью бункера со стартовой смесью, причем гибкий металлический рукав выполнен с возможностью размещения на опорный роликах в горизонтальном положении при размещении передней части упомянутого металлического рукава, огибающей шкив, в вертикальном положении, при этом тележка выполнена с возможностью перемещения цепным приводом с обеспечением переведения гибкого металлического рукава в вертикальное положение по всей длине и пересыпания по нему стартовой смеси из бункера в выпускной канал сталеразливочного ковша самотеком, отличающееся тем, что оно снабжено поворотным рычагом, установленным в опорах, закрепленных на продольных направляющих колесных пар тележки, и установленными на поворотном рычаге профилированным роликом, концевым выключателем и лазерным визиром-дальномером, при этом поворотный рычаг выполнен с возможностью прижима гибкого металлического рукава к шкиву посредством профилированного ролика, а продольные направляющие колесных пар тележки жестко связаны между собой двумя перемычками и выполнены с возможностью перемещения относительно балок несущей консоли.
| ЕРОНЬКО С.П | |||
| и др | |||
| Разработка системы механизированной подачи стартовой смеси в канал ковшового затвора | |||
| Черная металлургия: бюллетень научно-технической и экономической информации | |||
| ОАО "Черметинформация" | |||
| Автомобиль-сани, движущиеся на полозьях посредством устанавливающихся по высоте колес с шинами | 1924 |
|
SU2017A1 |
| Видоизменение прибора для получения стереоскопических впечатлений от двух изображений различного масштаба | 1919 |
|
SU54A1 |
| KR 1020120033028 A, 06.04.2012 | |||
| JP 8103863 A, 23.04.1996 | |||
| JP 2015009249 A, 19.01.2015 | |||
| УСТРОЙСТВО ДЛЯ ПОДГОТОВКИ МЕТАЛЛУРГИЧЕСКИХ КОВШЕЙ | 1996 |
|
RU2100143C1 |
| 0 |
|
SU183114A1 | |
Авторы
Даты
2024-12-23—Публикация
2024-02-19—Подача