Изобретение относится к области измерительной техники, в частности, к устройствам для определения коэффициентов теплопроводности сыпучих материалов.
Известно устройство для определения теплопроводности сыпучих материалов (ГОСТ 30256-94 https://docs.cntd.ru/document/9056058), состоящее из металлической трубки - корпуса, рукоятки, электронагревателя в виде сложенного пополам эмалированного провода из сплава сопротивления и проволочной термопары.
Недостатком данного устройства является нагревательный элемент малой мощности.
Известно устройство для определения теплопроводности сыпучих материалов (патент РФ №120236, опубл. 10.09.2012), содержащее линейный источник теплоты постоянной мощности в виде проволоки высокого сопротивления, который расположен п-образно в корпусе прямоугольной формы, медь-константановую термопару, закрепленную сверху, источник регулируемого стабилизированного напряжения и регистратор зависимости изменения температуры во времени.
Недостатками данного устройства являются нагревательный элемент малой мощности, конструкция контейнера, в котором размещается исследуемый материал, ограничивает исследуемый фракционной состав.
Известно устройство для определения теплопроводности сыпучих материалов (статья Танганов Б.Б. и др. «Чувствительная установка для измерения теплопроводности строительных и сыпучих материалов, тары и упаковок» //Вестник Бурятского государственного университета. Химия. Физика. - 2012. - №. 3. - С. 131-134) состоящее из корпуса с размещенным внутри нагревателем, кольцом для размещения исследуемого материала, закрытого теплоуловителем.
Недостатками данного устройства являются рамка для засыпки сыпучих материалов, габариты которой ограничивают крупность исследуемых материалов, нагревательный элемент малой мощности.
Известно устройство для определения теплопроводности сыпучих материалов (статья Pope A. L., Zawilski B., Tritt T. M. «Description of removable sample mount apparatus for rapid thermal conductivity measurements» //Cryogenics. - 2001. - Т. 41. - №. 10. - С. 725-731), принцип работы которого основан на размещении исследуемого материала в съемной шайбе, которая устанавливается в холодильник замкнутого цикла, принцип работы основан на методе абсолютной теплопроводности.
Недостатками данного устройства являются съемная шайба для засыпки сыпучих материалов, габариты которой ограничивают крупность и толщину слоя исследуемых материалов; нагревательный элемент малой мощности.
Известно устройство для определения теплопроводности сыпучих материалов (статья Панов Е. Н. и др. «Установка для измерения теплопроводности углеродных зернистых и порошковых материалов» //Вісник НТУУ «КПI». Хімічна інженерія, екологія та ресурсозбереження. - 2011. - №. 1. - С. 58-63), принятое за прототип, состоящее из блоков мощности, обработки и измерения. Блок измерения состоит из основного и фонового нагревателей межу которыми размещен исследуемый материал, термопары расположены в торцах исследуемого материала.
Недостатками данного устройства являются нагреватели малой мощности, сложность конструкции, обусловленная использованием 2 источников нагрева, термопары установлены в торцах исследуемого материала.
Техническим результатом является увеличение диапазона исследований материалов.
Технический результат достигается тем, что корпус выполнен из жаропрочного материала, на внешней поверхности которого закреплены эксцентриковые замки, нижний ограничитель выполнен в форме нижней плиты из жаростойкого материала, в которой выполнены сквозные отверстия, в которые установлены симметрично оси и через равные расстояния термопары, при этом концы термопар закреплены на подставке, в центре которой установлен стакан, на котором установлена крышка, в которой выполнены отверстия, графитовый нагреватель соединен с выходом понижающего трансформатора через водоохлаждаемые медные токоподводы, которые через отверстия в крышке установлены в стакан, при этом выход термопар соединены с входом модуля ввода аналоговых сигналов, выход которого соединен с аналоговым входом программируемого логического контроллера, аналоговый выход которого соединен со входом модуля вывода аналоговых сигналов, порт COM1 панели оператора соединен с портом COM1 ПЛК, выход блока вывода аналоговых сигналов соединен со входом регулятора мощности, который выполнен с возможностью подключения к сети 220 В, выход регулятора мощности соединен со входом понижающего трансформатора. Жаропрочный материал, из которого выполнен корпус, представлен нержавеющей сталью. Жаростойкий материал, из которого выполнен нижний ограничитель в форме нижней плиты, представлен высокочистым бетоном на основе сферокорунда.
Установка для определения теплопроводности поясняется следующей фигурами:
фиг. 1 - общий вид устройства;
фиг. 2 - устройство в проекции;
фиг. 3 - блок-схема подключения.
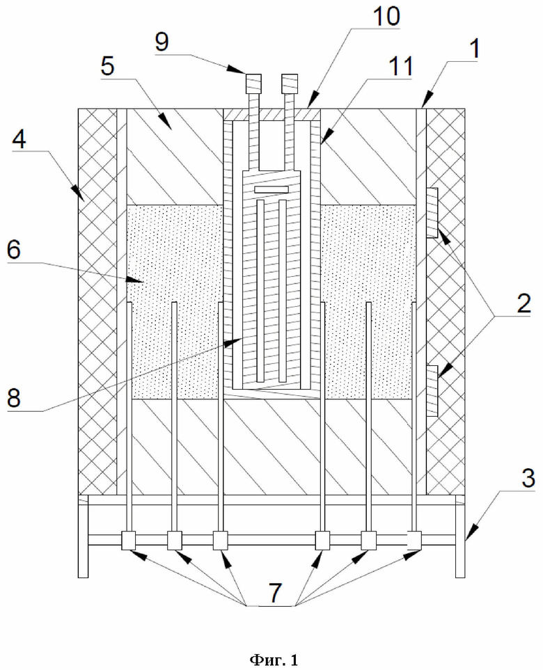
1 - корпус;
2 - эксцентриковый замок;
3 - подставка;
4 - изоляционный материал;
5 - плита;
6 - исследуемый материал;
7 - термопары;
8 - графитовый нагреватель;
9 - водоохлаждаемые медные токоподводы;
10 - цилиндрическая крышка;
11 - стакан;
12 - программируемый логическим контроллер (ПЛК);
13 - регулятор мощности;
14 - понижающий трансформатор;
15 - модуль ввода аналоговых сигналов;
16 - модуль вывода аналоговых сигналов;
17 - панель оператора.
Установка для определения теплопроводности сыпучих материалов состоит из корпуса 1, выполненного в форме цилиндра из жаропрочного материала, например, нержавеющей стали. На внешней поверхности корпуса 1 жестко закреплены эксцентриковые замки 2. Снаружи корпуса 1 закреплен изоляционный материал 4, например из муллитокремнезёмной ваты. Нижняя плита 5, выполненная в форме цилиндра из жаростойкого материала, например, высокочистого бетона на основе сферокорунда, установлена на подставке 3. В нижней плите 5, выполнены сквозные отверстия. Корпус 1 установлен на плиту 5 и закреплен эксцентриковыми замками 2. Через отверстия в нижней плите 5 в одной плоскости симметрично оси и через равные расстояния установлены высокотемпературные термопары 7 в количестве не менее трех на сторону, например вольфрам-рениевые, измерительные части которых расположены в слое исследуемого материала 6, а концы закреплены на подставке 3. Стакан 11 установлен в центр нижней плиты 5, между стенками которого и корпусом 1 образовано пространства для засыпания исследуемого материала 6. Верхний ограничитель выполнен в форме верхней плиты 5, которая установлена внутри верхней части корпуса 1, на исследуемый материал 6. Сверху на стакан 11 установлена крышка 10, которые выполнены из жаростойкого материала, например, высокочистого бетона на основе сферокорунда. В крышке 10 выполнено отверстия. Графитовый нагреватель 8, соединен с выходом понижающего трансформатора 14 через водоохлаждаемые медные токоподводы 9, которые через отверстия в крышке 10, установлены в стакан 11. Выход термопар 7 соединены с входом модуля ввода аналоговых сигналов 15, выход которого соединен с аналоговым входом программируемого логического контроллера (ПЛК) 12. Аналоговый выход ПЛК 12 соединен со входом модуля вывода аналоговых сигналов 16. Порт COM1 панели оператора 17 соединен с портом COM1 ПЛК 12. Выход блока вывода аналоговых сигналов 16 соединен со входом регулятора мощности 13, который выполнен с возможностью подключения к сети 220 В. Выход регулятора мощности соединен со входом понижающего трансформатора 14.
Установка по определению коэффициента теплопроводности работает следующим образом. На подставку 3 устанавливают плиту 5, на которую устанавливают корпус 1 и закрепляют эксцентриковые замки 2. Термопары 7 через отверстия в нижней плите 5 помещаются спаями в зону исследуемого материала 6, и закрепляют на подставке 3 и подключают к модулю ввода аналоговых сигналов 15. Устанавливают стакан 11, и засыпается исследуемый материал 6 между стенками корпуса 1 и стакана 11, после этого накрывают верхней плитой 5. Графитовый нагреватель 8 помещают в стакане 11, закрывают крышкой 10 и подключают к силовому блоку. Слой изоляции 4 закрепляют на корпусе 1.
С помощью панели оператора 17 запускают нагрев установки, значение уставки задается по среднему значению показаний термопар 7, ближних к нагревателю. ПЛК 12 подает сигнал на модуль вывода аналоговых сигналов 16, который формирует управляющий сигнал на регулятор мощности 13. Регулятор мощности 13 регулирует подаваемую от сети 220 В электрическую нагрузку на понижающий трансформатор 14, который передает преобразованное питание на графитовый нагреватель 8. С термопар 7 измеренные значения ЭДС поступают в модуль, где преобразуются в значения температур. При достижении установленной температуры на термопарах 7 ближних к графитовому нагревателю 8 проводят термостатирование установки до момента, когда значения на дальних от нагревателя 8 термопарах 7 перестает изменяться. После этого задается следующая целевая температура и процесс повторяется. Верхний температурный предел измерения коэффициента теплопроводности составляет 1700°С.
Для калибровки установки проводится опыт с материалом, коэффициент теплопроводности которого известен, например, шамотный кирпич.
Повышение диапазона измерений обеспечивается за счет использования графитового нагревателя и материалов изоляции, которые способны работать при температуре 1700°С. Упрощение конструкции обеспечивается за счет установки одного нагревателя, при этом равномерность тепловых потоков обеспечивается использованием плит, ограничивающих слой исследуемого материала, из материала с коэффициентом теплопроводности близким к исследуемому материалу, высотой слоя большей, чем диаметр, а также равномерным нагревом из центра наружу. Величина действительного теплового потока может быть определена по калибровочному опыту на материале с известным коэффициентом теплопроводности. Увеличение количества получаемых экспериментальных данных происходит за счет использования промежуточных термопар в исследуемом слое, что делает исследования более точными.
| название | год | авторы | номер документа |
|---|---|---|---|
| УСТРОЙСТВО ДЛЯ ВЫРАЩИВАНИЯ МОНОКРИСТАЛЛОВ МЕТОДОМ ОСЕВОГО ТЕПЛОВОГО ПОТОКА ВБЛИЗИ ФРОНТА КРИСТАЛЛИЗАЦИИ (ОТФ-МЕТОДОМ) ПРИ ИЗБЫТОЧНОМ ДАВЛЕНИИ ГАЗА В РОСТОВОЙ КАМЕРЕ | 2007 |
|
RU2357022C1 |
| СПОСОБ ВЫРАЩИВАНИЯ МОНОКРИСТАЛЛОВ-СЦИНТИЛЛЯТОРОВ НА ОСНОВЕ ИОДИДА НАТРИЯ ИЛИ ЦЕЗИЯ И УСТРОЙСТВО ДЛЯ ЕГО РЕАЛИЗАЦИИ | 2006 |
|
RU2338815C2 |
| УСТАНОВКА ДЛЯ ВЫРАЩИВАНИЯ МОНОКРИСТАЛЛОВ МЕТОДОМ ОСЕВОГО ТЕПЛОВОГО ПОТОКА ВБЛИЗИ ФРОНТА КРИСТАЛЛИЗАЦИИ | 2007 |
|
RU2357021C1 |
| СПОСОБ КРИП-ОТЖИГА ТИТАНОВОГО ЛИСТОВОГО ПРОКАТА И УСТРОЙСТВО ДЛЯ ЕГО ОСУЩЕСТВЛЕНИЯ | 2007 |
|
RU2357827C1 |
| Устройство для измерения теплопроводности твердых материалов | 2017 |
|
RU2654826C1 |
| УСТАНОВКА ДЛЯ ОПРЕДЕЛЕНИЯ ТЕПЛОПРОВОДНОСТИ МАТЕРИАЛОВ ПОД ДАВЛЕНИЕМ | 2022 |
|
RU2783366C1 |
| Устройство для определения темпе-РАТуРОпРОВОдНОСТи НЕэлЕКТРОпРОВОд-НыХ МАТЕРиАлОВ | 1973 |
|
SU840722A1 |
| Устройство для дифференциального термического анализа | 1985 |
|
SU1318879A2 |
| Тепловой влагомер сыпучих материалов | 1981 |
|
SU960607A1 |
| Способ измерения теплопроводности твердых материалов | 2017 |
|
RU2654823C1 |
Изобретение относится к области измерительной техники, в частности к устройствам для определения коэффициентов теплопроводности сыпучих материалов. Предложено устройство для определения теплопроводности сыпучих материалов, включающее корпус в форме цилиндра, снаружи которого закреплен изоляционный материал - муллитокремнеземная вата, нижний ограничитель, в котором установлены в одной плоскости термопары, рабочая часть которых выполнена с возможностью нахождения в слое исследуемого материала, расположенного в зоне между нагревателем и стенкой, верхний ограничитель, выполненный с возможностью расположения в корпусе над исследуемым материалом, нагреватель. Причем корпус выполнен из жаропрочного материала, на внешней поверхности которого закреплены эксцентриковые замки. Нижний ограничитель выполнен в форме нижней плиты из жаростойкого материала, в которой выполнены сквозные отверстия, в которые установлены симметрично оси и через равные расстояния термопары, при этом концы термопар закреплены на подставке, в центре которой установлен стакан, на котором установлена крышка, в которой выполнены отверстия. Графитовый нагреватель соединен с выходом понижающего трансформатора через водоохлаждаемые медные токоподводы, которые через отверстия в крышке установлены в стакан. При этом выходы термопар соединены с входом модуля ввода аналоговых сигналов, выход которого соединен с аналоговым входом программируемого логического контроллера. Техническим результатом является увеличение диапазона исследований материалов. 2 з.п. ф-лы, 3 ил.
1. Устройство для определения теплопроводности сыпучих материалов, включающее корпус в форме цилиндра, снаружи которого закреплен изоляционный материал - муллитокремнеземная вата, нижний ограничитель, в котором установлены в одной плоскости термопары, рабочая часть которых выполнена с возможностью нахождения в слое исследуемого материала, расположенного в зоне между нагревателем и стенкой, верхний ограничитель, выполненный с возможностью расположения в корпусе над исследуемым материалом, нагреватель, отличающееся тем, что корпус выполнен из жаропрочного материала, на внешней поверхности которого закреплены эксцентриковые замки, нижний ограничитель выполнен в форме нижней плиты из жаростойкого материала, в которой выполнены сквозные отверстия, в которые установлены симметрично оси и через равные расстояния термопары, при этом концы термопар закреплены на подставке, в центре которой установлен стакан, на котором установлена крышка, в которой выполнены отверстия, графитовый нагреватель соединен с выходом понижающего трансформатора через водоохлаждаемые медные токоподводы, которые через отверстия в крышке установлены в стакан, при этом выходы термопар соединены с входом модуля ввода аналоговых сигналов, выход которого соединен с аналоговым входом программируемого логического контроллера, аналоговый выход которого соединен со входом модуля вывода аналоговых сигналов, порт COM1 панели оператора соединен с портом COM1 ПЛК, выход блока вывода аналоговых сигналов соединен со входом регулятора мощности, который выполнен с возможностью подключения к сети 220 В, выход регулятора мощности соединен со входом понижающего трансформатора.
2. Устройство для определения теплопроводности сыпучих материалов по п. 1, отличающееся тем, что жаропрочный материал, из которого выполнен корпус, представлен нержавеющей сталью.
3. Устройство для определения теплопроводности сыпучих материалов по п. 1, отличающееся тем, что жаростойкий материал, из которого выполнен нижний ограничитель в форме нижней плиты, представлен высокочистым бетоном на основе сферокорунда.
| "Лабораторный практикум по курсу тепломассообмена: метод, указания", сост | |||
| В.Н | |||
| Белозерцев и др., 2-е изд., перераб | |||
| и доп., Самара: Изд-во Самар | |||
| гос | |||
| аэрокосм | |||
| ун-та, 2008, С | |||
| Походная разборная печь для варки пищи и печения хлеба | 1920 |
|
SU11A1 |
| Танганов Б.Б | |||
| и др | |||
| "Чувствительная установка для измерения теплопроводности строительных и сыпучих материалов, тары и упаковок", Вестник Бурятского | |||
Авторы
Даты
2025-02-11—Публикация
2024-04-23—Подача