Область техники, к которой относится изобретение
[0001] Настоящее изобретение относится к поверхностному материалу впитывающего изделия, такого как одноразовый подгузник.
Уровень техники
[0002] При ношении впитывающего изделия, такого как одноразовый подгузник, гигиеническая прокладка, ежедневная прокладка (прокладка для влагалищных выделений) или прокладка при недержании, может возникнуть сыпь на коже из-за недостаточного доступа воздуха и т.п. По этой причине для подавления возникновения сыпи предложено впитывающее изделие, в котором используется антибактериальный агент.
Например, в патентной литературе 1 и 2 описано впитывающее изделие, в котором антибактериальный агент замешан в волокна, составляющие поверхностный материал, который соприкасается с кожей пользователя.
Список цитируемой литературы
Патентная литература
[0003] Патентная литература 1: выложенная патентная заявка Японии №2006-55187.
Патентная литература 2: выложенная патентная заявка Японии №2021-52938.
Сущность изобретения
[0004] Поверхностный материал впитывающего изделия по варианту осуществления настоящего изобретения имеет обращенную к коже поверхность и не обращенную к коже поверхность.
Обращенная к коже поверхность включает множество выпуклых участков и множество вогнутых участков, расположенных между множеством выпуклых участков.
Поверхностный материал содержит верхний слой, составляющий обращенную к коже поверхность, и нижний слой, составляющий не обращенную к коже поверхность.
Выпуклый участок включает в себя полый участок, и полый участок расположен между верхним слоем и нижним слоем.
Волокно, составляющее не обращенную к коже поверхность верхнего слоя, образующего полый участок, и волокно, составляющее обращенную к коже поверхность верхнего слоя, включают содержащее металлоксидный антибактериальный агент волокно, которое представляет собой содержащее металлоксидный антибактериальный агент волокно.
[0005] Впитывающее изделие по варианту осуществления настоящего изобретения содержит впитывающий элемент и поверхностный материал, расположенный на стороне обращенной к коже поверхности впитывающего элемента.
Поверхностный материал имеет обращенную к коже поверхность и не обращенную к коже поверхность.
Обращенная к коже поверхность включает в себя множество выпуклых участков и множество вогнутых участков, расположенных между множеством выпуклых участков.
Поверхностный материал включает в себя верхний слой, составляющий обращенную к коже поверхность, и нижний слой, составляющий не обращенную к коже поверхность.
Выпуклый участок включает в себя полый участок, и полый участок расположен между верхним слоем и нижним слоем.
Волокно, составляющее не обращенную к коже поверхность верхнего слоя, образующего полый участок, и волокно, составляющее обращенную к коже поверхность верхнего слоя, включают содержащее металлоксидный антибактериальный агент волокно, которое представляет собой содержащее металлоксидный антибактериальный агент волокно.
Краткое описание чертежей
[0006] [Фиг. 1] Фиг. 1 представляет собой изображение, показывающее пример одноразового подгузника как вариант осуществления впитывающего изделия по настоящему изобретению, а также схематическую горизонтальную проекцию обращенной к коже стороны (стороны поверхностного материала), показывающий состояние, где эластичные элементы соответствующих участков растянуты и развернуты в плоской форме.
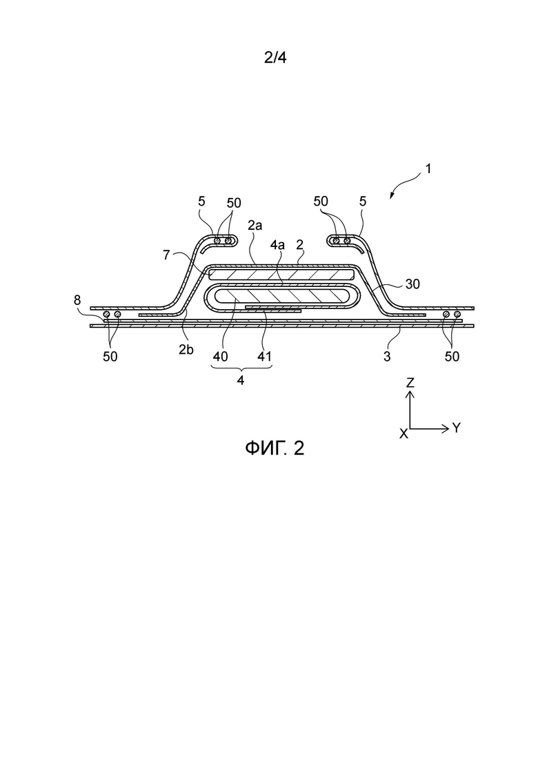
[Фиг. 2] Фиг. 2 представляет собой схематический вид поперечного сечения впитывающего изделия, проведенного по линии II-II на фиг. 1.
[Фиг. 3] Фиг. 3 представляет собой схематический вид поперечного сечения, показывающий в увеличенном виде участок поверхностного материала, составляющего участок одноразового подгузника.
[Фиг. 4] Фиг. 4 представляет собой схематический вид в перспективе содержащего металлоксидный антибактериальный агент волокна, используемого для поверхностного материала по варианту осуществления изобретения.
Подробное описание изобретения
[0007] Проблема впитывающего изделия, в котором используется антибактериальный агент, заключалась в том, что из-за плохой растворимости антибактериального агента в воде выделяемая жидкость, такая как моча, успевает пройти через верхний лист (поверхностный материал) до того, как антибактериальный эффект проявится в достаточной степени, и результативное проявление антибактериального эффекта затруднено.
[0008] Настоящее изобретение относится к поверхностному материалу впитывающего изделия, который позволяет результативное проявление антибактериального эффекта.
[0009] Далее впитывающее изделие, включающее поверхностный материал по настоящему изобретению, будет описано со ссылкой на чертежи, иллюстрирующие одноразовый подгузник.
[0010] <Общая конфигурация одноразового подгузника>
Одноразовый подгузник 1 по этому варианту осуществления, показанному на фиг. 1, представляет собой так называемый одноразовый подгузник раскрывающегося типа. Следует отметить, что, применение поверхностного материала по настоящему изобретению не ограничивается одноразовым подгузником раскрывающегося типа, а также относится к одноразовому подгузнику типа трусиков.
Одноразовый подгузник 1 и составные элементы, составляющие одноразовый подгузник 1, имеют продольное направление X, соответствующее направлению спереди назад у пользователя, и поперечное направление Y, соответствующее направлению справа налево у пользователя и перпендикулярное продольному направлению X. Кроме того, одноразовый подгузник 1 и составные элементы, составляющие одноразовый подгузник 1, имеют направление толщины Z, перпендикулярное как продольному направлению X, так и поперечному направлению Y.
В данной спецификации обращенная к коже сторона в каждой конфигурации указывает сторону одноразового подгузника, которая обращена к коже пользователя, когда одноразовый подгузник надет.Не обращенная к коже сторона в каждой конфигурации обозначает сторону одноразового подгузника, которая противоположна обращенной к коже пользователя стороне, когда одноразовый подгузник надет.Кроме того, в отношении направления толщины Z, когда одноразовый подгузник надет, сторона, которая ближе к коже пользователя, может называться верхней, а сторона, которая ближе к одежде, может называться нижней.
Одноразовый подгузник 1 далее будет называться подгузником 1.
Кроме того, в этом варианте осуществления изобретения одноразовый подгузник с застежками-липучками будет описан в качестве примера, но настоящее изобретение также применимо к одноразовому подгузнику типа трусиков, гигиенической прокладке, ежедневной прокладке или прокладке при недержании.
[0011] Как показано на фиг. 1, подгузник 1 разделен на область живота А, расположенную со стороны живота в продольном направлении X, область спины В, расположенную со стороны спины в продольном направлении X, и область промежности С, расположенную между областью живота А и областью спины В.
Область спины В включает боковые участки, которые выступают от области промежности С вправо и влево в поперечном направлении Y. Боковые края боковых участков в поперечном направлении Y снабжены фиксирующими лентами 9. Аналогичным образом, область живота А включает боковые участки, которые выступают от области промежности С вправо и влево в поперечном направлении Y.
Не обращенная к коже поверхность области живота А снабжена посадочными лентами (не показаны) для прикрепления к ним фиксирующих лент 9. Посадочная лента образована элементом с микропетлями механической застежки «крючки-и-петли» (велкро). Фиксирующая лента 9 включает в себя фиксирующий участок 91, образованный элементом с микрокрючками механической застежки велкро.
Область промежности С включает отверстия для ног, которые сформированы таким образом, чтобы сужаться в поперечном направлении Y, так что область промежности С является более узкой, чем область живота А и область спины В, и располагается в промежности, включая место мочеиспускания пользователя, анус и т.п., когда подгузник надет.
Следует отметить, что фраза «когда подгузник надет (во время ношения подгузника)», используемая в настоящем описании, относится к состоянию, при котором в норме предполагается, что сохраняется адекватное положение ношения.
[0012] Как показано на фиг. 1 и 2, подгузник 1 включает в себя поверхностный материал (верхний лист) 2, задний поверхностный материал (задний лист) 3, впитывающий элемент 4, боковые листы 5, пару фиксирующих лент 9, промежуточный лист 7 и герметичный лист 8. Подгузник 1 имеет конфигурацию, в которой задний поверхностный материал 3, герметичный лист 8, впитывающий элемент 4, промежуточный лист 7 и поверхностный материал 2 ламинированы по направлению толщины Z. Эти составные элементы соединены друг с другом, например, с помощью общеизвестных соединительных средств, таких как термоплавкий клей.
[0013] Впитывающий элемент 4 вытянут по продольному направлению X и расположен между поверхностным материалом 2 и задним поверхностным материалом 3. Другими словами, впитывающий элемент 4 расположен на не обращенной к коже стороне поверхностного материала 2. Впитывающий элемент 4 абсорбирует жидкие выделения (далее просто называемые «жидкостью» или «выделяемой жидкостью»), такие как влага, содержащаяся в моче и кале пользователя, с поверхности на стороне поверхностного материала 2 и распределяет жидкость внутри, удерживая ее.
Впитывающий элемент 4 включает впитывающую сердцевину 40 и лист оболочки сердцевины 41.
Впитывающая сердцевина 40 в основном образована из впитывающего материала, способного удерживать жидкость. В частности, впитывающая сердцевина 40 содержит пучок гидрофильных волокон в конфигурации, где пучок волокон несет впитывающий полимер, конфигурации, образованной только впитывающим полимером, и т.п.
Лист оболочки сердцевины 41 покрывает впитывающую сердцевину 40, и его функцией, например, является поддержание формы впитывающей сердцевины 40. Лист оболочки сердцевины 41 образован, например, из тонкой и мягкой бумаги, такой как папиросная бумага или проницаемый для жидкости нетканый материал.
[0014] Поверхностный материал 2 расположен таким образом, чтобы соприкасаться с кожей пользователя во время ношения подгузника 1. Поверхностный материал 2 расположен на обращенной к коже стороне поверхности 4а впитывающего элемента 4 (верхняя сторона по направлению толщины Z) и, например, составляет центральный участок в поперечном направлении Y обращенной к коже поверхности подгузника 1. Поверхностный материал 2 выполнен из проницаемого для жидкости листового материала и образован, например, из нетканого материала, изготовленного из синтетического волокна или натурального волокна.
Поверхностный материал 2 включает обращенную к коже поверхность 2а и не обращенную к коже поверхность 2b.
Поверхностный материал 2 более подробно будет описан ниже.
[0015] Промежуточный лист 7 может быть предусмотрен между поверхностным материалом 2 и впитывающим элементом 4. Для промежуточного листа 7 могут быть использованы нетканые материалы, изготовленные различными способами. Промежуточный лист 7 размещают для улучшения проникновения жидкости из поверхностного материала 2 в впитывающий элемент 4, предотвращения возврата жидкости, поглощенной впитывающим элементом 4, в поверхностный материал 2 и т.п.
[0016] Задний поверхностный материал 3 расположен на не обращенной к коже стороне впитывающего элемента 4 (нижняя сторона по направлению толщины Z) и, например, составляет почти всю не обращенную к коже поверхность подгузника 1 и составляет наружную часть подгузника 1, когда подгузник 1 надет.Предпочтительно, чтобы задний поверхностный материал 3, имел герметичные свойства и был образован, например, из листового материала, имеющего функции препятствования проникновению жидкости, проницаемости для водяного пара, водоотталкивания и т.п.
[0017] Пара боковых листов 5 расположена на боковых участках поверхностного материала 2 в поперечном направлении Y и составляет, например, боковые участки обращенной к коже поверхности подгузника 1 в поперечном направлении Y. Предпочтительно, чтобы боковые листы 5 имели герметичные свойства и были образованы, например, из листового материала, имеющего функции препятствования проникновению жидкости, проницаемости для водяного пара, водоотталкивания и т.п. В каждом из пары боковых листов 5 его сторона центрального участка в поперечном направлении Y расположена так, чтобы перекрываться с поверхностным материалом 2, а его боковая часть в поперечном направлении Y выступает наружу от поверхностного материала 2 для соединения с задним поверхностным материалом 3.
В подгузнике 1 боковой лист 5 снабжен нитевидными или лентовидными эластичными элементами 50, таким образом составляющими лист, образующий трехмерные сборки.
[0018] Герметичный лист 8 образован из пленки на основе смолы, обладающей непроницаемостью для жидкости или свойством препятствования проникновению жидкости, и покрывает обращенную к коже поверхность заднего поверхностного материала 3.
[0019] <Поверхностный материал>
Ниже будет описан поверхностный материал 2.
[0020] [Схематическая конфигурация поверхностного материала]
Поверхностный материал 2 по этому варианту осуществления изобретения представляет собой материал с вогнуто-выпуклой поверхностью, имеющий вогнуто-выпуклую поверхность. Точнее, как показано на фиг. 3, обращенная к коже поверхность 2а представляет собой вогнуто-выпуклую поверхность, включающую множество полых выпуклых частей 33 и множество вогнутых частей 34, в то время как поверхность 2b с не обращенной к коже стороны представляет собой плоскую поверхность.
Поскольку обращенная к коже поверхность 2а является вогнуто-выпуклой поверхностью, обращенная к коже поверхность 2а поверхностного материала 2 частично соприкасается с кожей во время ношения. Другими словами, во время ношения поверхностный материал 2, вероятно, частично соприкасается с кожей, а точнее, верх каждого выпуклого участка 33 и его прилегающая область, вероятно, соприкасаются с кожей. Это снижает прилипание, вызываемое тем, что обращенная к коже поверхность 2а поверхностного материала 2 находится в полном контакте с кожей, а также раздражение, вызванное влажностью и трением, и уменьшает кожные проблемы, такие как воспаление, экзема и кожная сыпь.
Следует отметить, что термин «плоский», используемый в данной спецификации, означает, что материал является макроскопически плоским без каких-либо неровностей, и присутствие относительно небольшой неровности, которая может возникнуть из-за того, что материал изготовлен из волокон, является приемлемым. Например, неровность, при которой разница между верхом выпуклого участка и дном вогнутого участка по направлению толщины составляет менее 0,3 мм, является приемлемой.
[0021] Как показано на фиг. 3, поверхностный материал 2 включает нижний слой LL и верхний слой UL, сформированный на нижнем слое LL, которые являются ламинированными. Нижний слой LL составляет не обращенную к коже поверхность 2b поверхностного материала 2. Верхний слой UL составляет обращенную к коже поверхность 2а поверхностного материала 2.
[0022] Как показано на фиг. 3, поверхностный материал 2 включает на своей обращенной к коже поверхности 2а множество вогнутых участков 34 и множество выпуклых участков 33. Выпуклые участки 33 сформированы по всей обращенной к коже поверхности 2а. Выпуклые участки 33 выполнены с возможностью выступать в сторону кожи, а вогнутые участки 34, которые утоплены в сторону не обращенной к коже стороны, сформированы между выпуклыми участками 33.
[0023] Выпуклый участок 33 включает участок плоского нижнего слоя LL и участок верхнего слоя UL, который в подгузнике 1 выступает в виде купола в направлении кожи пользователя.
Внутренняя часть выпуклого участка 33 представляет собой полость, а выпуклый участок 33 включает полый участок 10. Полый участок 10 расположен между верхним слоем UL и нижним слоем LL и представляет собой пространство, окруженное не обращенной к коже поверхностью ULb верхнего слоя UL и обращенной к коже поверхностью LLa нижнего слоя LL.
Множество выпуклых участков 33 расположено, например, в шахматном порядке в виде сетки. Множество вогнутых участков 34 аналогично расположено в шахматном порядке. Следует отметить, что форма и расположение выпуклых участков 33 и вогнутых участков 34 не имеют особых ограничений.
[0024] Поверхностный материал 2 включает уплотненную область 52а, в которой волокна верхнего слоя UL и нижнего слоя LL частично уплотнены сжатием и соединены друг с другом, и выступающую область 52b, в которой верхний слой UL и нижний слой LL не подвергаются сжатию, а верхний слой UL приподнят в сторону кожи, образуя выпуклый участок 33.
Вогнутый участок 34 образован уплотненной областью 52а и боковыми поверхностями выпуклых участков 33, расположенных вокруг этой уплотненной области 52а. Вогнутый участок 34 имеет пространство 30, в котором экскременты могут легко храниться.
Для сжатия уплотненной области 52а может использоваться способ, включающий в себя плавление волокнистого материала поверхностного материала 2, или может использоваться способ, который не включает в себя плавление волокнистого материала. Сжатие, включающее плавление волокнистого материала, в частности, включает общеизвестное тиснение, такое как горячее тиснение и ультразвуковое тиснение. Уплотненная область 52а также называется тисненым участком.
[0025] Как показано на фиг. 3, в поверхностном материале 2 верхний слой UL включает первый слой 21 и второй слой 22, которые расположены в этом порядке от обращенной к коже стороны к не обращенной к коже стороне (сверху вниз на фигуре) и ламинированы.
Обращенная к коже поверхность первого слоя 21 составляет обращенную к коже поверхность ULa верхнего слоя UL. Обращенная к коже поверхность ULa составляет обращенную к коже поверхность 2а поверхностного материала. Обращенная к коже поверхность ULa является поверхностью, которая может соприкасаться с кожей пользователя.
Не обращенная к коже поверхность второго слоя 22 составляет не обращенную к коже поверхность ULb верхнего слоя UL.
[0026] Как показано на фиг. 3, в поверхностном материале 2 нижний слой LL включает третий слой 23, который составляет обращенную к коже поверхность LLa нижнего слоя LL. В поверхностном материале 2 этого варианта осуществления нижний слой LL имеет однослойную структуру, нижний слой LL состоит из третьего слоя 23, а обращенная к коже поверхность LLa нижнего слоя LL может указываться как обращенная к коже поверхность 23а третьего слоя 23. В дальнейшем нижний слой LL будет указываться как третий слой 23, а обращенная к коже поверхность LLa нижнего слоя LL будет указываться как обращенная к коже поверхность 23а третьего слоя 23.
[0027] Каждый из первого слоя 21, второго слоя 22 и третьего слоя 23 образован из листового материала, изготовленного из волокнистого материала. В качестве листового материала могут использоваться, например, различные нетканые материалы, такие как нетканый материал, полученный кардочесанием, нетканый материал спанбонд, нетканый материал из расплава с раздувом, нетканый материал спанлейс и иглопробивной нетканый материал.
[0028] [Конфигурация первого слоя]
Как показано на фиг. 3, первый слой 21 образован из волокнистого агрегата, и волокна, составляющие первый слой 21, называются первыми волокнами 61. Первые волокна 61 представляют собой металлоксидный антибактериальный агент. В этом варианте осуществления случай, когда все первые волокна 61, составляющие первый слой 21, представляют собой металлоксидный антибактериальный агент, будут описаны в качестве примера. Далее описание будет дано с первыми волокнами 61, называемыми первыми содержащими металлоксидный антибактериальный агент волокнами 61. Металлоксидный антибактериальный агент, смешанный с содержащими металлоксидный антибактериальный агент волокнами, обозначен номером 6 на фиг. 4 и будет описан позже, а далее будет называться металлоксидный антибактериальным агентом б.
Следует отметить, что первый слой 21 может быть выполнен с возможностью включения как содержащих металлоксидный антибактериальный агент волокон, так и свободных от металлоксидного антибактериального агента волокон, которые не содержат металлоксидного антибактериального агента.
[0029] Первые содержащие металлоксидный антибактериальный агент волокна 61 образованы путем замешивания металлоксидного антибактериального агента 6 в волокна. В первых содержащих металлоксидный антибактериальный агент волокнах 61 потери металлоксидного антибактериального агента из волокон могут быть эффективно предотвращены, по сравнению со случаем, когда антибактериальный агент прикреплен к волокнам путем распыления, нанесения покрытия и т.п. Поскольку металлоксидный антибактериальный агент 6 смешивается с волокнами, металлоксидный антибактериальный агент 6 с меньшей вероятностью будет перемещаться в другие слои вместе с выделяемой жидкостью и, скорее всего, останется в поверхностном материале 2. То же самое справедливо и для вторых содержащий металлоксидный антибактериальный агент волокон 621, которые будут описаны ниже.
Подробное описание содержащих металлоксидный антибактериальный агент волокон, и свободных от металлоксидного антибактериального агента волокон будет приведено ниже.
[0030] [Конфигурация второго слоя]
Второй слой 22 образован из агрегата волокон, и волокна, составляющие второй слой 22, называются вторыми волокнами 62. Вторые волокна 62 включают в себя содержащие металлоксидный антибактериальный агент волокна 621, которые являются волокнами, содержащими металлоксидный антибактериальный агент 6 (далее указываемые как вторые содержащие металлоксидный антибактериальный агент волокна 621), и свободные от металлоксидного агента волокна 622 (далее указываемые как вторые свободные от металлоксидного антибактериального агента волокна 622). Вторые содержащие металлоксидный антибактериальный агент волокна 621 образованы путем замешивания металлоксидного антибактериального агента 6 в волокна.
[0031] [Конфигурация третьего слоя]
Третий слой 23 образован из агрегата волокон, и волокна, составляющие третий слой 23, называются третьими волокнами 63. В этом варианте осуществления случай, когда все третьи волокна 63, составляющие третий слой 23, являются свободными от металлоксидного антибактериального агента волокнами, будет описан в качестве примера. Далее будет приведено описание с третьими волокнами 63, называемыми третьими свободными от металлоксидного антибактериального агента волокнами 63. Следует отметить, что третий слой 23 может быть выполнен с возможностью включения как свободных от металлоксидного антибактериального агента волокон, так содержащих металлоксидный антибактериальный агент волокон.
[0032] [Общая конфигурация поверхностного материала]
На фиг. 3 первые содержащие металлоксидный
антибактериальный агент волокна 61, составляющие первый слой 21, показаны каждое в виде изогнутой линии, внутренняя часть которой заполнена. Вторые волокна 62 (включая вторые содержащие металлоксидный антибактериальный агент волокна 621, и вторые свободные от металлоксидного антибактериального агента волокна 622), составляющие второй слой 22, показаны каждое в виде изогнутой линии, внутренняя часть которой заштрихована. Третьи свободные от металлоксидного антибактериального агента волокна 63, составляющие третий слой 23, показаны каждое в виде изогнутой линии только с контуром, внутренняя часть которой белая. Кроме того, на фиг. 3, оба маленький круг только с контуром, внутренняя часть которого белая, и маленький круг, внутренняя часть которого черная, схематически показывают расплавленные участки волокон.
[0033] В поверхностном материале 2 по этому варианту осуществления изобретения обращенная к коже поверхность ULa и не обращенная к коже поверхность ULb верхнего слоя UL выполнены с возможностью включения содержащих металлоксидный антибактериальныый агент волокон, в которые замешан металлоксидный антибактериальный агент, изготовленный из оксида металла. С другой стороны, обращенная к коже поверхность LLa нижнего слоя LL включает свободные от металлоксидного антибактериального агента волокна, в которые не замешивается металлоксидный антибактериальный агент.
[0034] [Антибактериальный агент]
В качестве металлоксидного антибактериального агента можно использовать оксид цинка, оксид серебра, оксид алюминия, оксид кальция, оксид магния, оксид меди или т.п. Один вид этих металлоксидных антибактериальных агентов можно использовать отдельно, или два или несколько видов из них можно использовать в комбинации. Из этих агентов, предпочтительно, чтобы металлоксидный антибактериальный агент содержал оксид цинка с точки зрения его антибактериальных свойств, безопасности и цены.
[0035] С точки зрения затруднения миграции металлоксидного антибактериального агента в другие слои, предпочтительно, чтобы металлоксидный антибактериальный агент был плохо растворим в воде или нерастворим в воде.
В этом варианте осуществления изобретения будет описан пример, в котором в качестве металлоксидного антибактериального агента используется плохо растворимый в воде оксид цинка.
Следует отметить, что существуют различные теории относительно антибактериального механизма действия оксида цинка. Например, ионы цинка дестабилизируют мембраны бактериальных клеток и вызывают гибель клеток, а перекись водорода, образующаяся в результате реакции оксида цинка с водой, подавляет действие бактерий.
[0036] Оксид цинка плохо растворяется в воде, и, таким образом, менее вероятно, что он переместится в другие слои, такие как впитывающий элемент 4, вместе с выделяемой жидкостью, движущейся по направлению толщины Z в поверхностном материале 2, и, вероятно, останется в поверхностном материале 2. Кроме того, оксид цинка замешивается в волокна и, таким образом, вероятно, останется в поверхностном материале 2.
В этом варианте осуществления изобретения обращенная к коже поверхность ULa и не обращенная к коже поверхность ULb верхнего слоя UL выполнены с возможностью включения содержащих металлоксидный антибактериальный агент волокон, и в поверхностном материале 2 металлоксидный антибактериальный агент находится в форме, легко остающейся на обращенной к коже поверхности ULa и не обращенной к коже поверхности ULb верхнего слоя UL.
[0037] [Содержащие металлоксидный антибактериальный агент волокна]
Первые содержащие металлоксидный антибактериальный агент волокна 61 и вторые содержащие металлоксидный антибактериальный агент волокна 621 могут быть получены, например, посредством процесса прядения синтетической смолы, в которую заранее замешивается металлоксидный антибактериальный агент.
[0038] Первые содержащие металлоксидный антибактериальный агент волокна 61, и вторые содержащие металлоксидный антибактериальный агент волокна 621, могут представлять собой, например, моноволокно, изготовленное из одного вида синтетической смолы (термопластичной смолы) или смешанного полимера, в котором смешаны два или несколько видов синтетических смол, или могут представлять собой композитное волокно. Понятие композитное волокно, используемое в настоящем документе, относится к синтетическому волокну (термопластичному волокну), полученному путем соединения двух или нескольких видов синтетических смол с различными компонентами в прядильном сопле и одновременного их прядения, что обеспечивает структуру, в которой множественные компоненты являются непрерывными по направлению длины волокна и взаимно связаны в одном волокне. Формы композитных волокон включают тип сердцевина-оболочка, тип бок-о-бок и т.п.
[0039] С точки зрения эффективного проявления антибактериального эффекта предпочтительно, чтобы металлоксидный антибактериальный агент был экспонирован на поверхности волокна, содержащего металлоксидный антибактериальный агент.
С точки зрения эффективного экспонирования металлоксидного антибактериального агента на поверхности волокна предпочтительно, чтобы содержащие металлоксидный антибактериальный агент волокна 61 и содержащие металлоксидный антибактериальный агент волокна 621 являлись волокнами типа сердцевина-оболочка.
Как показано на фиг. 4, первые содержащие металлоксидный антибактериальный агент волокна 61 (вторые содержащие металлоксидный антибактериальный агент волокна 621), в которые замешивается металлоксидный антибактериальный агент 6, включают в себя сердцевину 61С (621С) и оболочку 61S (621S). Металлоксидный антибактериальный агент 6 смешивается только с оболочкой 61S (621S). Таким образом, металлоксидный антибактериальный агент 6 смешивается только с оболочкой 61S (621S), и, таким образом, металлоксидный антибактериальный агент 6 может быть легко экспонирован на поверхности волокна при небольшом количестве смешиваемого металлоксидного антибактериального агента.
[0040] С точки зрения эффективной и действенной реализации эффекта профилактики кожных проблем с помощью металлоксидного антибактериального агента 6 и удовлетворительного поддержания баланса местных бактерий на коже, процентное содержание металлоксидного антибактериального агента 6 в содержащих металлоксидный антибактериальный агент волокнах типа сердцевина-оболочка (первых содержащих металлоксидный антибактериальный агент волокнах 61 или вторых содержащих металлоксидный антибактериальный агент волокнах 621) предпочтительно составляет 0,05 масс. % или более, более предпочтительно 0,1 масс. % или более; предпочтительно 2,5 масс. % или менее, более предпочтительно 2,0 масс. % или менее; и предпочтительно 0,05 масс. % или более и 2,5 масс. % или менее, более предпочтительно 0,1 масс. % или более и 2,0 масс. % или менее.
Способ расчета процентного содержания металлоксидного антибактериального агента в содержащих металлоксидный антибактериальный агент волокнах будет описан ниже.
Кроме того, в содержащих металлоксидный антибактериальный агент волокнах типа сердцевина-оболочка (первых содержащих металлоксидный антибактериальный агент волокнах 61 или вторых содержащих металлоксидный антибактериальный агент волокнах 621) предпочтительно, чтобы только оболочка содержала металлоксидный антибактериальный агент с точки зрения эффективного и действенного осуществления эффекта профилактики кожных проблем металлоксидный антибактериальным агентом 6 за счет того, что металлоксидный антибактериальный агент 6 находится на поверхности волокна, и удовлетворительного поддержания баланса местных бактерий на коже. В содержащих металлоксидный антибактериальный агент волокнах типа сердцевина-оболочка (первых содержащих металлоксидный антибактериальный агент волокнах 61 или вторых содержащих металлоксидный антибактериальный агент волокнах 621) с вышеуказанной точки зрения процентное содержание металлоксидного антибактериального агента 6 в смоле, образующей оболочку (61S или 621S), предпочтительно составляет 0,1 масс. % или более и 5,0 масс. % или менее, и более предпочтительно 0,2 масс. % или более и 4,0 масс. % или менее.
[0041] Для первых содержащих металлоксидный антибактериальный агент волокон типа сердцевина-оболочка 61 (вторых содержащих металлоксидный антибактериальный агент волокон 621), которые являются волокнами сырьевого материала, например, могут использоваться следующие волокна, в которых сердцевина 61С (621С) изготавливается из полиэтилентерефталата (ПЭТ) или полипропилена (ПП), оболочка 61S (62S) изготавливается из полиэтилена (ПЭ), в который замешивают металлоксидный антибактериальный агент (оксид цинка), и соотношение сердцевины и оболочки составляет от 20/80 до 80/20 по массе. Следует отметить, что соотношение сердцевины и оболочки указывает массовое соотношение (сердцевина/оболочка) для смол, образующих сердцевину и оболочку.
[0042] Размер частиц металлоксидного антибактериального агента 6, изготовленного из оксида металла, соответствующим образом устанавливается исходя из толщины волокна, с которым смешивают металлоксидный антибактериальный агент (первого содержащего металлоксидный антибактериальный агент волокна 61 и второго содержащего металлоксидный антибактериальный агент волокна 621), и легкости замешивания металлоксидного антибактериального агента в волокно. В целом, средний размер частиц металлоксидного антибактериального агента составляет 1,0 мкм или более и 7 мкм или менее, выраженный как диаметр совокупного объема частиц D50 с совокупным объемом 50 об.%, полученный с использованием способа измерения распределения частиц по размерам с помощью лазерной дифракции/рассеяния.
[0043] [Свободные от антибактериальных агентов волокна] Вторые свободные от металлоксидного антибактериального агента волокна 622 и третьи свободные от металлоксидного антибактериального агента волокна 63 могут представлять собой, например, моноволокно, изготовленное из одного вида синтетической смолы (термопластичной смолы) или смешанного полимера, в котором смешаны два или несколько видов синтетических смол, или могут представлять собой композитное волокно.
Вторые свободные от металлоксидного антибактериального агента волокна 622 и третьи свободные от металлоксидного антибактериального агента волокна 63 представляют собой, например, композитные волокна типа сердцевина-оболочка, в которых сердцевина изготавливается из полиэтилентерефталата (ПЭТ) или полипропилена (ПП), оболочка изготавливается из полиэтилена (ПЭ), и соотношение сердцевины и оболочки составляет от 20/80 до 80/20 по массе.
[0044] [Полый участок и вогнутый участок]
Как описано выше, выпуклый участок 33 включает в себя полый участок 10. В полом участке 10, скорее всего, временно остается выделяемая жидкость, которая поступила в поверхностный материал 2 и прошла через верхний слой UL.
Кроме того, в вогнутом участке 34 его утопленная форма облегчает оставление в ней экскрементов. Дополнительно, в поверхностном материале 2 этого варианта осуществления уплотненная область 52а, составляющая часть вогнутого участка 34, и ее прилегающая область имеют более высокую плотность волокон и меньшее расстояние между волокнами из-за сплавления волокон или соединения волокон под давлением, чем их окружение (участок, по существу соответствующий выступающей области 52b, которая не является сжатой). Таким образом, уплотненная область 52а и ее прилегающая область с большей вероятностью втянут выделяемую жидкость и с меньшей вероятностью пропустят жидкость из-за разницы в плотности волокон между этими областями и их окружением, и экскременты с большей вероятностью останутся в вогнутой части 34.
Таким образом, экскременты пользователя с большей вероятностью останутся в полой части 10 и вогнутой части 34.
[0045] В вогнутой части 34 обращенная к коже поверхность ULa верхнего слоя UL представляет собой поверхность, которая прямо контактирует с экскрементами, остающимися в вогнутой части 34.
В полой части 10 не обращенная к коже поверхность ULb верхнего слоя UL представляет собой поверхность, которая прямо контактирует с экскрементами, скопившимися в полой части 10.
[0046] В настоящем изобретении подгузник имеет структуру для предотвращения протекания, и, поэтому внутри подгузника формируется жаркая и влажная среда из-за влаги, такой как пот и моча. Таким образом, внутри подгузника образуется среда, где барьерная функция кожи имеет тенденцию к ухудшению, поскольку кожа становится мацерированной (отечной) из-за влажности, а внутри подгузника после мочеиспускания или дефекации образуется среда, в которой могут легко размножаться бактерии.
Кроме того, кал содержит ферменты, такие как протеолитические ферменты и липолитические ферменты, и кишечные бактерии, такие как Escherichia coli и Staphylococcus aureus. Staphylococcus aureus является патогенной бактерией, которая оказывает неблагоприятное воздействие на кожу. Внутри подгузника имеет тенденцию формироваться щелочная среда, когда после мочеиспускания мочевина в моче разлагается Staphylococcus aureus и превращается в аммиак. Когда внутри подгузника образуется щелочная среда, Staphylococcus aureus активизируется и вырабатывает токсины, которые вызывают кожные проблемы, такие как воспаление, экзема и кожная сыпь. Кроме того, когда в подгузнике присутствует кал, внутри подгузника образуется щелочная среда, и поэтому происходит активация ферментов в кале, раздражая кожу, которая мацерирована и имеет сниженную барьерную функцию, что, таким образом, легко вызывает кожные проблемы.
[0047] В отличие от вышеизложенного, в подгузнике 1, где используется поверхностный материал 2 по этому варианту осуществления изобретения, обращенная к коже поверхность 2а поверхностного материала 2 (обращенная к коже поверхность ULa верхнего слоя UL), которая соприкасается с кожей пользователя, включает в себя содержащие металлоксидный антибактериальный агент волокна, и, таким образом, антибактериальный эффект может проявляться с ранней стадии дефекации.
Кроме того, поверхностный материал 2 имеет вогнуто-выпуклую структуру, включающую полые выпуклые участки 33, описанные выше, а обращенная к коже поверхность Ula и не обращенная к коже поверхность ULb верхнего слоя UL, которые прямо контактируют с экскрементами в полых участках 10 и вогнутых участках 34, где экскременты, вероятно, останутся, выполнены с возможностью включения содержащих металлоксидный антибактериальный агент волокон, образованных путем замешивания металлоксидного антибактериального агента в них таким образом, что металлоксидный антибактериальный агент легко остается в поверхностном материале 2. Это обеспечивает высокую частоту эффективного контакта между экскрементами, остающимися в полых участках 10 и вогнутых участках 34, и металлоксидный антимикробным агентом.
Следовательно, даже при небольшом содержании металлоксидного антибактериального агента его антибактериальный эффект может эффективно и действенно проявляться, размножение бактерий, вызванное экскрементами пользователя, подавляется с ранней стадии дефекации, и кожные проблемы уменьшаются.
[0048] Дополнительно, поскольку поверхностный материал 2 включает уплотненные области 52а, антибактериальный эффект в вогнутых участках 34 может проявляться более эффективно и действенно. Другими словами, как описано выше, уплотненная область 52а, составляющая часть вогнутого участка 34, и ее прилегающая область выполнены таким образом, чтобы с большой вероятностью втягивать жидкость, выделяемую пользователем, и с меньшей вероятностью пропускать жидкие выделения через уплотненную область 52а и ее прилегающие области из-за разницы в плотности волокон между этими областями и их окружением, и экскременты с большей вероятностью останутся в вогнутой части 34. Это обеспечивает эффективный контакт между металлоксидный антибактериальным агентом и экскрементами.
Следует отметить, что в уплотненной области 52а, образованной путем сжатия, включающего плавление волокнистого материала, форма волокна, которую изначально имел поверхностный материал, может быть утрачена и стать пленкообразной. Выделяемой жидкости может стать труднее проникать в такую пленкообразную уплотненную область 52а, и экскременты могут легче задерживаться в вогнутом участке 34, тем самым обеспечивая более эффективный контакт между металлоксидный антибактериальным агентом и экскрементами.
[0049] Таким образом, в поверхностном материале 2 по этому варианту осуществления изобретения поверхностный материал имеет вогнуто-выпуклую структуру, включающую в себя полые участки, чтобы экскременты легче задерживались в поверхностном материале, а металлоксидный антибактериальный агент смешан с поверхностным материалом таким образом, что экскременты и металлоксидный антибактериальный агент часто контактируют друг с другом в той части, где остаются экскременты. Это позволяет эффективное проявление антибактериального эффекта, и превосходный антибактериальный эффект может быть получен при небольшом содержании металлоксидного антибактериального агента.
Кроме того, в поверхностном материале 2 антибактериальный эффект может эффективно проявляться без обеспечения присутствия металлоксидного антибактериального агента во всех слоях, составляющих поверхностный материал, так что содержание металлоксидного антибактериального агента может поддерживаться на низком уровне.
В настоящем изобретении металлоксидный антибактериальный агент действует не только на бактерии из экскрементов, которые вызывают сыпь на коже, но и на местные бактерии на коже, которые способствуют барьерной функции кожи, что может нарушить баланс местных бактерий на коже и вызвать кожные проблемы.
Однако в поверхностном материале 2 по этому варианту осуществления изобретения содержание металлоксидного антибактериального агента может поддерживаться на низком уровне при получении достаточного антибактериального эффекта, так что баланс местных бактерий на коже не нарушается из-за избыточного количества металлоксидного антибактериального агента, и эффективно подавляют кожные проблемы, а затраты могут снижаться.
[0050] [Описание верхнего слоя]
В поверхностном материале 2 по этому варианту осуществления изобретения верхний слой UL имеет многослойную структуру, включающую два слоя из первого слоя 21 и второго слоя 22, как описано выше.
Следует отметить, что верхний слой UL может включать один слой или может иметь многослойную структуру, включающую три или несколько слоев. Если верхний слой UL выполнен таким образом, чтобы иметь многослойную структуру, то из нескольких слоев только слой, составляющий обращенную к коже поверхность ULa верхнего слоя UL, и слой, составляющий не обращенную к коже поверхность ULb верхнего слоя UL, должны включать содержащие металлоксидный антибактериальный агент волокна. Это обеспечивает форму, в которой обращенная к коже поверхность ULa и не обращенная к коже поверхность ULb включают содержащие металлоксидный антибактериальный агент волокна.
[0051] В поверхностном материале 2 относительное содержание металлоксидного антибактериального агента в каждом из первого слоя 21 и второго слоя 22 может быть одинаковым, но с точки зрения достижения достаточного антибактериального эффекта металлоксидного антибактериального агента и уменьшения количества металлоксидного антибактериального агента во всем поверхностном материале 2, чтобы было легко поддерживать баланс местных бактерий на коже на удовлетворительном уровне, предпочтительно, чтобы первый слой 21 имел более высокое относительное содержание металлоксидного антибактериального агента, чем второй слой 22.
В настоящем изобретении первый слой 21 представляет собой поверхность, которая может прямо соприкасаться с кожей пользователя. Обращенная к коже поверхность 2а поверхностного материала 2, образованная первым слоем 21, имеет вогнуто-выпуклую структуру, так что площадь контакта между кожей и поверхностным материалом 2 может быть уменьшена, и может быть снижено трение между кожей и поверхностным материалом 2. С другой стороны, наличие вогнуто-выпуклой структуры имеет тенденцию уменьшать возможности для контакта между находящимися на коже бактериями из экскрементов и металлоксидный антибактериальным агентом.
В отличие от вышеизложенного, в поверхностном материале 2 по этому варианту осуществления, в верхнем слое UL относительное содержание металлоксидного антибактериального агента в первом слое 21 установлено относительно высоким в верхнем слое UL, так что возможности для контакта между бактериями из экскрементов и металлоксидный антибактериальным агентом могут быть обеспечены в достаточной степени, и достаточный антимикробный эффект может быть достигнут даже в вогнуто-выпуклой структуре. Между тем, второй слой 22 должен содержать только достаточное количество металлоксидного антибактериального агента для антимикробной обработки экскрементов, расположенных в полых участках 10, и относительное содержание металлоксидного антибактериального агента может быть ниже, чем в первом слое 21.
Таким образом, в поверхностном материале 2 относительное содержание металлоксидного антибактериального агента в первом слое 21 устанавливается выше, чем во втором слое 22, так что достигается достаточный антибактериальный эффект металлоксидного антибактериального агента, и количество металлоксидного антибактериального агента во всем поверхностном материале 2 уменьшается, что позволяет легко поддерживать удовлетворительный баланс местных бактерий на коже.
[0052] В поверхностном материале 2 по этому варианту осуществления изобретения верхний слой UL выполнен таким образом, чтобы иметь многослойную структуру, так что относительное содержания металлоксидного антибактериального агента, содержащегося в каждой из обращенной к коже поверхности ULa и не обращенной к коже поверхности ULb верхнего слоя UL, может быть легко отрегулировано.
Другими словами, если верхний слой UL выполнен таким образом, чтобы иметь многослойную структуру, относительное содержание металлоксидного антибактериального агента в каждом слое варьируется для каждого слоя, составляющего обращенную к коже поверхность ULa верхнего слоя UL, и слоя, составляющего не обращенную к коже поверхность ULb верхнего слоя UL, так что относительное содержание металлоксидного антибактериального агента, содержащегося в каждой из обращенной к коже поверхности ULa и не обращенной к коже поверхности ULb верхнего слоя UL, может быть легко отрегулировано. Это позволяет легко регулировать распределение металлоксидного антибактериального агента в поверхностном материале 2 таким образом, чтобы можно было получить достаточный антибактериальный эффект при снижении количества металлоксидного антибактериального агента во всем поверхностном материале 2.
[0053] [Описание нижнего слоя]
Как описано выше, нижний слой LL (третий слой 23) может включать содержащие металлоксидный антибактериальный агент волокна или может не включать содержащие металлоксидный антибактериальный агент волокна.
В поверхностном материале 2 по этому варианту осуществления изобретения нижний слой LL имеет однослойную структуру, но может иметь многослойную структуру, включающую два или несколько ламинированных слоев. Если нижний слой LL выполнен таким образом, чтобы иметь многослойную структуру, то нижний слой LL включает в себя третий слой 23, составляющий обращенную к коже поверхность LLa. Третий слой может включать содержащие металлоксидный антибактериальный агент волокна или может не включать содержащие металлоксидный антибактериальный агент волокна.
[0054] [Отношение между относительным содержанием металлоксидного антибактериального агента в первом слое, втором слое и третьем слое]
Помимо того, что первый слой 21 имеет более высокое относительное содержание металлоксидного антибактериального агента, чем второй слой 22, второй слой 22 может иметь более высокое относительное содержание металлоксидного антибактериального агента, чем третий слой 23.
Другими словами, в поверхностном материале 2 в трех слоях (первый слой 21, второй слой 22, третий слой 23), составляющих поверхностный материал 2, относительное содержание металлоксидного антибактериального агента в третьем слое 23, расположенном ближе всего к не обращенной к коже стороне, может быть установлено самым низким.
В поверхностном материале 2 по этому варианту осуществления изобретения относительное содержание металлоксидного антибактериального агента в первом слое 21 является самым высоким, относительное содержание металлоксидного антибактериального агента во втором слое 22 является вторым по величине, а относительное содержание металлоксидного антибактериального агента в третьем слое 23 является самым низким.
[0055] Эта конфигурация обеспечивает эффективный и действенный антибактериальный эффект и позволяет легко поддерживать баланс местных бактерий на коже на удовлетворительном уровне путем снижения содержания металлоксидного антибактериального агента во всем поверхностном материале 2.
Другими словами, в поверхностном материале 2 металлоксидный антибактериальный агент содержится в обращенной к коже поверхности ULa и не обращенной к коже поверхности ULb верхнего слоя UL, тем самым обеспечивая высокую частоту контакта между металлоксидный антибактериальным агентом и экскрементами, накопленными в полом участке 10, образованным не обращенной к коже поверхностью ULb верхнего слоя UL, и в вогнутом участке 34, образованном обращенной к коже поверхностью ULa верхнего слоя UL. Таким образом, в поверхностном материале 2 может быть получен достаточный антибактериальный эффект, даже если относительное содержание металлоксидного антибактериального агента в третьем слое 23 будет относительно низкое. Таким образом, снижение относительного содержания металлоксидного антибактериального агента в третьем слое 23 уменьшает количество металлоксидного антибактериального агента во всем поверхностном материале 2, что позволяет легко поддерживать баланс местных бактерий на коже на удовлетворительном уровне.
[0056] В поверхностном материале 2 по этому варианту осуществления изобретения, с точки зрения эффективного и действенного проявления эффекта профилактики кожных проблем металлоксидный антибактериальным агентом 6 и более удовлетворительного поддержания баланса местных бактерий на коже для подавления кожных проблем, предпочтительное относительное содержание металлоксидного антибактериального агента в каждом из первого слоя 21, второго слоя и третьего слоя 23 является следующим. Способ расчета относительного содержания металлоксидного антибактериального агента в каждом слое будет описан ниже.
В первом слое 21 относительное содержание металлоксидного антибактериального агента предпочтительно составляет 0,04 масс. % или более и 2,5 масс. % или менее, более предпочтительно 0,05 масс. % или более и 2,0 масс. % или менее.
Во втором слое 22 относительное содержание металлоксидного антибактериального агента предпочтительно составляет 0,025 масс. % или более и 2,25 масс. % или менее, более предпочтительно 0,045 масс. % или более и 1,25 масс. % или менее.
В третьем слое 23 относительное содержание металлоксидного антибактериального агента предпочтительно составляет 0 масс. % или более и 1,25 масс. % или менее, более предпочтительно 0,01 масс. % или более и 1,25 масс. % или менее.
[0057] [Относительное содержание содержащих металлоксидный антибактериальный агент волокон в каждом из первого слоя, второго слоя и третьего слоя]
Относительное содержание металлоксидного антибактериального агента в каждом из первого слоя 21, второго слоя 22 и третьего слоя 23 может быть отрегулировано таким образом, чтобы соответствовать вышеуказанному соотношению между относительным содержанием металлоксидного антибактериального агента в первом слое, втором слое и третьем слое, например, путем регулирования относительного содержания содержащих металлоксидный антибактериальный агент волокон в каждом слое.
[0058] В поверхностном материале 2 по этому варианту осуществления изобретения предпочтительное относительное содержание металлоксидного антибактериального агента, содержащего волокна в каждом из первого слоя 21, второго слоя и третьего слоя 23, является следующим.
В первом слое 21 процентное содержание (относительное содержание) волокон, содержащих металлоксидный антибактериальный агент, в волокнах, составляющих первый слой 21, предпочтительно составляет от 80 до 100 масс. % с точки зрения эффективного и действенного антимикробного эффекта на обращенной к коже поверхности 2а. Следует отметить, что в этом варианте осуществления относительное содержание содержащих металлоксидный антибактериальный агент волокон в первом слое 21 составляет 100 масс. %.
Во втором слое 22 процентное содержание волокон, содержащих металлоксидный антибактериальный агент, в волокнах, составляющих второй слой 22, предпочтительно составляет от 50 до 90 масс. % с точки зрения эффективного и действенного антимикробного эффекта в полых участках 10 и удовлетворительного поддержания баланса местных бактерий на коже. Следует отметить, что в этом варианте осуществления относительное содержание содержащих металлоксидный антибактериальный агент волокон во втором слое 22 составляет 85 масс. %.
В третьем слое 23 процентное содержание волокон, содержащих металлоксидный антибактериальный агент, в волокнах, составляющих третий слой 23, предпочтительно составляет от 0 до 50 масс. %, с точки зрения удовлетворительного поддержания баланса местных бактерий на коже. Следует отметить, что в этом варианте осуществления относительное содержание содержащих металлоксидный антибактериальный агент волокон в третьем слое 23 составляет 0 масс. %.
[0059] [Процентное содержание металлоксидного антибактериального агента во всем поверхностном материале]
Исходя из эффективного и действенного проявления эффекта профилактики кожных проблем с помощью металлоксидного антибактериального агента 6 и поддержания баланса местных бактерий на коже на более удовлетворительном уровне для подавления кожных проблем процентное содержание металлоксидного антибактериального агента во всем поверхностном материале предпочтительно составляет 0,015 масс. % или более и 2,0 масс. % или менее, более предпочтительно 0,04 масс. % или более и 0,75 масс. % или менее.
Способ расчета процентного содержания металлоксидного антибактериального агента во всем поверхностном материале будет описан ниже.
[0060] [Процентное содержание содержащих металлоксидный антибактериальный агента волокон во всем поверхностном материале]
Например, при регулировке процентного содержания (относительного содержания) содержащих металлоксидный антибактериальный агент волокон во всем поверхностном материале, можно получить описанный выше диапазон процентного содержания металлоксидного антибактериального агента во всем поверхностном материале.
С точки зрения эффективного и действенного проявления эффекта профилактики кожных проблем с помощью металлоксидного антибактериального агента 6 и более удовлетворительного поддержания баланса местных бактерий на коже для подавления кожных проблем, процент содержащих металлоксидный антибактериальный агент волокон во всем поверхностном материале предпочтительно составляет 30 масс. % или более и 80 масс. % или менее, более предпочтительно 40 масс. % или более и 70 масс. % или менее.
[0061] [Расстояние между волокнами]
Первый слой 21, второй слой 22 и третий слой 23 могут иметь различную плотность волокон. Другими словами, первый слой 21, второй слой 22 и третий слой 23 могут иметь разные расстояния между волокнами (зазоры между волокнами).
Формулировка «имеющий разную плотность волокон» означает, что расстояние между волокнами различается. Формулировка «имеющий высокую плотность волокон» указывает на состояние, в котором расстояние между волокнами относительно мало, а формулировка «имеющие низкую плотность волокон» указывает на состояние, в котором расстояние между волокнами относительно велико. Состояние, в котором расстояние между волокнами мало, представляет собой состояние, в котором волокна расположены близко друг к другу. По мере уменьшения расстояния между волокнами капиллярная сила, притягивающая жидкость, становится выше, чем в случае, когда расстояние между волокнами большое.
[0062] С точки зрения более эффективного проявления антибактериального эффекта металлоксидный антибактериальным агентом в поверхностном материале 2 предпочтительно, чтобы первый слой 21 имел относительно меньшее расстояние между волокнами, чем второй слой 22, а второй слой 22 имел относительно меньшее расстояние между волокнами, чем третий слой 23. Другими словами, предпочтительно, чтобы первый слой 21 имел самую высокую плотность волокон, второй слой 22 имел вторую по величине плотность волокон, а третий слой 23 имел самую низкую плотность волокон.
Такая конфигурация может облегчить удержание экскрементов вблизи обращенной к коже поверхности ULa поверхностного материала 2 по направлению толщины Z поверхностного материала 2. В результате первые содержащие металлоксидный антибактериальный агент волокна 61, и вторые содержащие металлоксидный антибактериальный агент волокна 621, расположенные вблизи обращенной к коже поверхности ULa, могут эффективно и часто контактировать с экскрементами.
Более конкретно, в указанной выше конфигурации в поверхностном материале 2 первый слой 21 имеет наибольшую силу притяжения жидкости, второй слой 22 имеет вторую по величине силу притяжения жидкости, а третий слой 23 имеет наименьшую силу притяжения жидкости. Поскольку первый слой 21 имеет наибольшую силу притяжения жидкости, время пребывания экскрементов в вогнутом участке 34 может быть обеспечено более гарантированно. Это позволяет увеличить частоту контакта между металлоксидный антибактериальным агентом и экскрементами, тем самым позволяя эффективно обеспечивать антибактериальные свойства. Кроме того, для экскрементов, которые проникают в верхний слой UL и мигрируют в полый участок 10, может быть более гарантированно обеспечено время временного пребывания выделяемой жидкости в полом участке 10 из-за разницы в силе втягивания жидкости, вызванной разницей в расстоянии между волокнами между вторым слоем 22 и третьим слоем 23. Это позволяет увеличить частоту контакта между металлоксидный антибактериальным агентом и экскрементами в полом участке 10, тем самым позволяя эффективно обеспечивать антибактериальные свойства.
[0063] Регулировка расстояния между волокнами в каждом слое может осуществляться, например, путем изменения диаметров волокон, используемых в каждом слое. В качестве примера, в поверхностном материале 2 по этому варианту осуществления изобретения, устанавливая диаметр волокон первого содержащего металлоксидный антибактериальный агент волокна 61 и второго содержащего металлоксидный антибактериальный агент волокна 621 равными 15 мкм, а диаметр волокон второго свободного от металлоксидного антибактериального агента волокна 622 и третьего свободного от металлоксидного антибактериального агента волокна 63 равными 20 мкм, можно обеспечить вышеуказанное соотношение между расстояниями между волокнами в первом слое 21, втором слое 22 и третьем слое 23.
[0064] Следует отметить, что если каждый из верхнего слоя UL и нижнего слоя LL образован одним слоем, предпочтительно, чтобы верхний слой UL имел относительно меньшее расстояние между волокнами, чем нижний слой LL в поверхностном материале.
При такой конфигурации в поверхностном материале 2 верхний слой UL имеет наибольшую силу притяжения жидкости, а нижний слой LL имеет наименьшую силу притяжения жидкости. Поскольку верхний слой UL имеет наибольшую силу притяжения жидкости, можно более надежно обеспечить время пребывания экскрементов в вогнутом участке 34 и увеличить частоту контакта между металлоксидный антибактериальным агентом и экскрементами, тем самым позволяя эффективно обеспечивать антибактериальные свойства. Кроме того, для экскрементов, которые проникают в верхний слой UL и мигрируют в полый участок 10, может быть более гарантированно обеспечено время временного пребывания выделяемой жидкости в полом участке 10 из-за разницы в силе втягивания жидкости, вызванной разницей в расстоянии между волокнами между верхним слоем UL и нижним слоем LL, тем самым позволяя эффективно обеспечивать антибактериальные свойства.
[0065] Далее описываются конкретные числовые значения расстояний между волокнами в первом слое 21, втором слое 22 и третьем слое 23, но эти значения являются примерами, и настоящее изобретение не ограничивается ими.
В поверхностном материале 2, с точки зрения более гарантированного обеспечения времени пребывания экскрементов в вогнутых частях 34 и увеличения частоты контакта между металлоксидный антибактериальным агентом и экскрементами, расстояние между волокнами в первом слое 21 предпочтительно составляет 30 мкм или более, более предпочтительно 50 мкм или более; предпочтительно 100 мкм или менее, более предпочтительно 80 мкм или менее; и предпочтительно 30 мкм или более и 100 мкм или менее, более предпочтительно 50 мкм или более и 80 мкм или менее.
С точки зрения облегчения временного пребывания экскрементов, которые мигрировали в полый участок 10, в полом участке 10 и увеличения частоты контактов между металлоксидный антибактериальным агентом и экскрементами, разница между расстоянием между волокнами во втором слое 22 и расстоянием между волокнами в третьем слое 23 предпочтительно составляет 10 мкм или более, более предпочтительно 20 мкм или более.
Расстояние между волокнами во втором слое 22 предпочтительно составляет 40 мкм или более, более предпочтительно 60 мкм или более; предпочтительно 110 мкм или менее, более предпочтительно 90 мкм или менее; и предпочтительно 40 мкм или более и 110 мкм или менее, более предпочтительно 60 мкм или более и 90 мкм или менее.
Величина расстояния между волокнами в третьем слое 23 предпочтительно составляет 50 мкм или более, более предпочтительно 70 мкм или более; предпочтительно 190 мкм или менее, более предпочтительно 170 мкм или менее; и предпочтительно 50 мкм или более и 190 мкм или менее, более предпочтительно 70 мкм или более и 170 мкм или менее.
Способ измерения расстояния между волокнами будет описан ниже.
[0066] [Степень растворимости металлоксидного антибактериального агента]
Предпочтительно, чтобы металлоксидный антибактериальный агент, замешанный в содержащие металлоксидный антибактериальный агент волокна, имел низкую растворимость в воде или был плохо растворим в воде для того, чтобы эффект предотвращения кожной сыпи (кожных проблем), вызванной калом, был более выраженным в течение длительного времени. Растворимость в воде можно оценить по степени растворимости, полученной способом измерения степени растворимости, который будет описан ниже.
Степень растворимости металлоксидного антибактериального агента предпочтительно составляет 0,01 г/100 мл или более и 0,5 г/100 мл или менее, более предпочтительно 0,03 г/100 мл или более и 0,3 г/100 мл или менее, еще более предпочтительно 0,05 г/100 мл или более и 0,2 г/100 мл или менее.
[0067] <Иллюстративный способ получения поверхностного материала>
Далее будет описан иллюстративный способ получения поверхностного материала 2, но настоящее изобретение не ограничивается им.
Поверхностный материал 2, в котором обращенная к коже поверхность 2а является вогнуто-выпуклой поверхностью, а не обращенная к коже поверхность 2b является плоской поверхностью, может быть получен путем наложения нетканого материала, включающего первые содержащие металлоксидный антибактериальный агент волокна 61, нетканого материала, включающего ламинат вторых содержащих металлоксидный антибактериальный агент волокон 621 и вторых свободных от металлоксидного антибактериального агента волокон 622, и нетканого материала, включающего третьи свободные от металлоксидного антибактериального агента волокна 63, и частичного соединения этих нетканых материалов.
Ламинат нетканого материала, включающего первые содержащие металлоксидный антибактериальный агент волокна 61, и нетканого материала, включающего ламинат вторых содержащих металлоксидный антибактериальный агент волокон 621 и вторых свободных от металлоксидного антибактериального агента волокон 622, образует верхний слой UL поверхностного материала 2.
Нетканый материал, включающий третьи свободные от металлоксидного антибактериального агента волокна 63, образует нижний слой LL поверхностного материала 2.
[0068] В качестве примера способа производства можно использовать способ производства, раскрытый в выложенной патентной заявке Японии №2004-174234.
Другими словами, листовой материал нетканого материала, который должен быть верхним слоем UL, зажимается между двумя зубчатыми валками, которые имеют неровную форму своих цилиндрических поверхностей и зацепляются друг за друга, так что листовой материал периодически растягивается и на нем образуются неровности. В листовом материале, снабженном неровностями таким образом, растянутый участок составляет выпуклый участок 33. С другой стороны, нерастянутый участок составляет вогнутый участок 34 при формировании поверхностного материала 2. Листовой материал, который будет верхним слоем UL, включающим множество выпуклых участков 33, сформированных таким образом, накладывается на листовой материал, который будет нижним слоем LL, и наложенные листы зажимаются между двумя валками, по меньшей мере один из которых нагревается до заданной температуры, а затем частично соединяются. В результате верхний слой UL и нижний слой LL уплотняются и частично соединяются в уплотненной области 52а (части вогнутых участков 34) путем термосварки, так что изготавливается поверхностный материал 2, имеющий вогнуто-выпуклую структуру. Поверхность поверхностного материала 2 на стороне верхнего слоя UL (обращенная к коже поверхность 2а) имеет неровности, а поверхность поверхностного материала 2 на стороне нижнего слоя LL (не обращенная к коже поверхность 2b) является по существу плоской.
[0069] <Дополнительное описание>
[0070] [Способ подтверждения полого выпуклого участка и т.д.]
Тот факт, что поверхностный материал имеет неровности, а выпуклый участок имеет вогнутый участок, можно подтвердить, разрезав поверхностный материал бритвенным лезвием (например, однолезвийным бритвенным лезвием, изготовленным Feather Safety Razor Co., Ltd.) для получения исследуемого образца, и увеличив и осмотрев поверхность среза исследуемого образца.
Например, поверхность среза исследуемого образца изучают с помощью сканирующего электронного микроскопа с автоэлектронной эмиссией S-4000, изготовленного Hitachi, Ltd., путем регулировки увеличения, при котором каждый слой попадает в поле зрения.
Если во время исследования поверхности среза одновременно виден элемент с известными размерами, можно рассчитать размеры составляющих элементов, таких как высота выпуклого участка 33 и толщина каждого слоя.
С помощью наблюдений за поверхностью среза можно подтвердить, что материал поверхности включает ламинированные слои, имеющие расстояния между волокнами, отличающиеся друг от друга.
Из наблюдений за поверхностью среза можно определить, например, структуру волокна, такую как структуру волокна типа сердцевина-оболочка или моноволокно, в дополнение к контуру поперечного сечения волокна. Кроме того, в случае волокна типа сердцевина-оболочка соотношение площадей сердцевины и оболочки можно рассчитать путем наблюдения за поверхностью среза.
С помощью наблюдений за поверхностью среза можно подтвердить наличие металлоксидного антибактериального агента в волокне, тот факт, что металлоксидный антибактериальный агент находится в оболочке, и тот факт, что металлоксидный антибактериальный агент находится на поверхности волокна.
Кроме того, поверхность среза волокна анализируют методом сканирующей электронной микроскопии в сочетании с энергодисперсионной рентгеновской спектроскопией (SEM-EDX), и таким образом можно подтвердить, что агент, содержащийся в оболочке, является оксидом цинка (металлоксидный антибактериальным агентом).
[0071] [Способ расчета относительного содержания металлоксидного антибактериального агента в первом слое, втором слое и третьем слое]
Один грамм исследуемого слоя (первого слоя, второго слоя или третьего слоя) поверхностного материала взвешивают, измельчают как можно мельче и помещают в стакан объемом 300 мл. Кроме того, в стакан наливают 200 мл деионизированной воды и перемешивают с помощью магнитной мешалки таким образом, чтобы волокна полностью контактировали с водой. При перемешивании жидкости постепенно добавляют 3 мл концентрированной соляной кислоты (примерно 10 М) и перемешивают еще один час для элюирования металлоксидного антибактериального агента, который присутствует на поверхностях волокон, составляющих исследуемый слой. Затем добавляют 6 мл раствора гидроксида натрия с концентрацией 5,1 М для нейтрализации раствора, и добавляют 10 мл буферного раствора с рН 10,7 (содержащего 54,7 мл раствора 28 мacc.%-NH3 и 0,535 г NH4Cl, растворенных в деионизированной воде) для точного подведения рН.
Затем добавляют реагент Эриохром Черный Т (0,125 г порошка Эриохрома Черного Т и 1,125 г гидрохлорида гидроксиламина, растворенных в 25 мл безводного этанола) в качестве индикатора, чтобы сделать раствор бледно-розовым. Титрование проводят с использованием ЭДТА⋅2Na с концентрацией 0,0002 М в качестве титранта, и когда цвет раствора изменится с розового на окраску в диапазоне от бледно-голубого до зеленого, количество добавленного титранта (мл) определяют как титр А. Затем массу металлоксидного антибактериального агента рассчитывают по следующей формуле, где «5000000» означает объем (мл) титранта на моль.
Масса металлоксидного антибактериального агента (г)=Титр А×Масса металлоксидного антибактериального агента на моль/5000000
Масса металлоксидного антибактериального агента, рассчитанная, как описано выше, представляет собой массу металлоксидного антибактериального агента, содержащегося в 1 г целевого слоя. Следовательно, значение, полученное путем умножения рассчитанной массы металлоксидного антибактериального агента на 100, представляет собой отношение содержания металлоксидного антибактериального агента в исследуемом слое.
[0072] [Способ расчета процентного содержания металлоксидного антибактериального агента во всем поверхностном материале]
В качестве исследуемого образца взвешивают 1 г поверхностного материала, включая первый слой, второй слой и третий слой, и процентное содержание металлоксидного антибактериального агента во всем поверхностном материале рассчитывают с помощью метода, аналогичного способу расчета относительного содержания металлоксидного антибактериального агента в первом слое, втором слое и третьем слое.
[0073] [Способ измерения расстояния между волокнами] Расстояние между волокнами в нетканом материале, который представляет собой совокупность волокон, определяется по следующей формуле (1) на основе предположения Вротоновского. Формула (1) ниже обычно используется для определения расстояния между волокнами в совокупности волокон. Согласно предположению Вротоновского, волокна имеют цилиндрическую форму и упорядоченно выровнены без пересечений.
Поверхностный материал в качестве объекта измерения имеет многослойную структуру, включающую первый слой, составляющий неплотную область, и второй слой, составляющий плотную область. Расстояние между волокнами в каждой из неплотной области и плотной области рассчитывается с использованием следующей формулы (1).
В расчете толщина t, базовый вес W, плотность смолы волокна ρ и диаметр волокна D, используемые в формуле (1) ниже, являются таковыми для каждой из неплотной области (первый слой) и плотной области (второй слой), которые должны быть измерены. Толщина t, базовый вес W и диаметр волокна D являются средним значением измеренных значений в нескольких точках измерения.
[0074] Толщину t (мм) измеряют следующим способом. Сначала из измеряемого поверхностного материала вырезают кусок с размерами 50 мм по направлению X на 50 мм по направлению Y. Затем вырезанный кусок помещают на плоскую пластину, на нее помещают плоскую стеклянную пластину, на стеклянную пластину равномерно помещают груз таким образом, чтобы нагрузка, включая стеклянную пластину, достигала 49 Па, а затем измеряют толщину отрезанного куска. Окружающая среда при измерениях имеет температуру 20±2°С и относительную влажность 65±5%, а в качестве измерительного прибора используется микроскоп (производства KEYENCE CORPORATION, VHX-1000). Для измерения толщины отрезанного куска сначала делают увеличенную фотографию поверхности отрезанного куска. Эта увеличенная фотография одновременно показывает элемент, имеющий известный размер. Затем вычисляют масштаб на увеличенной фотографии поверхности среза отрезанного куска, и измеряют толщину неплотной области и плотной области отрезанного куска. Вышеуказанные операции выполняют три раза, и среднее значение, полученное после трех выполненных операций, принимают как толщину t слоя в качестве объекта измерения.
[0075] На поверхности среза отрезанного куска неплотную и плотную области различают следующим способом. Неплотная область имеет меньшую плотность составляющих волокон (большее расстояние между волокнами), чем плотная область, и, таким образом, на поверхности среза отрезанного куска область, имеющая относительно большое расстояние между волокнами, является неплотной областью, а область, имеющая относительно небольшое расстояние между волокнами, является плотной областью. Эти две области можно различить невооруженным глазом.
[0076] Базовый вес W (г/м2) определяют путем разрезания каждой из неплотной и плотной областей поверхностного материала в качестве объекта измерения на куски заданного размера (например, 12 см×6 см), измерения их массы, а затем деления измеренного значения массы на площадь, определенную из заданного размера («базовый вес W (г/м2)=масса÷площадь, определенную из заданного размера»). Эти измерения повторяют четыре раза, и их среднее значение принимают как базовый вес.
[0077] Плотность смолы волокна ρ (г/см3) измеряют с помощью градиентной трубки в соответствии со способом измерения с использованием градиентной трубки, описанным в JIS L1015 «Способ испытаний штапельного химического волокна» (URL:
http://kikakurui.com/1/L1015-2010-01.html; книга под названием JIS Handbook Sen-i-2000 (Японская ассоциация стандартов), стр. 764-765).
[0078] Диаметр волокна D (мкм) определяют путем измерения 10 поперечных сечений волокон, отобранных из каждой из неплотной области и плотной области, с помощью сканирующего электронного микроскопа с автоэлектронной эмиссией S-4000 производства Hitachi, Ltd., и принимая их среднее значение в качестве диаметра волокна D (мкм). Способ измерения диаметра волокна D осуществляется в соответствии со [Способом измерения диаметра волокна], который будет описан ниже.
[0079]
[Математическая формула 1]
[0080] [Способ измерения диаметра волокна]
Область, исключая уплотненную область поверхностного материала, которая является объектом измерения, разрезается бритвенный лезвием (например, однолезвийным бритвенным лезвием, изготовленным Feather Safety Razor Co., Ltd.) для получения исследуемого образца, имеющего прямоугольную форму в горизонтальной проекции. При разрезании объекта измерения соблюдают осторожность, чтобы не разрушить структуру поверхности разреза исследуемого образца, образовавшуюся при разрезе, из-за давления или аналогичного воздействия во время разрезания. Примеры предпочтительного способа разрезания объекта измерения включают способ, в котором объект измерения помещают в жидкий азот и замораживают в достаточной степени перед разрезанием, а затем разрезают.
С использованием двухсторонней бумажной клейкой ленты (производства NICHIBAN Co., Ltd., NICETACK HW-15) исследуемый образец прикрепляют к столу для образцов. Затем исследуемый образец покрывают платиной. Для покрытия используют модель Е-1030 (торговое наименование) устройства ионного напыления производства Hitachi Naka Electronics Co., Ltd., а время напыления составляет 30 секунд.
Поверхность среза исследуемого образца наблюдают при 1000-кратном увеличении с помощью сканирующего электронного микроскопа с автоэлектронной эмиссией S-4000 производства Hitachi, Ltd.
Поскольку материал поверхности включает неплотную область и плотную область, границу между неплотной областью и плотной областью определяют по разнице в расстоянии между волокнами на основе изображения, полученного с помощью электронного микроскопа, и для каждого волокна, присутствующего в каждом слое (неплотной области или плотной области), размер волокна в ширину относительно его продольного направления измеряют у 10 волокон, и его среднее значение принимают как диаметр волокна.
[0081] Из наблюдений за поверхностью среза поверхностного материала можно определить, является ли расстояние между волокнами относительно большим или малым, и определить неплотное/плотное состояние в поверхностном материале. Таким образом, из наблюдений за поверхностью среза поверхностного материала можно подтвердить, что металлоксидный антибактериальный агент присутствует только в плотной области.
[0082] [Способ измерения степени растворимости металлоксидного антибактериального агента]
Пять граммов металлоксидного антибактериального агента добавляют в 100 мл воды и перемешивают со скоростью 300 об./мин в течение 30 минут при комнатной температуре (25°С). Отдельно измеряют массу фильтровальной бумаги, и измеренную массу принимают в качестве исходной массы фильтровальной бумаги.
Раствор после перемешивания фильтруют с использованием фильтровальной бумаги, масса которой была измерена, и фильтровальную бумагу сушат в сушилке при температуре 4 0°С в течение двух часов. Измеряют массу фильтровальной бумаги после высыхания, и измеренную массу принимают за массу фильтровальной бумаги после высыхания. Затем степень растворимости рассчитывают по следующей формуле.
Степень растворимости (г)=5 (г)-{(масса фильтровальной бумаги после высыхания) (г) - (исходная масса фильтровальной бумаги) (г)}
Это означает, что по мере того, как рассчитанная таким образом степень растворимости становится больше, растворимость в воде становится больше, а по мере того, как степень растворимости становится меньше, растворимость в воде становится меньше.
[0083]<Другие варианты осуществления изобретения>
Выше был описан вариант осуществления настоящего изобретения, но настоящее изобретение не ограничивается вариантом осуществления, описанным выше, и естественно может быть различным образом модифицировано без отступления от сути настоящего изобретения.
[0084] Например, описанный выше вариант осуществления описывает пример одноразового подгузника в качестве впитывающего изделия, но настоящее изобретение не ограничивается этим. Впитывающее изделие по настоящему изобретению может представлять собой, например, впитывающую мочу прокладку, прокладку для влагалищных выделений или гигиеническую прокладку, а поверхностный материал по настоящему изобретению может быть использован в качестве поверхностных материалов указанных выше впитывающих изделий. Впитывающее изделие, как правило, выполнено с возможностью включения проницаемого для жидкости поверхностного материала, непроницаемого для жидкости заднего поверхностного материала и впитывающего элемента со свойством удержания жидкости, расположенного между обоими листами.
[0085] Кроме того, в каждом варианте осуществления, описанном выше, содержащие металлоксидный антибактериальный агент волокна могут содержать антибактериальные агенты, такие как поверхностно-активные вещества и органические соединения, помимо металлоксидного антибактериального агента.
[0086] Кроме того, содержащие металлоксидный антибактериальный агент волокна могут содержать средство для ухода за кожей.
В качестве средства для ухода за кожей можно использовать гидрофобное средство для ухода за кожей, гидрофильное средство для ухода за кожей и т.п.
[0087] Гидрофобное средство для ухода за кожей относится к гидрофобному компоненту, не растворяющемуся или не диспергирующемуся в воде, либо имеющему очень плохую растворимость, а также относится к композиции или соединению, обладающим свойствми защиты, заживления и т.п.в отношении кожи пользователя. Более конкретно, гидрофобный компонент относится к такому, у которого количество растворенного компонента составляет менее 1 г, когда 10 г компонента смешивают с 1 л деионизированной воды и затем оставляют на 24 часа, предпочтительно к такому, у которого количество растворенного компонента составляет 0,1 г или менее, особенно предпочтительно к такому, когда компонент полностью не растворяется.
Гидрофобное средство для ухода за кожей включает жирную кислоту с длиной углеродной цепи от 12 до 28 атомов углерода, сложноэфирное соединение жирной кислоты и глицерина, воск и вазелин, и особенно предпочтительно содержит ненасыщенную жирную кислоту с длиной углеродной цепи от 12 до 28 атомов углерода или сложноэфирное соединение глицерина и ненасыщенной жирной кислоты. Сложный эфир глицерина представляет собой моноэфир, диэфир или триэфир глицерина и вышеуказанной ненасыщенной жирной кислоты, но особенно предпочтительным является триэфир. В качестве средства, содержащего жирную кислоту или соединение жирной кислоты, предпочтительно может использоваться натуральный экстракт, такой как аргановое масло или масло ши. В частности, аргановое масло, которое является гидрофобным растительным маслом, содержащим ненасыщенные жирные кислоты, поддерживает баланс между влажностью и жирностью кожи и предотвращает высыхание, таким образом действуя как средство для ухода за кожей. Кроме того, аргановое масло содержит большое количество ненасыщенных жирных кислот, таких как олеиновая кислота и линолевая кислота, обладает сильной способностью удалять кислородные радикалы и может уменьшить повреждение кожи, вызванное, например, солнечным ожогом.
[0088] С другой стороны, гидрофильное средство для ухода за кожей относится к гидрофильному компоненту, который является водорастворимым или вододиспергируемым, и предпочтительно является средством, способным подавлять возникновение сыпи и воспаления, а также подавлять прогрессирование сыпи и воспаления или облегчать сыпь и воспаление при их возникновении. Более конкретно, гидрофильный компонент относится к такому, у которого количество растворенного вещества или количество диспергируемого вещества составляет 1 г или более, когда 10 г компонента смешивают с 1 л деионизированной воды, а затем оставляют на 24 часа, предпочтительно к такому, у которого количество растворенного вещества или количество диспергируемого вещества составляет 5 г или более, более предпочтительно к такому, у которого растворяется 1 г или более, еще более предпочтительно к такому, у которого растворяется 5 г или более, наиболее предпочтительно к такому, которое растворяется полностью.
В качестве гидрофильного средства для ухода за кожей можно использовать натуральный экстракт, такой как экстракт листьев персика или экстракт гамамелиса, многоатомный спирт, имеющий от 2 до 4 атомов углерода, полиэтиленгликоль, гидрофильное соединение, имеющее функцию ухода за кожей и т.п. и т.д.
Среди этих средств экстракт листьев персика (гидрофильный экстракт), который является растительным экстрактом, является предпочтительным, поскольку он обладает антибактериальным и противовоспалительным действием. Экстракт листьев персика, который является гидрофильным компонентом, растворяется в жидкости, подаваемой на поверхность материала, и переносится на кожу, в результате чего создается эффект ухода за кожей.
Многоатомный спирт, имеющий от 2 до 4 атомов углерода, является гидрофильным компонентом, как правило, 1,3-бутиленгликолем. Использование 1,3-бутиленгликоля усиливает увлажняющий эффект и смазывающую способность. Усиление смазывающей способности позволяет уменьшить трение между кожей и нетканым материалом, тем самым уменьшая повреждение кожи. 1,3-бутиленгликоль является увлажняющим, жидким, водорастворимым базовым компонентом, который не липнет и поддерживает увлажнение кожи с ощущением гладкости при использовании. 1,3-бутиленгликоль используется в качестве увлажнителя, а также в качестве растворителя. Например, когда экстракт листьев персика используется в качестве средства по уходу за кожей, 1,3-бутиленгликоль может использоваться в качестве растворителя для экстракта листьев персика. Следует отметить, что в настоящем документе в качестве примера приводится 1,3-бутиленгликоль, но аналогичным эффектом обладают многоатомные спирты с 2-4 атомами углерода, и, например, можно использовать пропиленгликоль. Пропиленгликоль также можно использовать в качестве экстракционного растворителя для экстракта листьев персика (гидрофильный экстракт).
[0089] Настоящее изобретение также может иметь следующие конфигурации.
<1>
Поверхностный материал впитывающего изделия, причем поверхностный материал имеет обращенную к коже поверхность, включающую множество выпуклых участков и множество вогнутых участков, расположенных между множеством выпуклых участков, и не обращенную к коже поверхность, причем поверхностный материал включает:
верхний слой, составляющий обращенную к коже поверхность; и нижний слой, составляющий не обращенную к коже поверхность,
где
выпуклый участок включает в себя полый участок, и полый участок расположен между верхним слоем и нижним слоем, и
волокно, составляющее не обращенную к коже поверхность верхнего слоя, образующего полый участок, и волокно, составляющее обращенную к коже поверхность верхнего слоя, включают содержащее металлоксидный антибактериальный агент волокно, которое представляет собой волокно, содержащее металлоксидный антибактериальный агент.
<2>
Поверхностный материал впитывающего изделия по п. <1>, в котором
содержащее металлоксидный антибактериальный агент волокно, образовано путем замешивания металлоксидного антибактериального агента в волокно.
<3>
Поверхностный материал впитывающего изделия по п. <1>или<2>, в котором
верхний слой включает
первый слой, составляющий обращенную к коже поверхность, и второй слой, составляющий не обращенную к коже поверхность.
<4>
Поверхностный материал впитывающего изделия по п. <3>, в котором
второй слой имеет более низкое относительное содержание металлоксидного антибактериального агента, чем первый слой.
<5>
Поверхностный материал впитывающего изделия по п. <4>, в котором
нижний слой включает третий слой, составляющий обращенную к коже поверхность нижнего слоя, и
третий слой имеет более низкое относительное содержание металлоксидного антибактериального агента, чем второй слой.
<6>
Поверхностный материал впитывающего изделия по п. <5>, в котором
относительное содержание содержащего металлоксидный антибактериальный агент волокна по массе в каждом из первого слоя, второго слоя и третьего слоя составляет
в первом слое 80 масс. % или более и 100 масс. % или менее,
во втором слое 50 масс. % или более и 90 масс. % или менее, и
в третьем слое 0 масс. % или более и 50 масс. % или менее.
<7>
Поверхностный материал впитывающего изделия по п. <5>, в котором
относительное содержание металлоксидного антибактериального агента по массе в каждом из первого слоя, второго слоя и третьего слоя составляет
в первом слое предпочтительно 0,04 масс. % или более и 2,5 масс. % или менее, более предпочтительно 0,05 масс. % или более и 2,0 масс. % или менее,
во втором слое предпочтительно 0,025 масс. % или более и 2,25 масс. % или менее, более предпочтительно 0,045 масс. % или более и 1,25 масс. % или менее, и
в третьем слое предпочтительно 0 масс. % или более и 1,25 масс. % или менее, более предпочтительно 0,01 масс. % или более и 1,25 масс. % или менее.
<8>
Поверхностный материал впитывающего изделия по любому одному из пп. <5> - <7>, в котором
расстояние между волокнами в первом слое меньше, чем расстояние между волокнами во втором слое, и
расстояние между волокнами во втором слое меньше, чем расстояние между волокнами в третьем слое.
<9>
Поверхностный материал впитывающего изделия по п. <8>, в котором
расстояние между волокнами в первом слое предпочтительно составляет 30 мкм или более и 100 мкм или менее, более предпочтительно 50 мкм или более и 80 мкм или менее,
расстояние между волокнами во втором слое предпочтительно составляет 40 мкм или более и 110 мкм или менее, более предпочтительно 60 мкм или более и 90 мкм или менее, и
расстояние между волокнами в третьем слое предпочтительно составляет 50 мкм или более и 190 мкм или менее, более предпочтительно 70 мкм или более и 170 мкм или менее.
<10>
Поверхностный материал впитывающего изделия по п. <8>или<9>, в котором
разница между расстоянием между волокнами во втором слое и расстоянием между волокнами в третьем слое предпочтительно составляет 10 мкм или более, более предпочтительно 20 мкм или более.
<11>
Поверхностный материал впитывающего изделия по любому одному из пп. <1> - <10>, в котором
содержащее металлоксидный антибактериальный агент волокно представляет собой волокно типа сердцевина-оболочка, включающее сердцевину и оболочку,
металлоксидный антибактериальный агент смешан с оболочкой,
и
металлоксидный антибактериальный агент экспонирован на поверхности содержащего металлоксидный антибактериальный агент волокна.
<12>
Поверхностный материал впитывающего изделия по п. <11>, в котором
процентное содержание металлоксидного антибактериального агента в волокне типа сердцевина-оболочка составляет 0,05 масс. % или более и 2,5 масс. % или менее.
<13>
Поверхностный материал впитывающего изделия по любому одному из пп. <1> - <12>, в котором
металлоксидный антибактериальный агент представляет собой оксид цинка.
<14>
Поверхностный материал впитывающего изделия по любому одному из пп. <1> - <13>, в котором
процентное содержание содержащего металлоксидный
антибактериальный агент волокна во всем поверхностном материале составляет 30 масс. % или более и 80 масс. % или менее.
<15>
Поверхностный материал впитывающего изделия по любому одному из пп. <1> - <13>, в котором
процентное содержание металлоксидного антибактериального агента во всем поверхностном материале составляет 0,015 масс. % или более и 2,0 масс. % или менее.
<16>
Поверхностный материал впитывающего изделия по любому одному из пп. <1> - <15>, в котором
вогнутая часть образована путем частичного уплотнения верхнего слоя и нижнего слоя.
<17>
Впитывающее изделие, включающее: впитывающий элемент; и
поверхностный материал по любому одному из пп. <1> - <16>, расположенный на стороне обращенной к коже поверхности впитывающего элемента.
Промышленная применимость
[0090] Благодаря поверхностному материалу впитывающего изделия по настоящему изобретению можно обеспечить эффективное проявление антибактериального эффекта.
| название | год | авторы | номер документа |
|---|---|---|---|
| ПОВЕРХНОСТНЫЙ МАТЕРИАЛ ВПИТЫВАЮЩЕГО ИЗДЕЛИЯ | 2023 |
|
RU2835323C2 |
| ВПИТЫВАЮЩЕЕ ИЗДЕЛИЕ | 2023 |
|
RU2835506C2 |
| НЕТКАНЫЙ МАТЕРИАЛ | 2017 |
|
RU2735533C2 |
| ВПИТЫВАЮЩЕЕ ИЗДЕЛИЕ | 2018 |
|
RU2748689C1 |
| ВПИТЫВАЮЩЕЕ ИЗДЕЛИЕ | 2022 |
|
RU2839530C2 |
| НЕТКАНЫЙ МАТЕРИАЛ | 2017 |
|
RU2750252C2 |
| НЕТКАНЫЙ МАТЕРИАЛ | 2016 |
|
RU2696708C1 |
| ОДНОРАЗОВЫЙ ПОДГУЗНИК | 2018 |
|
RU2740088C1 |
| ВПИТЫВАЮЩЕЕ ИЗДЕЛИЕ | 2014 |
|
RU2653680C2 |
| ЛАМИНИРОВАННЫЙ НЕТКАНЫЙ МАТЕРИАЛ | 2016 |
|
RU2698821C1 |
Поверхностный материал впитывающего изделия по настоящему изобретению имеет обращенную к коже поверхность и не обращенную к коже поверхность. Обращенная к коже поверхность включает множество выпуклых участков и множество вогнутых участков, расположенных между множеством выпуклых участков. Поверхностный материал содержит верхний слой, составляющий обращенную к коже поверхность, и нижний слой, составляющий не обращенную к коже поверхность. Выпуклый участок включает в себя полый участок, и полый участок расположен между верхним слоем и нижним слоем. Волокно, составляющее не обращенную к коже поверхность верхнего слоя, образующего полый участок, и волокно, составляющее обращенную к коже поверхность верхнего слоя, включают содержащее металлоксидный антибактериальный агент волокно, которое представляет собой содержащее металлоксидный антибактериальный агент волокно. 2 н. и 11 з.п. ф-лы, 4 ил.
1. Поверхностный материал впитывающего изделия, причем поверхностный материал имеет обращенную к коже поверхность и не обращенную к коже поверхность, причем обращенная к коже поверхность включает множество выпуклых участков и множество вогнутых участков, расположенных между множеством выпуклых участков, причем поверхностный материал содержит:
верхний слой, составляющий обращенную к коже поверхность, и нижний слой, составляющий не обращенную к коже поверхность, при этом
выпуклый участок включает в себя полый участок, и полый участок расположен между верхним слоем и нижним слоем;
волокно, составляющее не обращенную к коже поверхность верхнего слоя, образующего полый участок, и волокно, составляющее обращенную к коже поверхность верхнего слоя, включают содержащее металлоксидный антибактериальный агент волокно, которое представляет собой волокно, содержащее металлоксидный антибактериальный агент;
верхний слой включает
первый слой, составляющий обращенную к коже поверхность, и
второй слой, составляющий не обращенную к коже поверхность,
второй слой имеет более низкое относительное содержание металлоксидного антибактериального агента, чем первый слой,
нижний слой включает третий слой, составляющий обращенную к коже поверхность нижнего слоя,
третий слой имеет более низкое относительное содержание металлоксидного антибактериального агента, чем второй слой,
расстояние между волокнами в первом слое меньше, чем расстояние между волокнами во втором слое, и
расстояние между волокнами во втором слое меньше, чем расстояние между волокнами в третьем слое.
2. Поверхностный материал впитывающего изделия по п. 1, в котором
содержащее металлоксидный антибактериальный агент волокно образовано путем замешивания металлоксидного антибактериального агента в волокно.
3. Поверхностный материал впитывающего изделия по п. 1, в котором
относительное содержание содержащего металлоксидный антибактериальный агент волокна по массе в каждом из первого слоя, второго слоя и третьего слоя составляет
в первом слое 80 масс. % или более и 100 масс. % или менее, во втором слое 50 масс. % или более и 90 масс. % или менее и в третьем слое 0 масс. % или более и 50 масс. % или менее.
4. Поверхностный материал впитывающего изделия по п. 1, в котором
относительное содержание металлоксидного антибактериального агента по массе в каждом из первого слоя, второго слоя и третьего слоя составляет
в первом слое 0,04 масс. % или более и 2,5 масс. % или менее,
во втором слое 0, 025 масс. % или более и 2,25 масс. % или менее и
в третьем слое 0 масс. % или более и 1,25 масс. % или менее.
5. Поверхностный материал впитывающего изделия по п. 1, в котором
расстояние между волокнами в первом слое составляет 30 мкм или более и 100 мкм или менее,
расстояние между волокнами во втором слое составляет 40 мкм или более и 110 мкм или менее и
расстояние между волокнами в третьем слое составляет 50 мкм или более и 190 мкм или менее.
6. Поверхностный материал впитывающего изделия по п. 1 или 5, в котором
разница между расстоянием между волокнами во втором слое и расстоянием между волокнами в третьем слое составляет 10 мкм или более.
7. Поверхностный материал впитывающего изделия по п. 1, в котором
содержащее металлоксидный антибактериальный агент волокно представляет собой волокно типа сердцевина-оболочка, включающее сердцевину и оболочку,
металлоксидный антибактериальный агент смешан с оболочкой,
и
металлоксидный антибактериальный агент экспонирован на поверхности содержащего металлоксидный антибактериальный агент волокна.
8. Поверхностный материал впитывающего изделия по п. 7, в котором
процентное содержание металлоксидного антибактериального агента в волокне типа сердцевина-оболочка составляет 0,05 масс. % или более и 2,5 масс. % или менее.
9. Поверхностный материал впитывающего изделия по п. 1, в котором
металлоксидный антибактериальный агент представляет собой оксид цинка.
10. Поверхностный материал впитывающего изделия по п. 1, в котором
процентное содержание содержащего металлоксидный антибактериальный агент волокна во всем поверхностном материале составляет 30 масс. % или более и 80 масс. % или менее.
11. Поверхностный материал впитывающего изделия по п. 1, в котором
процентное содержание металлоксидного антибактериального агента во всем поверхностном материале составляет 0,015 масс. % или более и 2,0 масс. % или менее.
12. Поверхностный материал впитывающего изделия по п. 1, в котором
вогнутая часть образована путем частичного уплотнения верхнего слоя и нижнего слоя.
13. Впитывающее изделие, включающее: впитывающий элемент; и
поверхностный материал по п. 1, расположенный на стороне обращенной к коже поверхности впитывающего элемента.
| JP 2015062485 A, 09.04.2015 | |||
| JP 2021159672 A, 11.10.2021 | |||
| JP 2017217465 A, 14.12.2017 | |||
| RU 2016117152 A, 10.11.2017. |
Авторы
Даты
2025-02-27—Публикация
2023-05-23—Подача