Изобретение относится к устройствам, применяемым на железнодорожном транспорте, и может быть использовано для закрепления составов на станционных путях.
Известен упор тормозной для закрепления составов УТС-380 СТ-ВНИИЖТ (Руководство по эксплуатации «Упор тормозной для закрепления составов УТС-380» 791.00.00 РЭ / ВНИИЖТ. 1999 г. 27 с. Электрон, копия печ. изд. URL: http://static.scbist.com/scb/uploaded/3949_uts-380%20.pdf (дата обращения 19.12.2023). Доступна на сайте СЦБИСТ: железнодорожный форум). Упор содержит колодки с кронштейнами, которые шарнирно соединены с опорами, рычажный механизм, устанавливаемый на поперечине, рельсовые накладки и приводные тяги. Рычажный механизм шарнирно соединяется с выходным звеном привода и обеспечивает установку колодок упора в рабочее или нерабочее положение с помощью приводных тяг.
Недостатки упора - низкая надежность и сложность механизма привода тормозных колодок. Продольная ось выходного звена привода и продольные оси приводных тяг находятся в разных плоскостях, что усложняет конструкцию, также не обеспечивается компенсация тангенциальной составляющей силы взаимодействия конусной поверхности круга катания колеса с тормозной колодкой, отклоняющей ее наружу рельсовой колеи, что увеличивает износ шарнирных соединений.
Известен упругий упор для закрепления железнодорожного подвижного состава (патент на изобретение RU №2207278 от 06.03.2000 г.), содержащий тормозные башмаки, установленные на закрепленных на рельсах опорах, шарнирно связанные приводными тягами со стрелочным электроприводом.
Известен упор для закрепления железнодорожного подвижного состава (патент на изобретение RU №2436695 от 16.07.2010 г.), содержащий тормозные колодки и башмаки, выполненные с поворотными кронштейнами, опоры, закрепленные на рельсах, приводные тяги.
Недостатки упругих упоров - сложность конструкции и низкая надежность рычажного механизма привода тормозных колодок. Приводные тяги выполнены в виде стержней, изогнутых относительно своей продольной оси таким образом, что линии действия сил в кинематических парах, проходящие через центры шарниров, несоосны с продольными осями приводных тяг. При работе упора это вызывает изгиб стержня тяги, ускоренный и неравномерный износ шарнирных соединений. Конструкция существующих упругих упоров не обеспечивает компенсацию тангенциальной составляющей силы взаимодействия конусной поверхности круга катания колеса с колодкой со стороны двух тормозных колодок, в результате чего возникает ускоренный и неравномерный износ шарнирных соединений.
Наиболее близким к заявляемому является устройство для закрепления рельсовых транспортных средств (патент на изобретение SU №1823844 от 24.05.1991 г.), содержащее тормозные башмаки, установленные на рычагах, закрепленных на рельсах и шарнирно связанных с приводными тягами.
Недостаток устройства - низкая надежность механизма привода тормозных колодок, ускоренный износ шарнирных соединений. По меньшей мере одна приводная тяга выполнена в виде стержня, изогнутого относительно своей продольной оси таким образом, что продольная ось приводной тяги несоосна с линией действия силы, проходящей через центры шарнирных соединений приводной тяги с двуплечим рычагом и приводной тяги с рычагом тормозного башмака. При работе упора это вызывает изгиб приводной тяги, ускоренный и неравномерный износ шарнирных соединений. Конструкцией не обеспечивается компенсация тангенциальной составляющей силы взаимодействия конусной поверхности круга катания колеса с тормозной колодкой, отклоняющей ее наружу рельсовой колеи, что увеличивает износ шарнирных соединений.
Техническая проблема - низкая надежность механизма привода тормозных колодок упора для закрепления железнодорожного состава.
Техническая задача, решаемая изобретением - существенное повышение надежности механизма привода тормозных колодок упора для закрепления железнодорожного состава.
Техническая задача решена в конструкции упора, содержащего рельсовые накладки, закрепленные на шейках рельсов, опоры, закрепленные на рельсовых накладках, двуплечие рычаги с тормозными колодками на верхних плечах, шарнирно соединенные с опорами; рычажный механизм, имеющий двуплечий рычаг, соединенный приводными тягами с двуплечими рычагами тормозных колодок и установленный на кронштейне с возможностью поворота на рабочий угол; привод с выходным звеном, соединенным приводными тягами с двуплечими рычагами, при этом продольные оси приводных тяг, продольные оси симметрии плеч двуплечего рычага рычажного механизма и продольная ось выходного звена привода расположены в одной вертикальной плоскости; кронштейны с двуплечим рычагом рычажного механизма закреплены на рельсовой накладке внутри рельсовой колеи; начальные углы между продольными осями симметрии каждого плеча двуплечего рычага рычажного механизма и вертикалью находятся в диапазоне 30° - 60° и рабочий угол двуплечего рычага рычажного механизма находится в диапазоне 85° - 90°.
Для упрощения обслуживания шарнирных соединений упора, опоры установлены на рельсовых накладках снаружи рельсовой колеи и выходное звено привода соединено приводной тягой с нижним плечом двуплечего рычага тормозной колодки.
Для снижения влияния факторов, увеличивающих износ механизма привода тормозных колодок упора, опоры установлены на рельсовых накладках внутри рельсовой колеи и выходное звено привода соединено приводной тягой с нижним плечом двуплечего рычага рычажного механизма.
Технический эффект - существенное повышение надежности механизма привода тормозных колодок упора для закрепления железнодорожного состава, достигается за счет следующих отличительных признаков: продольные оси приводных тяг, продольные оси симметрии плеч двуплечего рычага рычажного механизма и продольная ось выходного звена привода расположены в одной вертикальной плоскости; кронштейны с двуплечим рычагом рычажного механизма закреплены на рельсовой накладке внутри рельсовой колеи; начальные углы между продольными осями симметрии каждого плеча двуплечего рычага рычажного механизма и вертикалью находятся в диапазоне 30° - 60° и рабочий угол двуплечего рычага рычажного механизма находится в диапазоне 85° - 90°.
Данная совокупность отличительных признаков упора для закрепления железнодорожного состава не обнаружена в процессе патентно-информационного поиска, следовательно, техническое решение соответствует критерию «новизна». Она также не следует явно из уровня техники, следовательно, техническое решение соответствует критерию «изобретательский уровень».
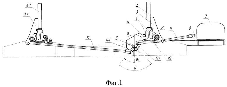
На фиг. 1 показан вид спереди упора для закрепления железнодорожного состава в рабочем положении.
На фиг. 2 - вид спереди упора в нерабочем положении.
На фиг. 3-вид сверху упора в рабочем положении.
На фиг. 4 - вид слева упора в рабочем положении.
На фиг. 5 - вид спереди варианта упора в рабочем положении.
На фиг. 6 - вид спереди варианта упора в нерабочем положении.
На фиг. 7-8 - сечение упора по горизонтальной плоскости осей болтовых отверстий рельсовой накладки.
Упор для закрепления железнодорожного состава (Фиг. 1-4) содержит рельсовые накладки 1, закрепленные на шейках рельсов с помощью разъемного болтового соединения; опоры 2, установленные с помощью неразъемного соединения, например сварного, на рельсовых накладках 1 снаружи рельсовой колеи; двуплечие рычаги 3 и 3.1 с закрепленными на верхних плечах тормозными колодками 4 и 4.1, шарнирно соединенные с опорами 2; двуплечий рычаг рычажного механизма 5 с продольной осью симметрии 5 а верхнего плеча, проходящей через центр шарнира верхнего плеча и центр поворота двуплечего рычага 5, и продольной осью симметрии 5б нижнего плеча, проходящей через центр шарнира нижнего плеча и центр поворота двуплечего рычага 5; кронштейн 6, привод 7 с выходным звеном 8, приводную тягу 9, шарнирно соединенную одним концом с выходным звеном 8 привода 7, а другим концом - с нижним плечом двуплечего рычага 3; приводную тягу 10, шарнирно соединенную одним концом с нижним плечом двуплечего рычага 3, а другим концом - с верхним плечом двуплечего рычага 5; приводную тягу 11, шарнирно соединенную одним концом с нижним плечом двуплечего рычага 5, а другим концом - с нижним плечом двуплечего рычага 3.1. Оси 5а, 5б двуплечего рычага 5, продольные оси приводных тяг 9-11 и продольная ось выходного звена 8 привода 7 расположены в одной вертикальной плоскости. Двуплечий рычаг 5 установлен с возможностью поворота на кронштейне 6 таким образом, что начальные углы α и α1 между осями 5а, 5б двуплечего рычага 5 и вертикалью находятся в диапазоне 30° - 60°, а рабочий угол β двуплечего рычага 5 находится в диапазоне 85° - 90°. Кронштейн 6 выполнен в виде фигурной пластины с осью и отверстиями, неподвижно закрепленной на рельсовой накладке 1 внутри рельсовой колеи торцом с помощью неразъемного соединения, например сварного (Фиг. 7) или одной плоскостью с помощью разъемного соединения, например болтового (Фиг. 8).
В варианте предлагаемого упора (Фиг. 5-6) опоры 2 установлены с помощью неразъемного соединения, например сварного, на рельсовых накладках 1 внутри рельсовой колеи; приводная тяга 12 шарнирно соединена одним концом с выходным звеном 8 привода 7, а другим концом - с нижним плечом двуплечего рычага 5; приводная тяга 13 шарнирно соединена одним концом с верхним плечом двуплечего рычага 5, а другим концом - с нижним плечом двуплечего рычага 3; приводная тяга 14 шарнирно соединена одним концом с нижним плечом двуплечего рычага 5, а другим концом - с нижним плечом двуплечего рычага 3.1. Оси 5а, 5б двуплечего рычага 5, продольные оси приводных тяг 12-14 и продольная ось выходного звена 8 привода 7 расположены в одной вертикальной плоскости.
Расположение осей 5а и 5б двуплечего рычага 5, продольных осей приводных тяг 9-14 и оси выходного звена 8 привода 7 не в одной вертикальной плоскости, а, например, в параллельных плоскостях, усложняет конструкцию механизма привода, вызывает возникновение силы, ускоряющей износ шарнирных соединений и изгибающей приводные тяги 9-14.
Закрепление кронштейнов 6 с двуплечим рычагом 5 рычажного механизма не на рельсовой накладке 1 внутри рельсовой колеи, а, например, снаружи рельсовой колеи, усложняет конструкцию механизма привода и требует выполнения изгиба приводных тяг 9-14, в результате чего при работе механизма возникают силы, ускоряющие износ шарнирных соединений.
Если начальный угол α будет меньше 30° или больше 60° (Фиг. 1), то значения углов давления в кинематической паре приводной тяги 10 и верхнего плеча двуплечего рычага 5 будут превышать предельно допустимые значения углов давления для данного рычажного механизма на рабочем или холостом ходу соответственно.
Если начальный угол α1 будет меньше 30° или больше 60° (Фиг. 1), то значения углов давления в кинематической паре приводной тяги 11 и нижнего плеча двуплечего рычага 5 будут превышать предельно допустимые значения углов давления для данного рычажного механизма на рабочем или холостом ходу соответственно.
Несоответствие значений углов а и он диапазону 30°…60° вызывает ускоренный износ шарнирных соединений, изгиб приводных тяг 9-14 и заклинивание механизма привода тормозных колодок упора.
При значении рабочего угла β меньше 85° (Фиг. 1) не обеспечивается конечное нерабочее положение тормозных колодок 4 и 4.1. При значении рабочего угла β больше 90° происходит взаимодействие торцовых поверхностей нижних плеч двуплечих рычагов 3 и 3.1 с подошвами рельс, которое приводит к изгибу приводных тяг 9-14 и ускоренному износу шарнирных соединений.
Расположение двуплечего рычага 5 с осями 5а и 5б, продольных осей приводных тяг 9-11, 12-14 и продольной оси выходного звена 8 привода 7 в одной вертикальной плоскости позволяет существенно упростить конструкцию упора и исключить возникновение сил, ускоряющих износ шарнирных соединений (Фиг. 3).
Закрепление кронштейнов с двуплечим рычагом рычажного механизма на рельсовой накладке внутри рельсовой колеи позволяет выполнить приводные тяги без изгиба стержней и исключить возникновение сил, ускоряющих износ шарнирных соединений (Фиг. 1, 5).
Установка опор 2 на рельсовых накладках 1 снаружи рельсовой колеи и соединение с помощью приводной тяги 9 выходного звена 8 привода 7 с нижним плечом двуплечего рычага 3 тормозной колодки 4 в нерабочем положении тормозных колодок 4 и 4.1 упрощает доступ к шарнирным соединениям двуплечего рычага 5 и приводных тяг 10-11 для обслуживания, что повышает надежность механизма привода (Фиг. 1).
Установка опор 2 на рельсовых накладках 1 внутри рельсовой колеи и соединение с помощью приводной тяги 12 выходного звена 8 привода 7 с нижним плечом двуплечего рычага 5 в рабочем положении тормозных колодок 4 и 4.1 позволяет компенсировать влияние тангенциальной составляющей силы взаимодействия конусной поверхности круга катания колес с тормозными колодками 4 и 4.1, что исключает возникновение сил, ускоряющих износ шарнирных соединений (Фиг. 5).
Упор работает следующим образом. Исходное положение упора (Фиг. 2) - двуплечие рычаги 3 и 3.1 с тормозными колодками 4 и 4.1 находятся в нерабочем положении и повернуты наружу рельсовой колеи для обеспечения свободного прохода железнодорожного состава. Двуплечий рычаг 5 повернут таким образом, что значения начальных углов α и α1 находятся в диапазоне 30°…60°. При срабатывании привода 7 выходное звено 8 совершает поступательное движение, воздействуя одновременно через приводную тягу 9 на нижнее плечо двуплечего рычага 3, а также через приводную тягу 10 на верхнее плечо двуплечего рычага 5, при этом двуплечий рычаг 5 поворачивается на рабочий угол β в диапазоне 85° - 90°, воздействуя через нижнее плечо и приводную тягу 11 на двуплечий рычаг 3.1. Двуплечие рычаги 3 и 3.1 с тормозными колодками 4 и 4.1 поворачиваются в опорах 2. Таким образом достигается рабочее положение рычагов 3 и 3.1 с тормозными колодками 4 и 4.1 для обеспечения закрепления железнодорожного состава, как по ходу, так и против хода его движения (Фиг. 1, 4). При обратном ходе выходного звена 8 привода 7 двуплечие рычаги 3 и 3.1 с тормозными колодками 4 и 4.1 аналогичным образом возвращаются в исходное положение (Фиг. 2).
В варианте предлагаемого упора (Фиг. 5-6) исходное положение - двуплечие рычаги 3 и 3.1 с тормозными колодками 4 и 4.1 находятся в нерабочем положении для обеспечения свободного прохода железнодорожного состава (Фиг. 6). Двуплечий рычаг 5 повернут таким образом, что значения начальных углов α и α1 находятся в диапазоне 30° - 60°. При срабатывании привода 7 выходное звено 8 совершает поступательное движение, воздействуя одновременно через приводную тягу 12 на нижнее плечо двуплечего рычага 5, а также через приводную тягу 14 на нижнее плечо двуплечего рычага 3.1, при этом двуплечий рычаг 5 поворачивается на рабочий угол β в диапазоне 85° - 90°, воздействуя через верхнее плечо и приводную тягу 13 на нижнее плечо двуплечего рычага 3. Двуплечие рычаги 3 и 3.1 с тормозными колодками 4 и 4.1 поворачиваются в опорах 2. Таким образом достигается рабочее положение рычагов 3 и 3.1 с тормозными колодками 4 и 4.1 для обеспечения закрепления железнодорожного состава как по ходу, так и против хода его движения (Фиг. 5). При обратном ходе выходного звена 8 привода 7 двуплечие рычаги 3 и 3.1 с тормозными колодками 4 и 4.1 аналогичным образом возвращаются в исходное положение (Фиг. 6).
В нерабочем положении все подвижные и неподвижные части упора для закрепления железнодорожного состава вписываются в нижние очертания габаритов приближения строений С и Сп по требованию ГОСТ 9238-2022, что обеспечивает безопасную эксплуатацию подвижного состава любого габарита.
Предлагаемый упор работает с приводом, содержащим выходное звено, совершающее возвратно-поступательное движение, например стрелочный электропривод, пневмо- и гидроцилиндр.
| название | год | авторы | номер документа |
|---|---|---|---|
| ТОРМОЗНАЯ РЫЧАЖНАЯ ПЕРЕДАЧА ТРЁХОСНОЙ ТЕЛЕЖКИ РЕЛЬСОВОГО ТРАНСПОРТНОГО СРЕДСТВА | 2020 |
|
RU2730736C1 |
| Тормозная рычажная передача четырёхосной тележки рельсового транспортного средства | 2023 |
|
RU2814294C1 |
| УПРУГИЙ УПОР ДЛЯ ЗАКРЕПЛЕНИЯ ЖЕЛЕЗНОДОРОЖНОГО ПОДВИЖНОГО СОСТАВА | 2000 |
|
RU2207278C2 |
| ТЕЛЕЖКА СКОРОСТНОГО ГРУЗОВОГО ВАГОНА В.В. БОДРОВА | 2015 |
|
RU2602006C2 |
| ТОРМОЗНАЯ РЫЧАЖНАЯ ПЕРЕДАЧА ТРЁХОСНОЙ ТЕЛЕЖКИ РЕЛЬСОВОГО ТРАНСПОРТНОГО СРЕДСТВА | 2019 |
|
RU2715875C1 |
| ТОРМОЗ ДЛЯ НАКЛОННОГО ЛЕНТОЧНОГО КОНВЕЙЕРА | 2008 |
|
RU2402477C2 |
| МЕХАНИЧЕСКАЯ ЧАСТЬ ТОРМОЗНОГО ЖЕЛЕЗНОДОРОЖНОГО ТРАНСПОРТНОГО СРЕДСТВА | 2009 |
|
RU2415769C1 |
| ТОРМОЗ ДЛЯ НАКЛОННОГО ЛЕНТОЧНОГО КОНВЕЙЕРА | 2007 |
|
RU2350542C1 |
| Тормозная рычажная передача транспортного средства | 1987 |
|
SU1505823A1 |
| ЗАЖИМНОЙ ТОРМОЗ В.В. БОДРОВА | 2015 |
|
RU2600407C2 |
Изобретение относится к устройствам, применяемым на железнодорожном транспорте, и может быть использовано для закрепления составов на станционных путях. Упор для закрепления железнодорожного состава содержит рельсовые накладки, закрепленные на шейках рельсов, опоры, закрепленные на рельсовых накладках, двуплечие рычаги с тормозными колодками на верхних плечах, шарнирно соединенные с опорами; рычажный механизм, имеющий двуплечий рычаг, соединенный приводными тягами с двуплечими рычагами тормозных колодок и установленный на кронштейне с возможностью поворота на рабочий угол; привод с выходным звеном, соединенным приводными тягами с двуплечими рычагами. При этом продольные оси приводных тяг, продольные оси симметрии плеч двуплечего рычага рычажного механизма и продольная ось выходного звена привода расположены в одной вертикальной плоскости. Кронштейны с двуплечим рычагом рычажного механизма закреплены на рельсовой накладке внутри рельсовой колеи. Начальные углы между продольными осями симметрии каждого плеча двуплечего рычага рычажного механизма и вертикалью находятся в диапазоне 30-60° и рабочий угол двуплечего рычага рычажного механизма находится в диапазоне 85-90°. В результате повышается надежность механизма привода тормозных колодок упора для закрепления железнодорожного состава. 2 з.п. ф-лы, 8 ил.
1. Упор для закрепления железнодорожного состава, содержащий рельсовые накладки, закрепленные на шейках рельсов, опоры, закрепленные на рельсовых накладках, двуплечие рычаги с тормозными колодками на верхних плечах, шарнирно соединенные с опорами; рычажный механизм, имеющий двуплечий рычаг, соединенный приводными тягами с двуплечими рычагами тормозных колодок и установленный на кронштейне с возможностью поворота на рабочий угол; привод с выходным звеном, соединенным приводными тягами с двуплечими рычагами, отличающийся тем, что продольные оси приводных тяг, продольные оси симметрии плеч двуплечего рычага рычажного механизма и продольная ось выходного звена привода расположены в одной вертикальной плоскости; кронштейны с двуплечим рычагом рычажного механизма закреплены на рельсовой накладке внутри рельсовой колеи; начальные углы между продольными осями симметрии каждого плеча двуплечего рычага рычажного механизма и вертикалью находятся в диапазоне 30-60° и рабочий угол двуплечего рычага рычажного механизма находится в диапазоне 85-90°.
2. Упор по п. 1, отличающийся тем, что опоры закреплены на рельсовых накладках снаружи рельсовой колеи и выходное звено привода соединено приводной тягой с нижним плечом двуплечего рычага тормозной колодки.
3. Упор по п. 1, отличающийся тем, что опоры установлены на рельсовых накладках внутри рельсовой колеи и выходное звено привода соединено приводной тягой с нижним плечом двуплечего рычага рычажного механизма.
| Устройство для закрепления рельсовых транспортных средств | 1991 |
|
SU1823844A3 |
| Железнодорожный упор | 1988 |
|
SU1558751A1 |
| ЗАГРАЖДАЮЩЕЕ УСТРОЙСТВО БАЛОЧНОЕ РЫЧАЖНОЕ ВЕСОВОЕ (ЗУБР ВЕСОВОЙ) | 2021 |
|
RU2757509C1 |
| DE 3043211 A, 01.07.1982. | |||
Авторы
Даты
2025-02-28—Публикация
2024-07-22—Подача