Заявленное изобретение относится к информационным системам в авиации и может быть использовано для автоматизации процесса подготовки полетных заданий (ПЗ) на испытательные полеты за счет обеспечения информационного обмена и анализа передаваемой текстовой информации между элементами системы подготовки ПЗ на испытательные полеты.
В процессе подготовки ПЗ на испытательный полет возникает необходимость в анализе большого количества текстовой информации нормативно-технической документации, хранящейся как в электронной, так и в бумажной форме. Зачастую такие информационные источники слабо структурированы и имеют значительный информационный объем, что существенно затрудняет поиск необходимых сведений и увеличивает время подготовки ПЗ. Процесс усложняется тем, что информация об одном и том же объекте поиска может содержаться одновременно в нескольких разнотипных документах или в одном документе, но в различных его частях. В таких условиях при составлении ПЗ возникают предпосылки к возникновению ошибок и неточностей, связанные с человеческим фактором. Такие ошибки отражаются на качестве выполнения экипажем испытательного полета, а также могут повлиять на безопасность его выполнения.
Описанных недостатков можно избежать посредством создания электронного информационного хранилища, обеспечивающего оперативный доступ к любой технической и нормативно-технической документации и организации его совместной работы с автоматизированным рабочим местом подготовки ПЗ на испытательные полеты. Обработка и анализ текстовой информации в сети «информационное хранилище - рабочее место» может осуществляется посредством вычислительных моделей нейронных сетей. Для решения указанных задач в заявленном изобретении применяются вычислительные модели нейронных сетей типа Transformer. Такие вычислительные модели являются наиболее прогрессивными и показывают наилучшие результаты при решении задач обработки и анализа больших объемов текстовой информации. Вычислительные модели типа Transformer строятся на принципах теории конечных автоматов, что позволяет им обрабатывать элементы входной последовательности данных параллельно. Это существенно ускоряет процесс обучения нейронной сети и позволяет эффективно работать с большими объемами входных данных. Кроме того, благодаря принципам теории конечных автоматов в вычислительных моделях типа Transformer удалось реализовать механизм self-attention («внимание на себя»), который позволяет обращаться в любой момент времени к любому элементу обрабатываемой последовательности данных без необходимости хранить промежуточные шаги обработки.
Наиболее распространенной предварительно обученной вычислительной моделью типа Transformer, используемой для обработки текстовых данных, является модель BERT (Bidirectional Encoder Representations from Transformers, двунаправленная нейронная сеть-кодировщик), разработанная учеными из Google (Vaswani A., Shazeer N., Parmar N., Uszkoreit J., Jones L., Gomez A.N., Kaiser L.U., Polosukhin I. Attention is all you need // Advances in neural information processing systems. 2017. Vol.30. 15 p. DOI: 10.48550/arXiv. 1706.03762). Отличительной особенностью модели BERT является возможность двунаправленного «внимания» при анализе текстовой последовательности, то есть работа как с левосторонним, так и с правосторонним контекстом, что существенно улучшает качество определения семантики анализируемого "текста. Кроме того, модель BERT является предварительно обученной на большом русскоязычном корпусе лингвистических данных и имеет открытый код, что делает возможным ее использование в заявленном изобретении. Применение в заявленном изобретении технических средств, реализующих алгоритмы семантического анализа и обработки текстовой информации посредством вычислительной модели BERT, позволяет существенно повысить уровень автоматизации процесса подготовки ПЗ на испытательные полеты и сократить время его выполнения.
При этом наиболее близким аналогом, известным из уровня техники, является изобретение «Комплексная система подготовки и корректировки полетных заданий, навигации и управления летательного аппарата» (патент па изобретение RU 2747760), состоящее из наземной системы подготовки полетного задания и бортового навигационного комплекса, связь между которыми осуществляется посредством переносного носителя данных, причем система подготовки полетного задания состоит из универсального устройства записи информации на переносной носитель данных, универсального видеомонитора и комплекта универсальных устройств управления, соединенных входами-выходами с электронным блоком, включающим взаимосоединенные входами-выходами по универсальной магистрали информационного обмена вычислительно-логический функциональный модуль базы данных картографической информации, вычислительно-логический функциональный модуль базы данных аэронавигационной информации, вычислительно-логический функциональный модуль интерактивного формирования маршрута полета летательного аппарата, вычислительно-логический функциональный модуль формирования полетного задания и вычислительно-логический функциональный модуль записи полетного задания на переносной носитель данных, а навигационный комплекс состоит из взаимосоединенных входами-выходами по каналу информационного обмена устройства считывания информации с переносного носителя данных, комплекта навигационно-пилотажных систем, радиотехнической системы связи и бортовой цифровой вычислительной системы, включающей взаимосоединенные входами-выходами по бортовой магистрали информационного обмена (БМИО) вычислительно-логический функциональный модуль объединенной базы данных (ОБД), вычислительно-логический функциональный модуль формирования управляющих сигналов (ФУС), вычислительно-логический функциональный модуль ввода-вывода и управления информационным обменом, отличающаяся тем, что она дополнительно снабжена программно-аппаратным комплексом анализа реализуемости полетного задания, в состав которого входят универсальные интерфейсные устройства, в том числе универсальный видеомонитор и комплект универсальных устройств управления, соединенные входами-выходами с электронным вычислительным блоком (ЭВБ), включающим универсальную магистраль информационного обмена, вычислительно-логический функциональный модуль базы данных картографической информации, вычислительно-логический функциональный модуль базы данных аэронавигационной информации, вычислительно-логический функциональный модуль интерактивной корректировки полетного задания, вычислительно-логический функциональный модуль расчета потребного запаса топлива для полета по скорректированному маршруту, причем электронный вычислительный блок программно-аппаратного комплекса анализа реализуемости полетного задания посредством проводных линий связи соединен с вычислительно-логическим функциональным модулем формирования полетного задания из состава наземной системы подготовки полетного задания, а вычислительно-логический функциональный модуль интерактивной корректировки полетного задания из состава электронного вычислительного блока программно-аппаратного комплекса анализа реализуемости полетного задания соединен с наземной радиотехнической системой связи.
Недостатками этого решения является то, что система имеет низкую скорость обмена и обработки информации и не предусматривает применение вычислительных моделей нейронных сетей в своих вычислительно-логических функциональных модулях, что существенно увеличивает время подготовки ПЗ на испытательные полеты.
Технической задачей заявленного изобретения является автоматизация процесса разработки ПЗ на испытательные полеты, а также создание задела для реализации концепции единого информационного пространства обеспечения летных испытаний.
Решение технической задачи достигается тем, что информационно-техническая система подготовки полетных заданий на испытательные полеты с применением вычислительных моделей нейронных сетей включает: внешний носитель полетных данных, вход-выход которого соединен с первым входом-выходом электронного хранилища полетных заданий и служебной информации; второй вход-выход электронного хранилища полетных заданий и служебной информации, соединенный с первым входом-выходом электронно-вычислительного устройства; второй вход-выход электронно-вычислительного устройства, соединенный с первым входом-выходом порта подключения к локальной сети передачи данных; второй вход-выход порта подключения к локальной сети передачи данных, соединенный через локальную сеть передачи данных с первым входом-выходом сетевого коммутатора, причем к сетевому коммутатору через локальную сеть передачи данных, подключаются идентичные заявленным технические средства, организуя тем самым распределенный доступ к информационному хранилищу нормативно-технической документации и параллельную работу специалистов по подготовке нескольких полетных заданий; второй вход-выход сетевого коммутатора, соединенный с первым входом-выходом модуля обработки пользовательских запросов и формирования ответных сообщений; второй вход-выход модуль обработки пользовательских запросов и формирования ответных сообщений, соединенный с третьим входом-выходом системной шины; первый вход-выход системной шины, соединенный со входом-выходом оперативно-запоминающего устройства; второй вход-выход системной шины, соединенный со входом-выходом модуля анализа данных; шестой вход-выход системной шины, соединенный со входом-выходом адаптера питания; четвертый вход-выход системной шины, соединенный с первым входом-выходом устройства резервного копирования; второй вход-выход устройства резервного копирования, соединенный с первым входом-выходом электронного хранилища нормативно-технической документации; второй вход-выход электронного хранилища нормативно-технической документации, соединенный с первым входом-выходом устройства управления электронным хранилищем; второй вход-выход устройство управления электронным хранилищем, соединенный с пятым входом-выходом системной шины.
Технический результат, достигаемый совокупностью признаков заявленного изобретения, заключается в повышении скорости обмена и обработки текстовой информации между элементами системы подготовки ПЗ на испытательные полеты.
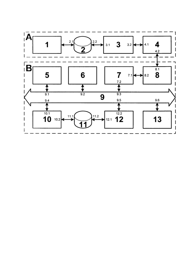
Функционирование заявленного изобретения иллюстрируется чертежом, на котором обозначены:
Контур А - рабочее место подготовки ПЗ на испытательные полеты (устройство А). Представляет собой совокупность технических средств (1-4), организованных в рабочее место пользователя (стойка с. техническими средствами, рабочая поверхность), позволяющее формировать ПЗ в печатной и электронной форме.
Контур В - интерфейс информационного взаимодействия (устройство В), реализующий функции анализа и обработки текстовой информации. Представляет собой корпус, внутри которого на многослойных печатных платах посредством поверхностного монтажа размещены модули и элементы (5-7, 9-11), а также обособленные функциональные устройства (8, 12, 13);
1 - внешний носитель полетных данных (НПД);
2 - электронное хранилище ПЗ и служебной информации;
3 - электронно-вычислительное устройство (ЭВУ);
4 - порт подключения к локальной сети передачи данных LAN (Local Area Network);
5 - оперативно-запоминающее устройство (ОЗУ);
6 - модуль анализа данных;
7 - модуль обработки пользовательских запросов и формирования ответных сообщений;
8 - сетевой коммутатор;
9 - системная шина;
10 - устройство резервного копирования;
11 - электронное хранилище нормативно-технической документации;
12 - устройство управления электронным хранилищем;
13 - адаптер питания.
Блок 1 - внешний НПД представляет собой внешний энергонезависимый модуль памяти типа USB 3.0 (Universal Serial Bus, универсальная последовательная шина) со встроенным USB-токеном криптозащиты типа JaCarta и информационным объемом 16 ГБ, может быть реализован в рамках известного технического решения (https://www.aladdin-rd.ru/catalog/sa-jacarta/). Предназначен для записи и временного хранения сформированных ПЗ с целью работы с ними на борту летательного аппарата во время выполнения испытательных полетов;
Блок 2 - электронное хранилище ПЗ и служебной информации. Представляет собой набор энергонезависимых модулей памяти (могут быть использованы твердотельные SSD-накопители следующего типа bAtps://semiconductor.samsting.com/ssd/enterprise-ssd/pm1643-pm.1643a/), обеспечивающих хранение информации и подключение внешних устройств посредством портов типа USB 3.0;
Блок 3 - электронно-вычислительное устройство, представляющее собой совокупность вычислительного блока и периферийных устройств ввода-вывода информации. Посредством графического интерфейса позволяет формировать запросы к электронному хранилищу нормативно-технической документации на естественном языке (в виде текстового запроса).
Блок 4 представляет собой порт подключения к LAN, в которой находится рабочее место подготовки ПЗ на испытательные полеты (устройство А). Информационное взаимодействие осуществляется на основе стека протоколов TCP/IP по открытому каналу передачи данных.
Блок 5 - оперативно-запоминающее устройство представляет собой набор микросхем памяти (https://mikjon.m/products/high-rel-ic/rnemory/rarn/) и управляющего микроконтроллера (https://mikron.ru/prbducts/high-rel-ic/microprocessors-dsp/dsp/). Модуль обеспечивает промежуточное хранение информационных сообщений, формируемых модулем анализа данных (блок 6), модулем обработки пользовательских запросов и формирования ответных сообщений (блок 7), а также информационных сообщений, поступающих от электронного хранилища нормативно-технической документации (блок 11).
Блок 6 - модуль анализа данных представляет собой вычислительно-логический модуль, состоящий из микропроцессора и набора вспомогательных радиокомпонентов. Алгоритмы работы микропроцессора построены на основе вычислительной модели предварительно обученной нейронной сети по типу модели BERT, которые позволяют реализовать решение задач семантического анализа текста пользовательского запроса. Описание алгоритмов приведено в https://rdc.grfc.ru/2021/09/semantic_analysis/.
Блок 7 - модуль обработки пользовательских запросов и формирования ответных сообщений, представляющий собой микропроцессор и набор вспомогательных радиокомпонентов. Модуль реализует преобразование информационных сообщений, поступающих от устройства А в виде запросов на естественном языке, в форму, воспринимаемую модулем анализа данных (блок 6). Также, осуществляет преобразование указанных сообщений в обратной последовательности для передачи в устройство А.
Блок 8 - сетевой коммутатор, обеспечивающий обмен информацией по локальной сети передачи данных между устройствами А и В. Может быть реализован в рамках известного технического решения (https://www.industrialnets.ru/promyshlennye-ethernet-kommutatory/)
Блок 9 - системная шина выполнена в виде проводящих слоев на печатных платах и навесного монтажа между печатными платами и функциональными элементами устройства В. Обеспечивает обмен информацией между функциональными элементами устройства В (блоки 5-12), а также обеспечивает их питание от адаптера питания (блок 13).
Блок 10 - устройство резервного копирования представляет собой микроконтроллер (https://mikron.ru/products/high-rel-ic/microprocessors-dsp/dsp/) и набор энергонезависимых модулей памяти (могут быть использованы твердотельные SSD-накопители следующего типа https://semiconductor.samsung.com/ssd/enterprise-ssd/pm1643-pm1643a/). Предназначено для периодического копирования информации, хранящейся в электронном хранилище нормативно-технической документации (блок 11) и ее восстановления в случае нарушения целостности данных электронного хранилища.
Блок 11 - электронное хранилище нормативно-технической документации. Представляет собой набор энергонезависимых модулей памяти (могут быть использованы твердотельные SSD-накопители следующего типа https://semiconductor.samsung.com/ssd/enterprise-ssd/pml643-pm1643a/), обеспечивающих хранение текстовой информации и подключение внешних устройств посредством портов типа USB 3.0.
Блок 12 - устройство управления электронным хранилищем представляет собой вычислительное устройство, реализующее администрирование электронного хранилища нормативно-технической документации (блок 11), обеспечивающее целостность находящихся в нем данных и осуществляющее операции ввода-вывода информации по запросу от устройства А. Может быть реализовано в рамках известного технического решения (https://www.supermicro.com/en/producte/system/2U/2029/SSG-2029P-E1CR24H.cfin).
Блок 13 - адаптер питания представляет собой печатную плату с размещенной на ней микросхемой и пассивными радиокомпонентами, обеспечивает питание внутренних элементов устройства В напряжением требуемого номинала через системную шину (блок 9), а также выполняет функции стабилизатора напряжения. Может быть реализован в рамках известного технического решения («Однотактный преобразователь постоянного напряжения», патент на изобретение RU 2573433).
Функционирование заявленного изобретения заключается в следующем.
Пользователь рабочего места подготовки ПЗ на испытательные полеты (устройство А) посредством графического интерфейса ЭВУ (блок 3), формирует запрос к электронному хранилищу нормативно-технической документации (блок 11) о выдаче требуемых для составления ПЗ сведений. Сформированный запрос, через локальную сеть передачи данных по логике стека протоколов TCP/IP, передается на устройство В. Устройства А и В подключены к локальной вычислительной сети посредством блоков 4 и 8 соответственно. При этом, использование сетевого коммутатора (блок 8) в устройстве В обусловлено тем, что к нему могут быть подключены несколько рабочих мест (устройств А), которые используют устройство В одновременно, что позволяет организовать многопользовательский доступ к электронному хранилищу в пределах локальной вычислительной сети (группа специалистов одной организации, чьи рабочие места объединены в локальную сеть).
В устройстве В принятый запрос попадает в модуль обработки пользовательских запросов и формирования ответных сообщений (блок 7), где происходит его преобразование к форме, воспринимаемой модулем анализа данных (блок 6). Таким образом, пользовательский запрос, сформированный на языке программирования Python 3.11, транслируется в язык программирования С++. Это обусловлено тем, что С++ имеет большее быстродействие и ориентированность на работу с микропроцессорной техникой, что является важными качествами при решении задач анализа больших объемов текстовой информации. Преобразованный пользовательский запрос через системную шину (блок 9) передается в модуль анализа данных (блок 6), где происходит его дальнейшая обработка.
В первую очередь осуществляется классификация информационного запроса по двум признакам: запрос структурированной информации (табличная информация); запрос неструктурированной информации (текст нормативно-технического документа). Классификация осуществляется посредством специальных алгоритмов, запрограммированных в микропроцессоре модуля (Щеголев А.А., Азарова Э.Р. Методы и алгоритмы рубрикации текстов // Евразийский Союз Ученых. 2016. №1-2 (22). URL: https://cyberleninka.ru/article/n/metody-i-algoritmy-rubrikatsii-tekstov).
Получение признака «структурированный» означает, что пользовательский запрос относится к разделу электронного хранилища (блок 11), представляющего собой реляционные базы данных (таблицы). Такой пользовательский запрос, через системную шину (блок 9) передается в устройство управления электронным хранилищем (блок 12) для выполнения запроса к электронному хранилищу. После получения ответа от электронного хранилища, устройство управления электронным хранилищем (блок 12) передает его через системную шину (блок 9) в модуль обработки пользовательских запросов и формирования ответных сообщений (блок 7).
Получение пользовательским запросом признака «неструктурированный» означает, что пользователь запрашивает информацию, размещенную в электронном хранилище (блок 11) в не реляционных базах данных (в виде файлов или массивов слабоструктурированного текста). Для получения результата выполнения такого запроса модуль анализа данных (блок 6) переходит к выполнению алгоритмов «интеллектуального поиска». На первом этапе, модуль анализа данных (блок 6), посредством алгоритмов нейронной сети реализованной по типу вычислительной модели BERT (Vaswani A., Shazeer N., Parmar N., Uszkoreit J., Jones L., Gomez A.N., Kaiser L.U., Polosukhin I. Attention is all you need // Advances in neural information processing systems. 2017. Vol.30. 15 p.DOI: 10.48550/arXiv. 1706,03762), осуществляет семантический анализ текста пользовательского запроса и на его основании формирует запрос к электронному хранилищу нормативно-технической документации (блок 11). Результат семантического анализа пользовательского запроса через системную шину (блок 9) записывается в ОЗУ (блок 5) в виде матрицы весовых коэффициентов каждого значащего (не считая предлоги, союзы и т.д.) слова. На втором этапе анализа, полученная в ответном сообщении от электронного хранилища нормативно-технической документации (блок 11) выборка текстовой информации также подвергается семантическому анализу посредством алгоритмов нейронной сети. Результат семантического анализа текстовой выборки в виде матрицы весовых коэффициентов сравнивается с результатом анализа пользовательского запроса, изъятым из ОЗУ (блок 5). В ходе сравнения матриц весовых коэффициентов делается вывод о наиболее релевантных и важных частях текстовой выборки ответного сообщения электронного хранилища, из которых формируется ответ на первоначальный пользовательский запрос. Тем самым, реализуется функция «интеллектуального поиска» неструктурированной текстовой информации.
Сформированный ответ через системную шину (блок 9) направляется в модуль обработки пользовательских запросов и формирования ответных сообщений (блок 7), где он преобразуется в форму представления, воспринимаемую графическим интерфейсом ЭВУ (блок 3) устройства А (транслируется с языка программирования С++, на Python 3.11), и отправляется через локальную сеть передачи данных (через блок 8) в устройство А.
Процесс отправки сообщений (запросов) от модуля анализа данных (блок 6) к электронному хранилищу нормативно-технической документации (блок 11) происходит следующим образом. Сформированные сообщения (запросы) через системную шину (блок 9) поступают в устройство управления электронным хранилищем (блок 12). Получив такое сообщение, устройство управления электронным хранилищем, посредством программных алгоритмов, осуществляет его преобразование в форму SQL-запроса и отправку SQL-запроса в электронное хранилище (блок 11). Получив ответное SQL-сообщение от электронного хранилища (блок 11), устройство управления электронным хранилищем (блок 12) преобразует его в сообщение на языке программирования С++ и, через системную шину (блок 9), передает в модуль анализа данных (блок 6) или модуль обработки пользовательских запросов и формирования ответных сообщений (блок 7) для выполнения вышеописанных алгоритмов (в зависимости от полученного исходным запросом признака).
Электропитание устройства В осуществляется через адаптер питания (блок 13), который обеспечивает подключение питающего кабеля от бытовой электросети. Питающее напряжение через системную шину (блок 9) подается на все внутренние модули и элементы устройства В (питание от системной шины сетевого коммутатора на фигуре не указанно), при этом, на различные функциональные модули и элементы подается различное питающее напряжение, но не более 12 В.
Пользователь рабочего места подготовки ПЗ на испытательные полеты (устройство А) имеет возможность через графический интерфейс ЭВУ (блок 3) записывать сформированные ПЗ в электронное хранилище ПЗ и служебной информации (блок 2), а также скачивать из него готовые бланки ПЗ и необходимую служебную информацию.
Для обеспечения работы с ПЗ на борту летательного аппарата во время выполнения испытательных полетов, предусмотрена возможность скачивания сформированных ПЗ из электронного хранилища ПЗ и служебной информации (блок 2) на внешний НПД (блок 1), который в дальнейшем подключается к штатным средствам отображения летательного аппарата.
Достигаемый технический результат - повышение скорости обмена и обработки текстовой информации между элементами системы подготовки ПЗ на испытательные полеты - достигается за счет того, что в заявленном изобретении применяются технические средства, реализующие информационно-техническое сопряжение элементов системы, которое позволяет выполнять алгоритмы семантического анализа и обработки текстовой информации посредством вычислительных моделей нейронных сетей.
Изобретение относится к системам автоматизации подготовки документации. Технический результат заключается в повышении скорости обмена информацией при подготовке полетных заданий на испытательные полеты. Технический результат достигается за счет того, что система подготовки полетных заданий включает: рабочее место для формирования полетных заданий в печатной и электронной форме, включающее внешний носитель полетных данных, электронное хранилище полетных заданий и служебной информации, электронно-вычислительное устройство и порт подключения к локальной сети передачи данных LAN; интерфейс информационного взаимодействия для анализа и обработки текстовой информации, включающий оперативно-запоминающее устройство, модуль анализа данных для решения задач семантического анализа пользовательских запросов о выдаче требуемых для составления полетного задания сведений посредством алгоритмов обученной модели нейронной сети, модуль обработки пользовательских запросов и формирования ответных сообщений, сетевой коммутатор, системную шину, устройство резервного копирования, электронное хранилище нормативно-технической документации, устройство управления электронным хранилищем, адаптер питания. 1 ил.
Информационно-техническая система подготовки полетных заданий на испытательные полеты с применением вычислительных моделей нейронных сетей, характеризующаяся тем, что она включает:
рабочее место подготовки полетных заданий на испытательные полеты для формирования полетных заданий в печатной и электронной форме, включающее внешний носитель полетных данных, электронное хранилище полетных заданий и служебной информации, электронно-вычислительное устройство и порт подключения к локальной сети передачи данных LAN;
интерфейс информационного взаимодействия для анализа и обработки текстовой информации, включающий оперативно-запоминающее устройство, модуль анализа данных для решения задач семантического анализа пользовательских запросов о выдаче требуемых для составления полетного задания сведений посредством алгоритмов обученной модели нейронной сети, модуль обработки пользовательских запросов и формирования ответных сообщений, сетевой коммутатор, системную шину, устройство резервного копирования, электронное хранилище нормативно-технической документации, устройство управления электронным хранилищем, адаптер питания;
причем вход-выход внешнего носителя полетных данных соединен с первым входом-выходом электронного хранилища полетных заданий и служебной информации;
второй вход-выход электронного хранилища полетных заданий и служебной информации, соединенный с первым входом-выходом электронно-вычислительного устройства;
второй вход-выход электронно-вычислительного устройства, соединенный с первым входом-выходом порта подключения к локальной сети передачи данных;
второй вход-выход порта подключения к локальной сети передачи данных, соединенный через локальную сеть передачи данных с первым входом-выходом сетевого коммутатора, причем к сетевому коммутатору через локальную сеть передачи данных могут подключаться несколько рабочих мест подготовки полетных заданий, организуя тем самым распределенный доступ к информационному хранилищу нормативно-технической документации и параллельную работу специалистов по подготовке нескольких полетных заданий;
второй вход-выход сетевого коммутатора, соединенный с первым входом-выходом модуля обработки пользовательских запросов и формирования ответных сообщений;
второй вход-выход модуль обработки пользовательских запросов и формирования ответных сообщений, соединенный с третьим входом-выходом системной шины;
первый вход-выход системной шины, соединенный со входом-выходом оперативно-запоминающего устройства;
второй вход-выход системной шины, соединенный со входом-выходом модуля анализа данных;
шестой вход-выход системной шины, соединенный со входом-выходом адаптера питания;
четвертый вход-выход системной шины, соединенный с первым входом-выходом устройства резервного копирования;
второй вход-выход устройства резервного копирования, соединенный с первым входом-выходом электронного хранилища нормативно-технической документации;
второй вход-выход электронного хранилища нормативно-технической документации, соединенный с первым входом-выходом устройства управления электронным хранилищем;
второй вход-выход устройства управления электронным хранилищем, соединенный с пятым входом-выходом системной шины.
| КОМПЛЕКСНАЯ СИСТЕМА ПОДГОТОВКИ И КОРРЕКТИРОВКИ ПОЛЕТНЫХ ЗАДАНИЙ, НАВИГАЦИИ И УПРАВЛЕНИЯ ЛЕТАТЕЛЬНОГО АППАРАТА | 2020 |
|
RU2747760C1 |
| RU 2726957 C1, 20.07.2020 | |||
| МНОГОФУНКЦИОНАЛЬНАЯ ИНФОРМАЦИОННАЯ СИСТЕМА ИНТЕГРИРОВАННОЙ СТРУКТУРЫ ОБОРОННО-ПРОМЫШЛЕННОГО КОМПЛЕКСА | 2014 |
|
RU2574281C1 |
| US 9971973 B1, 15.05.2018 | |||
| СПОСОБ ПОЛУЧЕНИЯ ЖЕЛЕЙНОГО МАРМЕЛАДА | 2003 |
|
RU2273236C2 |
Авторы
Даты
2025-03-03—Публикация
2024-02-19—Подача