Изобретение относится к области защиты высоководных временных автодорожных мостов. Оно, в частности, может быть применено для обеспечения горизонтальной (поперечной) устойчивости временных автодорожных разборных высоководных мостов, например, из имущества САРМ-М [1] в периоды воздействия на них высоких, например, паводковых вод и волны прорыва, возникающей при разрушении расположенных выше по реке плотин и дамб.
Такая волна может вызывать катастрофический подъём воды в реке и создавать этим угрозу затопления не только подходов, но и пролетных строений моста (стр. 123) [1], а также опрокидывание опор моста в результате их подмыва.
Практика строительства высоких объектов, например, трубчатых опор воздушных линий электропередач, показала, что одним из наиболее надежных и экономичных в обеспечении их устойчивости является применение анкеров из винтовых свай и гибких (тросовых) оттяжек [2].
При этом целесообразно применять для анкера сваи с двумя лопастями, разнесенными по длине ствола на полтора его диаметра, так как они имеют повышенную несущую способность по сжатию и выдергиванию на 25-30%. При этом возрастает так же сопротивление такой сваи анкера горизонтальным нагрузкам (рис. 3.3) [2].
Авторы предлагаемого изобретения, исходя из изложенного выше, рекомендуют в качестве прототипа изобретения принять описанный в источнике [2] способ закрепления опор линий электропередач винтовыми анкерами и (тросовыми) оттяжками. Конструкцию анкера следует принять по патенту на полезную модель № 202683 [4].
Основное отличие предлагаемого изобретения заключается в том, что в нём винтовые анкеры располагаются на продольной оси опоры и на расчетном удалении от неё. При этом предлагается применять для каждой опоры один (свой) винтовой анкер и одну гибкую (тросовую) оттяжку, которая удерживает одновременно опору моста и опирающиеся на неё концы двух пролётных строений.
Технической задачей изобретения является разработка способа обеспечения горизонтальной (поперечной) устойчивости временного высоководного моста из имущества САРМ-М при воздействии на него высоких (паводковых) вод и волны прорыва, возникающей при разрушении плотины или дамбы расположенных выше моста по реке.
Указанная техническая задача решена за счет того, что каждая русловая опора моста и размещенная на верхнем ригеле её балансирная тележка, на которую опираются концы двух пролетных строений, соединены одной общей тросовой оттяжкой с винтовым анкером, расположенным в русле реки на продольной оси опоры и на расчетном расстоянии от неё; при этом глубина погружения лопастей анкера в грунты дна обеспечивает его устойчивость и надежность при образовании общего и местного размывов грунтов дна реки; верхний конец оттяжки соединён через талреп со скобой передней прокладки, которая размещена на верхнем ригеле опоры между ним и рамой балансирной тележки и соединена с ними болтами; талреп для натяжения оттяжки размещен между скобой передней прокладки и верхним концом оттяжки вблизи верхнего ригеля опоры.
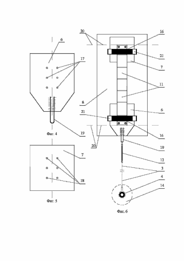
Схема предлагаемого изобретения показана на фиг. 1 и 2 где обозначено: фиг. 1 - вид фасада моста; фиг. 2 - вид поперечного разрез моста с оттяжкой и винтовым анкером; фиг. 3 - план верхнего ригеля русловой опоры с расположенными на нём плоскими прокладками, оттяжкой, талрепом и винтовым анкером; фиг. 4 - план передней прокладки со скобой; фиг. 5 - план задней прокладки; фиг. 6 - план размещение на верхнем ригеле опоры балансирной тележки, обеих прокладок, талрепа, оттяжки и винтового анкера; поз. 1 - пролётное строение; поз. 2 - русловая опора моста; поз. 3 - оттяжка; поз. 4 - винтовой анкер; поз. 5 - свайно-винтовой устой; поз. 6 - передняя прокладка со скобой; поз. 7 - задняя прокладка (выравнивающая); поз. 8 - верхний ригель опоры; поз. 9 - стойка опоры; поз. 10 - нижний ригель; поз. 11 - балансирная тележка; поз. 12 - талреп; поз. 13 - буй; поз. 14 - замковая муфта; поз. 15 - замковый рычаг; поз. 16 - балансирная балка; поз. 17 - сквозные отверстия под болты крепления передней прокладки и рамы балансирной тележки к верхнему ригелю опоры; поз. 18 - сквозные отверстия под болты крепления задней прокладки; поз. 19 - скоба для соединения талрепа с передней прокладкой; поз. 20 - проекция на верхний ригель опоры габаритной линии пролётного строения; поз. 21 - опорный каток.
Осуществление изобретения производится по следующей технологии в соответствии с разработанным проектом производства работ (ППР) на строительство моста и рекомендациями, изложенными в [1] (главы 3 и 5).
Вблизи оси моста на одном берегу организуется строительная площадка с причалом (не показана). На строительной площадке устраивают площадки для сборки пролетных строений и опор. Секции пролётных строений, элементы опор, балансирные тележки, сваи фундаментов опор и другие элементы, требуемые для устройства временного высоководного моста, доставляются на строительную площадку готовыми с базы хранения материальной части САРМ-М. За пределами строительной площадки так же производится изготовление элементов для сборки системы закрепления опор моста и пролетных строений от высоких вод и волны прорыва (поз. 3,4,6,7,13,14,15). Устройство этой системы производится в процессе монтажа опор моста.
Например, погружение винтовых анкеров 4 осуществляется вместе с погружением свай фундаментов опор. Размещение прокладок 6 и 7 на верхних ригелях 8 (фиг. 2, 3, 6) опор моста производится плавучим краном до установки на опоры балансирных тележек 11 (фиг. 2, 6). Команды, которые монтируют свайные ростверки опор моста, собирают и системы закрепления. Последние операции при этом - установка на прокладки 6 и 7 балансирных тележек 11 и соединение их общими болтами через отверстия 17 и 18 в прокладках 6 и 7 с верхними ригелями 8 опор 2. К скобам 19 на прокладках 6 прикрепляют талрепы 12. Нижние концы талрепов 12 предварительно на причале соединяют с верхними концами оттяжек 3 (фиг. 2, 6). Так же предварительно соединяют нижние концы оттяжек 3 с замковыми рычагами 15 муфт 14. После этого команда на пароме перевозит поочередно муфты 14 в сборе с рычагами 15 и буями 13 к погруженным в дно винтовым анкерам 4. Монтажники надевают муфты 14 на стволы свай анкеров 4. Муфты 14 свободно опускаются по стволам свай анкеров 4 на дно. После этого монтажники, находящиеся на инвентарных монтажных площадках (не показаны) возле верхних ригелей опор 8, талрепами 12 натягивают оттяжки 3. В результате этого замковые рычаги 15 прижимаются плотно к стволам винтовых свай анкеров 4 (фиг. 2).
Этой операцией завершаются, по сути, работы по монтажу системы обеспечения горизонтальной (поперечной) устойчивости временного высоководного автодорожного однопутного моста из имущества САРМ-М при воздействии на него высоких паводковых вод и волны прорыва, возникающей при разрушении расположенных выше по реке плотин и дамб.
Таким образом, предложенный впервые в изобретении способ обеспечения горизонтальной (поперечной) устойчивости временного высоководного однопутного автодорожного моста из имущества САРМ-М обеспечивает решение технической задачи изобретения за счет применения винтовых анкеров и тросовых оттяжек.
Особенность изобретения заключается в том, что для каждой опоры устраивается (свой) один винтовой анкер, который погружается в дно реки на продольной оси опоры на расчетном расстоянии от неё, а не на берегах реки. Этим не перегораживается русло реки, что особенно важно для судоходных рек. Кроме того, анкер соединяется с верхним ригелем опоры одной общей тросовой оттяжкой. При этом верхний конец её объединяет в один узел через переднюю прокладку со скобой верхний ригель опоры и расположенную на нём балансирную тележку, на которую опираются концы двух пролётных строений.
Глубину погружения винтовых свай фундаментов опор и анкеров их закрепления следует назначать так же с учётом возможных размывов грунтов дна реки, возникающих при катастрофических подъёмах воды в реке при проходе паводков и волн прорыва.
Использованные источники
1. Средний автодорожный разборный мост модернизированный (САРМ-М). М., ВИ, 2002.
2. В.Н. Железков. Винтовые сваи в энергетической и других отраслях строительства. СПБ, программа, 2004.
3. В.Н. Железков и др. Применение винтовых свай на переходе через Сургутское водохранилище ВЛ-500 кв., Сургут-Белозёрная. Журнал ''Энергетическое строительство'' №3 с 45-47. 1985.
4. Патент на полезную модель №202683 ''Инвентарный свайно-винтовой анкер для закрепления наплавных мостов на малых глубинах''.
| название | год | авторы | номер документа |
|---|---|---|---|
| Инвентарный свайно-винтовой устой горизонтальной устойчивости однопутного автодорожного разборного моста САРМ-М для рек с высокими паводками | 2024 |
|
RU2838806C1 |
| УСТАНОВКА В ПРОЕКТНОЕ ПОЛОЖЕНИЕ ПРОЛЕТНОГО СТРОЕНИЯ ПОДВОДНОГО АВТОДОРОЖНОГО РАЗБОРНОГО МОСТА СОВМЕСТНО С ОДНОЙ ПРОМЕЖУТОЧНОЙ СВАЙНО-БАШМАЧНОЙ ОПОРОЙ | 2019 |
|
RU2737748C1 |
| УНИВЕРСАЛЬНЫЙ АВТОДОРОЖНЫЙ РАЗБОРНЫЙ МОСТ (УАРМ) | 2014 |
|
RU2580957C1 |
| Способ закрепления оттяжками плавучего участка из звеньев универсального наплавного средства на оси автодорожного комбинированного моста | 2022 |
|
RU2806996C1 |
| СПОСОБ СБОРКИ ИНВЕНТАРНОГО НИЗКОВОДНОГО МОСТА НА ВИНТОВЫХ СВАЯХ НАДВИЖКОЙ ПРОЛЕТНОГО СТРОЕНИЯ | 2010 |
|
RU2446246C2 |
| Модульный металлический шатровый телескопический ледорез | 2022 |
|
RU2807000C1 |
| Способ стыковки береговой и речной частей наплавного унифицированного железнодорожного моста-ленты МЛЖ-ВФ-ВТ | 2020 |
|
RU2750370C1 |
| СПОСОБ СБОРКИ ИНВЕНТАРНОГО НИЗКОВОДНОГО МОСТА НА ВИНТОВЫХ СВАЯХ | 2007 |
|
RU2446245C2 |
| ИНВЕНТАРНЫЙ НИЗКОВОДНЫЙ МОСТ НА ВИНТОВЫХ СВАЯХ | 2010 |
|
RU2446244C2 |
| Способ стыковки речных частей наплавных мостов МЛЖ-ВФ-ВТ и НЖМ-56 | 2018 |
|
RU2692363C1 |
Изобретение относится к области защиты высоководных временных автодорожных мостов. Технический результат - обеспечение горизонтальной (поперечной) устойчивости временного высоководного моста из имущества САРМ-М при воздействии на него высоких (паводковых) вод и волны прорыва, возникающей при разрушении плотины или дамбы, расположенных выше моста по реке. Каждая русловая опора моста и размещенная на верхнем ригеле ее балансирная тележка, на которую опираются концы двух пролетных строений, соединены одной общей тросовой оттяжкой с винтовым анкером, расположенным в русле реки на продольной оси опоры и на расчетном расстоянии от нее. Глубина погружения лопастей анкера в грунты дна обеспечивает его устойчивость и надежность при образовании общего и местного размывов грунтов дна реки; верхний конец оттяжки соединен через талреп со скобой передней прокладки, которая размещена на верхнем ригеле опоры между ним и рамой балансирной тележки и соединена с ними болтами. Талреп для натяжения оттяжки размещен между скобой передней прокладки и верхним концом оттяжки вблизи верхнего ригеля опоры. 6 ил.
Способ обеспечения горизонтальной поперечной устойчивости временного высоководного моста из имущества САРМ-М при воздействии на него высоких паводковых вод и волны прорыва, возникающей при разрушении плотины или дамбы, расположенных выше моста по реке, включающий размещение в русле реки промежуточных опор моста, на балансирных тележках которых размещают концы двух пролетных строений, отличающийся тем, что в русле реки на продольной оси каждой опоры погружают на расстоянии от нее винтовой анкер, а на верхнем ригеле каждой опоры размещают прокладки, на которые устанавливают балансирную тележку и соединяют через отверстия в прокладках с верхним ригелем опоры, при этом переднюю прокладку выполняют со скобой, к которой прикрепляют талреп, предварительно соединенный с одним концом тросовой оттяжки, другой конец которой предварительно соединяют с замковым рычагом муфты, затем муфту размещают на стволе винтового анкера и натягивают талрепом тросовую оттяжку.
| Видоизменение охарактеризованного в пат. № 10796 приспособления против угона путевых рельсов | 1928 |
|
SU20109A1 |
| Устройство для гашения колебаний разрезных пролетных строений моста | 1979 |
|
SU872625A1 |
| ВЫШКА СБОРНО-РАЗБОРНОЙ КОНСТРУКЦИИ ДЛЯ АНТЕННЫХ СИСТЕМ | 2010 |
|
RU2428551C1 |
| Опора линии электропередачи | 1986 |
|
SU1432171A2 |
| RU 202683 U1, 02.03.2021 | |||
| 0 |
|
SU157792A1 | |
| JP 0008035358 A, 06.02.1996. | |||
Авторы
Даты
2025-03-04—Публикация
2024-07-23—Подача