ОБОРУДОВАНИЕ ДЛЯ ПРОИЗВОДСТВА СЫРА С НАЧИНКОЙ, В ЧАСТНОСТИ СЫРА БУРРАТА Российский патент 2025 года по МПК A01J25/12 A23C19/09 

Описание патента на изобретение RU2835984C1

Область техники

Настоящее изобретение относится к узлу оборудования для производства сыра с начинкой, в частности сыра буррата.

Уровень техники

Сыр буррата - это свежий сыр паста филата (pasta filata), обычно в форме мешочка, содержащего начинку, приготовленную из кусочков свежего сыра и сливок, известную как страчателла.

Процесс изготовления сыра буррата осуществляется вручную и включает в себя первичную горячую обработку сыра паста филата (pasta filata) с целью получения по существу свежего сыра шаровидной формы, известного, как моцарелла.

Сыр моцарелла затем удерживается за небольшую часть оператором, который вставляет устройство ввода для подачи начинки внутрь самой моцареллы.

В процессе введения сыр моцарелла изменяет форму, создавая пространство для начинки и приобретая характерную форму мешочка.

После выполнения этого действия оператор уплотняет вышеуказанную часть, прикладывая к ней силу давления, в результате эта часть может быть в итоге отделена от сыра буррата в зависимости от того, какая будет придаваться ей форма.

И наконец, полученный сыр буррата охлаждается и упаковывается.

Как нетрудно догадаться, данный процесс очень трудоемкий и требует применения квалифицированного труда, поскольку действия должны выполняться точно и безошибочно с тем, чтобы исключить порчу «мешочка», что повлияет на процесс обработки.

Это неизбежно приводит к высоким эксплуатационным затратам и, как следствие, к высоким ценам для конечного потребителя.

Кроме того, этот процесс предполагает довольно длительное время обработки, что может повлиять на качество свежих сыров, которые, чтобы сохранить их качество практически неизменным, должны быть поставлены на рынок в течение короткого времени после их производства.

Кроме того, не следует недооценивать риск загрязнения, связанный с ручной обработкой этих свежих сыров, что, в свою очередь, может повлиять на качество готового продукта.

Важно отметить, что изменения в качестве этих свежих сыров существенно влияют на удовлетворенность покупателя, который может воздержаться от приобретения этого продукта.

Таким образом, очевидно, что процесс производства сыра с начинкой может быть усовершенствован.

Раскрытие сущности изобретения

Основной целью настоящего изобретения является разработка узла оборудования для производства сыра с начинкой, в частности сыра буррата, который позволяет сократить время обработки и связанные с этим затраты.

Другой целью настоящего изобретения является разработка узла оборудования для производства сыра с начинкой, в частности сыра буррата, который позволяет освободиться от использования квалифицированного труда.

Дальнейшей целью настоящего изобретения является разработка узла оборудования для производства сыра с начинкой, в частности сыра буррата, который позволяет свести к минимуму риск бактериального заражения.

Другой целью настоящего изобретения является разработка узла оборудования для производства сыра с начинкой, в частности сыра буррата, который позволяет преодолеть вышеуказанные недостатки известного уровня техники простым, рациональным, легким, эффективным в использовании и недорогим решением.

Изложенные выше цели достигаются настоящим оборудованием для производства сыра с начинкой, в частности сыра буррата, охарактеризованным в п. 1 формулы.

Краткое описание чертежей

Другие характеристики и преимущества настоящего изобретения станут еще более очевидны из описания предпочтительного, но не исключительного варианта реализации узла оборудования для производства сыра с начинкой, в частности сыра буррата, представленного в виде показательного, но неограничивающего примера в прилагаемом списке чертежей, в которых:

на Фиг. 1 представлена аксонометрический вид первого варианта реализации оборудования согласно изобретению;

на Фиг. 2 представлен подробный аксонометрический вид оборудования по Фиг. 1;

на Фиг. 3 представлен вид в перспективе компонента оборудования согласно изобретению;

на Фиг. 4-7 дается схематическое представление оборудования согласно изобретению в разных формах использования;

на Фиг. 8 представлен аксонометрический вид второго варианта реализации оборудования согласно изобретению;

на Фиг. 9 представлен аксонометрический вид оборудования по Фиг. 8 с другого угла;

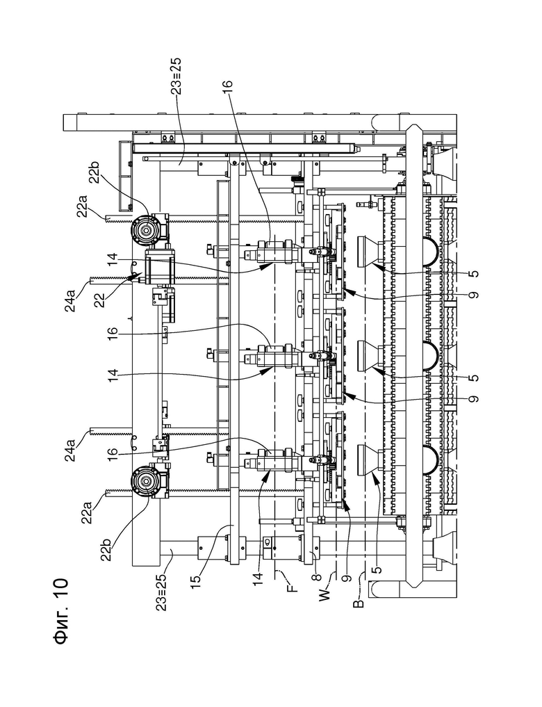
на Фиг. 10 представлен подробный вид сбоку оборудования по Фиг. 8;

на Фиг. 11 и 12 представлены подробные аксонометрические виды оборудования по Фиг. 8.

Осуществление изобретения

В частности, на этих чертежах ссылочной цифрой 1 обозначено оборудование для производства сыра с начинкой, в частности сыра буррата.

Оборудование 1 согласно изобретению содержит по меньшей мере одну несущую раму 2 и опорное средство 3 для сыра C типа "паста филата", которое связано с несущей рамой 2.

В частности, сыр C представляет собой сыр типа моцарелла.

Однако не исключается возможность использования другого типа сыра "паста филата", например, скаморца.

Сыр C подвергается горячей обработке, чтобы обеспечить возможность введения начинки для получения сыра S с начинкой, в данном случае, сыра буррата.

В частности, начинка содержит один или более свежих молочных продуктов, а именно, кусочки моцарелла и сливки.

Однако не исключается возможность использования других типов молочных продуктов (например, творог, масло и др.) и/или продуктов с добавлением немолочных компонентов для производства разных типов сыра S с начинкой.

Для удобства опорное средство 3 содержит расположенную опорную плоскость 4, выполненную с возможностью перемещения на несущей раме 2 в направлении перемещения D вперед.

В представленном на фигурах варианте реализации опорная плоскость 4 имеет вид конвейерной ленты, а направление перемещения D вперед является по существу линейным.

Однако нельзя исключить, что опорная плоскость 4 может иметь вид вращающейся карусели с по существу круговым направлением перемещения D вперед.

Нельзя исключить другие варианты реализации, где опорная плоскость 4 является неподвижной.

Опорное средство 3 содержит по меньшей мере один элемент 5 в виде емкости для сыра C, связанный с опорной плоскостью 4 и выполненный с возможностью размещения в нем сыра C.

В данном случае элемент 5 в виде емкости имеет вид чаши и снабжен корпусом 5a под сыр C и ножкой 5d, которая помогает перемещать корпус от опорной плоскости 4.

Элемент 5 в виде емкости, например, может быть выполнен из теплоизоляционного материала, чтобы можно было поддерживать температуру сыра C, которая требуется для горячей обработки сыра.

В альтернативном варианте элемент 5 в виде емкости может быть выполнен из металла с минимальной термостойкостью и с возможностью быстро набирать температуру сыра C.

Перемещение опорной плоскости 4 осуществляется дискретно и дает возможность приводить элемент 5 в виде емкости в положение между зоной загрузки сыра C, зоной наполнения сыра C и зоной выгрузки сыра S с начинкой.

В частности, в зоне загрузки сыр C помещается в корпус 5a элемента 5 в виде емкости.

В зоне наполнения оборудование 1 обеспечивается захватным средством 6 для захватывания сыра C, которое связано с несущей рамой 2 и выполнено с возможностью удержания по меньшей мере одной части P сыра C, и наполняющим средством 7 для сыра C, которое связано с несущей рамой 2 и выполнено с возможностью введения наполнителя в сыр C через часть P для получения сыра S с начинкой.

Для удобства опорное средство 3 содержит множество элементов 5 в виде емкостей, связанных с опорной плоскостью 4 и выполненных с возможностью размещения в них множества сыров C.

Элементы 5 в виде емкостей расположены в порядке следования по направлению перемещения D вперед.

Если рассматривать в более подробном изложении, элементы 5 в виде емкостей расположены на опорной плоскости 4 на определенном друг от друга расстоянии таким образом, что, когда элемент 5 в виде емкости находится в разгрузочной зоне, следующий за ним элемент оказывается в зоне наполнения.

Этот вариант реализации позволяет производить сыр S с начинкой непрерывно в цикличном режиме без необходимости выгрузки сыра S с начинкой из элемента 5 в виде емкости, прежде чем запустится новый цикл.

Наполняющее средство 7 описывается подробно далее в рассматриваемом документе.

Захватное средство 6 содержит по меньшей мере одну захватную раму 8, связанную с несущей рамой 2, и по меньшей мере одно диафрагменное устройство 9, связанное с захватной рамой 8, которое закрывается по окружности сыра C для удержания части P и раскрывается для высвобождения сыра S с начинкой.

В частности, диафрагменное устройство 9 определяет проходное отверстие 10, через которое может проходить сыр C.

Закрытие диафрагменного устройства 9 приводит к постепенному закрытию проходного отверстия 10 до момента перехвата сыра C.

Преимущественно, устройство 9 содержит множество захватных элементов 11, связанных с захватной рамой 8, которые расположены по окружности.

А именно, захватные элементы 11 расположены вокруг проходного отверстия 10 и взаимно подвижны при повороте вокруг своих соответствующих осей поворота R между по меньшей мере одним рабочим положением, в котором они приближены к центру окружности для перехвата сыра C и удержания части P, и по меньшей мере одним исходным положением, в котором они отведены от центра для высвобождения сыра C.

Другими словами, захватные элементы 11 движутся одновременно в концентричном порядке для перехвата части P и удержания сыра C в неподвижном состоянии.

Кроме этого диафрагменное устройство 9 обеспечивается поворотным средством 12 захватных элементов 11 между по меньшей мере рабочим положением и исходным положением, включая по меньшей мере один соединительный элемент 13, связанный с захватными элементами 11.

Соединительный элемент 13 имеет по существу форму кольца, располагается поверх захватных элементов 11 и содержит множество щелевых отверстий 13a, расположенных по окружности, каждый из которых связан с соответствующим штифтом 11a, установленным на соответствующем захватном элементе 11.

При рассмотрении в более подробном изложении штифт 11a подгоняется посредством скольжения внутрь щелевого отверстия 13a, форма которого определяет траекторию для движения штифта 11a и соответственно амплитуду поворота для захватного элемента 11 вокруг соответствующей оси поворота R.

Поворотное средство 12 содержит по меньшей мере один исполнительный орган 14, который функционально соединен с элементом 13 через зубчатое колесо 14a, выполненное с возможностью зацепления с соответствующей зубчатой частью 13b, выполненной на самом соединительном элементе.

Поворот зубчатого колеса 14a в двух направлениях поворота определяет перемещение захватных элементов 11 между рабочим положением и исходным положением.

А именно, поворот соединительного элемента 13 определяет смещение щелевых отверстий 13a, которые в свою очередь приводят в движение соответствующие штифты 11a и передают движение на захватные элементы 11.

Кроме этого, захватные элементы 11 могут быть для удобства перемещены в положение уплотнения, в котором проходное отверстие 10 далее закрывается и в котором захватные элементы 11 прикладывают силу давления на часть P с целью плотного закрытия сыра S c начинкой.

Захватные элементы 11 могут также перемещаться далее в положение резания, где проходное отверстие 10 полностью закрывается, при этом, в положении резания захватные элементы 11 определяют отделение части P от сыра S с начинкой.

Оборудование 1 позволяет фактически осуществлять производство сыра S с начинкой, обеспечивая характерной формой "мешочка" и/или сыра S с начинкой, имеющего шаровидную форму, где часть P отделяется от сыра S с начинкой.

После отделения часть P остается на диафрагменном устройстве 9 до следующего перемещения захватных элементов 11 в исходное положение, где она укладывается на опорную плоскость 4 под действием силы тяжести.

Для удобства оборудование 1 может содержать множество диафрагменных устройств 9, расположенных в концентричном порядке и работающих самостоятельно в зависимости от типа получаемого сыра S с начинкой.

Например, исходя из размера получаемого сыра S с начинкой, можно использовать два идентичных диафрагменных устройства 9, расположенных друг над другом, при этом, в случае производства сыра S с начинкой небольшого размера функционирует только одно диафрагменное устройство 9 с целью удержания уменьшенной части P, тогда как для производства сыра S с начинкой большего размера необходимо удерживать большую часть P, и оба диафрагменных устройства 9 будут работать одновременно.

В альтернативном варианте или в сочетании с ним одно из диафрагменных устройств 9 может содержать захватные элементы 11, обеспеченные острой частью, выполненной для удаления без труда части P после наполнения сыра C; в таком случае оборудование 1 содержит по меньшей мере одно диафрагменное устройство 9, выполненное с возможностью уплотнения части P, и по меньшей мере одно диафрагменное устройство 9, выполненное с возможностью ее удаления.

В альтернативном варианте или в сочетании с диафрагменным устройством 9 захватное средство 6 может содержать захватное устройство, связанное с захватной рамой 8 и перемещаемое для удержания и/или уплотнения сыра C и/или для отделения части P от сыра S с начинкой.

Как упоминалось выше, оборудование 1 содержит наполняющее средство 7, выполненное с возможностью введения начинки в сыр C.

Наполняющее средство 7 содержит по меньшей мере одну раму 15 наполнения, связанную с несущей рамой 2, и по меньшей мере одно устройство 16 ввода, связанное с рамой 15 наполнения и выполненное с возможностью введения начинки в сыр C.

Для удобства оборудование 1 также содержит по меньшей мере один сосуд 17, выполненный с возможностью содержания начинки, который соединяется с устройством 16 ввода так, что при работе обеспечено сообщение по текучей среде, и по меньшей мере одно насосное устройство 18, выполненное с возможностью транспортировки начинки из сосуда 17 в устройство 16 ввода.

Если рассматривать в более подробном изложении, устройство 16 ввода частично вставляется в сыр C через часть P, должным образом удерживаемую захватным средством 6, и подает начинку, которая содержится в сосуде 17, в сыр C.

После наполнения устройство 16 ввода извлекается из части P для получения сыра S с начинкой, а захватное средство уплотняет и возможно удаляет часть P.

Полученный таким способом сыр S с начинкой высвобождается от захватного средства 6 и переносится в положение выгрузки; в частности, захватные элементы 11 перемещаются в исходное положение для освобождения проходного отверстия 10.

В процессе выполнения этой операции любая убираемая часть P высвобождается на опорной плоскости 4, что позволяет переместить ее вместе с сыром S с начинкой из зоны наполнения в зону выгрузки.

Оборудование 1 содержит по меньшей мере одну охлаждающую ванну 19a, 19b, расположенную в зоне выгрузки, в которую переносится сыр S с начинкой.

В частности, как показано на фигурах, опорная плоскость 4 в зоне выгрузки приводит элемент 5 в виде емкости в перевернутое положение, тем самым сбрасывая сыр S с начинкой в охлаждающую ванну 19a, 19b.

Охлаждающая ванна 19a, 19b включает первую ванну 19a, которая содержит части P, и вторую ванну 19b, которая содержит сыр S с начинкой.

В варианте реализации, показанном на Фигурах 1 - 7, первая ванна 19a и вторая ванна 19b, выровнены по направлению перемещения D вперед таким образом, что первая ванна 19a размещается в непосредственной близости от опорной плоскости 4.

Специальное решение, заключающееся в обеспечении элемента 5 в виде емкости ножкой 5b, позволяет в результате перемещения опорной плоскости 4 в зоне выгрузки части P падать в первую ванну 19a, а сыру S с начинкой падать во вторую ванну 19b.

Однако нельзя исключить, что оборудование 1 содержит единственную охлаждающую ванну и что отделение сыра S с сыром и частей P выполняется позднее.

В преимущественном варианте оборудование 1 содержит подвижные средства 20, 21, выполненные с возможностью перемещения по меньшей мере одного из опорного средства 3, захватного средства 6 или наполняющего средства 7.

В частности, подвижные средства 20, 21 содержат по меньшей мере один общий подвижный блок 20 между захватным средством 6 и наполняющим средством 7 и по меньшей мере общий подвижный узел 21 между опорным средством 3 и захватным средством 6.

Общий подвижный блок 20 выполнен с возможностью перемещения по меньшей мере одного из опорного средства 3 или захватного средства 6 относительно другого вдоль оси перемещения A1, по существу перпендикулярной опорной плоскости 4.

В сущности, общий подвижный блок 20 имеет функцию приближения или удаления опорного средства 3 к захватному средству 6 или от него с целью удержания сыра C диафрагменным устройством 9.

В варианте реализации, показанном на фигурах, общий подвижный блок выполнен с возможностью перемещения захватного средства 6 относительно опорного средства 3.

Общий подвижный блок 20 также имеет функцию отвода диафрагменного устройства 9 от элемента 5 в виде емкости при наполнении наполняющим средством 7.

На этом этапе сыр фактически C стремится к изменению формы для формирования пространства под начинку, тем самым увеличиваясь в объеме.

Общий подвижный блок 20 содержит приводной блок 22, функционально соединенный с захватной рамой 8, и направляющий блок 23, связанный с несущей рамой 2 и проходящий вдоль оси перемещения A1.

Захватная рама 8 связана с направляющим блоком 23 по скользящему типу.

Приводной блок 22 содержит элемент 22a с зубчатой рейкой и шестерней, связанный с захватной рамой 8, по существу параллельно направляющему блоку 23, и исполнительное устройство 22b типа электродвигателя, соединенное непосредственно с элементом с зубчатой рейкой и шестерней и выполненное с возможностью перемещения захватной рамы 8 на направляющем блоке 23.

Общий подвижный узел 21 выполнен с возможностью перемещения по меньшей мере одного захватного средства 6 или наполняющего средства 7 относительно другого вдоль оси перемещения A2, по существу перпендикулярной опорной плоскости 4.

Другими словами, общий подвижный узел 21 имеет функцию приведения наполняющего средства 7 и захватного средства 6 в положение ближе или подальше друг от друга, что делает возможным вводить устройство 16 ввода в часть P или извлекать из нее.

В варианте реализации, показанном на фигурах, общий подвижный узел 21 выполнен с возможностью перемещения наполняющего средства 7 относительно захватного средства 6.

Общий подвижный узел 21 также имеет функцию перемещения устройства 16 ввода от элемента 5 в виде емкости при наполнении по существу одновременно с захватным средством 6 с тем, чтобы способствовать изменению формы сыра C.

Общий подвижный узел 21 содержит двигательный узел 24, функционально соединенный с рамой 15 наполнения, и направляющий узел 25, связанный с несущей рамой 2 и проходящий вдоль оси скольжения A2.

Рама 15 наполнения связана с направляющим узлом 25 скользящим образом.

Двигательный узел 24 содержит по меньшей мере один орган 24a с зубчатой рейкой и шестерней, связанный с рамой 15 наполнения, по существу параллельно направляющему узлу 25, и исполнительный элемент 24b типа электродвигателя, соединенный непосредственно с органом с зубчатой рейкой и шестерней и выполненный с возможностью перемещения рамы 15 наполнения на направляющем узле 25.

Для удобства направляющий узел 25 совпадает с направляющим блоком 23, а ось скольжения A2 совпадает с осью перемещения A1.

Другими словами, рама 15 наполнения и захватная рама 8 расположены одна поверх другой, устанавливаются на тех же рейках и перемещаются вдоль той же оси, что и опорное средство 3.

Оборудование 1 также содержит электронную систему управления 26, обеспечиваемую по меньшей мере одним электронным блоком 26a, выполненным с возможностью управления по меньшей мере одним опорным средством 3, захватным средством 6, наполняющим средством 7, общим подвижным блоком 20 или общим подвижным узлом 21.

Электронная система управления 26 также содержит по меньшей мере один датчик 26b положения, функционально соединенный с электронным блоком 26a и выполненный с возможностью определения по меньшей мере одного положения по меньшей мере одного из соединительного элемента 13, захватной рамы 8 или рамы 15 наполнения.

Работа оборудования 1 согласно изобретению осуществляется следующим образом.

В начале элемент 5 в виде емкости размещается в зоне загрузки, где в корпус 5a загружается сыр C.

Элемент 5 в виде емкости затем переносится посредством опорной плоскости 4 по направлению перемещения D вперед в зону наполнения.

В этом момент общий подвижный блок 20 перемещает захватное средство 6 к опорному средству 3.

В частности, приводной блок 22 приводит диафрагменное устройство 9 в положение ближе к сыру C с тем, чтобы последний мог пройти через проходное отверстие 10.

Исполнительный орган 14 поворотного средства управляется путем определения поворота захватных элементов 11 в рабочее положение, частично закрывая проходное отверстие 10 и удерживая часть P.

Общий подвижный узел 21 перемещает наполняющее средство к захватному средству 6.

В частности, двигательный узел 24 приводит устройство 16 ввода в положение ближе к диафрагменному устройству 9, что делает возможным вставлять само устройство ввода в сыр C через часть P.

Насосное устройство 18 приводится в действие для обеспечения возможности подачи начинки.

На этом этапе общий подвижный блок 20 и общий подвижный узел 21 отводят захватное средство 6 и наполняющее средство 7 одновременно от опорного средства 3 соответственно с тем, чтобы способствовать изменению формы сыра C.

По окончанию подачи общий подвижный узел 21 отводит наполняющее средство 7 от захватного средства 6, что делает возможным извлечь устройство 16 ввода из части P.

В этот момент захватные элементы 11 перемещаются в положение уплотнения, в котором прилагается давление на часть P и закрывается сыр S с начинкой.

Если необходимо, захватные элементы 11 далее поворачиваются в положение резания для отделения части P от сыра S с начинкой.

Затем захватные элементы 11 приводятся в исходное положение для освобождения сыра S с начинкой и, если необходимо, удаленной части P на опорном средстве 3.

Опорная плоскость 4 перемещает сыр S с начинкой и, если необходимо, удаленную часть P в направлении станции выгрузки, где они переносятся в соответствующие ванны 19a и 19b.

Согласно второму варианту реализации, показанному на Фигурах 8-12, захватное средство 6 содержит множество диафрагменных устройств 9, связанных с захватной рамой 8 и расположенных бок о бок по меньшей мере в одном рабочем направлении W поперек направлению перемещения D вперед.

В предпочтительном варианте рабочее направление W по существу перпендикулярно направлению перемещения D вперед.

Однако не могут быть исключены альтернативные варианты реализации, в которых рабочее направление по существу проходит по наклону в направлении перемещения вперед и/или в котором диафрагменные устройства 9 расположены по нескольким рабочим направлениям W в шахматном порядке.

Каждое из диафрагменных устройств 9 выполняется для удержания соответствующего сыра C.

Этот вариант реализации предусматривает, соответственно, что опорное средство 3 содержит множество элементов 5 в виде емкостей, по меньшей мере частично расположенных бок о бок по меньшей мере в одном направления расстановки B параллельно рабочему направлению W.

А именно, элементы 5 в виде емкостей расположены на опорной плоскости 4 один за другим в последовательности, проходящей по направлению перемещения D вперед и расположены бок о бок по соответствующим направлениям B расстановки.

Для удобства каждое диафрагменное устройство 9 содержит соответствующий исполнительный орган 14.

Диафрагменные устройства 9 могут, поэтому, управляться независимо друг от друга для удержания / высвобождения сыра C.

Таким образом, в работе фактически используются только требуемые диафрагменные устройства 9.

Дополнительно с этим предусматривается, что если в одних диафрагменных устройствах 9 захватные элементы 11 перемещаются между исходным положением и положением уплотнения, то в других диафрагменных устройствах 9 захватные элементы 11 перемещаются между исходным положением и положением резания с целью получения сыра S с начинкой с частью P и без части P соответственно.

И снова, ссылаясь на второй вариант реализации, наполняющее средство 7 содержит множество устройств 16 ввода, соединенных с сосудом 17 так, что при работе обеспечено сообщение по текучей среде, при этом, наполняющие средства связаны с рамой 15 наполнения и расположены бок о бок по меньшей мере в одном рабочем направлении F поперек направлению перемещения D вперед.

В предпочтительном варианте рабочее направление F по существу перпендикулярно направлению перемещения D вперед.

В предпочтительном варианте рабочее направление F по существу параллельно рабочему направлению W.

Еще более в предпочтительном варианте рабочее направление F и рабочее направление W проходят по существу горизонтально и расположены друг на друге в одной и той же по существу вертикальной плоскости.

Следовательно, каждое диафрагменное устройство 9 соответствует устройству 16 ввода.

Каждое из устройств 16 ввода выполняется для введения начинки в соответствующий сыр C.

Каждое устройство 16 ввода для удобства соединяется с соответствующим насосным устройством 18.

Устройства 16 ввода могут, поэтому, управляться независимо друг от друга для подачи начинки.

Таким образом, каждое устройство 16 ввода подает начинку фактически только в случае необходимости, т.е. если закрывается соответствующее диафрагменное устройство 9 для удержания сыра C.

Дополнительно с этим предусматриваются устройства 16 ввода для подачи начинки в разных количествах с целью получения сыра S с начинкой разных типов.

Оборудование 1 согласно второму варианту реализации позволяет, следовательно, одновременно обрабатывать несколько сыров C и производить сыр S с начинкой разных типов.

В частности, решение по обеспечению диафрагменных устройств 9, связанных с отдельной захватной рамой 8, и устройств 16 ввода, связанных с отдельной рамой 15 наполнения, позволяет перемещать их одновременно посредством приводного блока 22 и двигательного узла 24 соответственно.

Это решение делает возможным сократить количество компонентов и подвижных деталей, придавая оборудованию 1 особую компактность и гибкость в эксплуатации.

Как показано на Фигурах 8-12, оборудование 1 также содержит по меньшей мере один датчик 27 присутствия, выполненный с возможностью обнаружения присутствия сыра C внутри элемента 5 в виде емкости.

В более подробном изложении датчик 27 присутствия выполнен с возможностью обнаружения присутствия сыра C при размещении элемента 5 в виде емкости в зоне обнаружения между зоной загрузки и зоной наполнения.

Датчик 27 присутствия выполнен по типу, например, фотоэлемента диффузного отражения.

Устройство 16 ввода взаимно соединено с датчиком 27 присутствия для подачи начинки только в присутствии сыра C в элементе 5 в виде емкости.

В частности, оборудование 1 содержит датчик 27 присутствия применительно к каждому устройству 16 ввода.

Датчики 27 присутствия функционально соединены с электронным блоком 26a.

Если датчик 27 присутствия обнаруживает присутствие сыра C в соответствующем корпусе 5a, электронный блок 26a по заданной программе приводит в действие насосное устройство 18 соответствующего устройства 16 ввода.

Если, с другой стороны, датчик 27 присутствия не обнаруживает присутствие сыра C, насосное устройство 18 соответствующего устройства ввода не приводится в действие и начинка не подается.

Нельзя исключить, что датчик 27 присутствия может также применяться для оборудования 1 согласно первому варианту реализации, показанному на Фигурах 1-7.

Всегда, как показано на Фигурах 8-12, оборудование 1 содержит очистное средство 28, связанное с несущей рамой 2 и выполненное с возможностью подачи по меньшей мере одной моющей текучей среды по меньшей мере для захватного средства 6.

Моющая текучая среда выполнена по типу, например, горячей воды и/или дезинфицирующего продукта.

В более конкретном изложении очистное средство 28 содержит по меньшей мере один элемент 29 подачи, выполненный с возможностью направления струи моющего средства на диафрагменное устройство 9.

Элемент 29 подачи имеет функцию удаления остаточного содержания сыра C и/или начинки, которая остается на диафрагменном устройстве 9 в результате приготовления сыра S с начинкой.

Очистное средство 28 содержит по меньшей мере один элемент 29 подачи применительно к каждому диафрагменному устройству 9.

Очистное средство 28 также содержит дозирующий элемент 30, выполненный с возможностью направления струи моющей текучей среды на элемент 5 в виде емкости.

В более подробном изложении дозирующий элемент 30 подает моющую текучую среду на корпус 5a.

Дозирующий элемент 30 имеет функцию очистки корпуса 5a после выгрузки сыра S с начинкой или до размещения нового сыра C.

Точнее перемещение опорной плоскости 4 позволяет помещать элемент 5 в виде емкости в зоне очистки, где происходит его очистка до начала нового цикла обработки.

Дозирующий элемент 30 связан с несущей рамой 2 ниже опорной плоскости 4.

А именно, в зоне очистки элемент 5 в виде емкости обеспечен корпусом 5a, обращенным вниз, но, при этом, дозирующий элемент 30 подает моющее средство вверх.

Таким образом, после очистки корпуса 5a моющая текучая среда отводится вниз самотеком.

Эта операция, поэтому, не требует дополнительного этапа для слива моющего средства из элемента 5 в виде емкости перед началом нового цикла обработки.

Очистное средство 28 содержит дозирующий элемент 30 для каждого элемента 5 в виде емкости, расположенного по направлению расстановки B.

Очистное средство 28, поэтому, делает возможным очистку диафрагменных устройств 9 и элементов 5 в виде емкостей в каждом цикле обработки.

Нельзя исключить, что очистное средство 28 может также применяться для оборудования 1 согласно первому варианту реализации, показанному на Фигурах 1-7.

Для сбора и восстановления моющей текучей среды, подаваемой очистным средством 28, оборудование 1 содержит сборный резервуар 32, расположенный ниже опорной плоскости 4, для удобства под зоной очистки.

Очевидно, что начинка, которая не была введена в сыры C устройством 16 ввода, также собирается в сборном резервуаре 32.

Все продукты, собранные в сборном резервуаре 32 могут из него сливаться (например, посредством всасывания через патрубок 33) для возможного восстановления и/или для предусматриваемой выбраковки.

Более того, во втором варианте реализации отделение сыра S с начинкой и частей P выполняется с использованием метода, альтернативного тому, что описан выше.

В более подробном изложении, как показано на фигурах, вторая ванна 19b, предназначенная для хранения сыра S с начинкой, расположена по направлению перемещения D вперед на опорной плоскости 4 и принимает сыр S с начинкой, когда опорная плоскость сама перемещается вперед.

Первая ванна 19a, предназначенная для хранения частей P, с другой стороны, размещается сбоку опорной пластины 4 в основании оборудования 1. По спускному желобу 31, расположенному под опорной плоскостью 4, части P переносятся под действием силы тяжести с опорной плоскости 4 на первую ванну 19a в результате перемещения опорной плоскости 4 вперед. Для удобства спуска частей P по спускному желобу 31 обеспечивается сопло, которое выполнено с возможностью подачи струи воды вдоль спускного желоба 31.

На практике было установлено, что описанное изобретение достигает намеченных целей и, в частности, подчеркивается, что оборудование для производства сыра с начинкой, в частности сыр буррата, позволяет сократить время обработки и связанные с этим затраты.

Наличие множества диафрагменных устройств и устройств ввода делает возможным дополнительно сократить время обработки и одновременно производить сыр с начинкой разных типов.

Более того, оборудование согласно изобретению позволяет производить сыр с начинкой, в частности сыр буррата, в полностью автоматическом режиме для того, чтобы исключить применения квалифицированной рабочей силы.

Из этого далее следует, что оборудование согласно изобретению позволяет ускорить производство сыра с начинкой и свести к минимуму риск бактериального заражения.

Похожие патенты RU2835984C1

название год авторы номер документа
СИСТЕМА И СПОСОБ ТРАНСПОРТИРОВКИ УПАКОВОЧНЫХ КОНТЕЙНЕРОВ 2014
  • Зеттерстрем Хокан
RU2649859C2
ОБОРУДОВАНИЕ И СПОСОБ ЛОГИСТИКИ ИЗДЕЛИЙ В ВИДЕ ПЛИТ 2020
  • Якарузо, Лука
  • Якарузо, Микеле
RU2817775C2
УСТРОЙСТВО ДЛЯ ИЗГОТОВЛЕНИЯ ИЗДЕЛИЙ ИЗ ТЕСТА С НАЧИНКОЙ, ДОЗАТОР НАЧИНКИ И ЛИНИЯ ДЛЯ ИЗГОТОВЛЕНИЯ ИЗДЕЛИЙ ИЗ ТЕСТА С НАЧИНКОЙ 2004
  • Петухов Виктор Валерьевич
  • Куприй Александр Николаевич
  • Шамаев Алексей Николаевич
RU2269896C2
СПОСОБ ИЗГОТОВЛЕНИЯ ФИГУРНЫХ ПИЩЕВЫХ ПРОДУКТОВ С НАЧИНКОЙ И УСТРОЙСТВО ДЛЯ ЕГО ОСУЩЕСТВЛЕНИЯ 2008
  • Хилд Виктор
  • Сингх Сатиндер Пол
  • Тайлор Джонатан
RU2475034C2
УСТРОЙСТВО ДЛЯ НАПОЛНЕНИЯ ФАРМАЦЕВТИЧЕСКИХ ЕМКОСТЕЙ (ВАРИАНТЫ) 1995
  • Джеггер Теодор У.
RU2140383C1
СИСТЕМА НАПОЛНЕНИЯ ЕМКОСТИ И КЛАПАН ДЛЯ НЕЕ 2014
  • Итон Джон А.
  • Мартин Дэвид Уилльям
  • Уорбертон Дэвид Джей
  • Коулман Натан Джон
  • Феллер Сэмьюэл Фрэнк
  • Эванс Томас Джон
  • Сордж Джейсон Карл
  • Страуб Рэнди А.
RU2632292C1
СИСТЕМА НАПОЛНЕНИЯ ЕМКОСТИ И КЛАПАН ДЛЯ НЕЕ 2014
  • Итон Джон А.
  • Мартин Дэвид Уилльям
  • Страуб Рэнди А.
  • Уорбертон Дэвид Джей
  • Коулман Натан Джон
  • Феллер Сэмьюэл Фрэнк
  • Эванс Томас Джон
  • Сордж Джейсон Карл
RU2621439C1
СИСТЕМА НАПОЛНЕНИЯ ЕМКОСТИ И КЛАПАН ДЛЯ НЕЕ 2014
  • Итон Джон А.
  • Мартин Дэвид Уилльям
  • Уорбертон Дэвид Джей
  • Коулман Натан Джон
  • Феллер Сэмьюэл Фрэнк
  • Эванс Томас Джон
  • Сордж Джейсон Карл
  • Страуб Рэнди А.
RU2641878C2
МАШИНА ДЛЯ СТЕРИЛИЗАЦИИ ИНФИЦИРОВАННЫХ ОТХОДОВ. 2010
  • Сальда Лучано
  • Каппи Анджело
  • Леонелли Кристина
  • Веронези Паоло
RU2557963C2
ГОРИЗОНТАЛЬНАЯ РАЗВАЛЬЦОВОЧНАЯ МАШИНА 2015
  • Маджоло, Виничио
  • Тово, Аугусто
RU2691005C2

Иллюстрации к изобретению RU 2 835 984 C1

Реферат патента 2025 года ОБОРУДОВАНИЕ ДЛЯ ПРОИЗВОДСТВА СЫРА С НАЧИНКОЙ, В ЧАСТНОСТИ СЫРА БУРРАТА

Изобретение относится к молочной промышленности. Раскрыто оборудование (1) для производства сыра с начинкой, характеризующееся тем, что оно содержит: несущую раму (2); опорное средство (3) для сыра (C) типа свежая "паста филата", связанное с указанной несущей рамой (2); захватное средство (6) для указанного сыра (C), связанное с указанной несущей рамой (2) и выполненное с возможностью удержания части (P) указанного сыра (C); наполняющее средство (7) для указанного сыра (С), связанное с указанной несущей рамой (2) и выполненное с возможностью ввода начинки в указанный сыр (C) через указанную часть (P) для получения сыра (S) с начинкой; общий подвижный блок (20) и общий подвижный узел (21), причем указанное захватное средство (6) содержит по меньшей мере одну захватную раму (8), связанную с указанной несущей рамой (2), и по меньшей мере одно диафрагменное устройство (9), связанное с указанной захватной рамой (8), которое закрывается по окружности указанного сыра (C) для удержания указанной части (P) и раскрывается для высвобождения указанного сыра (S) с начинкой, а указанное диафрагменное устройство (9) определяет проходное отверстие (10), через которое может проходить указанный сыр (C), и содержит множество захватных элементов (11), расположенных вокруг проходного отверстия (10), причем захватные элементы (11) приближены к центру окружности для перехвата сыра (C), при этом оборудование также содержит электронную систему управления (26). Изобретение обеспечивает сокращение времени обработки, освобождение от использования квалифицированного труда, сведение к минимуму риска бактериального заражения. 15 з.п. ф-лы, 12 ил.

Формула изобретения RU 2 835 984 C1

1. Оборудование (1) для производства сыра с начинкой, характеризующееся тем, что оно содержит:

- несущую раму (2);

- опорное средство (3) для сыра (C) типа свежая "паста филата", связанное с указанной несущей рамой (2);

- захватное средство (6) для указанного сыра (C), связанное с указанной несущей рамой (2) и выполненное с возможностью удержания части (P) указанного сыра (C);

- наполняющее средство (7) для указанного сыра (С), связанное с указанной несущей рамой (2) и выполненное с возможностью ввода начинки в указанный сыр (C) через указанную часть (P) для получения сыра (S) с начинкой;

- общий подвижный блок (20), выполненный с возможностью приближения или удаления одного из указанного опорного средства (3) или указанного захватного средства (6) относительно другого, для обеспечения удержания указанного сыра (С) и во время его наполнения указанными наполняющими средствами (7); и

- общий подвижный узел (21), выполненный с возможностью приближения или удаления одного из указанного захватного средства (6) или указанного наполняющего средства (7) относительно другого, для обеспечения возможности вставки и извлечения указанного наполняющего средства (7) из указанной части (P);

- причем указанное захватное средство (6) содержит по меньшей мере одну захватную раму (8), связанную с указанной несущей рамой (2), и по меньшей мере одно диафрагменное устройство (9), связанное с указанной захватной рамой (8), которое закрывается по окружности указанного сыра (C) для удержания указанной части (P) и раскрывается для высвобождения указанного сыра (S) с начинкой, а указанное диафрагменное устройство (9) определяет проходное отверстие (10), через которое может проходить указанный сыр (C), и содержит множество захватных элементов (11), расположенных вокруг проходного отверстия (10), причем захватные элементы (11) приближены к центру окружности для перехвата сыра (C),

при этом оборудование также содержит электронную систему управления 26, обеспеченную по меньшей мере одним электронным блоком 26a, выполненным с возможностью управления по меньшей мере одним опорным средством 3, захватным средством 6, наполняющим средством 7, общим подвижным блоком 20 или общим подвижным узлом 21.

2. Оборудование (1) по п. 1, характеризующееся тем, что указанное опорное средство (3) содержит опорную плоскость (4), выполненную с возможностью перемещения на указанной несущей раме (2) по направлению перемещения (D) вперед.

3. Оборудование (1) по одному или более из предыдущих пунктов, характеризующееся тем, что указанное опорное средство (3) содержит элемент (5) в виде емкости для указанного сыра (C), связанный с указанной опорной плоскостью (4) и выполненный с возможностью размещения в нем указанного сыра (C).

4. Оборудование (1) по п. 3, характеризующееся тем, что указанное опорное средство (3) содержит множество указанных элементов (5) в виде емкостей, связанных с указанной опорной плоскостью (4) и выполненных с возможностью размещения в них множества сыров (С).

5. Оборудование (1) по п. 1, характеризующееся тем, что множество указанных захватных элементов (11) связаны с указанной захватной рамой (8), расположены по окружности и выполнены с возможностью взаимного перемещения при повороте вокруг соответствующих осей поворота (R) между рабочим положением, в котором они приближены к центру указанной окружности для перехвата указанного сыра (C) и удержания указанной части (P), и исходным положением, в котором они отведены от центра для высвобождения сыра (S) с начинкой;

при этом указанное диафрагменное устройство (9) также содержит поворотное средство (12) указанных захватных элементов (11) между указанным рабочим положением и указанным исходным положением, содержащее соединительный элемент (13), связанный с указанными захватными элементами (11), и исполнительный орган (14), который функционально соединен с указанным соединительным элементом (13) посредством зубчатого колеса (14a), выполненного с возможностью зацепления с соответствующей зубчатой частью (13b), выполненной на указанном соединительном элементе (13), при этом поворот указанного зубчатого колеса (14a) осуществляется в двух направлениях поворота, определяя тем самым перемещение указанных захватных элементов (11) между указанным рабочим положением и указанным исходным положением.

6. Оборудование (1) по п. 1, характеризующееся тем, что указанное захватное средство (6) содержит множество указанных диафрагменных устройств (9), связанных с указанной захватной рамой (8), расположенных бок о бок в рабочем направлении (W) поперек указанному направлению перемещения (D) вперед, каждое из которых выполнено с возможностью удержания соответствующего сыра (C), причем указанные элементы (5) в виде емкостей по меньшей мере частично расположены бок о бок в направлении (B) расстановки параллельно указанному рабочему направлению (W).

7. Оборудование (1) по одному или более из предыдущих пунктов, характеризующееся тем, что указанное наполняющее средство (7) содержит:

- раму (15) наполнения, связанную с указанной несущей рамой (2);

- устройство (16) ввода, связанное с указанной рамой (15) наполнения и выполненное с возможностью ввода указанной начинки в указанный сыр (C); и

- сосуд (17), выполненный с возможностью содержания указанной начинки и соединенный с указанным устройством (16) ввода так, что при работе обеспечено сообщение по текучей среде.

8. Оборудование (1) по одному или более из предыдущих пунктов, характеризующееся тем, что указанное наполняющее средство (7) содержит множество указанных устройств (16) ввода, соединенных с указанным сосудом (17) так, что при работе обеспечено сообщение по текучей среде, при этом наполняющие средства связаны с указанной рамой (15) наполнения и расположены бок о бок в рабочем направлении (F), поперечном указанному направлению перемещения (D) вперед, причем каждое из них выполнено с возможностью введения указанной начинки в соответствующий сыр (C).

9. Оборудование (1) по одному или более из предыдущих пунктов, характеризующееся тем, что указанный общий подвижный блок (20) выполнен с возможностью перемещения по меньшей мере одного из указанного опорного средства (3) или указанного захватного средства (6) относительно другого вдоль оси перемещения (A1), по существу перпендикулярной указанной опорной плоскости (4).

10. Оборудование (1) по одному или более из предыдущих пунктов, характеризующееся тем, что указанный общий подвижный блок (20) содержит приводной блок (22), функционально соединенный с указанной захватной рамой (8), и направляющий блок (23), связанный с указанной несущей рамой (2) и проходящий вдоль указанной оси перемещения (A1), при этом указанная захватная рама (8) связана посредством скольжения с указанным направляющим блоком (23).

11. Оборудование (1) по одному или более из предыдущих пунктов, характеризующееся тем, что указанный общий подвижный узел (21) выполнен с возможностью перемещения по меньшей мере одного из указанного захватного средства (6) или указанного наполняющего средства (7) относительно другого вдоль оси скольжения (A2), по существу перпендикулярной указанной опорной плоскости (4).

12. Оборудование (1) по одному или более из предыдущих пунктов, характеризующееся тем, что указанный общий подвижный узел (21) содержит двигательный узел (24), функционально соединенный с указанной рамой (15) наполнения, и направляющий узел (25), связанный с указанной несущей рамой (2) и проходящий вдоль указанной оси скольжения (A2), при этом указанная рама (15) наполнения связана посредством скольжения с указанным направляющим узлом (25).

13. Оборудование (1) по одному или более из предыдущих пунктов, характеризующееся тем, что указанный направляющий узел (25) совпадает с указанным направляющим блоком (23), а указанная ось скольжения (A2) совпадает с указанной осью перемещения (A1).

14. Оборудование (1) по одному или более из предыдущих пунктов, характеризующееся тем, что оно содержит датчик (27) присутствия, выполненный с возможностью обнаружения присутствия указанного сыра (C) внутри указанного элемента (5) в виде емкости, при этом указанное устройство (16) ввода взаимно соединено с указанным датчиком (27) присутствия для подачи указанной начинки только в присутствии указанного сыра (C) в указанном элементе (5) в виде емкости.

15. Оборудование (1) по одному или более из предыдущих пунктов, характеризующееся тем, что оно содержит очистное средство (28), связанное с указанной несущей рамой (2) и выполненное с возможностью подачи моющей текучей среды к указанному захватному средству (6).

16. Оборудование (1) по одному или более из предыдущих пунктов, характеризующееся тем, что начиненный сыр представляет собой буррата.

Документы, цитированные в отчете о поиске Патент 2025 года RU2835984C1

0
SU174637A1
Огнеупорный противопригарный раствор для защиты рабочей поверхности металлургических изложниц и шлаковых чаш 1976
  • Голов Геннадий Васильевич
  • Фомин Николай Андреевич
  • Кукк Владимир Алексеевич
  • Кочетов Николай Николаевич
SU713649A1
СПОСОБ И МАШИНА ДЛЯ ПОЛУЧЕНИЯ ПЛАСТИНЫ ПЛАВЛЕНОГО СЫРА С НАЧИНКОЙ И ПЛАСТИНА ТАКОГО СЫРА 2010
  • Мардер, Уве
  • Кемптер, Клаус
  • Копп, Габриэль
  • Лауденбах, Эрик
  • Шаар, Оливер
  • Пирней, Этьен
RU2546876C2

RU 2 835 984 C1

Авторы

Маротта, Кармине

Даты

2025-03-07Публикация

2020-05-20Подача