Настоящее изобретение относится к генерирующему аэрозоль изделию, содержащему генерирующий аэрозоль субстрат и выполненному с возможностью генерирования вдыхаемого аэрозоля при нагреве. Настоящее раскрытие также относится к генерирующей аэрозоль системе, содержащей генерирующее аэрозоль устройство и указанное генерирующее аэрозоль изделие.
Генерирующие аэрозоль изделия, в которых генерирующий аэрозоль субстрат, такой как содержащий табак субстрат, нагревают, а не сжигают, известны из уровня техники. Обычно в таких нагреваемых курительных изделиях аэрозоль генерируется в результате передачи тепла от источника тепла на физически отдельный генерирующий аэрозоль субстрат или материал, который может быть расположен в контакте с источником тепла, внутри него, вокруг него или ниже по ходу потока относительно него. Во время использования генерирующего аэрозоль изделия летучие соединения выделяются из генерирующего аэрозоль субстрата в результате передачи тепла от источника тепла и вовлекаются в воздух, втягиваемый через генерирующее аэрозоль изделие. По мере охлаждения выделяющихся соединений они конденсируются с образованием аэрозоля.
В ряде документов предшествующего уровня техники раскрыты генерирующие аэрозоль устройства для потребления генерирующих аэрозоль изделий. Такие устройства включают в себя, например, электрически нагреваемые генерирующие аэрозоль устройства, в которых аэрозоль генерируется в результате передачи тепла от одного или более электрических нагревательных элементов генерирующего аэрозоль устройства на генерирующий аэрозоль субстрат нагреваемого генерирующего аэрозоль изделия. Например, были предложены электрически нагреваемые генерирующие аэрозоль устройства, которые содержат внутреннее нагревательное лезвие, выполненное с возможностью вставки в генерирующий аэрозоль субстрат. Также известно использование генерирующего аэрозоль изделия в комбинации с внешней нагревательной системой. Например, в WO 2020/115151 описано обеспечение одного или более нагревательных элементов, расположенных по периферии генерирующего аэрозоль изделия, когда генерирующее аэрозоль изделие размещено в полости генерирующего аэрозоль устройства. В качестве альтернативы, в WO 2015/176898 были предложены индукционно нагреваемые генерирующие аэрозоль изделия, содержащие генерирующий аэрозоль субстрат и токоприемник, расположенный внутри генерирующего аэрозоль субстрата.
Генерирующие аэрозоль изделия, в которых содержащий табак субстрат нагревают, а не сжигают, создают ряд проблем, которые не встречались у обычных курительных изделий. Во-первых, содержащие табак субстраты обычно нагревают до значительно более низких температур по сравнению с температурами, достигаемыми фронтом горения в обычной сигарете. Это может негативно влиять на выделение никотина из содержащего табак субстрата и доставку никотина потребителю. В то же время если температуру нагрева повышают в попытке увеличить доставку никотина, то генерируемый аэрозоль обычно приходится охлаждать в большей степени и быстрее, прежде чем он достигнет потребителя. Однако технические решения, которые широко используются для охлаждения вдыхаемого дыма в обычных курительных изделиях, такие как обеспечение сегмента с высокой эффективностью фильтрации на мундштучном конце сигареты, могут создавать нежелательные эффекты в генерирующем аэрозоль изделии, в котором содержащий табак субстрат нагревают, а не сжигают, так как эти решения могут уменьшать доставку никотина. Соответственно, было бы желательно создать новые генерирующие аэрозоль изделия, которые способны стабильно обеспечивать удовлетворительную доставку аэрозоля потребителю,
Во-вторых, в целом ощущается необходимость в генерирующих аэрозоль изделиях, которые просты в использовании и имеют повышенную практичность. Например, было бы желательно создать генерирующее аэрозоль изделие, которое может быть легко вставлено в нагревательную полость генерирующего аэрозоль устройства, и которое в то же время способно надежно удерживаться внутри нагревательной полости таким образом, чтобы оно не выскальзывало при использовании.
Следовательно, было бы желательно создать новое и усовершенствованное генерирующее аэрозоль изделие, выполненное с возможностью достижения по меньшей мере одного из желаемых результатов, описанных выше. Кроме того, было бы желательно создать такое генерирующее аэрозоль изделие, которое может быть изготовлено эффективно и с высокой скоростью, предпочтительно с удовлетворительным сопротивлением затяжке и низкой изменчивостью сопротивления затяжке от одного изделия к другому.
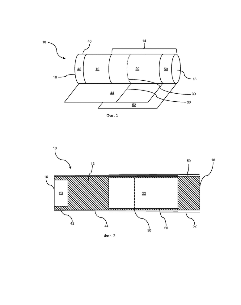
Настоящее раскрытие относится к генерирующему аэрозоль изделию. Генерирующее аэрозоль изделие может содержать стержень генерирующего аэрозоль субстрата. Генерирующий аэрозоль субстрат может содержать одно или более веществ для образования аэрозоля. Содержание вещества для образования аэрозоля в генерирующем аэрозоль субстрате может составлять от 10 процентов до 20 процентов по весу в пересчете на сухой вес. Генерирующее аэрозоль изделие может содержать мундштучный элемент, расположенный ниже по ходу потока относительно генерирующего аэрозоль субстрата. Мундштучный элемент может содержать по меньшей мере один мундштучный фильтрующий сегмент, выполненный из волокнистого фильтрующего материала. Сопротивление затяжке мундштучного фильтрующего сегмента может составлять от 4 мм H2O до 11 мм H2O. Генерирующее аэрозоль изделие может содержать полый трубчатый элемент. Полый трубчатый элемент может быть обеспечен между стержнем генерирующего аэрозоль субстрата и мундштучным элементом. Общая длина полого трубчатого элемента и мундштучного элемента может составлять от 24 мм до 32 мм.
Согласно настоящему изобретению, предложено генерирующее аэрозоль изделие, содержащее стержень генерирующего аэрозоль субстрата. Генерирующий аэрозоль субстрат содержит одно или более веществ для образования аэрозоля. Содержание вещества для образования аэрозоля в образующем аэрозоль субстрате составляет от 10 процентов до 20 процентов по весу в пересчете на сухой вес. Генерирующее аэрозоль изделие содержит мундштучный элемент, расположенный на расположенном ниже по ходу потока конце стержня генерирующего аэрозоль субстрата. Мундштучный элемент содержит по меньшей мере один мундштучный фильтрующий сегмент, выполненный из волокнистого фильтрующего материала. Сопротивление затяжке мундштучного фильтрующего сегмента составляет от 4 мм H2O до 11 мм H2O. Генерирующее аэрозоль изделие содержит полый трубчатый элемент. Полый трубчатый элемент обеспечен между стержнем генерирующего аэрозоль субстрата и мундштучным элементом. Общая длина полого трубчатого элемента и мундштучного элемента составляет от 24 мм до 32 мм.
Кроме того, согласно настоящему раскрытию, предложена генерирующая аэрозоль система, содержащая генерирующее аэрозоль изделие, описанное выше, и генерирующее аэрозоль устройство, причем генерирующее аэрозоль устройство содержит нагревательную камеру для размещения генерирующего аэрозоль изделия и нагревательный элемент, расположенный в нагревательной камере или по ее периферии.
Генерирующее аэрозоль изделие согласно настоящему изобретению имеет усовершенствованную конфигурацию, которая обеспечивает оптимальное генерирование аэрозоля и в то же время имеет надлежащую длину для того, чтобы облегчить пользователю вставку в генерирующее аэрозоль устройство и извлечение из него.
Обеспечение заданного сравнительно большого количества вещества для образования аэрозоля в стержне генерирующего аэрозоль субстрата обеспечивает возможность оптимизации генерирования аэрозоля, в частности, в генерирующем аэрозоль изделии, которое выполнено с возможностью нагрева в генерирующем аэрозоль устройстве. Однако наличие компонентов, расположенных ниже по ходу потока относительно стержня генерирующего аэрозоль субстрата, может создавать препятствия для перемещения капель аэрозоля ниже по ходу потока из субстрата при нагреве и втягивании пользователем. Длина и конструкция таких расположенных ниже по ходу потока элементов также могут иметь значение для поглощения или создания препятствий для таких капель.
Обеспечение сравнительно длинной расположенной ниже по ходу потока секции, содержащей полый трубчатый элемент, удлиняет фазу полезного охлаждения и нуклеации аэрозоля, образующегося из генерирующего аэрозоль субстрата имеющего сравнительно высокое содержание нагреваемого вещества для образования аэрозоля. Однако как время, проводимое каплями внутри сравнительно длинного полого элемента, так и препятствие в виде фильтрующего материала мундштучного элемента могут неблагоприятным образом влиять на выгоды для аэрозолизации, обусловленные обеспечением полого трубчатого элемента и сравнительно высоким содержанием вещества для образования аэрозоля. В настоящем изобретении это сбалансировано путем обеспечения мундштучного (фильтрующего) элемента со сравнительно низким сопротивлением затяжке, который создает меньше препятствий для указанных капель при их продвижении через мундштучный фильтр в направлении мундштучного конца изделия.
Обеспечение мундштучного элемента, имеющего сравнительно низкое сопротивление затяжке, также способствует более быстрому продвижению капель через полый элемент, поскольку пользователь может создавать более высокую разность давлений благодаря сравнительно низкому сопротивлению затяжке мундштучного элемента и расположенной ниже по ходу потока секции в целом.
Таким образом, выбранные содержание вещества для образования аэрозоля, сопротивление затяжке мундштучного элемента и общая длина полого трубчатого элемента и мундштучного элемента в изделиях согласно настоящему изобретению обеспечивают комбинацию, которая улучшает охлаждение и генерирование аэрозоля для пользователя при одновременном улучшении ощущений от использования, благодаря обеспечению сравнительно длинной расположенной ниже по ходу потока секции, которая обеспечивает возможность легкой вставки в генерирующее аэрозоль устройство и извлечения из него.
Как упомянуто выше, генерирующее аэрозоль изделие согласно настоящему изобретению содержит стержень генерирующего аэрозоль субстрата. Кроме того, генерирующее аэрозоль изделие согласно настоящему изобретению содержит один или более элементов, обеспеченных ниже по ходу потока относительно генерирующего аэрозоль субстрата. Указанные один или более элементов, расположенных ниже по ходу потока относительно стержня генерирующего аэрозоль субстрата, образуют расположенную ниже по ходу потока секцию генерирующего аэрозоль изделия. В дополнение, генерирующее аэрозоль изделие согласно настоящему изобретению может содержать элемент, обеспеченный выше по ходу потока относительно генерирующего аэрозоль субстрата. Элемент, расположенный выше по ходу потока относительно стержня генерирующего аэрозоль субстрата, образует расположенную выше по ходу потока секцию генерирующего аэрозоль изделия.
Как указано выше, генерирующее аэрозоль изделие согласно настоящему изобретению содержит стержень генерирующего аэрозоль субстрата. Стержень генерирующего аэрозоль субстрата предпочтительно окружен оберткой, такой как фицелла.
Стержень генерирующего аэрозоль субстрата предпочтительно имеет длину по меньшей мере приблизительно 8 миллиметров. Предпочтительно, стержень генерирующего аэрозоль субстрата имеет длину по меньшей мере приблизительно 9 миллиметров. Более предпочтительно, стержень генерирующего аэрозоль субстрата имеет длину по меньшей мере приблизительно 10 миллиметров.
Например, стержень генерирующего аэрозоль субстрата предпочтительно имеет длину от приблизительно 8 миллиметров до приблизительно 16 миллиметров, или от приблизительно 9 миллиметров до приблизительно 15 миллиметров, или от приблизительно 10 миллиметров до приблизительно 14 миллиметров. В особо предпочтительном варианте осуществления стержень генерирующего аэрозоль субстрата имеет длину приблизительно 12 миллиметров.
Предпочтительно, отношение длины стержня генерирующего аэрозоль субстрата к общей длине генерирующего аэрозоль изделия составляет по меньшей мере приблизительно 0,15, более предпочтительно по меньшей мере приблизительно 0,2, наиболее предпочтительно по меньшей мере приблизительно 0,22.
Предпочтительно, отношение длины стержня генерирующего аэрозоль субстрата к общей длине генерирующего аэрозоль изделия меньше или равно 0,35, более предпочтительно меньше или равно приблизительно 0,33, более предпочтительно меньше или равно приблизительно 0,3.
В особо предпочтительных вариантах осуществления настоящего изобретения отношение длины стержня генерирующего аэрозоль субстрата к общей длине генерирующего аэрозоль изделия составляет приблизительно 0,25.
Авторами настоящего изобретения было обнаружено, что путем регулирования длины стержня генерирующего аэрозоль субстрата в пределах любого из диапазонов, описанных выше, и путем регулирования плотности самого генерирующего аэрозоль субстрата легче обеспечить улучшенное и более стабильное регулирование общего сопротивления затяжке генерирующего аэрозоль изделия. Кроме того, поскольку задают также длину стержня, легче обеспечить требуемое расположение зоны вентиляции относительно субстрата и нагревательного устройства во время использования.
Стержень генерирующего аэрозоль субстрата, предпочтительно имеет внешний диаметр, который приблизительно равен внешнему диаметру генерирующего аэрозоль изделия.
«Внешний диаметр стержня генерирующего аэрозоль субстрата» может быть вычислен как среднее значение множества результатов измерения диаметра стержня генерирующего аэрозоль субстрата, полученных в разных местах вдоль длины стержня генерирующего аэрозоль субстрата.
Предпочтительно, стержень генерирующего аэрозоль субстрата имеет внешний диаметр по меньшей мере приблизительно 5 миллиметров. Более предпочтительно, стержень генерирующего аэрозоль субстрата имеет внешний диаметр по меньшей мере приблизительно 6 миллиметров. Еще более предпочтительно, стержень генерирующего аэрозоль субстрата имеет внешний диаметр по меньшей мере приблизительно 7 миллиметров.
Стержень генерирующего аэрозоль субстрата предпочтительно имеет внешний диаметр, меньший приблизительно 12 миллиметров или равный приблизительно 12 миллиметрам. Более предпочтительно, стержень генерирующее аэрозоль изделие имеет внешний диаметр, меньший приблизительно 10 миллиметров или равный приблизительно 10 миллиметрам. Еще более предпочтительно, стержень генерирующего аэрозоль субстрата имеет внешний диаметр, меньший приблизительно 8 миллиметров или равный приблизительно 8 миллиметрам.
В целом, было отмечено, что чем меньше диаметр стержня генерирующего аэрозоль субстрата, тем ниже температура, необходимая для повышения температуры сердцевины стержня генерирующего аэрозоль субстрата таким образом, чтобы из генерирующего аэрозоль субстрата выделялось достаточное количество испаряемых веществ для образования требуемого количества аэрозоля. В то же время без привлечения теории понятно, что меньший диаметр стержня генерирующего аэрозоль субстрата обеспечивает возможность более быстрого проникновения тепла, прикладываемого к генерирующему аэрозоль изделию, внутрь всего объема генерирующего аэрозоль субстрата. Тем не менее, если диаметр стержня генерирующего аэрозоль субстрата слишком мал, то отношение объема к площади поверхности генерирующего аэрозоль субстрата становится менее удовлетворительным, поскольку снижается количество доступного генерирующего аэрозоль субстрата.
Диаметр стержня генерирующего аэрозоль субстрата, попадающий в пределы диапазонов, описанных в настоящем документе, является особо предпочтительным с точки зрения баланса между энергопотреблением и доставкой аэрозоля. Это преимущество особенно ощутимо, когда генерирующее аэрозоль изделие, содержащее стержень генерирующего аэрозоль субстрата с диаметром, описанным в настоящем документе, используется в комбинации с внешним нагревателем, расположенным по периферии генерирующего аэрозоль изделия. При таких рабочих условиях было обнаружено, что для достижения достаточно высокой температуры в сердцевине стержня генерирующего аэрозоль субстрата и, в целом, в сердцевине изделия требуется меньше тепловой энергии. Таким образом, в случае работы при более низких температурах обеспечена возможность достижения требуемой целевой температуры в сердцевине генерирующего аэрозоль субстрата в пределах требуемым образом сокращенного промежутка времени и при более низком энергопотреблении.
В некоторых вариантах осуществления стержень генерирующего аэрозоль субстрата имеет внешний диаметр от приблизительно 5 миллиметров до приблизительно 12 миллиметров, предпочтительно от приблизительно 6 миллиметров до приблизительно 12 миллиметров, более предпочтительно от приблизительно 7 миллиметров до приблизительно 12 миллиметров. В других вариантах осуществления стержень генерирующего аэрозоль субстрата имеет внешний диаметр от приблизительно 5 миллиметров до приблизительно 12 миллиметров, предпочтительно от приблизительно 6 миллиметров до приблизительно 10 миллиметров, более предпочтительно от приблизительно 7 миллиметров до приблизительно 10 миллиметров. В дополнительных вариантах осуществления стержень генерирующего аэрозоль субстрата имеет внешний диаметр от приблизительно 5 миллиметров до приблизительно 8 миллиметров, предпочтительно от приблизительно 6 миллиметров до приблизительно 8 миллиметров, более предпочтительно от приблизительно 7 миллиметров до приблизительно 8 миллиметров.
В особо предпочтительном варианте осуществления стержень генерирующего аэрозоль субстрата имеет внешний диаметр меньше приблизительно 7,5 миллиметра. Например, стержень генерирующего аэрозоль субстрата может иметь внешний диаметр приблизительно 7,2 миллиметра.
Соотношение между длиной стержня генерирующего аэрозоль субстрата и общей длиной генерирующего аэрозоль изделия может составлять по меньшей мере приблизительно 0,10. Предпочтительно, соотношение между длиной стержня генерирующего аэрозоль субстрата и общей длиной генерирующего аэрозоль изделия составляет по меньшей мере приблизительно 0,15. Более предпочтительно, соотношение между длиной стержня генерирующего аэрозоль субстрата и общей длиной генерирующего аэрозоль изделия составляет по меньшей мере приблизительно 0,20. Еще более предпочтительно, соотношение между длиной стержня генерирующего аэрозоль субстрата и общей длиной генерирующего аэрозоль изделия составляет по меньшей мере приблизительно 0,25.
В целом, соотношение между длиной стержня генерирующего аэрозоль субстрата и общей длиной генерирующего аэрозоль изделия может быть меньше или равно приблизительно 0,60. Предпочтительно, соотношение между длиной стержня генерирующего аэрозоль субстрата и общей длиной генерирующего аэрозоль изделия меньше или равно приблизительно 0,50. Более предпочтительно, соотношение между длиной стержня генерирующего аэрозоль субстрата и общей длиной генерирующего аэрозоль изделия меньше или равно приблизительно 0,45. Еще более предпочтительно, соотношение между длиной стержня генерирующего аэрозоль субстрата и общей длиной генерирующего аэрозоль изделия меньше или равно приблизительно 0,40. В особо предпочтительных вариантах осуществления соотношение между длиной стержня генерирующего аэрозоль субстрата и общей длиной генерирующего аэрозоль изделия меньше или равно приблизительно 0,35, наиболее предпочтительно меньше или равно приблизительно 0,30.
В некоторых вариантах осуществления соотношение между длиной стержня генерирующего аэрозоль субстрата и общей длиной генерирующего аэрозоль изделия составляет от приблизительно 0,10 до приблизительно 0,45, предпочтительно от приблизительно 0,15 до приблизительно 0,45, более предпочтительно от приблизительно 0,20 до приблизительно 0,45, еще более предпочтительно от приблизительно 0,25 до приблизительно 0,45. В других вариантах осуществления соотношение между длиной стержня генерирующего аэрозоль субстрата и общей длиной генерирующего аэрозоль изделия составляет от приблизительно 0,10 до приблизительно 0,40, предпочтительно от приблизительно 0,15 до приблизительно 0,40, более предпочтительно от приблизительно 0,20 до приблизительно 0,40, еще более предпочтительно от приблизительно 0,25 до приблизительно 0,40. В дополнительных вариантах осуществления соотношение между длиной стержня генерирующего аэрозоль субстрата и общей длиной генерирующего аэрозоль изделия составляет от приблизительно 0,10 до приблизительно 0,35, предпочтительно от приблизительно 0,15 до приблизительно 0,35, более предпочтительно от приблизительно 0,20 до приблизительно 0,35, еще более предпочтительно от приблизительно 0,25 до приблизительно 0,35. В других дополнительных вариантах осуществления соотношение между длиной стержня генерирующего аэрозоль субстрата и общей длиной генерирующего аэрозоль изделия составляет от приблизительно 0,10 до приблизительно 0,30, предпочтительно от приблизительно 0,15 до приблизительно 0,30, более предпочтительно от приблизительно 0,20 до приблизительно 0,30, еще более предпочтительно от приблизительно 0,25 до приблизительно 0,30.
Предпочтительно, стержень генерирующего аэрозоль субстрата имеет по существу постоянное поперечное сечение вдоль длины стержня. Особо предпочтительно, стержень генерирующего аэрозоль субстрата имеет по существу круглое поперечное сечение.
В генерирующем аэрозоль изделии согласно настоящему изобретению соотношение между длиной стержня генерирующего аэрозоль субстрата и общей длиной генерирующего аэрозоль изделия может быть меньше или равно приблизительно 0,60. Предпочтительно, соотношение между длиной стержня генерирующего аэрозоль субстрата и общей длиной генерирующего аэрозоль изделия может быть меньше или равно приблизительно 0,50. Более предпочтительно, соотношение между длиной стержня генерирующего аэрозоль субстрата и общей длиной генерирующего аэрозоль изделия, может быть меньше или равно приблизительно 0,40. Еще более предпочтительно, соотношение между длиной стержня генерирующего аэрозоль субстрата и общей длиной генерирующего аэрозоль изделия может быть меньше или равно приблизительно 0,30.
В генерирующем аэрозоль изделии согласно настоящему изобретению соотношение между длиной стержня генерирующего аэрозоль субстрата и общей длиной генерирующего аэрозоль изделия может составлять по меньшей мере приблизительно 0,10. Предпочтительно, соотношение между длиной стержня генерирующего аэрозоль субстрата и общей длиной генерирующего аэрозоль изделия может составлять по меньшей мере приблизительно 0,15. Более предпочтительно, соотношение между длиной стержня генерирующего аэрозоль субстрата и общей длиной генерирующего аэрозоль изделия может составлять по меньшей мере приблизительно 0,20. В особо предпочтительных вариантах осуществления соотношение между длиной стержня генерирующего аэрозоль субстрата и общей длиной генерирующего аэрозоль изделия может составлять по меньшей мере приблизительно 0,25.
В некоторых вариантах осуществления соотношение между длиной стержня генерирующего аэрозоль субстрата и общей длиной генерирующего аэрозоль изделия составляет от приблизительно 0,10 до приблизительно 0,60, предпочтительно от приблизительно 0,15 до приблизительно 0,60, более предпочтительно от приблизительно 0,20 до приблизительно 0,60, еще более предпочтительно от приблизительно 0,25 до приблизительно 0,60. В других вариантах осуществления соотношение между длиной стержня генерирующего аэрозоль субстрата и общей длиной генерирующего аэрозоль изделия составляет от приблизительно 0,10 до приблизительно 0,50, предпочтительно от приблизительно 0,15 до приблизительно 0,50, более предпочтительно от приблизительно 0,20 до приблизительно 0,50, еще более предпочтительно от приблизительно 0,25 до приблизительно 0,50. В дополнительных вариантах осуществления соотношение между длиной стержня генерирующего аэрозоль субстрата и общей длиной генерирующего аэрозоль изделия составляет от приблизительно 0,10 до приблизительно 0,40, предпочтительно от приблизительно 0,15 до приблизительно 0,40, более предпочтительно от приблизительно 0,20 до приблизительно 0,40, еще более дополнительно от приблизительно 0,25 до приблизительно 0,40. Например, соотношение между длиной стержня генерирующего аэрозоль субстрата и общей длиной генерирующего аэрозоль изделия может составлять от приблизительно 0,25 до приблизительно 0,30, предпочтительно приблизительно 0,27.
Предпочтительно, плотность генерирующего аэрозоль субстрата составляет по меньшей мере приблизительно 150 мг на кубический сантиметр. Более предпочтительно, плотность генерирующего аэрозоль субстрата составляет по меньшей мере приблизительно 175 мг на кубический сантиметр. Более предпочтительно, плотность генерирующего аэрозоль субстрата составляет по меньшей мере приблизительно 200 мг на кубический сантиметр. Еще более предпочтительно, плотность генерирующего аэрозоль субстрата, составляет по меньшей мере приблизительно 250 мг на кубический сантиметр.
Предпочтительно, плотность генерирующего аэрозоль субстрата меньше или равна приблизительно 500 мг на кубический сантиметр. Более предпочтительно, плотность генерирующего аэрозоль субстрата меньше или равна приблизительно 450 мг на кубический сантиметр. Более предпочтительно, плотность генерирующего аэрозоль субстрата меньше или равна приблизительно 400 мг на кубический сантиметр. Еще более предпочтительно, плотность генерирующего аэрозоль субстрата меньше или равна приблизительно 350 мг на кубический сантиметр.
Например, плотность генерирующего аэрозоль субстрата предпочтительно составляет от приблизительно 150 мг на кубический сантиметр до приблизительно 500 мг на кубический сантиметр, предпочтительно от приблизительно 175 мг на кубический сантиметр до приблизительно 450 мг на кубический сантиметр, более предпочтительно от приблизительно 200 мг на кубический сантиметр до приблизительно 400 мг на кубический сантиметр, еще более предпочтительно от приблизительно 250 мг на кубический сантиметр до приблизительно 350 мг на кубический сантиметр. В особо предпочтительном варианте осуществления плотность генерирующего аэрозоль субстрата составляет приблизительно 300 мг на кубический сантиметр.
В некоторых предпочтительных вариантах осуществления стержень генерирующего аэрозоль субстрата содержит измельченный табачный материал, например резаный табачный наполнитель, имеющий плотность от приблизительно 150 мг на кубический сантиметр до приблизительно 500 мг на кубический сантиметр, предпочтительно от приблизительно 175 мг на кубический сантиметр до приблизительно 450 мг на кубический сантиметр, более предпочтительно от приблизительно 200 мг на кубический сантиметр до приблизительно 400 мг на кубический сантиметр, более предпочтительно от приблизительно 250 мг на кубический сантиметр до приблизительно 350 мг на кубический сантиметр, наиболее предпочтительно приблизительно 300 мг на кубический сантиметр.
Сопротивление затяжке стержня генерирующего аэрозоль субстрата предпочтительно меньше 10 миллиметров H2O или равно приблизительно 10 миллиметрам H2O. Более предпочтительно, сопротивление затяжке стержня генерирующего аэрозоль субстрата меньше приблизительно 9 миллиметров H2O или равно приблизительно 9 миллиметрам H2O. Еще более предпочтительно, сопротивление затяжке стержня генерирующего аэрозоль субстрата меньше приблизительно 8 миллиметров H2O или равно приблизительно 8 миллиметрам H2O.
Сопротивление затяжке стержня генерирующего аэрозоль субстрата предпочтительно составляет по меньшей мере приблизительно 4 миллиметра H2O. Более предпочтительно, сопротивление затяжке генерирующего аэрозоль субстрата составляет по меньшей мере приблизительно 5 миллиметров H2O. Еще более предпочтительно, сопротивление затяжке стержня генерирующего аэрозоль субстрата составляет по меньшей мере приблизительно 6 миллиметров H2O.
В некоторых вариантах осуществления сопротивление затяжке стержня генерирующего аэрозоль субстрата составляет от приблизительно 4 миллиметров H2O до приблизительно 10 миллиметров H2O, предпочтительно от приблизительно 5 миллиметров H2O до приблизительно 10 миллиметров H2O, предпочтительно от приблизительно 6 миллиметров H2O до приблизительно 25 миллиметров H2O. В других вариантах осуществления сопротивление затяжке стержня генерирующего аэрозоль субстрата составляет от приблизительно 4 миллиметров H2O до приблизительно 20 миллиметров H2O, предпочтительно от приблизительно 5 миллиметров H2O до приблизительно 18 миллиметров H2O, предпочтительно от приблизительно 6 миллиметров H2O до приблизительно 16 миллиметров H2O. В дополнительных вариантах осуществления сопротивление затяжке стержня генерирующего аэрозоль субстрата составляет от приблизительно 4 миллиметров H2O до приблизительно 15 миллиметров H2O, предпочтительно от приблизительно 5 миллиметров H2O до приблизительно 14 миллиметров H2O, более предпочтительно от приблизительно 6 миллиметров H2O до приблизительно 12 миллиметров H2O.
Генерирующий аэрозоль субстрат может представлять собой твердый генерирующий аэрозоль субстрат. Генерирующий аэрозоль субстрат предпочтительно содержит вещество для образования аэрозоля. Вещество для образования аэрозоля может представлять собой любое подходящее известное соединение или смесь соединений, которые при использовании способствуют образованию плотного и стабильного аэрозоля. Вещество для образования аэрозоля обеспечивает возможность содействия тому, чтобы аэрозоль был по существу стойким к термической порче при температурах, обычно создаваемых во время использования генерирующего аэрозоль изделия. Подходящие вещества для образования аэрозоля представляют собой, например: многоатомные спирты, например такие, как триэтиленгликоль, 1,3-бутандиол, пропиленгликоль и глицерин; сложные эфиры многоатомных спиртов, например такие, как моно-, ди- или триацетат глицерина; алифатические сложные эфиры моно-, ди- или поликарбоновых кислот, например такие, как диметилдодекандиоат и диметилтетрадекандиоат; и их комбинации.
Предпочтительно, вещество для образования аэрозоля содержит одно или более из глицерина и пропиленгликоля. Вещество для образования аэрозоля может состоять из глицерина или пропиленгликоля или комбинации глицерина и пропиленгликоля.
Предпочтительно, генерирующий аэрозоль субстрат содержит по меньшей мере 5 процентов по весу вещества для образования аэрозоля в пересчете на сухой вес генерирующего аэрозоль субстрата, более предпочтительно от 10 процентов до 22 процентов по весу в пересчете на сухой вес генерирующего аэрозоль субстрата; более предпочтительно, количество вещества для образования аэрозоля составляет от 12 процентов до 19 процентов по весу в пересчете на сухой вес генерирующего аэрозоль субстрата, например, количество вещества для образования аэрозоля составляет от 13 до 16 процентов по весу в пересчете на сухой вес генерирующего аэрозоль субстрата.
В некоторых предпочтительных вариантах осуществления настоящего изобретения генерирующий аэрозоль субстрат содержит измельченный табачный материал. Например, измельченный табачный материал может присутствовать в виде резаного наполнителя, как описано более подробно ниже. В качестве альтернативы, измельченный табачный материал может присутствовать в виде измельченного листа гомогенизированного табачного материала. Подходящие гомогенизированные табачные материалы для использования в настоящем изобретении описаны ниже.
В контексте настоящего описания термин «резаный наполнитель» использован для описания смеси измельченного растительного материала, такого как табачный растительный материал, включая, в частности, одно или более из листовых пластинок, обработанных стеблей и жилок и гомогенизированного растительного материала.
Резаный наполнитель может также содержать другой табак после нарезки, табачный наполнитель или соус.
Предпочтительно, резаный наполнитель содержит по меньшей мере 25 процентов листовых пластинок растения, более предпочтительно по меньшей мере 50 процентов листовых пластинок растения, еще более предпочтительно по меньшей мере 75 процентов листовых пластинок растения, наиболее предпочтительно по меньшей мере 90 процентов листовых пластинок растения. Предпочтительно, растительный материал представляет собой одно из табака, мяты, чая и гвоздики. Наиболее предпочтительно, растительный материал представляет собой табак. Тем не менее, как будет более подробно рассмотрено ниже, настоящее изобретение в равной степени применимо к другому растительному материалу, способному под действием тепла выделять вещества, которые могут впоследствии образовывать аэрозоль.
Предпочтительно, резаный наполнитель содержит табачный растительный материал, содержащий листовые пластинки одного или более из светлого табака, темного табака, ароматического табака и табачного наполнителя. Применительно к настоящему изобретению термин «табак» описывает частицы любого растения рода Nicotiana.
Светлые табаки представляют табаки с в целом большими листьями светлой окраски. По всему настоящему описанию термин «светлый табак» использован для табаков, которые были подвергнуты огневой сушке. Примерами светлых табаков являются китайский табак трубоогневой сушки, бразильский табак трубоогневой сушки, американский табак трубоогневой сушки, такой как табак Вирджиния, индийский табак трубоогневой сушки, табак трубоогневой сушки из Танзании или другие африканские табаки трубоогневой сушки. Светлый табак характеризуется высоким отношением сахара к азоту. С точки зрения органолептического восприятия, светлый табак представляет собой табак такого типа, который после сушки ассоциируется с пряным и насыщенным ощущением. В контексте настоящего изобретения, светлые табаки представляют собой табаки с содержанием редуцирующих сахаров от приблизительно 2,5 процента до приблизительно 20 процентов в пересчете на сухой вес листьев и общим содержанием аммиака меньше приблизительно 0,12 процента в пересчете на сухой вес листьев. Редуцирующие сахара содержат, например, глюкозу или фруктозу. Общий аммиак содержит, например, аммиак и соли аммиака.
Темные табаки представляют собой табаки с в целом большими листьями темной окраски. По всему настоящему описанию термин «темный табак» использован для табаков, которые были подвергнуты воздушной сушке. В дополнение, темные табаки могут быть ферментированы. Табаки, которые используют, главным образом, для жевания, нюханья, сигар и трубочных смесей, также включены в эту категорию. Как правило, эти темные табаки подвергают воздушной сушке и, возможно, ферментации. С точки зрения органолептического восприятия, темный табак представляет собой табак того типа, который после сушки ассоциируется с ощущением дыма, присущим сигарам темного типа. Темный табак характеризуется низким соотношением сахара и азота. Примерами темного табака являются Берли Малави или другие типы африканского Берли, темный высушенный бразильский Галпао, индонезийский Кастури солнечной сушки или воздушной сушки. Согласно настоящему изобретению, темные табаки представляют собой табаки с содержанием редуцирующих сахаров меньше приблизительно 5 процентов в пересчете на сухой вес листьев и общим содержанием аммиака не больше приблизительно 0,5 процента в пересчете на сухой вес листьев.
Ароматические табаки представляют собой табаки, которые часто имеют небольшие листья светлой окраски. По всему описанию термин «ароматический табак» используют в отношении других видов табака, которые характеризуются высоким содержанием ароматических веществ, например, эфирных масел. С точки зрения органолептического восприятия, ароматический табак представляет собой табак того типа, который после сушки ассоциируется с пряным и ароматным ощущением. Примерами ароматических табаков являются греческий ориентальный, турецкий ориентальный, полуориентальный табак, но также и американский Берли огневой сушки, такой как Перик, махорка, американский Берли или Мериленд. Табачный наполнитель не является табаком конкретного типа, и он включает в себя табаки тех типов, которые в основном используются для дополнения табаков других типов, используемых в смеси, и которые не придают конкретного характерного ароматического свойства конечному продукту. Примерами табачных наполнителей являются стебли, средние жилки или черешки табаков других типов. Конкретным примером могут служить стебли трубоогневой сушки с нижних черешков бразильского табака трубоогневой сушки.
Резаный наполнитель, подходящий для использования в настоящем изобретении, в целом может быть схож с резаным наполнителем, используемым в обычных курительных изделиях. Ширина резания резаного наполнителя предпочтительно составляет от 0,3 миллиметра до 2,0 миллиметров, более предпочтительно ширина резания резаного наполнителя составляет от 0,5 миллиметра до 1,2 миллиметра, и, наиболее предпочтительно, ширина резания резаного наполнителя составляет от 0,6 миллиметра до 0,9 миллиметра. Ширина резания может влиять на распределение тепла внутри генерирующего аэрозоль элемента. Также ширина резания может влиять на сопротивлении затяжке (resistance to draw, RTD) изделия. Кроме того, ширина резания может влиять на общую плотность генерирующего аэрозоль субстрата в целом.
Длина нитей резаного наполнителя является до некоторой степени случайной величиной, поскольку длина нитей будет зависеть от общего размера объекта, от которого отрезана нить. Тем не менее, путем кондиционирования материала перед резанием, например путем регулирования содержания влаги и общей тонкости материала, обеспечивают возможность отрезания более длинных нитей. Предпочтительно, нити имеют длину от приблизительно 10 миллиметров до приблизительно 40 миллиметров перед тем, как нити будут объединены с образованием генерирующего аэрозоль субстрата. Очевидно, что если нити расположены в генерирующем аэрозоль субстрате в продольном направлении, причем продольная протяженность секции меньше 40 миллиметров, то конечный стержень генерирующего аэрозоль субстрата может содержать нити, которые в среднем короче, чем первоначальная длина нити. Предпочтительно, длина нитей резаного наполнителя такова, что от приблизительно 20 процентов до 60 процентов нитей проходят по всей длине стержня генерирующего аэрозоль субстрата. Это предотвращает легкое вытеснение нитей из стержня генерирующего аэрозоль субстрата.
В предпочтительных вариантах осуществления вес резаного наполнителя составляет от 80 миллиграмм до 400 миллиграмм, предпочтительно от 150 миллиграмм до 250 миллиграмм, более предпочтительно от 170 миллиграмм до 220 миллиграмм. Это количество резаного наполнителя обычно обеспечивает возможность получения достаточного количества материала для образования аэрозоля. Кроме того, в свете вышеупомянутых ограничений по диаметру и размеру, это обеспечивает возможность получения плотности стержня генерирующего аэрозоль субстрата, обеспечивающей баланс между поглощением энергии, сопротивлением затяжке и проходами для текучей среды внутри стержня генерирующего аэрозоль субстрата, в котором генерирующий аэрозоль субстрат содержит растительный материал.
Предпочтительно, резаный наполнитель пропитывают веществом для образования аэрозоля. Пропитывание резаного наполнителя может быть осуществлено путем распыления или другими подходящими способами нанесения. Вещество для образования аэрозоля может быть добавлено в смесь во время приготовлении резаного наполнителя. Например, вещество для образования аэрозоля может быть добавлено в смесь в цилиндрическом кожухе прямого кондиционирования (direct conditioning casing cylinder, DCCC). Для добавления вещества для образования аэрозоля к резаному наполнителю может быть использовано обычное оборудование. Вещество для образования аэрозоля может представлять собой любое подходящее известное соединение или смесь соединений, которые при использовании способствуют образованию плотного и стабильного аэрозоля. Вещество для образования аэрозоля обеспечивает возможность содействия тому, чтобы аэрозоль был по существу стойким к термической порче при температурах, обычно создаваемых во время использовании генерирующего аэрозоль изделия. Подходящими веществами для образования аэрозоля являются, например: многоатомные спирты, например такие, как триэтиленгликоль, 1,3-бутандиол, пропиленгликоль и глицерин; сложные эфиры многоатомных спиртов, например такие, как моно-, ди- или триацетат глицерина; алифатические сложные эфиры моно-, ди- или поликарбоновых кислот, например такие, как диметилдодекандиоат и диметилтетрадекандиоат; и их комбинации.
Предпочтительно, вещество для образования аэрозоля содержит одно или более из глицерина и пропиленгликоля. Вещество для образования аэрозоля может состоять из глицерина или пропиленгликоля или комбинации глицерина и пропиленгликоля.
Предпочтительно, количество вещества для образования аэрозоля составляет по меньшей мере 5 процентов по весу в пересчете на сухой вес, предпочтительно от 10 процентов до 22 процентов по весу в пересчете на сухой вес резаного наполнителя; более предпочтительно, количество вещества для образования аэрозоля составляет от 12 процентов до 19 процентов по весу в пересчете на сухой вес резаного наполнителя; например, количество вещества для образования аэрозоля составляет от 13 процентов до 16 процентов по весу в пересчете на сухой вес резаного наполнителя. Если к резаному наполнителю добавлено вещество для образования аэрозоля в количествах, описанных выше, то резаный наполнитель может стать сравнительно липким. Это обеспечивает преимущество, состоящее в содействии удержанию резаного наполнителя в определенном месте внутри изделия, поскольку частицы резаного наполнителя демонстрируют тенденцию к прилипанию к окружающим частицам резаного наполнителя, а также к окружающим поверхностям (например, к внутренней поверхности обертки, окружающей резаный наполнитель).
В некоторых вариантах осуществления количество вещества для образования аэрозоля имеет целевое значение приблизительно 13 процентов по весу в пересчете на сухой вес резаного наполнителя. Наиболее эффективное количество вещества для образования аэрозоля будет также зависеть от резаного наполнителя, независимо от того, содержит ли резаный наполнитель листовые пластинки растения или гомогенизированный растительный материал. Например, помимо других факторов, тип резаного наполнителя будет определять, в какой степени вещество для образования аэрозоля может способствовать выделению веществ из генерирующего аэрозоль субстрата.
По этим причинам стержень генерирующего аэрозоль субстрата, содержащий резаный наполнитель, описанный выше, способен эффективно генерировать достаточное количество аэрозоля при сравнительно низких температурах. Температура от 150 градусов по Цельсию до 200 градусов по Цельсию в нагревательной камере может быть достаточной для того, чтобы один такой резаный наполнитель генерировал достаточные количества аэрозоля, в то время как в генерирующих аэрозоль устройствах, использующих литые листы из табачных листьев, обычно используются температуры приблизительно 250 градусов по Цельсию.
Дополнительное преимущество, связанное с работой при более низких температурах, состоит в снижении потребности в охлаждении аэрозоля. Поскольку в целом используются низкие температуры, может быть достаточной более простая функция охлаждения. Это, в свою очередь, обеспечивает возможность использования более простой и менее сложной конструкции генерирующего аэрозоль изделия.
В других предпочтительных вариантах осуществления генерирующий аэрозоль субстрат содержит гомогенизированный растительный материал, предпочтительно гомогенизированный табачный материал.
Используемый в настоящем документе термин «гомогенизированный растительный материал» охватывает любой растительный материал, полученный в результате агломерации частиц растения. Например, листы или полотна гомогенизированного табачного материала для генерирующих аэрозоль субстратов согласно настоящему изобретению могут быть получены в результате агломерации частиц табачного материала, полученных путем истирания в порошок, измельчения или помола растительного материала и, необязательно, одного или более из пластинок табачного листа и жилок табачного листа. Гомогенизированный растительный материал может быть получен посредством процессов литья, экструзии, изготовления бумаги или любыми другими подходящими способами, известными из уровня техники.
Гомогенизированный растительный материал может быть обеспечен в любой подходящей форме.
В некоторых вариантах осуществления гомогенизированный растительный материал может присутствовать в виде одного или более листов. Используемый в настоящем документе применительно к настоящему изобретению термин «лист» описывает плоский элемент, ширина и длина которые существенно превышают его толщину.
Гомогенизированный растительный материал может присутствовать в виде множества шариков или гранул.
Гомогенизированный растительный материал может присутствовать в виде множества нитей, полосок или кусочков. Используемый в настоящем документе термин «нить» описывает удлиненный элемент материала, длина которого существенно превышает его ширину и толщину. Термин «нить» следует рассматривать, как охватывающий полоски, кусочки и любой другой гомогенизированный растительный материал, имеющий аналогичную форму. Нити гомогенизированного растительного материала могут быть получены из листа гомогенизированного растительного материала, например, посредством разрезания, измельчения или другими способами, например способом экструзии.
В некоторых вариантах осуществления нити могут быть получены in situ (непосредственно на месте) внутри генерирующего аэрозоль субстрата в результате расщепления или растрескивания листа гомогенизированного растительного материала во время получения генерирующего аэрозоль субстрата, например в результате гофрирования. Нити гомогенизированного растительного материала внутри генерирующего аэрозоль субстрата, могут быть отделены друг от друга. В качестве альтернативы, каждая нить гомогенизированного растительного материала внутри генерирующего аэрозоль субстрата может быть по меньшей мере частично соединена со смежной нитью или нитями вдоль длины нитей. Например, смежные нити могут быть соединены посредством одного или более волокон. Это может иметь место, например, в том случае, если нити были получены в результате расщепления листа гомогенизированного растительного материала во время производства генерирующего аэрозоль субстрата, как описано выше.
Если гомогенизированный растительный материал присутствует в виде одного или более листов, описанных выше, то эти листы могут быть изготовлены с помощью процесса литья. В качестве альтернативы, листы гомогенизированного растительного материала могут быть изготовлены с помощью процесса изготовления бумаги.
Каждый из указанных одного или более листов, описанных в настоящем документе, может иметь индивидуальную толщину от 100 микрометров до 600 микрометров, предпочтительно от 150 микрометров до 300 микрометров, наиболее предпочтительно от 200 микрометров до 250 микрометров. Индивидуальная толщина относится к толщине индивидуального листа, в то время как совокупная толщина относится к общей толщине всех листов, которые образуют генерирующий аэрозоль субстрат. Например, если генерирующий аэрозоль субстрат образован из двух индивидуальных листов, то совокупная толщина представляет собой сумму толщин двух указанных индивидуальных листов или измеренную толщину двух листов, когда эти два листа уложены друг на друга в генерирующем аэрозоль субстрате.
Каждый из указанных одного или более листов, описанных в настоящем документе, может иметь индивидуальный граммаж от приблизительно 100 грамм на квадратный метр до приблизительно 600 грамм на квадратный метр.
Каждый из указанных одного или более листов, описанных в настоящем документе, может иметь индивидуальную плотность от приблизительно 0,3 грамма на кубический сантиметр до приблизительно 1,3 грамма на кубический сантиметр, предпочтительно от приблизительно 0,7 грамма на кубический сантиметр до приблизительно 1,0 грамма на кубический сантиметр.
В тех вариантах осуществления настоящего изобретения, в которых генерирующий аэрозоль субстрат содержит один или более листов гомогенизированного растительного материала, эти листы предпочтительно обеспечены в виде одного или более собранных листов. Используемый в настоящем документе термин «собранный» относится к листу гомогенизированного растительного материала, который свернут, согнут или иным образом сжат или сужен в направлении, по существу поперечном цилиндрической оси заглушки или стержня.
Указанные один или более листов гомогенизированного растительного материала могут быть собраны в поперечном направлении относительно его продольной оси и окружены оберткой с образованием непрерывного стержня или заглушки.
В качестве преимущества, указанные один или более листов гомогенизированного растительного материала могут быть гофрированы или обработаны аналогичным образом. Используемый в настоящем документе термин «гофрированный» относится к листу, имеющему множество по существу параллельных складок или гофров. Указанные один или более листов гомогенизированного растительного материала могут быть подвергнуты конгревному тиснению, блинтовому тиснению, перфорированы или иным образом деформированы для обеспечения текстуры на одной или обеих сторонах листа.
Предпочтительно, каждый лист гомогенизированного растительного материала может быть гофрирован таким образом, чтобы он имел множество складок или гофров, по существу параллельных цилиндрической оси заглушки. Эта обработка обеспечивает преимущество, состоящее в содействии собиранию гофрированного листа гомогенизированного растительного материала для формирования заглушки. Предпочтительно, указанные один или более листов гомогенизированного растительного материала могут быть собраны. Следует понимать, что гофрированные листы гомогенизированного растительного материала могут иметь множество по существу параллельных складок или гофров, расположенных под острым или тупым углом к цилиндрической оси заглушки. Лист может быть гофрирован до такой степени, что целостность листа нарушается на указанном множестве параллельных складок или гофров, что обуславливает разделение материала и приводит к образованию кусочков, нитей или полос гомогенизированного растительного материала.
В качестве альтернативы, указанные один или более листов гомогенизированного растительного материала могут быть разрезаны на нити, как упомянуто выше. В таких вариантах осуществления генерирующий аэрозоль субстрат содержит множество нитей гомогенизированного растительного материала. Нити могут быть использованы для формирования заглушки. Обычно ширина таких нитей составляет приблизительно 5 миллиметров, или приблизительно 4 миллиметра, или приблизительно 3 миллиметра, или приблизительно 2 миллиметра или меньше. Длина нитей может составлять больше приблизительно 5 миллиметров, в частности от приблизительно 5 миллиметров до приблизительно 15 миллиметров, от приблизительно 8 миллиметров до приблизительно 12 миллиметров или приблизительно 12 миллиметров. Предпочтительно, нити имеют по существу одинаковую длину друг с другом.
Гомогенизированный растительный материал может содержать до приблизительно 95 процентов по весу частиц растений в пересчете на сухой вес. Предпочтительно, гомогенизированный растительный материал содержит до приблизительно 90 процентов по весу частиц растений, более предпочтительно до приблизительно 80 процентов по весу частиц растений, более предпочтительно до приблизительно 70 процентов по весу частиц растений, более предпочтительно до приблизительно 60 процентов по весу частиц растений, более предпочтительно до приблизительно 50 процентов по весу частиц растений в пересчете на сухой вес.
Например, гомогенизированный растительный материал может содержать от приблизительно 2,5 процента до приблизительно 95 процентов по весу частиц растений, или от приблизительно 5 процентов до приблизительно 90 процентов по весу частиц растений, или от приблизительно 10 процентов до приблизительно 80 процентов по весу частиц растений, или от приблизительно 15 процентов до приблизительно 70 процентов по весу частиц растений, или от приблизительно 20 процентов до приблизительно 60 процентов по весу частиц растений, или от приблизительно 30 процентов до приблизительно 50 процентов по весу частиц растений в пересчете на сухой вес.
В некоторых вариантах осуществления настоящего изобретения гомогенизированный растительный материал представляет собой гомогенизированный табачный материал, содержащий табачные частицы. Листы гомогенизированного табачного материала для использования в таких вариантах осуществления настоящего изобретения могут иметь содержание табака по меньшей мере приблизительно 40 процентов по весу в пересчете на сухой вес, более предпочтительно по меньшей мере приблизительно 50 процентов по весу в пересчете на сухой вес, более предпочтительно по меньшей мере приблизительно 70 процентов по весу в пересчете на сухой вес, и наиболее предпочтительно по меньшей мере приблизительно 90 процентов по весу в пересчете на сухой вес.
Применительно к настоящему изобретению термин «табачные частицы» описывает частицы любого растения рода Nicotiana. Термин «табачные частицы» охватывает измельченные или превращенные в порошок пластинки табачного листа, измельченные или превращенные в порошок стебли табачного листа, табачную пыль, табачную мелочь и другие побочные продукты табака в виде частиц, образующиеся во время обработки, перемещения и отгрузки табака. В предпочтительном варианте осуществления по существу все табачные частицы получены из пластинок табачного листа. В отличие от этого, изолированный никотин и соли никотина представляют собой соединения, полученные из табака, но не считающиеся табачными частицами для целей настоящего изобретения и не включенные в процентное содержание растительного материала в виде частиц.
Гомогенизированный растительный материал может дополнительно содержать одно или более веществ для образования аэрозоля. После испарения вещество для образования аэрозоля может переносить в аэрозоле другие испаренные соединения, выделившиеся из генерирующего аэрозоль субстрата при нагреве, такие как никотин и вкусоароматические вещества. Вещества для образования аэрозоля, подходящие для включения в гомогенизированный растительный материал, известны из уровня техники и включают в себя, без ограничения: многоатомные спирты, такие как триэтиленгликоль, пропиленгликоль, 1,3-бутандиол и глицерин; сложные эфиры многоатомных спиртов, такие как глицерин моно-, ди- или триацетат; и алифатические сложные эфиры моно-, ди- или поликарбоновых кислот, такие как диметилдодекандиоат и диметилтетрадекандиоат.
Гомогенизированный растительный материал может иметь содержание вещества для образования аэрозоля от приблизительно 5 процентов до приблизительно 30 процентов по весу в пересчете на сухой вес, например, от приблизительно 10 процентов до приблизительно 25 процентов по весу в пересчете на сухой вес или от приблизительно 15 процентов до приблизительно 20 процентов по весу в пересчете на сухой вес. Вещество для образования аэрозоля может служить в качестве увлажнителя в гомогенизированном растительном материале.
Как указано выше, стержень генерирующего аэрозоль субстрата может быть окружен оберткой. Обертка, окружающая стержень генерирующего аэрозоль субстрата, может представлять собой бумажную обертку или небумажную обертку. Бумажные обертки, подходящие для использования в конкретных вариантах осуществления настоящего изобретения, известны из уровня техники и включают, без ограничения: сигаретную бумагу различных видов и фицеллы фильтра. Небумажные обертки, подходящие для использования в конкретных вариантах осуществления настоящего изобретения, известны из уровня техники и включают, без ограничения, листы гомогенизированных табачных материалов.
Бумажная обертка может иметь граммаж по меньшей мере 15 г/м2, предпочтительно по меньшей мере 20 г/м2. Бумажная обертка может иметь граммаж, меньший или равный 35 г/м2, предпочтительно меньший или равный 30 г/м2. Бумажная обертка может иметь граммаж от 15 г/м2 до 35 г/м2, предпочтительно от 20 г/м2 до 30 г/м2. В предпочтительном варианте осуществления бумажная обертка может иметь граммаж 25 г/м2. Бумажная обертка может иметь толщину по меньшей мере 25 микрометров, предпочтительно по меньшей мере 30 микрометров, более предпочтительно по меньшей мере 35 микрометров. Бумажная обертка может иметь толщину, меньшую 55 микрометров или равную 55 микрометрам, предпочтительно меньшую 50 микрометров или равную 50 микрометрам, более предпочтительно меньшую 45 микрометров или равную 45 микрометрам. Бумажная обертка может иметь толщину от 25 микрометров до 55 микрометров, предпочтительно от 30 микрометров до 50 микрометров, более предпочтительно от 35 микрометров до 45 микрометров. В предпочтительном варианте осуществления бумажная обертка может иметь толщину 40 микрон.
В некоторых предпочтительных вариантах осуществления обертка может быть выполнена из слоистого материала, содержащего множество слоев. Предпочтительно, обертка выполнена из слоистого листа, содержащего алюминий. Использование слоистого листа, содержащего алюминий, обеспечивает преимущество, состоящее в предотвращении горения генерирующего аэрозоль субстрата в случае, если генерирующий аэрозоль субстрат будет поджигаться, а не нагреваться надлежащим образом.
Бумажный слой слоистого листа может иметь граммаж по меньшей мере 35 г/м2, предпочтительно по меньшей мере 40 г/м2. Бумажный слой слоистого листа может иметь граммаж, меньший или равный 55 г/м2, предпочтительно меньший или равный 50 г/м2. Бумажный слой слоистого листа может иметь граммаж от 35 г/м2 до 55 г/м2, предпочтительно от 40 г/м2 до 50 г/м2. В предпочтительном варианте осуществления бумажный слой слоистого листа может иметь граммаж 45 г/м2.
Бумажный слой слоистого листа может иметь толщину по меньшей мере 50 микрометров, предпочтительно по меньшей мере 55 микрометров, более предпочтительно по меньшей мере 60 микрометров. Бумажный слой слоистого листа может иметь толщину, меньшую 80 микрометров или равную 80 микрометрам, предпочтительно меньшую 75 микрометров или равную 75 микрометрам, более предпочтительно меньшую 70 микрометров или равную 70 микрометрам.
Бумажный слой слоистого листа может иметь толщину от 50 микрометров до 80 микрометров, предпочтительно от 55 микрометров до 75 микрометров, более предпочтительно от 60 микрометров до 70 микрометров. В предпочтительном варианте осуществления бумажный слой слоистого листа может иметь толщину 65 микрон.
Металлический слой слоистого листа может иметь граммаж по меньшей мере 12 г/м2, предпочтительно по меньшей мере 15 г/м2. Металлический слой слоистого листа может иметь граммаж, меньший или равный 25 г/м2, предпочтительно меньший или равный 20 г/м2. Металлический слой слоистого листа может иметь граммаж от 12 г/м2 до 25 г/м2, предпочтительно от 15 г/м2 до 20 г/м2. В предпочтительном варианте осуществления металлический слой слоистого листа может иметь граммаж 17 г/м2.
Металлический слой слоистого листа может иметь толщину по меньшей мере 2 микрометра, предпочтительно по меньшей мере 3 микрометра, более предпочтительно по меньшей мере 5 микрометров. Металлический слой слоистого листа может иметь толщину, меньшую 15 микрометров или равную 15 микрометрам, предпочтительно меньшую 12 микрометров или равную 12 микрометрам, более предпочтительно меньшую 10 микрометров или равную 10 микрометрам.
Металлический слой слоистого листа может иметь толщину от 2 микрометров до 15 микрометров, предпочтительно от 3 микрометров до 12 микрометров, более предпочтительно от 5 микрометров до 10 микрометров В предпочтительном варианте осуществления металлический слой слоистого листа может иметь толщину 6 микрон.
Обертка, охватывающая стержень подложки, генерирующей аэрозоль, может представлять собой обертку бумаги, содержащую PVOH (поливиниловый спирт) или кремний. Добавление поливинилового спирта или силикона обеспечивает возможность улучшения характеристик жирового барьера обертки.
Поливиниловый спирт или силикон могут быть нанесены на бумажный слой в качестве поверхностного покрытия, например, размещенного на внешней поверхности бумажного слоя обертки, окружающей стержень генерирующего аэрозоль субстрата. Поливиниловый спирт или силикон могут быть размещены на внешней поверхности бумажного слоя генерирующего аэрозоль изделия и образовывать на ней слой. Поливиниловый спирт или силикон могут быть размещены на внутренней поверхности бумажного слоя обертки. Поливиниловый спирт или силикон могут быть размещены на внутренней поверхности бумажного слоя генерирующего аэрозоль изделия и образовывать на ней слой. Поливиниловый спирт или силикон могут быть размещены на внутренней поверхности и внешней поверхности бумажного слоя обертки. Поливиниловый спирт или силикон могут быть размещены на внутренней поверхности и внешней поверхности бумажного слоя генерирующего аэрозоль изделия и образовывать на них слой.
Бумажная обертка, содержащая поливиниловый спирт или силикон, может иметь граммаж по меньшей мере 20 г/м2, предпочтительно по меньшей мере 25 г/м2, более предпочтительно по меньшей мере 30 г/м2. Бумажная обертка, содержащая поливиниловый спирт или силикон, может иметь граммаж, меньший или равный 50 г/м2, предпочтительно меньший или равный 45 г/м2, более предпочтительно меньший или равный 40 г/м2. Бумажная обертка, содержащая поливиниловый спирт или силикон, может иметь граммаж от 20 г/м2 до 50 г/м2, предпочтительно от 25 г/м2 до 45 г/м2, более предпочтительно от 30 г/м2 до 40 г/м2. В особо предпочтительных вариантах осуществления бумажная обертка, содержащая поливиниловый спирт или силикон, может иметь граммаж приблизительно 35 г/м2.
Бумажная обертка, содержащая поливиниловый спирт или силикон, может иметь толщину по меньшей мере 25 микрометров, предпочтительно по меньшей мере 30 микрометров, более предпочтительно по меньшей мере 35 микрометров. Бумажная обертка, содержащая поливиниловый спирт или силикон, может иметь толщину, меньшую 50 микрометров или равную 50 микрометрам, предпочтительно меньшую 45 микрометров или равную 45 микрометрам, более предпочтительно меньшую 40 микрометров или равную 40 микрометрам. Бумажная обертка, содержащая поливиниловый спирт или силикон, может иметь толщину от 25 микрометров до 50 микрометров, предпочтительно от 30 микрометров до 45 микрометров, более предпочтительно от 35 микрометров до 40 микрометров. В особо предпочтительных вариантах осуществления бумажная обертка, содержащая поливиниловый спирт или силикон, может иметь толщину 37 микрометров.
Окружение непрерывного стержня субстрата, генерирующего аэрозоль, оберткой, содержащей препятствующую воспламенению композицию, содержащую одно или более препятствующих воспламенению соединений; Термин «огнезащитные соединения» использован в настоящем документе для описания химических соединений, которые при добавлении к несущему субстрату, такому как бумажные или пластмассовые соединения, или при включении в него иным образом обеспечивают различные степени защиты от воспламенения субстрата. На практике огнезащитные соединения могут быть активированы в присутствии источника воспламенения и выполнены с возможностью предотвращения или замедления дальнейшего развития воспламенения с помощью множества различных физических и химических механизмов.
Огнезащитная композиция обычно может дополнительно содержать одно или более соединений, не являющихся огнезащитными, то есть одно или более соединений, таких как растворитель, вспомогательное вещество, наполнитель, которые не вносят активного вклада в обеспечение защиты субстрата от воспламенения, но используются для облегчения нанесения огнезащитного соединения или соединений на обертку и/или внутрь нее. Некоторые из не являющихся огнезащитными соединений огнезащитной композиции, такие как растворители, являются летучими и могут испаряться с обертки при высыхании после нанесения огнезащитной композиции на основной оберточный материал и/или внутрь него. Соответственно, хотя такие не являющиеся огнезащитными соединения образуют часть состава огнезащитной композиции, они могут в дальнейшем не присутствовать, или они могут быть обнаружены лишь в незначительных количествах в обертке генерирующего аэрозоль изделия.
Ряд подходящих огнезащитных соединений известны специалистам. В частности, известны и были раскрыты несколько огнезащитных соединений и составов, пригодных для обработки целлюлозных материалов, и они могут найти применение в изготовлении оберток для генерирующих аэрозоль изделий согласно настоящему изобретению.
Например, огнезащитная композиция содержит полимер и смешанную соль на основе по меньшей мере одной моно-, ди- и/или трикарбоновой кислоты, по меньшей мере одной полифосфорной, пирофосфорной и/или фосфорной кислоты, и гидроксид или соль щелочного или щелочноземельного металла, причем указанные по меньшей мере одна моно-, ди- и/или трикарбоновая кислота и гидроксид или соль образуют карбоксилат, а указанные по меньшей мере одна полифосфорная, пирофосфорная и/или фосфорная кислота и гидроксид или соль образуют фосфат. Предпочтительно, огнезащитная композиция может дополнительно содержит карбонат щелочного или щелочноземельного металла. В качестве альтернативы, огнезащитная композиция содержит целлюлозу, модифицированную по меньшей мере одной жирной кислотой с числом атомов углерода С10 или более, жирной кислотой таллового масла (tall oil fatty acid, TOFA), фосфорилированным льняным маслом, фосфорилированным ниже по ходу потока кукурузным маслом. Предпочтительно, выбирают по меньшей мере одну жирную кислоту с числом атомов углерода С10 или более из группы, состоящей из каприновой кислоты, миристиновой кислоты, пальмитиновой кислоты и их комбинаций.
В обертке, содержащей огнезащитную композицию, подходящую для использования в генерирующем аэрозоль изделии согласно настоящему изобретению, огнезащитная композиция может быть обеспечена на обработанном участке обертки. Это означает, что огнезащитная композиция нанесена на соответствующий участок основного материала обертки и/или внутрь него. Таким образом, на обработанном участке обертка имеет общий сухой граммаж больше, чем сухой граммаж основного материала обертки. Обработанный участок обертки может проходить в пределах по меньшей мере приблизительно 10 процентов площади внешней поверхности стержня генерирующего аэрозоль субстрата, окружаемого оберткой, предпочтительно в пределах по меньшей мере приблизительно 20 процентов площади внешней поверхности стержня генерирующего аэрозоль субстрата, окружаемого оберткой, более предпочтительно в пределах по меньшей мере приблизительно 40 процентов площади внешней поверхности стержня генерирующего аэрозоль субстрата, еще более предпочтительно в пределах по меньшей мере приблизительно 60 процентов площади внешней поверхности стержня генерирующего аэрозоль субстрата. Наиболее предпочтительно, обработанный участок обертки проходит в пределах по меньшей мере приблизительно 80 процентов площади внешней поверхности стержня генерирующего аэрозоль субстрата. В особо предпочтительных вариантах осуществления обработанный участок обертки проходит в пределах по меньшей мере приблизительно 90 или даже 95 процентов площади внешней поверхности стержня генерирующего аэрозоль субстрата. Наиболее предпочтительно, обработанный участок обертки проходит в пределах по существу всей площади внешней поверхности стержня генерирующего аэрозоль субстрата.
Обертка, содержащая огнезащитную композицию, может иметь граммаж по меньшей мере 20 г/м2, предпочтительно по меньшей мере 25 г/м2, более предпочтительно по меньшей мере 30 г/м2. Обертка, содержащая огнезащитную композицию, может иметь граммаж, меньший или равный 45 г/м2, предпочтительно меньший или равный 40 г/м2, более предпочтительно меньший или равный 35 г/м2. Обертка, содержащая огнезащитную композицию, может иметь граммаж от 20 г/м2 до 45 г/м2, предпочтительно от 25 г/м2 до 40 г/м2, более предпочтительно от 30 г/м2 до 35 г/м2. В некоторых предпочтительных вариантах осуществления обертка, содержащая огнезащитную композицию, может иметь граммаж 33 г/м2.
Обертка, содержащая огнезащитную композицию, может иметь толщину по меньшей мере 25 микрометров, предпочтительно по меньшей мере 30 микрометров, еще более предпочтительно 35 микрометров. Обертка, содержащая огнезащитную композицию, может иметь толщину, меньшую 50 микрометров или равную 50 микрометрам, предпочтительно меньшую 45 микрометров или равную 45 микрометрам, еще более предпочтительно меньшую 40 микрометров или равную 40 микрометрам. В некоторых вариантах осуществления обертка, содержащая огнезащитную композицию, может иметь толщину 37 микрометров.
Генерирующее аэрозоль изделие согласно настоящему раскрытию предпочтительно содержит расположенную выше по ходу потока секцию в месте, расположенном выше по ходу потока относительно стержня генерирующего аэрозоль субстрата. Расположенная выше по ходу потока секция предпочтительно расположена выше по ходу потока относительно стержня генерирующего аэрозоль субстрата в непосредственной близости к нему. Расположенная выше по ходу потока секция предпочтительно проходит между расположенным выше по ходу потока концом генерирующего аэрозоль изделия и стержнем генерирующего аэрозоль субстрата. Расположенная выше по ходу потока секция может содержать один или более расположенных выше по ходу потока элементов, которые расположены выше по ходу потока относительно стержня генерирующего аэрозоль субстрата. Такие один или более расположенных выше по ходу потока элементов описаны в настоящем раскрытии.
Генерирующие аэрозоль изделия по настоящему изобретению предпочтительно содержат расположенный выше по ходу потока элемент, который расположен выше по ходу потока относительно генерирующего аэрозоль субстрата смежно с ним. Расположенный выше по ходу потока элемент обеспечивает преимущество, состоящее в предотвращении непосредственного физического контакта с расположенным выше по ходу потока концом генерирующего аэрозоль субстрата. Например, если генерирующий аэрозоль субстрат содержит токоприемный элемент, то расположенный выше по ходу потока элемент обеспечивает возможность предотвращения непосредственного физического контакта с расположенным выше по ходу потока концом токоприемного элемента. Это способствует предотвращению смещения или деформации токоприемного элемента во время обработки или транспортировки генерирующего аэрозоль изделия. Это, в свою очередь, способствует сохранению формы и местоположения токоприемного элемента. Кроме того, наличие расположенного выше по ходу потока элемента способствует предотвращению любых потерь субстрата, что может быть полезно, например, в случае, если субстрат содержит растительный материал в виде частиц.
Если генерирующий аэрозоль субстрат содержит измельченный табак, такой как резаный табачный наполнитель, то расположенные выше по ходу потока секция или ее элемент обеспечивают возможность дополнительного содействия предотвращению потери рассыпных частиц табака из расположенного выше по ходу потока конца изделия.
Расположенная выше по ходу потока секция или ее расположенный выше по ходу потока элемент также дополнительно способны обеспечивать определенную степень защиты генерирующего аэрозоль субстрата во время хранения, поскольку они по меньшей мере до некоторой степени покрывают расположенный выше по ходу потока конец генерирующего аэрозоль субстрата, который в противном случае мог бы быть открыт.
Для генерирующих аэрозоль изделий, которые предназначены для вставки в полость генерирующего аэрозоль устройства таким образом, чтобы обеспечить возможность внешнего нагрева генерирующего аэрозоль субстрата внутри указанной полости, расположенная выше по ходу потока секция или ее расположенный выше по ходу потока элемент обеспечивают преимущество, состоящее в возможности содействия вставке расположенного выше по ходу потока конца изделия в указанную полость. Включение расположенного выше по ходу потока элемента обеспечивает возможность дополнительной защиты конца стержня генерирующего аэрозоль субстрата во время вставки изделия в указанную полость с тем, чтобы минимизировать риск повреждения субстрата.
Расположенная выше по ходу потока секция или ее расположенный выше по ходу потока элемент способны также придавать улучшенный внешний вид расположенному выше по ходу потока концу генерирующего аэрозоль изделия. Кроме того, при необходимости, расположенная выше по ходу потока секция или ее расположенный раньше потоку элемент могут быть использованы для предоставления информации о генерирующем аэрозоль изделии, такой как информация о бренде, вкусе/аромате, содержимом или сведения о генерирующем аэрозоль устройстве, для использования с которым предназначено изделие.
Расположенный выше по ходу потока элемент может представлять собой элемент в виде пористой заглушки. Предпочтительно, расположенный выше по ходу потока элемент имеет пористость по меньшей мере приблизительно 50 процентов в продольном направлении генерирующего аэрозоль изделия. Более предпочтительно, расположенный выше по ходу потока элемент имеет пористость от приблизительно 50 процентов до приблизительно 90 процентов в продольном направлении. Пористость расположенного выше по ходу потока элемента в продольном направлении определяется соотношением площади поперечного сечения материала, образующего расположенный выше по ходу потока элемент, и внутренней площади поперечного сечения генерирующего аэрозоль изделия в месте, где находится расположенный выше по ходу потока элемент.
Расположенный выше по ходу потока элемент может быть выполнен из пористого материала, или он может содержать множество отверстий. Это может быть достигнуто, например, путем лазерной перфорации. Предпочтительно, указанное множество отверстий равномерно распределены по поперечному сечению расположенного выше по ходу потока элемента.
В качестве преимущества, пористость или проницаемость расположенного выше по ходу потока элемента могут быть предусмотрены с целью обеспечения генерирующего аэрозоль изделия с конкретным общим сопротивлением затяжке (resistance to draw, RTD) без существенного влияния на фильтрацию, обеспечиваемую другими участками изделия.
Расположенный выше по ходу потока элемент может быть выполнен из воздухонепроницаемого материала. В таких вариантах осуществления генерирующее аэрозоль изделие может быть выполнено таким образом, чтобы воздух втекал в стержень генерирующего аэрозоль субстрата через подходящие вентиляционные средства, обеспеченные в обертке.
В некоторых предпочтительных вариантах осуществления настоящего изобретения может быть желательной минимизация сопротивления затяжке расположенного выше по ходу потока элемента. Например, это возможно в случае изделий, которые предназначены для вставки в полость генерирующего аэрозоль устройства таким образом, чтобы генерирующий аэрозоль субстрат нагревался снаружи, как описано в настоящем документе. Для таких изделий желательным является обеспечение изделия с как можно более низким сопротивлением затяжке с тем, чтобы основная часть ощущений потребителя, обусловленных сопротивлением затяжке, обеспечивалась генерирующим аэрозоль устройством, а не изделием.
Сопротивление затяжке расположенного выше по ходу потока элемента предпочтительно меньше приблизительно 10 миллиметров H2O или равно приблизительно 10 миллиметрам H20. Более предпочтительно, сопротивление затяжке расположенного выше по ходу потока элемента меньше приблизительно 5 миллиметров H2O или равно приблизительно 5 миллиметрам H[g2]2[/g2]O. Еще более предпочтительно, сопротивление затяжке расположенного выше по ходу потока элемента меньше приблизительно 2,5 миллиметра H2O или равно приблизительно 2,5 миллиметра H[g3]2[/g3]O. Еще более предпочтительно, сопротивление затяжке расположенного выше по ходу потока элемента меньше приблизительно 2 миллиметров H2O или равно приблизительно 2 миллиметрам H[g4]2[/g4]O.
Сопротивление затяжке расположенного выше по ходу потока элемента может составлять по меньшей мере 0,1 миллиметра H2O, или по меньшей мере приблизительно 0,25 миллиметра H2O, или по меньшей мере приблизительно 0,5 миллиметра H2O.
В некоторых вариантах осуществления сопротивление затяжке расположенного выше по ходу потока элемента составляет от приблизительно 0,1 миллиметра H2O до приблизительно 10 миллиметра H2O, предпочтительно от приблизительно 0,25 миллиметра H2O до приблизительно 10 миллиметров H2O, предпочтительно от приблизительно 0,5 миллиметра H2O до приблизительно 10 миллиметров H2O. В других вариантах осуществления сопротивление затяжке расположенного выше по ходу потока элемента составляет от приблизительно 0,1 миллиметра H2O до приблизительно 5 миллиметров H2O, предпочтительно от приблизительно 0,25 миллиметра H2O до приблизительно 5 миллиметров H2O, предпочтительно от приблизительно 0,5 миллиметра H2O до приблизительно 5 миллиметров H2O. В дополнительных вариантах осуществления сопротивление затяжке расположенного выше по ходу потока элемента составляет от приблизительно 0,1 миллиметра H2O до приблизительно 2,5 миллиметра H2O, предпочтительно от приблизительно 0,25 миллиметра H2O до приблизительно 2,5 миллиметра H2O, более предпочтительно от приблизительно 0,5 миллиметра H2O до приблизительно 2,5 миллиметров H2O. В дополнительных вариантах осуществления сопротивление затяжке расположенного выше по ходу потока элемента составляет от приблизительно 0,1 миллиметра H2O до приблизительно 2 миллиметров H2O, предпочтительно от приблизительно 0,25 миллиметра H2O до приблизительно 2 миллиметров H2O, более предпочтительно от приблизительно 0,5 миллиметра H2O до приблизительно 2 миллиметров H2O. В особо предпочтительном варианте осуществления сопротивление затяжке расположенного выше по ходу потока элемента составляет приблизительно 1 миллиметр H2O.
Предпочтительно, расположенный выше по ходу потока элемент имеет сопротивление затяжке меньше приблизительно 2 миллиметров H2O на миллиметр длины, более предпочтительно меньше приблизительно 1,5 миллиметра H2O на миллиметр длины, более предпочтительно меньше приблизительно 1 миллиметра H2O на миллиметр длины, более предпочтительно меньше приблизительно 0,5 миллиметра H2O на миллиметр длины, более предпочтительно меньше приблизительно 0,3 миллиметра H2O на миллиметр длины, более предпочтительно меньше приблизительно 0,2 миллиметра H2O на миллиметр длины.
Предпочтительно, общее сопротивление затяжке расположенной выше по ходу потока секции или ее расположенного выше по ходу потока элемента и стержня генерирующего аэрозоль субстрата меньше приблизительно 15 миллиметров H2O, более предпочтительно меньше приблизительно 12 миллиметров H2O, более предпочтительно меньше приблизительно 10 миллиметров H2O.
В особо предпочтительных вариантах осуществления расположенный выше по ходу потока элемент выполнен из полого трубчатого сегмента, образующего продольную полость, обеспечивающего свободный канал потока. В таких вариантах осуществления расположенный выше по ходу потока элемент обеспечивает возможность защиты для генерирующего аэрозоль субстрата, как описано выше, в то же время оказывая минимальное влияние на общее сопротивление затяжке (RTD) и фильтрующие свойства изделия.
Предпочтительно, диаметр продольной полости полого трубчатого сегмента, образующего расположенный выше по ходу потока элемент, составляет по меньшей мере приблизительно 4 миллиметра, более предпочтительно по меньшей мере приблизительно 4,5 миллиметра, более предпочтительно по меньшей мере приблизительно 5 миллиметров, и более предпочтительно по меньшей мере приблизительно 5,5 миллиметра. Предпочтительно, диаметр продольной полости максимизирован для минимизации сопротивления затяжке расположенной выше по ходу потока секции или ее расположенного выше по ходу потока элемента. Внутренний диаметр расположенного выше по ходу потока элемента может составлять приблизительно 5,1 мм.
Предпочтительно, толщина стенки полого трубчатого сегмента меньше приблизительно 2 миллиметров, более предпочтительно меньше приблизительно 1,5 миллиметра и более предпочтительно меньше приблизительно 1,25 миллиметра. Толщина стенки полого трубчатого сегмента, образующего расположенный выше по ходу потока элемент, может составлять приблизительно 1 мм.
Расположенный выше по ходу потока элемент расположенной выше по ходу потока секции может быть изготовлен из любого материала, подходящего для использования в генерирующем аэрозоль изделии. Расположенный выше по ходу потока элемент может быть изготовлен, например, из того же материала, что и используемый для одного из других компонентов генерирующего аэрозоль изделия, например мундштучного элемента, охлаждающего элемента или опорного элемента. Подходящие материалы для выполнения расположенного выше по ходу потока элемента включают в себя фильтрующие материалы, керамику, полимерный материал, ацетилцеллюлозу, картон, цеолит или генерирующий аэрозоль субстрат. Расположенный выше по ходу потока элемент может содержать заглушку из ацетилцеллюлозы. Расположенный выше по ходу потока элемент может содержать полую ацетатную трубку или картонную трубку.
Предпочтительно, расположенный выше по ходу потока элемент выполнен из термостойкого материала. Например, предпочтительно, расположенный выше по ходу потока элемент выполнен из материала, выдерживающего температуры до 350 градусов по Цельсию. Это гарантирует, что расположенный выше по ходу потока элемент не будет подвергаться неблагоприятному воздействию нагревательных средств для нагрева генерирующего аэрозоль субстрата.
Предпочтительно, расположенная выше по ходу потока секция или ее расположенный выше по ходу потока элемент имеют внешний диаметр, который приблизительно равен внешнему диаметру генерирующего аэрозоль изделия. Предпочтительно, внешний диаметр расположенной выше по ходу потока секции или ее расположенного выше по ходу потока элемента составляет от приблизительно 6 миллиметров до приблизительно 8 миллиметров, более предпочтительно от приблизительно 7 миллиметров до приблизительно 7,5 миллиметра. Предпочтительно, расположенная выше по ходу потока секция или расположенный выше по ходу потока элемент имеют внешний диаметр приблизительно 7,1 мм.
Предпочтительно, расположенная выше по ходу потока секция или расположенный выше по ходу потока элемент имеют длину от приблизительно 2 миллиметров до приблизительно 8 миллиметров, более предпочтительно от приблизительно 3 миллиметров до приблизительно 7 миллиметров, более предпочтительно от приблизительно 4 миллиметров до приблизительно 6 миллиметров. В особо предпочтительном варианте осуществления расположенная выше по ходу потока секция или расположенный выше по ходу потока элемент имеют длину приблизительно 5 миллиметров. В качестве преимущества обеспечена возможность варьирования длины расположенного выше по ходу потока элемента с целью обеспечения требуемой общей длины генерирующего аэрозоль изделия. Например, если требуется уменьшить длину одного из других компонентов генерирующего аэрозоль изделия, то длина расположенной выше по ходу потока секции или расположенного выше по ходу потока элемента может быть увеличена с целью сохранения общей длины изделия без изменений.
Кроме того, длина расположенной выше по ходу потока секции или ее расположенного выше по ходу потока элемента может быть использована для регулирования местоположения генерирующего аэрозоль изделия внутри полости генерирующего аэрозоль устройства для изделий, которые предназначены для внешнего нагрева. Это обеспечивает преимущество, состоящее в возможности оптимизации местоположения генерирующего аэрозоль субстрата внутри нагревательной полости, а также в возможности оптимизации местоположения любой вентиляции.
Расположенная выше по ходу потока секция предпочтительно окружена оберткой, такой как фицелла. Обертка, окружающая расположенную выше по ходу потока секцию, предпочтительно представляет собой жесткую фицеллу, например фицеллу, имеющую граммаж по меньшей мере приблизительно 80 грамм на квадратный метр (г/м2), или по меньшей мере приблизительно 100 г/м2, или по меньшей мере приблизительно 110 г/м2. Это придает конструктивную жесткость расположенной выше по ходу потока секции.
Расположенная выше по ходу потока секция предпочтительно соединена со стержнем генерирующего аэрозоль субстрата и, при необходимости, с по меньшей мере участком расположенной ниже по ходу потока секции посредством внешней обертки, описанной в настоящем документе.
Как упомянуто выше, генерирующее аэрозоль изделие согласно настоящему изобретению содержит расположенную ниже по ходу потока секцию, которая расположена ниже по ходу потока относительно стержня генерирующего аэрозоль субстрата. Расположенная ниже по ходу потока секция предпочтительно расположена ниже по ходу потока относительно стержня генерирующего аэрозоль субстрата непосредственно перед ним. Расположенная ниже по ходу потока секция генерирующего аэрозоль изделия предпочтительно проходит между стержнем генерирующего аэрозоль субстрата и расположенным ниже по ходу потока концом генерирующего аэрозоль изделия. Расположенная ниже по ходу потока секция может содержать один или более элементов, каждый из которых будет описан более подробно в настоящем раскрытии.
Длина расположенной ниже по ходу потока секции может составлять по меньшей мере приблизительно 20 мм. Длина расположенной ниже по ходу потока секции может составлять по меньшей мере приблизительно 24 мм. Длина расположенной ниже по ходу потока секции может составлять по меньшей мере приблизительно 26 мм.
Длина расположенной ниже по ходу потока секции может быть равна или меньше (другими словами, может быть не больше) приблизительно 36 мм. Длина расположенной ниже по ходу потока секции может быть равна или меньше приблизительно 32 мм. Длина расположенной ниже по ходу потока секции может быть равна или меньше приблизительно 30 мм.
Длина расположенной ниже по ходу потока секции может составлять от приблизительно 20 мм до приблизительно 36 мм. Длина расположенной ниже по ходу потока секции может составлять от приблизительно 24 мм до приблизительно 32 мм. Длина расположенной ниже по ходу потока секции может составлять от приблизительно 26 мм до приблизительно 30 мм.
Предпочтительно, расположенная ниже по ходу потока секция содержит полый трубчатый элемент. Предпочтительно, расположенная ниже по ходу потока секция содержит мундштучный элемент. В предпочтительных вариантах осуществления настоящего изобретения расположенная ниже по ходу потока секция содержит полый трубчатый элемент и мундштучный элемент или состоит из них, при этом полый трубчатый элемент расположен между стержнем генерирующего аэрозоль субстрата и мундштучным элементом.
В тех вариантах осуществления, в которых расположенная ниже по ходу потока секция содержит полый трубчатый элемент и мундштучный элемент, суммарная или общая длина полого трубчатого элемента и мундштучного элемента может составлять по меньшей мере приблизительно 20 мм. Другими словами, сумма длин полого трубчатого элемента и мундштучного элемента может составлять по меньшей мере приблизительно 20 мм. Общая длина полого трубчатого элемента и мундштучного элемента может составлять по меньшей мере приблизительно 24 мм. Общая длина полого трубчатого элемента и мундштучного элемента может составлять по меньшей мере приблизительно 26 мм.
Общая длина полого трубчатого элемента и мундштучного элемента может быть равна или меньше приблизительно 36 мм. Общая длина полого трубчатого элемента и мундштучного элемента может быть равна или меньше приблизительно 32 мм. Общая длина полого трубчатого элемента и мундштучного элемента может быть равна или меньше приблизительно 30 мм.
Общая длина полого трубчатого элемента и мундштучного элемента может составлять от приблизительно 20 мм до приблизительно 36 мм. Общая длина полого трубчатого элемента и мундштучного элемента может составлять от приблизительно 24 мм до приблизительно 32 мм. Общая длина полого трубчатого элемента и мундштучного элемента может составлять от приблизительно 26 мм до приблизительно 30 мм.
Предпочтительно, общая длина полого трубчатого элемента и мундштучного элемента может составлять приблизительно 28 мм.
В тех вариантах осуществления, в которых расположенная ниже по ходу потока секция состоит из полого трубчатого элемента и мундштучного элемента, длина расположенной ниже по ходу потока секции определяется общей длиной полого трубчатого элемента и мундштучного элемента.
Обеспечение сравнительно длинной расположенной ниже по ходу потока секции, которая может быть образована сравнительно длинной комбинацией полого трубчатого элемента и мундштучного элемента, обеспечивает, чтобы генерирующее аэрозоль изделие выступало на подходящую длину из генерирующего аэрозоль устройства при размещении в нем изделия. Такая подходящая длина выступания способствует легкой вставке изделия в устройство и извлечению из него, и она также обеспечивает надлежащую вставку расположенных выше по ходу потока участков изделия в устройство со сниженным риском повреждения, особенно во время вставки.
Соотношение между длиной расположенной ниже по ходу потока секции и общей длиной генерирующего аэрозоль изделия может быть меньше или равно приблизительно 0,80. Предпочтительно, соотношение между длиной расположенной ниже по ходу потока секции и общей длиной генерирующего аэрозоль изделия может быть меньше или равно приблизительно 0,75. Более предпочтительно, соотношение между длиной расположенной ниже по ходу потока секции и общей длиной генерирующего аэрозоль изделия может быть меньше или равно приблизительно 0,70. Еще более предпочтительно, соотношение между длиной расположенной ниже по ходу потока секции и общей длиной генерирующего аэрозоль изделия может быть меньше или равно приблизительно 0,65.
Соотношение между длиной расположенной ниже по ходу потока секции и общей длиной генерирующего аэрозоль изделия может составлять по меньшей мере приблизительно 0,30. Предпочтительно, соотношение между длиной расположенной ниже по ходу потока секции и общей длиной генерирующего аэрозоль изделия может составлять по меньшей мере приблизительно 0,40. Более предпочтительно, соотношение между длиной расположенной ниже по ходу потока секции и общей длиной генерирующего аэрозоль изделия может составлять по меньшей мере приблизительно 0,50. Еще более предпочтительно, соотношение между длиной расположенной ниже по ходу потока секции и общей длиной генерирующего аэрозоль изделия может составлять по меньшей мере приблизительно 0,60.
В некоторых вариантах осуществления соотношение между длиной расположенной выше по ходу потока секции и общей длиной генерирующего аэрозоль изделия составляет от приблизительно 0,30 до приблизительно 0,80, предпочтительно от приблизительно 0,40 до приблизительно 0,80, более предпочтительно от приблизительно 0,50 до приблизительно 0,80, еще более предпочтительно от приблизительно 0,60 до приблизительно 0,80. В других вариантах осуществления соотношение между длиной расположенной выше по ходу потока секции и общей длиной генерирующего аэрозоль изделия составляет от приблизительно 0,30 до приблизительно 0,75, предпочтительно от приблизительно 0,40 до приблизительно 0,75, более предпочтительно от приблизительно 0,50 до приблизительно 0,75, еще более предпочтительно от приблизительно 0,60 до приблизительно 0,75. В дополнительных вариантах осуществления соотношение между длиной расположенной выше по ходу потока секции и общей длиной генерирующего аэрозоль изделия составляет от приблизительно 0,30 до приблизительно 0,70, предпочтительно от приблизительно 0,40 до приблизительно 0,70, более предпочтительно от приблизительно 0,50 до приблизительно 0,70, еще более предпочтительно от приблизительно от 0,60 до приблизительно 0,70. Например, соотношение между длиной расположенной ниже по ходу потока секции и общей длиной генерирующего аэрозоль изделия может составлять от приблизительно 0,60 до 0,65, более предпочтительно соотношение между длиной расположенной ниже по ходу потока секции и общей длиной генерирующего аэрозоль изделия может составлять 0,62.
Соотношение между длиной расположенной ниже по ходу потока секции и длиной расположенной выше по ходу потока секции может быть меньше или равно приблизительно 18. Предпочтительно, соотношение между длиной расположенной ниже по ходу потока секции и длиной расположенной выше по ходу потока секции может быть меньше или равно приблизительно 12. Более предпочтительно, соотношение между длиной расположенной ниже по ходу потока секции и длиной расположенной выше по ходу потока секции может быть меньше или равно приблизительно 8. Еще более предпочтительно, соотношение между длиной расположенной ниже по ходу потока секции и длиной расположенной выше по ходу потока секции может быть меньше или равно приблизительно 6.
Соотношение между длиной расположенной ниже по ходу потока секции и длиной расположенной выше по ходу потока секции может составлять по меньшей мере приблизительно 2,5. Предпочтительно, соотношение между длиной расположенной ниже по ходу потока секции и длиной расположенной выше по ходу потока секции может составлять по меньшей мере приблизительно 3. Более предпочтительно, соотношение между длиной расположенной ниже по ходу потока секции и длиной расположенной выше по ходу потока секции может составлять по меньшей мере приблизительно 4. Еще более предпочтительно, соотношение между длиной расположенной ниже по ходу потока секции и длиной расположенной выше по ходу потока секции может составлять по меньшей мере приблизительно 5.
В некоторых вариантах соотношение между длиной расположенной ниже по ходу потока секции и длиной расположенной выше по ходу потока секции составляет от приблизительно 2,5 до приблизительно 18, предпочтительно от приблизительно 3 до приблизительно 18, более предпочтительно от приблизительно 4 до приблизительно 18, еще более предпочтительно от приблизительно 5 до приблизительно 18. В других вариантах осуществления соотношение между длиной расположенной ниже по ходу потока секции и длиной расположенной выше по ходу потока секции составляет от приблизительно 2,5 до приблизительно 12, предпочтительно от приблизительно 3 до приблизительно 12, более предпочтительно от приблизительно 4 до приблизительно 12, еще более предпочтительно от приблизительно 5 до приблизительно 12. В дополнительных вариантах осуществления соотношение между длиной расположенной ниже по ходу потока секции и длиной расположенной выше по ходу потока секции составляет от приблизительно 2,5 до приблизительно 8, предпочтительно от приблизительно 3 до приблизительно 8, более предпочтительно от приблизительно 4 до приблизительно 8, еще более предпочтительно от приблизительно 5 до приблизительно 8. Например, соотношение между длиной расположенной ниже по ходу потока секции и длиной расположенной выше по ходу потока секции может составлять приблизительно 6, еще более предпочтительно приблизительно 5,6.
Соотношение между длиной генерирующего аэрозоль элемента (другими словами, стержня генерирующего аэрозоль субстрата) и длиной расположенной ниже по ходу потока секции может быть меньше или равно приблизительно 0,80. Предпочтительно, соотношение между длиной генерирующего аэрозоль элемента и длиной расположенной ниже по ходу потока секции может быть меньше или равно приблизительно 0,70. Более предпочтительно, соотношение между длиной генерирующего аэрозоль элемента и длиной расположенной ниже по ходу потока секции может быть меньше или равно приблизительно 0,60. Еще более предпочтительно, соотношение между длиной генерирующего аэрозоль элемента и длиной расположенной ниже по ходу потока секции может быть меньше или равно приблизительно 0,50.
Соотношение между длиной генерирующего аэрозоль элемента и длиной расположенной ниже по ходу потока секции может составлять по меньшей мере приблизительно 0,20. Предпочтительно, соотношение между длиной генерирующего аэрозоль элемента и длиной расположенной ниже по ходу потока секции может составлять по меньшей мере приблизительно 0,25. Более предпочтительно, соотношение между длиной генерирующего аэрозоль элемента и длиной расположенной ниже по ходу потока секции может составлять по меньшей мере приблизительно 0,30. Еще более предпочтительно, соотношение между длиной генерирующего аэрозоль элемента и длиной расположенной ниже по ходу потока секции может составлять по меньшей мере приблизительно 0,40.
В некоторых вариантах осуществления соотношение между длиной генерирующего аэрозоль элемента и длиной расположенной ниже по ходу потока секции составляет от приблизительно 0,20 до приблизительно 0,80, предпочтительно от приблизительно 0,25 до приблизительно 0,80, более предпочтительно от приблизительно 0,30 до приблизительно 0,80, еще более предпочтительно от приблизительно 0,40 до приблизительно 0,80. В других вариантах осуществления соотношение между длиной генерирующего аэрозоль элемента и длиной расположенной ниже по ходу потока секции составляет от приблизительно 0,20 до приблизительно 0,70, предпочтительно от приблизительно 0,25 до приблизительно 0,70, более предпочтительно от приблизительно 0,30 до приблизительно 0,70, еще более предпочтительно от приблизительно 0,40 до приблизительно 0,70. В дополнительных вариантах осуществления соотношение между длиной генерирующего аэрозоль элемента и длиной расположенной ниже по ходу потока секции составляет от приблизительно 0,20 до приблизительно 0,60, предпочтительно от приблизительно 0,25 до приблизительно 0,60, более предпочтительно от приблизительно 0,30 до приблизительно 0,60, еще более предпочтительно от приблизительно 0,40 до приблизительно 0,60. Например, соотношение между длиной генерирующего аэрозоль элемента и длиной расположенной ниже по ходу потока секции может составлять приблизительно 0,5, более предпочтительно приблизительно 0,45, еще более предпочтительно приблизительно 0,43.
Расположенная ниже по ходу потока секция генерирующего аэрозоль изделия согласно настоящему изобретению может содержать полый трубчатый элемент. Полый трубчатый элемент предпочтительно обеспечен ниже по ходу потока относительно стержня генерирующего аэрозоль субстрата. Полый трубчатый элемент может быть обеспечен ниже по ходу потока относительно стержня образующего аэрозоль субстрата в непосредственной близости к нему. Другими словами, полый трубчатый элемент может примыкать к расположенному ниже по ходу потока концу стержня генерирующего аэрозоль субстрата. Полый трубчатый элемент может образовывать расположенный выше по ходу потока конец расположенной ниже по ходу потока секции генерирующего аэрозоль изделия. Полый трубчатый элемент может быть расположен между стержнем генерирующего аэрозоль субстрата и расположенным ниже по ходу потока концом генерирующего аэрозоль изделия. Расположенный ниже по ходу потока конец генерирующего аэрозоль изделия может совпадать с расположенным ниже по ходу потока концом расположенной ниже по ходу потока секции. Предпочтительно, расположенная ниже по ходу потока секция генерирующего аэрозоль изделия содержит один полый трубчатый элемент. Другими словами, расположенная ниже по ходу потока секция генерирующего аэрозоль изделия может содержать только один полый трубчатый элемент.
Используемый по всему настоящему раскрытию термин «полый трубчатый сегмент» или «полый трубчатый элемент» обозначает в целом удлиненный элемент, образующий просвет или проход для потока воздуха вдоль его продольной оси. В частности, термин «трубчатый» будет далее использоваться применительно к трубчатому элементу, имеющему по существу цилиндрическое поперечное сечение и образующему по меньшей мере один канал для потока воздуха, обеспечивающий непрерывное сообщение по текучей среде между расположенным выше по ходу потока концом трубчатого элемента и расположенным ниже по ходу потока концом трубчатого элемента. Однако следует понимать, что возможны альтернативные геометрические формы (например, альтернативные формы поперечного сечения) трубчатого сегмента. Полый трубчатый сегмент или элемент представляет собой отдельный дискретный элемент генерирующего аэрозоль изделия, который имеет определенные длину и толщину.
Внутренний объем, образованный полым трубчатым элементом, может составлять по меньшей мере приблизительно 100 кубических миллиметров. Другими словами, объем полости или просвета, образуемого полым трубчатым элементом, может составлять по меньшей мере приблизительно 100 кубических миллиметров. Предпочтительно, внутренний объем, образованный полым трубчатым элементом, может составлять по меньшей мере приблизительно 300 кубических миллиметров. Внутренний объем, образованный полым трубчатым элементом, может составлять по меньшей мере приблизительно 700 кубических миллиметров.
Внутренний объем, образованный полым трубчатым элементом, может быть меньше 1200 кубических миллиметров или равен приблизительно 1200 кубическим миллиметрам. Предпочтительно, внутренний объем, образованный полым трубчатым элементом, может быть меньше 1000 кубических миллиметров или равен приблизительно 1000 кубическим миллиметрам. Внутренний объем, образованный полым трубчатым элементом, может быть меньше 900 кубических миллиметров или равен приблизительно 900 кубическим миллиметрам.
Внутренний объем, образованный полым трубчатым элементом, может составлять от приблизительно 100 до приблизительно 1200 кубических миллиметров. Предпочтительно, внутренний объем, образованный полым трубчатым элементом, может составлять от приблизительно 300 до приблизительно 1000 кубических миллиметров. Внутренний объем, образованный полым трубчатым элементом, может составлять от приблизительно 700 до приблизительно 900 кубических миллиметров.
В контексте настоящего изобретения полый трубчатый сегмент обеспечивает свободный канал для потока. Это означает, что полый трубчатый сегмент обеспечивает несущественный уровень сопротивления затяжке (RTD). Термин «несущественный уровень сопротивления затяжке» использован для описания сопротивления затяжке меньше 1 мм H2O на 10 миллиметров длины полого трубчатого сегмента или полого трубчатого элемента, предпочтительно меньше 0,4 мм H2O на 10 миллиметров длины полого трубчатого сегмента или полого трубчатого элемента, более предпочтительно меньше 0,1 мм H2O на 10 миллиметров длины полого трубчатого сегмента или полого трубчатого элемента.
Сопротивление затяжке полого трубчатого элемента предпочтительно меньше приблизительно 10 миллиметров H2O или равно приблизительно 10 миллиметрам H20. Более предпочтительно, сопротивление затяжке полого трубчатого элемента меньше приблизительно 5 миллиметров H2O или равно приблизительно 5 миллиметрам H[g2]2[/g2]O. Еще более предпочтительно, сопротивление затяжке полого трубчатого элемента меньше или равно приблизительно 2,5 миллиметра H2O. Еще более предпочтительно, сопротивление затяжке полого трубчатого элемента меньше приблизительно 2 миллиметров H2O или равно приблизительно 2 миллиметрам H[g4]2[/g4]O. Еще более предпочтительно, сопротивление затяжке полого трубчатого элемента меньше приблизительно 1 миллиметра H2O или равно приблизительно 1 миллиметру H[g5]2[/g5]O.
Сопротивление затяжке полого трубчатого элемента может составлять по меньшей мере приблизительно 0 миллиметров H2O, или по меньшей мере приблизительно 0,25 миллиметра H2O, или по меньшей мере приблизительно 0,5 миллиметра H2O, или по меньшей мере приблизительно 1 миллиметр H2O.
В некоторых вариантах осуществления сопротивление затяжке полого трубчатого элемента составляет от 0 миллиметров H2O до приблизительно 10 миллиметров H2O, предпочтительно от приблизительно 0.25 миллиметра H2O до приблизительно 10 миллиметров H2O, предпочтительно от приблизительно 0.5 миллиметра H2O до приблизительно 10 миллиметров H2O. В других вариантах осуществления сопротивление затяжке полого трубчатого элемента составляет от приблизительно 0 миллиметров H2O до приблизительно 5 миллиметров H2O, предпочтительно от приблизительно 0,25 миллиметра H2O до приблизительно 5 миллиметров H2O, предпочтительно от приблизительно 0,5 миллиметра H2O до приблизительно 5 миллиметров H2O. В других вариантах осуществления сопротивление затяжке полого трубчатого элемента составляет от приблизительно 1 миллиметра H2O до приблизительно 5 миллиметров H2O В дополнительных вариантах осуществления сопротивление затяжке полого трубчатого элемента составляет от приблизительно 0 миллиметров H2O до приблизительно 2,5 миллиметра H2O, предпочтительно от приблизительно 0,25 миллиметра H2O до приблизительно 2,5 миллиметра H2O, более предпочтительно от приблизительно 0,5 миллиметра H2O до приблизительно 2,5 миллиметра H2O. В дополнительных вариантах осуществления сопротивление затяжке полого трубчатого элемента составляет от приблизительно 0 миллиметров H2O до приблизительно 2 миллиметров H2O, предпочтительно от приблизительно 0,25 миллиметра H2O до приблизительно 2 миллиметров H2O, более предпочтительно от приблизительно 0,5 миллиметра H2O до приблизительно 2 миллиметров H2O. В особо предпочтительном варианте осуществления сопротивление затяжке полого трубчатого элемента составляет приблизительно 0 миллиметров H2O.
В генерирующих аэрозоль изделиях согласно настоящему изобретению общее сопротивление затяжке изделия зависит по существу от сопротивления затяжке стержня, и необязательно, от сопротивления затяжке мундштучного и/или расположенного выше по ходу потока элементов. Это связано с тем, что полый трубчатый сегмент является по существу пустым, и таким образом он по существу вносит лишь незначительный вклад в общее сопротивление затяжке генерирующего аэрозоль изделия.
Следовательно, канал для потока должен быть свободен от любых компонентов, которые могут создавать препятствия для потока воздуха в продольном направлении. Предпочтительно, канал для потока является по существу пустым.
В настоящем описании «полый трубчатый сегмент» или «полый трубчатый элемент» также могут быть названы «полой трубкой» или «полым сегментом в виде трубки».
Полый трубчатый элемент может содержать один или более полых трубчатых сегментов. Предпочтительно, полый трубчатый элемент состоит из одного (единственного) полого трубчатого сегмента. Предпочтительно, полый трубчатый элемент состоит из непрерывного полого трубчатого сегмента. Полый трубчатый сегмент может содержать любой из признаков, описанных в настоящем раскрытии в отношении полого трубчатого элемента.
Как будет описано более подробно в настоящем раскрытии, генерирующее аэрозоль изделие может содержать зону вентиляции в месте вдоль расположенной ниже по ходу потока секции. Более конкретно, генерирующее аэрозоль изделие может содержать зону вентиляции в месте вдоль полого трубчатого элемента. Такая или любая другая зона вентиляции может проходить через периферийную стенку полого трубчатого элемента. Таким образом обеспечено сообщение по текучей среде между каналом для потока, образованным внутри полого трубчатого элемента, и внешней средой. Зона вентиляции дополнительно описана в рамках настоящего раскрытия.
Длина полого трубчатого элемента может составлять приблизительно 15 мм. Длина полого трубчатого элемента может составлять приблизительно 17 мм. Длина полого трубчатого элемента может составлять приблизительно 19 мм.
Длина полого трубчатого элемента может быть меньше или равна приблизительно 30 мм. Длина полого трубчатого элемента может быть меньше или равна приблизительно 25 мм. Длина полого трубчатого элемента может быть меньше или равна приблизительно 23 мм.
Длина полого трубчатого элемента может составлять от приблизительно 15 мм до 30 мм. Длина полого трубчатого элемента может составлять от приблизительно 17 мм до 25 мм. Длина полого трубчатого элемента может составлять от приблизительно 19 мм до 23 мм.
Предпочтительно, длина полого трубчатого элемента может составлять приблизительно 21 мм.
Сравнительно длинный полый трубчатый элемент обеспечивает и образует сравнительно длинную внутреннюю полость внутри генерирующего аэрозоль изделия и ниже по ходу потока относительно стержня генерирующего аэрозоль субстрата. Как рассмотрено в настоящем раскрытии, обеспечение пустой полости ниже по ходу потока (предпочтительно, в непосредственной близости ниже по ходу потока) относительно генерирующего аэрозоль субстрата улучшает нуклеацию аэрозольных частиц, генерируемых субстратом. Обеспечение сравнительно длинной полости обеспечивает максимальные выгоды для нуклеации, таким образом улучшая генерирование и охлаждение аэрозоля.
Соотношение между длиной генерирующего аэрозоль элемента (другими словами, стержня генерирующего аэрозоль субстрата) и длиной полого трубчатого элемента может быть меньше или равно приблизительно 1,25. Предпочтительно, соотношение между длиной генерирующего аэрозоль элемента и длиной полого трубчатого элемента может быть меньше или равно приблизительно 1. Более предпочтительно, соотношение между длиной генерирующего аэрозоль элемента и длиной полого трубчатого элемента может быть меньше или равно приблизительно 0,75. Еще более предпочтительно, соотношение между длиной генерирующего аэрозоль элемента и длиной полого трубчатого элемента может быть меньше или равно приблизительно 0,60.
Соотношение между длиной генерирующего аэрозоль элемента и длиной полого трубчатого элемента может составлять по меньшей мере приблизительно 0,25. Предпочтительно, соотношение между длиной генерирующего аэрозоль элемента и длиной полого трубчатого элемента может составлять по меньшей мере приблизительно 0,30. Более предпочтительно, соотношение между длиной генерирующего аэрозоль элемента и длиной полого трубчатого элемента может составлять по меньшей мере приблизительно 0,40. Еще более предпочтительно, соотношение между длиной генерирующего аэрозоль элемента и длиной полого трубчатого элемента может составлять по меньшей мере приблизительно 0,50.
В некоторых вариантах осуществления соотношение между длиной генерирующего аэрозоль элемента и длиной полого трубчатого элемента составляет от приблизительно 0,25 до приблизительно 1,25, предпочтительно от приблизительно 0,30 до приблизительно 1,25, более предпочтительно от приблизительно 0,40 до приблизительно 1,25, еще более предпочтительно от приблизительно 0,50 до приблизительно 1,25. В других вариантах осуществления соотношение между длиной генерирующего аэрозоль элемента и длиной полого трубчатого элемента составляет от приблизительно 0,25 до приблизительно 1, предпочтительно от приблизительно 0,30 до приблизительно 1, более предпочтительно от приблизительно 0,40 до приблизительно 1, еще более предпочтительно от приблизительно 0,50 до приблизительно 1. В дополнительных вариантах осуществления соотношение между длиной генерирующего аэрозоль элемента и длиной полого трубчатого элемента составляет от приблизительно 0,25 до приблизительно 0,75, предпочтительно от приблизительно 0,30 до приблизительно 0,75, более предпочтительно от приблизительно 0,40 до приблизительно 0,75, еще более предпочтительно от приблизительно 0,50 до приблизительно 0,75. Например, соотношение между длиной генерирующего аэрозоль элемента и длиной полого трубчатого элемента может составлять приблизительно 0,6, более предпочтительно приблизительно 0,57.
Соотношение между длиной полого трубчатого элемента и длиной расположенной ниже по ходу потока секции может быть меньше или равно приблизительно 1. Предпочтительно, соотношение между длиной полого трубчатого элемента и длиной расположенной ниже по ходу потока секции может быть меньше или равно приблизительно 0,90. Более предпочтительно, соотношение между длиной полого трубчатого элемента и длиной расположенной ниже по ходу потока секции может быть меньше или равно приблизительно 0,85. Еще более предпочтительно, соотношение между длиной полого трубчатого элемента и длиной расположенной ниже по ходу потока секции может быть меньше или равно приблизительно 0,80.
Соотношение между длиной полого трубчатого элемента и длиной расположенной ниже по ходу потока секции может составлять по меньшей мере приблизительно 0,35. Предпочтительно, соотношение между длиной полого трубчатого элемента и длиной расположенной ниже по ходу потока секции может составлять по меньшей мере приблизительно 0,45. Более предпочтительно, соотношение между длиной полого трубчатого элемента и длиной расположенной ниже по ходу потока секции может составлять по меньшей мере приблизительно 0,50. Еще более предпочтительно, соотношение между длиной полого трубчатого элемента и длиной расположенной ниже по ходу потока секции может составлять по меньшей мере приблизительно 0,60.
В некоторых вариантах осуществления соотношение между длиной полого трубчатого элемента и длиной расположенной ниже по ходу потока секции составляет от приблизительно 0,35 до приблизительно 1, предпочтительно от приблизительно 0,45 до приблизительно 1, более предпочтительно от приблизительно 0,50 до приблизительно 1, еще более предпочтительно от приблизительно 0,60 до приблизительно 1. В других вариантах осуществления соотношение между длиной полого трубчатого элемента и длиной расположенной ниже по ходу потока секции составляет от приблизительно 0,35 до приблизительно 0,90, предпочтительно от приблизительно 0,45 до приблизительно 0,90, более предпочтительно от приблизительно 0,50 до приблизительно 0,90, еще более предпочтительно от приблизительно 0,60 до приблизительно 0,90. В дополнительных вариантах осуществления соотношение между длиной полого трубчатого элемента и длиной расположенной ниже по ходу потока секции составляет от приблизительно 0,35 до приблизительно 0,85, предпочтительно от приблизительно 0,45 до приблизительно 0,85, более предпочтительно от приблизительно 0,50 до приблизительно 0,85, еще более предпочтительно от приблизительно 0,60 до приблизительно 0,85. Например, соотношение между длиной полого трубчатого элемента и длиной расположенной ниже по ходу потока секции может предпочтительно составлять приблизительно 0,75.
Соотношение между длиной полого трубчатого элемента и общей длиной генерирующего аэрозоль изделия может быть меньше или равно 0,80. Предпочтительно, соотношение между длиной полого трубчатого элемента и общей длиной генерирующего аэрозоль изделия может быть меньше или равно приблизительно 0,70. Более предпочтительно, соотношение между длиной полого трубчатого элемента и общей длиной генерирующего аэрозоль изделия может быть меньше или равно приблизительно 0,60. Еще более предпочтительно, соотношение между длиной полого трубчатого элемента и общей длиной генерирующего аэрозоль изделия может быть меньше или равно приблизительно 0,50.
Соотношение между длиной полого трубчатого элемента и общей длиной генерирующего аэрозоль изделия может составлять по меньшей мере приблизительно 0,25. Предпочтительно, соотношение между длиной полого трубчатого элемента и общей длиной генерирующего аэрозоль изделия может составлять по меньшей мере приблизительно 0,30. Более предпочтительно, соотношение между длиной полого трубчатого элемента и общей длиной генерирующего аэрозоль изделия может составлять по меньшей мере приблизительно 0,40. Еще более предпочтительно, соотношение между длиной полого трубчатого элемента и общей длиной генерирующего аэрозоль изделия может составлять по меньшей мере приблизительно 0,45.
В некоторых вариантах осуществления соотношение между длиной полого трубчатого элемента и общей длиной генерирующего аэрозоль изделия составляет от приблизительно 0,25 до приблизительно 0,80, предпочтительно от приблизительно 0,30 до приблизительно 0,80, более предпочтительно от приблизительно 0,40 до приблизительно 0,80, еще более предпочтительно от приблизительно 0,45 до приблизительно 0,80. В других вариантах осуществления соотношение между длиной полого трубчатого элемента и общей длиной генерирующего аэрозоль изделия составляет от приблизительно 0,25 до приблизительно 0,70, предпочтительно от приблизительно 0,30 до приблизительно 0,70, более предпочтительно от приблизительно 0,40 до приблизительно 0,70, еще более предпочтительно от приблизительно 0,45 до приблизительно 0,70. В дополнительных вариантах осуществления соотношение между длиной полого трубчатого элемента и общей длиной генерирующего аэрозоль изделия составляет от приблизительно 0,25 до приблизительно 0,60, предпочтительно от приблизительно 0,30 до приблизительно 0,60, более предпочтительно от приблизительно 0,40 до приблизительно 0,60, еще более предпочтительно от приблизительно 0,45 до приблизительно 0,60. Например, соотношение между длиной полого трубчатого элемента и общей длиной генерирующего аэрозоль изделия может составлять приблизительно 0,5, более предпочтительно приблизительно 0,47.
Обеспечение расположенной ниже по ходу потока секции или полого трубчатого элемента с указанными выше соотношениями обеспечивает максимальные преимущества для охлаждения и генерирования аэрозоля при использовании сравнительно длинного полого трубчатого элемента, одновременно с этим обеспечивая достаточную степень фильтрации для генерирующего аэрозоль изделия, которое выполнено с возможностью нагрева, а не сжигания. Кроме того, обеспечение более длинного полого трубчатого элемента обеспечивает преимущество, состоящее в возможности снижения эффективного сопротивления затяжке расположенной ниже по ходу потока секции генерирующего аэрозоль изделия, которое будет определяться, главным образом, сопротивлением затяжке мундштучного фильтрующего элемента.
Толщина периферийной стенки (другими словами, толщина стенки) полого трубчатого элемента может составлять по меньшей мере приблизительно 100 микрометров. Толщина стенки полого трубчатого элемента может составлять по меньшей мере приблизительно 150 микрометров. Предпочтительно, толщина стенки полого трубчатого элемента может составлять по меньшей мере приблизительно 200 микрометров, предпочтительно по меньшей мере приблизительно 250 микрометров и еще более предпочтительно по меньшей мере приблизительно 500 микрометров (или 0,5 мм).
Толщина стенки полого трубчатого элемента может быть меньше приблизительно 2 миллиметров или равна приблизительно 2 миллиметрам, предпочтительно меньше или равна приблизительно 1,5 миллиметра и еще более предпочтительно меньше или равна приблизительно 1,25 мм. Толщина стенки полого трубчатого элемента может быть меньше приблизительно 1 миллиметра или равна приблизительно 1 миллиметру. Толщина стенки полого трубчатого элемента может быть меньше приблизительно 500 микрометров или равна приблизительно 500 микрометрам.
Толщина стенки полого трубчатого элемента может составлять от приблизительно 100 микрометров до приблизительно 2 миллиметров, предпочтительно от приблизительно 150 микрометров до приблизительно 1,5 миллиметра, еще более предпочтительно от приблизительно 200 микрометров до приблизительно 1,25 миллиметра.
Толщина стенки полого трубчатого элемента предпочтительно может составлять приблизительно 250 микрометров (приблизительно 0,25 мм).
В то же время сохранение сравнительно небольшой толщины периферийной стенки полого трубчатого элемента обеспечивает эффективную максимизацию общего внутреннего объема полого трубчатого элемента, который сделан доступным для того, чтобы начался процесс нуклеации аэрозоля сразу же после выхода компонентов аэрозоля из стержня генерирующего аэрозоль субстрата, и площади поверхности поперечного сечения полого трубчатого элемента, одновременно с этим обеспечивая необходимую конструктивную прочность полого трубчатого элемента для предотвращения сжатия генерирующего аэрозоль изделия, а также для обеспечения некоторой опоры для стержня генерирующего аэрозоль субстрата, и минимизируя сопротивление затяжке полого трубчатого элемента. Понятно, что увеличение значений площади поверхности поперечного сечения полости полого трубчатого элемента связано с уменьшением скорости потока аэрозоля, проходящего вдоль генерирующего аэрозоль изделия, что, как ожидается, также будет способствовать нуклеации аэрозоля. Кроме того, представляется вероятным, что благодаря использованию полого трубчатого элемента, имеющего сравнительно малую толщину, обеспечивается возможность по существу предотвращения диффузии вентиляционного воздуха перед его контактом и смешением с потоком аэрозоля, что, очевидно, дополнительно способствует явлению нуклеации. На практике, благодаря обеспечению охлаждения потока испаренных соединений с более управляемой локализацией, обеспечивается возможность усиления влияния охлаждения на образование новых частиц аэрозоля.
Полый трубчатый элемент предпочтительно имеет внешний диаметр, который приблизительно равен внешнему диаметру стержня генерирующего аэрозоль субстрата и внешнему диаметру генерирующего аэрозоль изделия.
Полый трубчатый элемент может иметь внешний диаметр от 5 миллиметров до 12 миллиметров, например от 5 миллиметров до 10 миллиметров или от 6 миллиметров до 8 миллиметров. В предпочтительном варианте осуществления полый трубчатый элемент имеет внешний диаметр 7,2 миллиметра плюс-минус 10 процентов.
Полый трубчатый элемент может иметь внутренний диаметр. Предпочтительно, полый трубчатый элемент может иметь постоянный внутренний диаметр по длине полого трубчатого элемента. Однако внутренний диаметр полого трубчатого элемента может варьироваться по длине полого трубчатого элемента.
Полый трубчатый элемент может иметь внутренний диаметр по меньшей мере приблизительно 2 миллиметра. Например, полый трубчатый элемент может иметь внутренний диаметр по меньшей мере приблизительно 4 миллиметра, по меньшей мере приблизительно 5 миллиметров или по меньшей мере приблизительно 7 миллиметров.
Обеспечение полого трубчатого элемента, имеющего внутренний диаметр, указанный выше, обеспечивает преимущество, состоящее в придании достаточной жесткости и прочности полому трубчатому элементу.
Полый трубчатый элемент может иметь внутренний диаметр не больше приблизительно 10 миллиметров. Например, полый трубчатый элемент может иметь внутренний диаметр не больше приблизительно 9 миллиметров, не больше приблизительно 8 миллиметров или не больше приблизительно 7,5 миллиметра.
Обеспечение полого трубчатого элемента, имеющего внутренний диаметр, указанный выше, обеспечивает преимущество, состоящее в возможности снижения сопротивления затяжке полого трубчатого элемента.
Полый трубчатый элемент может иметь внутренний диаметр от приблизительно 2 миллиметров до приблизительно 10 миллиметров, от приблизительно 4 миллиметров до приблизительно 9 миллиметров, от приблизительно 5 миллиметра до приблизительно 8 миллиметров или от приблизительно 6 миллиметров до приблизительно 7,5 миллиметра.
Полый трубчатый элемент может иметь внешний диаметр приблизительно 7,1 или 7,2 мм. Полый трубчатый элемент может иметь внутренний диаметр приблизительно 6,7 миллиметра.
Соотношение между внутренним диаметром полого трубчатого элемента и внешним диаметром полого трубчатого элемента может составлять по меньшей мере приблизительно 0,8. Например, соотношение между внутренним диаметром полого трубчатого элемента и внешним диаметром полого трубчатого элемента может составлять по меньшей мере приблизительно 0,85, по меньшей мере приблизительно 0,9 или по меньшей мере приблизительно 0,95.
Соотношение между внутренним диаметром полого трубчатого элемента и внешним диаметром полого трубчатого элемента может составлять не больше приблизительно 0,99. Например, соотношение между внутренним диаметром полого трубчатого элемента и внешним диаметром полого трубчатого элемента может составлять не больше приблизительно 0,98.
Соотношение между внутренним диаметром полого трубчатого элемента и внешним диаметром полого трубчатого элемента может составлять приблизительно 0,97.
Обеспечение сравнительно большого внутреннего диаметра обеспечивает преимущество, состоящее в возможности снижения сопротивления затяжке полого трубчатого элемента и улучшения охлаждения и нуклеации аэрозольных частиц.
Просвет или полость полого трубчатого элемента могут иметь любую форму поперечного сечения. Просвет полого трубчатого элемента может иметь круглую форму поперечного сечения.
Полый трубчатый элемент может содержать материал на основе бумаги. Полый трубчатый элемент может содержать по меньшей мере один слой бумаги. Бумага может быть очень жесткой. Бумага может представлять собой гофрированную бумагу, такую как гофрированная термостойкая бумага или гофрированная пергаментная бумага.
Предпочтительно, полый трубчатый элемент может содержать картон. Полый трубчатый элемент может представлять собой картонную трубку. Полый трубчатый элемент может быть выполнен из картона. В качестве преимущества, картон представляет собой экономичный материал, который обеспечивает баланс между деформируемостью для обеспечения простоты вставки изделия в генерирующее аэрозоль устройство, и достаточной жесткостью для обеспечения надлежащего контакта изделия с внутренней частью устройства. Следовательно, картонная трубка способна обеспечивать надлежащее сопротивление деформации или сжатию во время использования.
Полый трубчатый элемент может представлять собой бумажную трубку. Полый трубчатый элемент может представлять собой трубку, выполненную из спирально намотанной бумаги. Полый трубчатый элемент может быть выполнен из множества слоев бумаги. Бумага может иметь граммаж по меньшей мере приблизительно 50 грамм на квадратный метр, по меньшей мере приблизительно 60 грамм на квадратный метр, по меньшей мере приблизительно 70 грамм на квадратный метр или по меньшей мере приблизительно 90 грамм на квадратный метр.
Полый трубчатый опорный элемент может содержать полимерный материал. Например, полый трубчатый элемент может содержать полимерную пленку. Полимерная пленка может содержать целлюлозную пленку. Полый трубчатый элемент может содержать волокна полиэтилена низкой плотности (LDPE) или полигидроксиалканоата (PHA). Полый трубчатый элемент может содержать ацетилцеллюлозный жгут.
Если полый трубчатый элемент содержит ацетилцеллюлозный жгут, то этот ацетилцеллюлозный жгут может иметь весовой номер элементарного волокна в денье от приблизительно 2 до приблизительно 4 и общий весовой номер в денье от приблизительно 25 до приблизительно 40.
В некоторых вариантах осуществления генерирующее аэрозоль изделие согласно настоящему изобретению может содержать зону вентиляции в месте вдоль расположенной ниже по ходу потока секции. Более конкретно, в тех вариантах осуществления, в которых расположенная ниже по ходу потока секция содержит полый трубчатый элемент, зона вентиляции может быть обеспечена в месте вдоль полого трубчатого элемента.
Таким образом, ниже по ходу потока относительно стержня генерирующего аэрозоль субстрата обеспечена вентилируемая полость. Это обеспечивает ряд потенциальных технических преимуществ.
Во-первых, авторами настоящего изобретения было обнаружено, что такой вентилируемый полый трубчатый элемент обеспечивает особенно эффективное охлаждение аэрозоля. Таким образом, обеспечена возможность достижения удовлетворительного охлаждения аэрозоля даже посредством сравнительно короткой расположенной ниже по ходу потока секции. Это является особенно желательным, поскольку обеспечивает возможность получения такого генерирующего аэрозоль изделия с нагревом, а не сжиганием генерирующего аэрозоль субстрата (и, в частности, содержащего табак субстрата), которое сочетает удовлетворительную доставку аэрозоля с эффективным охлаждением аэрозоля до температур, являющихся желательными для потребителя.
Во-вторых, авторами настоящего изобретения неожиданно было обнаружено, что такое быстрое охлаждение летучих соединений, выделяющихся при нагреве генерирующего аэрозоль субстрата, способствует улучшенной нуклеации частиц аэрозоля. Этот эффект особенно ощутим, когда, как будет более подробно описано ниже, зона вентиляции расположена в точно определенном месте вдоль длины полого трубчатого элемента относительно других компонентов генерирующего аэрозоль изделия. На практике авторами настоящего изобретения было обнаружено, что благоприятный эффект улучшенной нуклеации способен в значительной степени противодействовать потенциально менее желательным эффектам разбавления, обусловленным введением вентиляционного воздуха.
Расстояние между зоной вентиляции и расположенным выше по ходу потока концом генерирующего аэрозоль изделия может составлять по меньшей мере 25 миллиметров. Используемое в настоящем документе выражение «расстояние между зоной вентиляции и другим элементом или участком генерирующего аэрозоль изделия» относится к результатам измерения расстояния в продольном направлении, то есть в направлении, проходящем вдоль или параллельно оси цилиндра генерирующего аэрозоль изделия.
Предпочтительно, расстояние между зоной вентиляции и расположенным выше по ходу потока концом генерирующего аэрозоль изделия составляет по меньшей мере 26 миллиметров. Более предпочтительно, расстояние между зоной вентиляции и расположенным выше по ходу потока концом генерирующего аэрозоль изделия составляет по меньшей мере 27 миллиметров.
Расстояние между зоной вентиляции и расположенным выше по ходу потока концом генерирующего аэрозоль изделия может быть меньше 34 миллиметров или равно 34 миллиметрам. Предпочтительно, расстояние между зоной вентиляции и расположенным выше по ходу потока концом генерирующего аэрозоль изделия меньше 33 миллиметров или равно 33 миллиметрам. Более предпочтительно, расстояние между зоной вентиляции и расположенным выше по ходу потока концом генерирующего аэрозоль изделия меньше 31 миллиметра или равно 31 миллиметру.
В некоторых вариантах осуществления расстояние между зоной вентиляции и расположенным выше по ходу потока концом генерирующего аэрозоль изделия составляет от 25 миллиметров до 34 миллиметров, предпочтительно от 26 миллиметров до 34 миллиметров, более предпочтительно от 27 миллиметров до 34 миллиметров.
В других вариантах осуществления расстояние между зоной вентиляции и расположенным выше по ходу потока концом генерирующего аэрозоль изделия составляет от 25 миллиметров до 33 миллиметров, предпочтительно от 26 миллиметров до 33 миллиметров, более предпочтительно от 27 миллиметров до 33 миллиметров.
В дополнительных вариантах осуществления расстояние между зоной вентиляции и расположенным выше по ходу потока концом генерирующего аэрозоль изделия составляет от 25 миллиметров до 31 миллиметра, предпочтительно от 26 миллиметров до 31 миллиметра, более предпочтительно от 27 миллиметров до 31 миллиметра.
В некоторых особо предпочтительных вариантах осуществления расстояние между зоной вентиляции и расположенным выше по ходу потока концом генерирующего аэрозоль изделия составляет от 28 миллиметров до 30 миллиметров.
Было обнаружено, что генерирующие аэрозоль изделия, содержащие зону вентиляции в месте вдоль полого трубчатого элемента, находящемся на расстоянии от расположенного выше по ходу потока конца генерирующего аэрозоль изделия, попадающем в диапазоны, указанные выше, обеспечивают множество преимуществ.
Во-первых, было обнаружено, что такие изделия обеспечивают особенно удовлетворительную доставку аэрозоля потребителю, в частности, в случае, если генерирующий аэрозоль субстрат содержит табак.
Без привлечения теории понятно, что интенсивное охлаждение, вызываемое атмосферным воздухом, втягиваемым в полость полого трубчатого элемента в зоне вентиляции, ускоряет конденсацию капель вещества для образования аэрозоля (например, глицерина), которое выделилось из генерирующего аэрозоль субстрата при нагреве. В свою очередь, испаренные никотин и органические кислоты, аналогичным образом выделяющиеся из табачного субстрата, накапливаются на вновь образованных каплях вещества для образования аэрозоля и затем сливаются с образованием никотиновых солей. Соответственно, обеспечена возможность улучшения общего отношения аэрозольной дисперсной фазы к аэрозольной газовой фазе по сравнению с существующими генерирующими аэрозоль изделиями.
Расположение зоны вентиляции на расстоянии от расположенного выше по ходу потока конца генерирующего аэрозоль изделия, как описано выше, обеспечивает преимущество, состоящее в сокращении времени пролета испаренного никотина перед тем, как испаренные частицы никотина достигнут капель вещества для образования аэрозоля. В то же время одно такое расположение зоны вентиляции относительно расположенного выше по ходу потока конца генерирующего аэрозоль изделия обеспечивает наличие достаточного времени и пространства для накопления никотина и образования значительной доли никотиновых солей перед тем, как поток аэрозоля достигнет ротовой полости потребителя.
Зона вентиляции может обычно содержать множество перфорационных отверстий, проходящих через периферийную стенку полого трубчатого элемента. Предпочтительно, зона вентиляции содержит по меньшей мере один кольцевой ряд перфорационных отверстий. В некоторых вариантах осуществления зона вентиляции может содержать два окружных ряда перфорационных отверстий. Например, перфорационные отверстия могут быть выполнены на производственной линии в процессе изготовления генерирующего аэрозоль изделия. Предпочтительно, каждый окружной ряд перфорационных отверстий содержит от 8 до 30 перфорационных отверстий.
Генерирующее аэрозоль изделие согласно настоящему изобретению может иметь уровень вентиляции по меньшей мере приблизительно 2 процента.
Термин «уровень вентиляции» используется по всему настоящему описанию для обозначения объемного соотношения между величиной потока воздуха, поступающего в генерирующее аэрозоль изделие через зону вентиляции (потока вентиляционного воздуха) и суммой величин потока аэрозоля и потока вентиляционного воздуха. Чем выше степень вентиляции, тем больше разбавление потока аэрозоля, доставляемого потребителю. Генерирующее аэрозоль изделие предпочтительно имеет уровень вентиляции по меньшей мере 5 процентов, более предпочтительно по меньшей мере 10 процентов, еще более предпочтительно по меньшей мере 12 процентов или по меньшей мере 15 процентов.
Генерирующее аэрозоль изделие согласно настоящему изобретению может иметь уровень вентиляции до приблизительно 90 процентов. Более предпочтительно, генерирующее аэрозоль изделие согласно настоящему изобретению имеет уровень вентиляции, меньший 80 процентов или равный 80 процентам, более предпочтительно меньший 70 процентов или равный 70 процентам, еще более предпочтительно меньший 60 процентов или равный 60 процентам, наиболее предпочтительно меньший 50 процентов или равный 50 процентам.
Таким образом, генерирующее аэрозоль изделие согласно настоящему изобретению может иметь уровень вентиляции от 2 процентов до 90 процентов, предпочтительно от 5 процентов до 90 процентов, более предпочтительно от 10 процентов до 90 процентов, еще более предпочтительно от 15 процентов до 90 процентов. Генерирующее аэрозоль изделие согласно настоящему изобретению может иметь уровень вентиляции от 2 процентов до 80 процентов, предпочтительно от 5 процентов до 80 процентов, более предпочтительно от 10 процентов до 80 процентов, еще более предпочтительно от 15 процентов до 80 процентов. Генерирующее аэрозоль изделие согласно настоящему изобретению может иметь уровень вентиляции от 2 процентов до 70 процентов, предпочтительно от 5 процентов до 70 процентов, более предпочтительно от 10 процентов до 70 процентов, еще более предпочтительно от 15 процентов до 70 процентов. Генерирующее аэрозоль изделие согласно настоящему изобретению может иметь уровень вентиляции от 2 процентов до 60 процентов, предпочтительно от 5 процентов до 60 процентов, более предпочтительно от 10 процентов до 60 процентов, еще более предпочтительно от 15 процентов до 60 процентов. Генерирующее аэрозоль изделие согласно настоящему изобретению может иметь уровень вентиляции от 2 процентов до 50 процентов, предпочтительно от 5 процентов до 50 процентов, более предпочтительно от 10 процентов до 50 процентов, еще более предпочтительно от 15 процентов до 50 процентов. Составляющее аэрозоль изделие предпочтительно имеет уровень вентиляции, меньший 30 процентов или равный 30 процентам, предпочтительно меньший 25 процентов или равный 25 процентам, более предпочтительно меньший 20 процентов или равный 20 процентам, еще более предпочтительно меньший 18 процентов или равный 18 процентам.
В некоторых вариантах осуществления генерирующее аэрозоль изделие имеет уровень вентиляции от 10 процентов до 30 процентов, предпочтительно от 12 процентов до 30 процентов, более предпочтительно от 15 процентов до 30 процентов. В других вариантах осуществления генерирующее аэрозоль изделие имеет уровень вентиляции от 10 процентов до 25 процентов, предпочтительно от 12 процентов до 25 процентов, более предпочтительно от 15 процентов до 25 процентов. В дополнительных вариантах осуществления генерирующее аэрозоль изделие имеет уровень вентиляции от 10 процентов до 20 процентов, предпочтительно от 12 процентов до 20 процентов, более предпочтительно от 15 процентов до 20 процентов. В особо предпочтительных вариантах осуществления генерирующее аэрозоль изделие имеет уровень вентиляции от 10 процентов до 18 процентов, предпочтительно от 12 процентов до 18 процентов, более предпочтительно от 15 процентов до 18 процентов.
Без привлечения теории, авторами настоящего изобретения было обнаружено, что падение температуры, вызванное впуском более холодного внешнего воздуха в полый трубчатый элемент через зону вентиляции, может иметь полезный эффект для нуклеации и роста аэрозольных частиц.
Образование аэрозоля из газообразной смеси, содержащей различные химические соединения, зависит от тонкого взаимодействия между нуклеацией, испарением и конденсацией, а также слияния капель, с одновременным учетом изменений концентрации пара, температуры и полей скоростей. Так называемая классическая теория нуклеации основана на предположении, что доля молекул в газовой фазе является достаточно большой для того, чтобы они оставались сцепленными в течение длительного времени с достаточной вероятностью (например, с вероятностью одна вторая). Эти молекулы представляют собой своего рода критические пороговые молекулярные кластеры среди короткоживущих молекулярных агрегатов, и это означает, что в целом молекулярные кластеры меньшего размера в газовой фазе с высокой вероятностью распадаются достаточно быстро, в то время как кластеры большего размера в целом с высокой вероятностью растут. Такой критический кластер идентифицируют как ключевое ядро нуклеации, из которого ожидается рост капель вследствие конденсации молекул из пара. Предполагается, что первичные капли, которые только что образовались, появляются с определенным исходным диаметром, и затем они могут вырастать на несколько порядков величины. Это может быть поддержано и усилено путем быстрого охлаждения окружающего пара, что вызывает конденсацию. В этой связи, следует иметь в виду, что испарение и конденсация являются двумя сторонами одного и того же механизма, а именно массопереноса газ-жидкость. В то время как испарение относится к чистому массопереносу от капель жидкости к газовой фазе, конденсация представляет собой чистый массоперенос от газовой фазы к фазе капель. Испарение (или конденсация) будет вызывать сокращение (или рост) капель, но не будет изменять количество капель.
В данном сценарии, который может дополнительно усложняться явлением слияния капель, температура и скорость охлаждения могут играть важную роль в определении отклика системы. В целом, разные скорости охлаждения могут приводить к значительно отличающемуся поведению во времени в том, что касается образования жидкой фазы (капель), поскольку процесс нуклеации обычно является нелинейным. Без привлечения теории, предполагается, что охлаждение может вызывать быстрое увеличение числовой концентрации капель, за которым следует сильное кратковременное увеличение их роста (всплеск нуклеации). Данный всплеск нуклеации может оказаться более значительным при более низких температурах. Кроме того, может оказаться, что более высокие скорости охлаждения могут способствовать более раннему началу нуклеации. И наоборот, уменьшение скорости охлаждения может оказывать благоприятное воздействие на окончательный размер, которого в конечном итоге достигают капли аэрозоля.
Следовательно, быстрое охлаждение, обусловленное впуском внешнего воздуха внутрь полого трубчатого элемента через зону вентиляции, может быть с выгодой использовано для содействия нуклеации и росту капель аэрозоля. Однако, в то же время впуск внешнего воздуха в полый трубчатый элемент имеет существенный недостаток, состоящий в разбавлении потока аэрозоля, доставляемого потребителю.
Авторами настоящего изобретения неожиданно было обнаружено, что благоприятный эффект улучшенной нуклеации, стимулируемый с помощью быстрого охлаждения, обеспечиваемого путем введения вентиляционного воздуха в изделие, способен серьезно противодействовать менее желательным эффектам разбавления. Таким образом, с помощью генерирующих аэрозоль изделий согласно настоящему изобретению устойчиво достигаются удовлетворительные значения доставки аэрозоля.
Авторами настоящего изобретения также было неожиданно обнаружено, что влияние разбавления на аэрозоль, которое может быть оценено путем измерения, в частности, влияния на доставку вещества для образования аэрозоля (например, глицерина), включенного в генерирующий аэрозоль субстрат, успешно сводится к минимуму, когда уровень вентиляции находится в пределах диапазонов, описанных выше.
В частности, было обнаружено, что уровни вентиляции от 10 процентов до 20 процентов и еще более предпочтительно от 12 до 18 процентов приводят к особенно удовлетворительным значениям доставки глицерина.
Это особенно полезно в случае «коротких» генерирующих аэрозоль изделий, таких как те, у которых длина стержня генерирующего аэрозоль субстрата меньше приблизительно 40 миллиметров, предпочтительно меньше 30 миллиметров, еще более предпочтительно меньше 25 миллиметров, и особо предпочтительно меньше 20 миллиметров, или у которых общая длина генерирующего аэрозоль изделия меньше приблизительно 70 миллиметров, предпочтительно меньше приблизительно 60 миллиметров, еще более предпочтительно меньше 50 миллиметров. Следует иметь в виду, что в таких генерирующих аэрозоль изделиях обычно предусмотрено мало времени и пространства для образования аэрозоля и для того, чтобы дисперсная фаза аэрозоля стала доступна для доставки потребителю, и таким образом описанные выше выгоды от улучшенной нуклеации являются особенно ощутимыми.
Кроме того, поскольку вентилируемый полый трубчатый элемент по существу не вносит вклад в общее сопротивление затяжке генерирующего аэрозоль изделия, в генерирующих аэрозоль изделиях согласно настоящему изобретению обеспечено преимущество, состоящее в возможности тонкого регулирования сопротивления затяжке изделия путем регулирования длины и плотности стержня генерирующего аэрозоль субстрата или длины и, при необходимости, длины и плотности любого сегмента фильтрующего материала, образующего участок расположенной ниже по ходу потока секции, например такого, как мундштучный элемент, или длины и плотности сегмента фильтрующего материала, обеспеченного выше по ходу потока относительно генерирующего аэрозоль субстрата и токоприемного элемента. Таким образом обеспечена возможность более единообразного и высокоточного изготовления генерирующих аэрозоль изделий, имеющих заданное сопротивление затяжке, так что обеспечена возможность получения удовлетворительных уровней сопротивления затяжке для потребителя даже при наличии вентиляции.
Расстояние между зоной вентиляции и расположенным ниже по ходу потока концом стержня генерирующего аэрозоль субстрата может составлять по меньшей мере 4 мм, или 6 мм, или 8 миллиметров. Предпочтительно, расстояние между зоной вентиляции и расположенным ниже по ходу потока концом стержня генерирующего аэрозоль субстрата составляет по меньшей мере 9 миллиметров. Более предпочтительно, расстояние между зоной вентиляции и расположенным ниже по ходу потока концом стержня генерирующего аэрозоль субстрата составляет по меньшей мере 10 миллиметров.
Расстояние между зоной вентиляции и расположенным ниже по ходу потока концом стержня генерирующего аэрозоль субстрата предпочтительно меньше 17 миллиметров. Более предпочтительно, расстояние между зоной вентиляции и расположенным ниже по ходу потока концом стержня генерирующего аэрозоль субстрата меньше 16 миллиметров. Еще более предпочтительно, расстояние между зоной вентиляции и расположенным ниже по ходу потока концом стержня генерирующего аэрозоль субстрата меньше 16 миллиметров. В особо предпочтительных вариантах осуществления расстояние между зоной вентиляции и расположенным ниже по ходу потока концом стержня генерирующего аэрозоль субстрата меньше 15 миллиметров.
В некоторых вариантах осуществления расстояние между зоной вентиляции и расположенным ниже по ходу потока концом стержня генерирующего аэрозоль субстрата составляет от 4 миллиметров до 17 миллиметров, предпочтительно от 7 миллиметров до 17 миллиметров, более предпочтительно от 10 миллиметров до 17 миллиметров. В других вариантах осуществления расстояние между зоной вентиляции и расположенным ниже по ходу потока концом стержня генерирующего аэрозоль субстрата составляет от 8 миллиметров до 16 миллиметров, предпочтительно от 9 миллиметров до 16 миллиметров, более предпочтительно от 10 миллиметров до 16 миллиметров. В дополнительных вариантах осуществления расстояние между зоной вентиляции и расположенным ниже по ходу потока концом стержня генерирующего аэрозоль субстрата составляет от 8 миллиметров до 15 миллиметров, предпочтительно от 9 миллиметров до 15 миллиметров, более предпочтительно от 10 миллиметров до 15 миллиметров. Например, расстояние между зоной вентиляции и расположенным ниже по ходу потока концом стержня генерирующего аэрозоль субстрата может составлять от 10 миллиметров до 14 миллиметров, предпочтительно от 10 миллиметров до 13 миллиметров, более предпочтительно от 10 миллиметров до 12 миллиметров. Расположение зоны вентиляции на расстоянии от расположенного ниже по ходу потока конца стержня генерирующего аэрозоль субстрата в пределах диапазонов, описанных выше, имеет преимущество, состоящее в обеспечении в целом того, чтобы во время использования зона вентиляции находилась в непосредственной близости к нагревательному устройству, когда в нагревательное устройство вставлено генерирующее аэрозоль изделие. Кроме того, было обнаружено, что расположение зоны вентиляции на расстоянии от расположенного ниже по ходу потока конца стержня генерирующего аэрозоль субстрата в пределах диапазонов, описанных выше, обеспечивает преимущество, состоящее в возможности улучшении нуклеации, а также образования и доставки аэрозоля.
Расстояние между зоной вентиляции и расположенным выше по ходу потока концом полого трубчатого элемента может составлять по меньшей мере 3 миллиметра. Предпочтительно, расстояние между зоной вентиляции и расположенным ниже по ходу потока концом полого трубчатого элемента составляет по меньшей мере 5 миллиметров. Более предпочтительно, расстояние между зоной вентиляции и расположенным ниже по ходу потока концом полого трубчатого элемента составляет по меньшей мере 7 миллиметров.
Расстояние между зоной вентиляции и расположенным ниже по ходу потока концом полого трубчатого элемента предпочтительно меньше 14 миллиметров или равно 14 миллиметрам. Более предпочтительно, расстояние между зоной вентиляции и расположенным ниже по ходу потока концом полого трубчатого элемента меньше 12 миллиметров или равно 12 миллиметрам. Еще более предпочтительно, расстояние между зоной вентиляции и расположенным ниже по ходу потока концом полого трубчатого элемента меньше 10 миллиметров или равно 10 миллиметрам.
В некоторых вариантах осуществления расстояние между зоной вентиляции и расположенным ниже по ходу потока концом полого трубчатого элемента составляет от 3 миллиметров до 14 миллиметров, предпочтительно от 5 миллиметров до 14 миллиметров, более предпочтительно от 7 миллиметров до 14 миллиметров. В дополнительных вариантах осуществления расстояние между зоной вентиляции и расположенным ниже по ходу потока концом полого трубчатого элемента составляет от 3 миллиметров до 12 миллиметров, предпочтительно от 5 миллиметров до 12 миллиметров, более предпочтительно от 7 миллиметров до 12 миллиметров. В других вариантах осуществления расстояние между зоной вентиляции и расположенным ниже по ходу потока концом полого трубчатого элемента составляет от 3 миллиметров до 10 миллиметров, предпочтительно от 5 миллиметров до 10 миллиметров, более предпочтительно от 7 миллиметров до 10 миллиметров.
Расположение зоны вентиляции на расстоянии от расположенного ниже по ходу потока конца полого трубчатого элемента в пределах диапазонов, описанных выше, имеет преимущество, состоящее в обеспечении в целом того, чтобы во время использования зона вентиляции находилась в непосредственной близости к нагревательному устройству, когда в нагревательное устройство вставлено генерирующее аэрозоль изделие. Кроме того, было обнаружено, что расположение зоны вентиляции на расстоянии от расположенного ниже по ходу потока конца полого трубчатого элемента в пределах диапазонов, описанных выше, обеспечивает преимущество, состоящее в возможности образования и доставки сравнительно более однородного аэрозоля.
Расстояние между зоной вентиляции и расположенным ниже по ходу потока концом генерирующего аэрозоль изделия может составлять по меньшей мере 10 миллиметров. Предпочтительно, расстояние между зоной вентиляции и расположенным ниже по ходу потока концом генерирующего аэрозоль изделия составляет по меньшей мере 12 миллиметров. Более предпочтительно, расстояние между зоной вентиляции и расположенным ниже по ходу потока концом генерирующего аэрозоль изделия составляет по меньшей мере 15 миллиметров.
Расстояние между зоной вентиляции и расположенным ниже по ходу потока концом генерирующего аэрозоль изделия предпочтительно меньше 21 миллиметра или равно 21 миллиметру. Более предпочтительно, расстояние между зоной вентиляции и расположенным ниже по ходу потока концом генерирующего аэрозоль изделия меньше 19 миллиметров или равно 19 миллиметрам. Еще более предпочтительно, расстояние между зоной вентиляции и расположенным ниже по ходу потока концом генерирующего аэрозоль изделия меньше 17 миллиметров или равно 17 миллиметрам.
В некоторых вариантах осуществления расстояние между зоной вентиляции и расположенным ниже по ходу потока концом генерирующего аэрозоль изделия составляет от 10 миллиметров до 21 миллиметра, предпочтительно от 12 миллиметров до 21 миллиметра, более предпочтительно от 15 миллиметров до 21 миллиметра. В дополнительных вариантах осуществления расстояние между зоной вентиляции и расположенным ниже по ходу потока концом генерирующего аэрозоль изделия составляет от 10 миллиметров до 19 миллиметров, предпочтительно от 12 миллиметров до 19 миллиметров, более предпочтительно от 15 миллиметров до 19 миллиметров. В других вариантах осуществления расстояние между зоной вентиляции и расположенным ниже по ходу потока концом генерирующего аэрозоль изделия составляет от 10 миллиметров до 17 миллиметров, предпочтительно от 12 миллиметров до 17 миллиметров, более предпочтительно от 15 миллиметров до 17 миллиметров.
Расположение зоны вентиляции на расстоянии от расположенного ниже по ходу потока конца генерирующего аэрозоль изделия в пределах, описанных выше, имеет преимущество, состоящее в обеспечении в целом того, чтобы во время использования, когда генерирующее аэрозоль изделие частично размещено в нагревательном устройстве, участок генерирующего аэрозоль изделия, выходящий за пределы нагревательного устройства, являлся достаточно длинным, чтобы потребитель с удобством удерживал изделие между своими губами. В то же время имеющиеся данные свидетельствуют о том, что при большей длине участка генерирующего аэрозоль изделия, выходящего за пределы нагревательного устройства, становится легким случайное и нежелательное сгибание генерирующего аэрозоль изделия, и это может негативно повлиять на доставку аэрозоля или в целом на использование по назначению генерирующего аэрозоль изделия.
Как рассмотрено в настоящем раскрытии, расположенная ниже по ходу потока секция может содержать мундштучный элемент. Мундштучный элемент может проходить от расположенного ниже по ходу потока конца расположенной ниже по ходу потока секции. Мундштучный элемент может быть размещен на расположенном ниже по ходу потока конце генерирующего аэрозоль изделия. Расположенный ниже по ходу потока конец мундштучного элемента может образовывать расположенный ниже по ходу потока конец генерирующего аэрозоль изделия.
Мундштучный элемент может быть обеспечен ниже по ходу потока относительно стержня генерирующего аэрозоль субстрата; Мундштучный элемент может проходить на все расстояние до мундштучного конца генерирующего аэрозоль изделия. Мундштучный элемент может содержать по меньшей мере один мундштучный фильтрующий сегмент, выполненный из волокнистого фильтрующего материала. Мундштучный элемент может быть расположен ниже по ходу потока относительно полого трубчатого элемента, который описан выше. Мундштучный элемент может проходить между полым трубчатым элементом и расположенным ниже по ходу потока концом генерирующего аэрозоль изделия. Мундштучный элемент может быть обеспечен ниже по ходу потока относительно полого трубчатого элемента в непосредственной близости к нему. Другими словами, мундштучный элемент может примыкать к расположенному ниже по ходу потока концу полого трубчатого элемента. Мундштучный элемент может образовывать расположенный ниже по ходу потока конец расположенной ниже по ходу потока секции генерирующего аэрозоль изделия.
Параметры или характеристики, описанные в отношении мундштучного элемента в целом, в равной степени могут быть применены к сегменту мундштучному фильтрующему сегменту мундштучного элемента.
Волокнистый фильтрующий материал может быть предназначен для фильтрации аэрозоля, который генерируется из генерирующего аэрозоль субстрата. Подходящие волокнистые фильтрующие материалы должны быть известны специалистам. Особо предпочтительно, указанный по меньшей мере один фильтрующий сегмент мундштучного элемента содержит ацетилцеллюлозный фильтрующий сегмент, выполненный из ацетилцеллюлозного жгута.
В некоторых предпочтительных вариантах осуществления мундштучный элемент состоит из одного фильтрующего сегмента мундштучного элемента. В альтернативных вариантах осуществления мундштучный элемент содержит два или более фильтрующих сегментов мундштучного элемента, соосно выровненных друг с другом с примыканием конец к концу.
В некоторых вариантах осуществления настоящего изобретения расположенная ниже по ходу потока секция может содержать полость мундштучного конца на расположенном ниже по ходу потока конце, который расположен ниже по ходу потока относительно мундштучного элемента, как описано выше. Полость мундштучного конца может быть образована дополнительным полым трубчатым элементом, обеспеченным на расположенном ниже по ходу потока конце мундштучного элемента. В качестве альтернативы, полость мундштучного конца может быть образована внешней оберткой генерирующего аэрозоль изделия, при этом внешняя обертка проходит в направлении ниже по ходу потока от мундштучного элемента (или за его пределы).
Мундштучный элемент может при необходимости содержать вкусоароматическое вещество, которое может быть обеспечено в любой подходящей форме. Например, мундштучный элемент может содержать одну или более капсул, шариков или гранул вкусоароматического вещества или одну или более нитей или волокон, нагруженных вкусоароматическим веществом.
Предпочтительно, мундштучный элемент или его мундштучный фильтрующий сегмент имеет низкую эффективность фильтрации частиц.
Предпочтительно, мундштучный элемент окружен фицеллой. Предпочтительно, мундштучный элемент является невентилируемым, так что воздух не поступает в генерирующее аэрозоль изделие вдоль мундштучного элемента.
Мундштучный элемент предпочтительно соединен с одним или более смежными расположенными выше по ходу потока компонентами генерирующего аэрозоль изделия посредством ободковой обертки.
Мундштучный элемент предпочтительно имеет внешний диаметр, который приблизительно равен внешнему диаметру генерирующего аэрозоль изделия. Диаметр мундштучного элемента (или мундштучного фильтрующего сегмента) может быть по существу таким же, что и внешний диаметр полого трубчатого элемента. Как упомянуто в настоящем раскрытии, внешний диаметр полого трубчатого элемента может составлять приблизительно 7,2 мм плюс или минус 10 процентов.
Диаметр мундштучного элемента может составлять от приблизительно 5 мм до приблизительно 10 мм. Диаметр мундштучного элемента может составлять от приблизительно 6 мм до приблизительно 8 мм. Диаметр мундштучного сегмента может составлять от приблизительно 7 мм до приблизительно 8 мм. Диаметр мундштучного элемента может составлять приблизительно 7,2 мм плюс или минус 10 процентов. Диаметр мундштучного элемента может составлять приблизительно 7,25 мм плюс или минус 10 процентов.
Если не указано иное, то сопротивление затяжке компонента или генерирующего аэрозоль изделия измеряют согласно ISO 6565-2015. Сопротивление затяжке относится к давлению, необходимому для принудительного прохождения воздуха по всей длине компонента. Термины «падение давления» или «сопротивление затяжке» компонента или изделия могут также относиться к «сопротивлению втягиванию». Такие термины в целом относятся к измерениям согласно ISO 6565-2015, обычно выполняемым при условиях испытания, согласно которым объемный расход составляет приблизительно 17,5 миллилитра в секунду на выходе или на расположенном ниже по ходу потока конце измеряемого компонента при температуре приблизительно 22 градуса по Цельсию, давлении приблизительно 101 кПа (приблизительно 760 торр) и относительной влажности приблизительно 60%.
Сопротивление затяжке (RTD) расположенной ниже по ходу потока секции может составлять по меньшей мере приблизительно 0 мм H2O. Сопротивление затяжке расположенной ниже по ходу потока секции может составлять по меньшей мере приблизительно 3 мм H2O. Сопротивление затяжке расположенной ниже по ходу потока секции может составлять по меньшей мере приблизительно 6 мм H2O.
Сопротивление затяжке расположенной ниже по ходу потока секции может составлять не больше приблизительно 12 мм H2O. Сопротивление затяжке расположенной ниже по ходу потока секции может составлять не больше приблизительно 11 мм H2O. Сопротивление затяжке расположенной ниже по ходу потока секции может составлять не больше приблизительно 10 мм H2O.
Сопротивление затяжке расположенной ниже по ходу потока секции может быть больше или равно приблизительно 0 мм H2O и меньше приблизительно 12 мм H2O. Предпочтительно, сопротивление затяжке расположенной ниже по ходу потока секции может быть больше или равно приблизительно 3 мм H2O и меньше приблизительно 12 мм H2O. Сопротивление затяжке расположенной ниже по ходу потока секции может быть больше или равно приблизительно 0 мм H2O и меньше приблизительно 11 мм H2O. Еще более предпочтительно, сопротивление затяжке расположенной ниже по ходу потока секции может быть больше или равно приблизительно 3 мм H2O и меньше приблизительно 11 мм H2O. Еще более предпочтительно, сопротивление затяжке расположенной ниже по ходу потока секции может быть больше или равно приблизительно 6 мм H2O и меньше приблизительно 10 мм H2O. Предпочтительно, сопротивление затяжке расположенной ниже по ходу потока секции может составлять приблизительно 8 мм H2O.
Характеристики сопротивления затяжке расположенной ниже по ходу потока секции могут быть полностью или в основном связаны с характеристиками сопротивления затяжке мундштучного элемента расположенной ниже по ходу потока секции. Другими словами, сопротивление затяжке мундштучного элемента расположенной ниже по ходу потока секции может полностью определять сопротивление затяжке расположенной ниже по ходу потока секции.
Сопротивление затяжке мундштучного элемента может составлять по меньшей мере приблизительно 0 мм H2O. Сопротивление затяжке мундштучного элемента может составлять по меньшей мере приблизительно 3 мм H2O. Сопротивление затяжке мундштучного элемента может составлять по меньшей мере приблизительно 6 мм H2O.
Сопротивление затяжке мундштучного элемента может быть не больше приблизительно 12 мм H2O. Сопротивление затяжке мундштучного элемента может быть не больше приблизительно 11 мм H2O. Сопротивление затяжке мундштучного элемента может быть не больше приблизительно 10 мм H2O.
Сопротивление затяжке мундштучного элемента может быть больше или равно приблизительно 0 мм H2O и меньше приблизительно 12 мм H2O. Предпочтительно, сопротивление затяжке мундштучного элемента может быть больше или равно приблизительно 3 мм H2O и меньше приблизительно 12 мм H2O. Сопротивление затяжке мундштучного элемента может быть больше или равно приблизительно 0 мм H2O и меньше приблизительно 11 мм H2O. Еще более предпочтительно, сопротивление затяжке мундштучного элемента может быть больше или равно приблизительно 3 мм H2O и меньше приблизительно 11 мм H2O. Еще более предпочтительно, сопротивление затяжке мундштучного элемента может быть больше или равно приблизительно 6 мм H2O и меньше приблизительно 10 мм H2O. Предпочтительно, сопротивление затяжке мундштучного элемента может составлять приблизительно 8 мм H2O.
Как упомянуто выше, мундштучный элемент или мундштучный фильтрующий сегмент могут быть выполнены из волокнистого материала. Мундштучный элемент может быть выполнен из пористого материала. Мундштучный элемент может быть выполнен из биологически разлагаемого материала. Мундштучный элемент может быть выполнен из целлюлозного материала, такого как ацетилцеллюлоза. Например, мундштучный элемент может быть выполнен из пучка целлюлозных ацетилцеллюлозных волокон, имеющих весовой номер в денье на элементарное волокно от приблизительно 10 до приблизительно 15. Например, мундштучный элемент выполнен из ацетилцеллюлозного жгута сравнительно низкой плотности, такого как ацетилцеллюлозный жгут, содержащий волокна с весовым номером на элементарное волокно приблизительно 12.
Мундштучный элемент может быть выполнен из материала на основе полимолочной кислоты. Мундштучный элемент может быть выполнен из биопластического материала, предпочтительно биопластического материала на основе крахмала. Мундштучный элемент может быть изготовлен путем литья под давлением или экструзии. Материалы на основе биопластика являются предпочтительными, поскольку они способны обеспечивать конструкции мундштучных элементов, которые просты и дешевы в изготовлении с конкретным сложным профилем поперечного сечения и могут содержать множество сравнительно крупных каналов для потока воздуха, проходящих через материал мундштучного элемента, что обеспечивает подходящие характеристики сопротивления затяжке.
Мундштучный элемент может быть выполнен из листа подходящего материала, который был гофрирован, плиссирован, собран, подвергнут плетению или сложен в виде элемента, образующего множество продольно проходящих каналов. Такой лист подходящего материала может быть выполнен из бумаги, картона, полимера, такого как полимолочная кислота, или любого другого материала на основе целлюлозы, материала на основе бумаги или материала на основе биопластика. Профиль поперечного сечения такого мундштучного элемента может иметь каналы, ориентированные случайным образом.
Мундштучный элемент может быть выполнен любым подходящим способом. Например, мундштучный элемент может быть выполнен из пучка продольно проходящих трубок. Продольно проходящие трубки могут быть выполнены из полимолочной кислоты. Мундштучный элемент может быть выполнен путем экструзии, литья, ламинирования, впрыска или измельчения подходящего материала. Таким образом, предпочтительно, чтобы имело место низкое падение давления (или сопротивление затяжке) на участке от расположенного выше по ходу потока конца мундштучного элемента до расположенного ниже по ходу потока конца элемента мундштучного элемента.
Длина мундштучного элемента может составлять по меньшей мере приблизительно 3 мм. Длина мундштучного элемента может составлять по меньшей мере приблизительно 5 мм. Длина мундштучного элемента может быть равна или меньше приблизительно 11 мм. Длина мундштучного элемента может быть равна или меньше приблизительно 9 мм. Длина мундштучного элемента может составлять от приблизительно 3 мм до приблизительно 11 мм. Длина мундштучного элемента может составлять от приблизительно 5 миллиметров до приблизительно 9 миллиметров. Предпочтительно, длина мундштучного элемента может составлять приблизительно 7 мм.
Соотношение между длиной мундштучного элемента и длиной расположенной ниже по ходу потока секции может быть меньше или равно приблизительно 0,55. Предпочтительно, соотношение между длиной мундштучного элемента и длиной расположенной ниже по ходу потока секции может быть меньше или равно приблизительно 0,45. Более предпочтительно, соотношение между длиной мундштучного элемента и длиной расположенной ниже по ходу потока секции может быть меньше или равно приблизительно 0,35. Еще более предпочтительно, соотношение между длиной мундштучного элемента и длиной расположенной ниже по ходу потока секции может быть меньше или равно приблизительно 0,25.
Соотношение между длиной мундштучного элемента и длиной расположенной ниже по ходу потока секции может составлять по меньшей мере приблизительно 0,05. Предпочтительно, соотношение между длиной мундштучного элемента и длиной расположенной ниже по ходу потока секции может составлять по меньшей мере приблизительно 0,10. Более предпочтительно, соотношение между длиной мундштучного элемента и длиной расположенной ниже по ходу потока секции может составлять по меньшей мере приблизительно 0,15. Еще более предпочтительно, соотношение между длиной мундштучного элемента и длиной расположенной ниже по ходу потока секции может составлять по меньшей мере приблизительно 0,20.
В некоторых вариантах осуществления соотношение между длиной мундштучного элемента и длиной расположенной ниже по ходу потока секции составляет от приблизительно 0,05 до приблизительно 0,55, предпочтительно от приблизительно 0,10 до приблизительно 0,55, более предпочтительно от приблизительно 0,15 до приблизительно 0,55, еще более предпочтительно от приблизительно 0,20 до приблизительно 0,55. В других вариантах осуществления соотношение между длиной мундштучного элемента и длиной расположенной ниже по ходу потока секции составляет от приблизительно 0,05 до приблизительно 0,45, предпочтительно от приблизительно 0,10 до приблизительно 0,45, более предпочтительно от приблизительно 0,15 до приблизительно 0,45, еще более предпочтительно от приблизительно 0,20 до приблизительно 0,45. В дополнительных вариантах осуществления соотношение между длиной мундштучного элемента и длиной расположенной ниже по ходу потока секции составляет от приблизительно 0,05 до приблизительно 0,35, предпочтительно от приблизительно 0,10 до приблизительно 0,35, более предпочтительно от приблизительно 0,15 до приблизительно 0,35, еще более предпочтительно от приблизительно 0,20 до приблизительно 0,35. Например, соотношение между длиной мундштучного элемента и длиной расположенной ниже по ходу потока секции может предпочтительно составлять от приблизительно 0,20 до приблизительно 0,25, более предпочтительно соотношение между длиной мундштучного элемента и длиной расположенной ниже по ходу потока секции может составлять приблизительно 0,25.
Соотношение между длиной мундштучного элемента и общей длиной генерирующего аэрозоль изделия может быть меньше или равно приблизительно 0,40. Предпочтительно, соотношение между длиной мундштучного элемента и общей длиной генерирующего аэрозоль изделия может быть меньше или равно приблизительно 0,30. Более предпочтительно, соотношение между длиной мундштучного элемента и общей длиной генерирующего аэрозоль изделия может быть меньше или равно приблизительно 0,25. Еще более предпочтительно, соотношение между длиной мундштучного элемента и общей длиной генерирующего аэрозоль изделия может быть меньше или равно приблизительно 0,20.
Соотношение между длиной мундштучного элемента и общей длиной генерирующего аэрозоль изделия может составлять по меньшей мере приблизительно 0,05. Предпочтительно, соотношение между длиной мундштучного элемента и общей длиной генерирующего аэрозоль изделия может составлять по меньшей мере приблизительно 0,07. Более предпочтительно, соотношение между длиной мундштучного элемента и общей длиной генерирующего аэрозоль изделия может составлять по меньшей мере приблизительно 0,10. Еще более предпочтительно, соотношение между длиной мундштучного элемента и общей длиной генерирующего аэрозоль изделия может составлять по меньшей мере приблизительно 0,15.
В некоторых вариантах осуществления соотношение между длиной мундштучного элемента и общей длиной генерирующего аэрозоль изделия составляет от приблизительно 0,05 до приблизительно 0,40, предпочтительно от приблизительно 0,07 до приблизительно 0,40, более предпочтительно от приблизительно 0,10 до приблизительно 0,40, еще более предпочтительно от приблизительно 0,15 до приблизительно 0,40. В других вариантах осуществления соотношение между длиной мундштучного элемента и общей длиной генерирующего аэрозоль изделия составляет от приблизительно 0,05 до приблизительно 0,30, предпочтительно от приблизительно 0,07 до приблизительно 0,30, более предпочтительно от приблизительно 0,10 до приблизительно 0,30, еще более предпочтительно от приблизительно 0,15 до приблизительно 0,30. В дополнительных вариантах осуществления соотношение между длиной мундштучного элемента и общей длиной генерирующего аэрозоль изделия составляет от приблизительно 0,05 до приблизительно 0,25, предпочтительно от приблизительно 0,07 до приблизительно 0,25, более предпочтительно от приблизительно 0,10 до приблизительно 0,25, еще более предпочтительно от приблизительно 0,15 до приблизительно 0,25. Например, соотношение между длиной мундштучного элемента и общей длиной генерирующего аэрозоль изделия может составлять от приблизительно 0,15 до приблизительно 0,20, более предпочтительно соотношение между длиной мундштучного элемента и общей длиной генерирующего аэрозоль изделия может составлять приблизительно 0,16.
В тех вариантах осуществления, в которых расположенная ниже по ходу потока секция содержит полый трубчатый элемент и мундштучный элемент, отношение длины полого трубчатого элемента к длине мундштучного элемента может составлять по меньшей мере приблизительно 1,25. Другими словами, длина полого трубчатого элемента может быть эквивалентна приблизительно 125% длины мундштука. Отношение длины полого трубчатого элемента к длине мундштучного элемента может составлять по меньшей мере приблизительно 1,5. Отношение длины полого трубчатого элемента к длине мундштучного элемента может составлять по меньшей мере приблизительно 2.
Отношение длины полого трубчатого элемента к длине мундштучного элемента может быть равно или меньше приблизительно 8,5. Отношение длины полого трубчатого элемента к длине мундштучного элемента может быть равно или меньше приблизительно 6. Отношение длины полого трубчатого элемента к длине мундштучного элемента может быть равно или меньше приблизительно 4.
Отношение длины полого трубчатого элемента к длине мундштучного элемента может составлять от приблизительно 1,25 до приблизительно 8,5. Отношение длины полого трубчатого элемента к длине мундштучного элемента может составлять от приблизительно 1,5 до приблизительно 6. Отношение длины полого трубчатого элемента к длине мундштучного элемента может составлять от приблизительно 2 до приблизительно 4.
Предпочтительно, отношение длины полого трубчатого элемента к длине мундштучного элемента может составлять приблизительно 3. В таком варианте осуществления длина полого трубчатого элемента составляет приблизительно 21 мм, а длина мундштучного элемента составляет приблизительно 7 мм.
Генерирующее аэрозоль изделие может иметь общую длину от приблизительно 35 миллиметров до приблизительно 100 миллиметров.
Предпочтительно, общая длина генерирующего аэрозоль изделия согласно настоящему изобретению составляет по меньшей мере приблизительно 38 миллиметров. Более предпочтительно, общая длина генерирующего аэрозоль изделия согласно настоящему изобретению составляет по меньшей мере приблизительно 40 миллиметров. Еще более предпочтительно, общая длина генерирующего аэрозоль изделия согласно настоящему изобретению составляет по меньшей мере приблизительно 42 миллиметра.
Общая длина генерирующего аэрозоль изделия согласно настоящему изобретению предпочтительно меньше 70 миллиметров или равна 70 миллиметрам. Более предпочтительно, общая длина генерирующего аэрозоль изделия согласно настоящему изобретению предпочтительно меньше 60 миллиметров или равна 60 миллиметрам. Еще более предпочтительно, общая длина генерирующего аэрозоль изделия согласно настоящему изобретению предпочтительно меньше 50 миллиметров или равна 50 миллиметрам.
В некоторых вариантах осуществления общая длина генерирующего аэрозоль изделия составляет предпочтительно от приблизительно 38 миллиметров до приблизительно 70 миллиметров, более предпочтительно от приблизительно 40 миллиметров до приблизительно 70 миллиметров, еще более предпочтительно от приблизительно 42 миллиметров до приблизительно 70 миллиметров. В других вариантах осуществления общая длина генерирующего аэрозоль изделия составляет предпочтительно от приблизительно 38 миллиметров до приблизительно 60 миллиметров, более предпочтительно от приблизительно 40 миллиметров до приблизительно 60 миллиметров, еще более предпочтительно от приблизительно 42 миллиметров до приблизительно 60 миллиметров. В дополнительных вариантах осуществления общая длина генерирующего аэрозоль изделия составляет предпочтительно от приблизительно 38 миллиметров до приблизительно 50 миллиметров, более предпочтительно от приблизительно 40 миллиметров до приблизительно 50 миллиметров, еще более предпочтительно от приблизительно 42 миллиметров до приблизительно 50 миллиметров. В приведенном в качестве примера варианте осуществления общая длина генерирующего аэрозоль изделия составляет приблизительно 45 миллиметров.
Генерирующее аэрозоль изделие имеет внешний диаметр по меньшей мере 5 миллиметров. Предпочтительно, генерирующее аэрозоль изделие имеет внешний диаметр по меньшей мере 6 миллиметров. Более предпочтительно, генерирующее аэрозоль изделие, имеет внешний диаметр по меньшей мере 7 миллиметров.
Предпочтительно, генерирующее аэрозоль изделие имеет внешний диаметр, меньший приблизительно 12 миллиметров или равный приблизительно 12 миллиметрам. Более предпочтительно, генерирующее аэрозоль изделие имеет внешний диаметр, меньший 10 миллиметров или равен приблизительно 10 миллиметрам. Еще более предпочтительно, генерирующее аэрозоль изделие имеет внешний диаметр, меньший 8 миллиметров или равный приблизительно 8 миллиметрам.
В некоторых вариантах осуществления генерирующее аэрозоль изделие имеет внешний диаметр от приблизительно 5 миллиметров до приблизительно 12 миллиметров, предпочтительно от приблизительно 6 миллиметров до приблизительно 12 миллиметров, более предпочтительно от приблизительно 7 миллиметров до приблизительно 12 миллиметров. В других вариантах осуществления генерирующее аэрозоль изделие имеет внешний диаметр от приблизительно 5 миллиметров до приблизительно 10 миллиметров, предпочтительно от приблизительно 6 миллиметров до приблизительно 10 миллиметров, более предпочтительно от приблизительно 7 миллиметров до приблизительно 10 миллиметров. В дополнительных вариантах осуществления генерирующее аэрозоль изделие имеет внешний диаметр от приблизительно 5 миллиметров до приблизительно 8 миллиметров, предпочтительно от приблизительно 6 миллиметров до приблизительно 8 миллиметров, более предпочтительно от приблизительно 7 миллиметров до приблизительно 8 миллиметров.
Внешний диаметр генерирующего аэрозоль изделия может быть по существу постоянным по всей длине изделия. В качестве альтернативы, разные участки генерирующего аэрозоль изделия могут иметь разные внешние диаметры.
В особо предпочтительных вариантах осуществления один или более компонентов генерирующего аэрозоль изделия индивидуально окружены своей собственной оберткой.
В одном варианте осуществления стержень генерирующего аэрозоль субстрата и мундштучный элемент индивидуально обернуты. Расположенный выше по ходу потока элемент, стержень генерирующего аэрозоль субстрата и полый трубчатый элемент затем объединены вместе с помощью внешней обертки. Соответственно, они объединены с мундштучным элементом, который имеет свою собственную обертку, посредством ободковой бумаги.
Предпочтительно, по меньшей мере один из компонентов генерирующего аэрозоль изделия обернут в гидрофобную обертку.
Термин «гидрофобная» относится к поверхности, проявляющей водоотталкивающие свойства. Один полезный способ определения этого показателя состоит в измерении краевого угла смачивания водой. «Краевой угол смачивания водой» представляет собой угол, обычно измеряемый через жидкость в месте, где граница раздела жидкость/пар соприкасается с твердой поверхностью. Он показывает количественное значение смачиваемости твердой поверхности жидкостью с помощью уравнения Юнга. Гидрофобность или краевой угол смачивания водой могут быть определены путем использования способа испытания TAPPI T558, и результат может быть представлен в виде краевого угла смачивания на границе раздела, который выражается в «градусах» и может находиться в диапазоне от приблизительно нуля до приблизительно 180 градусов.
В предпочтительных вариантах осуществления гидрофобная обертка представляет собой обертку, содержащую бумажный слой, имеющий краевой угол смачивания водой приблизительно 30 градусов или больше, предпочтительно приблизительно 35 градусов или больше, или приблизительно 40 градусов или больше, или приблизительно 45 градусов или больше.
Например, бумажный слой может содержать PVOH (поливиниловый спирт) или силикон. Поливиниловый спирт может быть нанесен на бумажный слой в качестве поверхностного покрытия, или бумажный слой может подвергнут поверхностной обработке с использованием поливинилового спирта или силикона.
В особо предпочтительном варианте осуществления генерирующее аэрозоль изделие согласно настоящему изобретению содержит, в линейной последовательной компоновке, расположенный выше по ходу потока элемент, стержень генерирующего аэрозоль субстрата, расположенный ниже по ходу потока относительно расположенного выше по ходу потока элемента в непосредственной близости к нему, полый трубчатый элемент, расположенный ниже по ходу потока относительно стержня генерирующего аэрозоль субстрата в непосредственной близости к нему, мундштучный элемент, расположенный ниже по ходу потока относительно полого трубчатого элемента в непосредственной близости к нему, и одну или более внешних оберток, объединяющих расположенный выше по ходу потока элемент, стержень генерирующего аэрозоль субстрата, полый трубчатый элемент и мундштучный элемент. Расположенный выше по ходу потока элемент образует расположенную выше по ходу потока секцию генерирующего аэрозоль изделия. Полый трубчатый элемент и мундштучный элемент образуют расположенную ниже по ходу потока секцию генерирующего аэрозоль изделия.
Стержень генерирующего аэрозоль субстрата может примыкать к расположенному выше по ходу потока элементу. Полый трубчатый элемента может примыкать к стержню генерирующего аэрозоль субстрата. Мундштучный элемент может примыкать к полому трубчатому элементу. Предпочтительно, полый трубчатый элемент примыкает к стержню генерирующего аэрозоль субстрата, а мундштучный элемент примыкает к полому трубчатому элементу.
Генерирующее аэрозоль изделие имеет по существу цилиндрическую форму и внешний диаметр 7,23 миллиметра.
Расположенный выше по ходу потока элемент, образующий расположенную выше по ходу потока секцию, имеет длину 5 миллиметров, стержень генерирующего аэрозоль изделия имеет длину 12 миллиметров, полый трубчатый элемент имеет длину 21 миллиметр, и мундштучный элемент имеет длину 7 миллиметров. Таким образом, длина расположенной ниже по ходу потока секции составляет 28 мм, и общая длина генерирующего аэрозоль изделия составляет приблизительно 45 миллиметров. Таким образом, общая длина полого трубчатого элемента и мундштучного элемента составляет 28 мм.
Расположенный выше по ходу потока элемент имеет форму полой заглушки из ацетилцеллюлозного жгута, которая обернута в жесткую фицеллу.
Стержень генерирующего аэрозоль субстрата содержит генерирующий аэрозоль субстрат по меньшей мере одного из типов, описанных выше, и, предпочтительно, измельченный табачный материал. В предпочтительном варианте осуществления стержень генерирующего аэрозоль субстрата, содержит 150 миллиграмм измельченного табачного материала, содержащего от 13 процентов по весу до 18 процентов по весу глицерина.
Более конкретно, полый трубчатый элемент имеет форму картонной трубки, и его внутренний диаметр составляет приблизительно 6,7 миллиметра. Таким образом, толщина периферийной стенки полого трубчатого элемента составляет приблизительно 0,25 миллиметра.
Вдоль полого трубчатого элемента на расстоянии 12 миллиметров от расположенного выше по ходу потока конца полого трубчатого элемента и на расстоянии 29 миллиметров от расположенного выше по ходу потока конца расположенного выше по ходу потока элемента (или расположенного выше по ходу потока конца генерирующего аэрозоль изделия) обеспечена зона вентиляции, содержащая круговой ряд отверстий.
Мундштучный элемент имеет форму фильтрующего сегмента из ацетилцеллюлозы низкой плотности.
Как рассмотрено выше, настоящее изобретение также относится к генерирующей аэрозоль системе, содержащей генерирующее аэрозоль устройство, имеющее дальний конец и мундштучный конец. Генерирующее аэрозоль устройство может содержать корпус. Корпус или кожух генерирующего аэрозоль устройства может образовывать полость устройства для съемного размещения генерирующего аэрозоль изделия на мундштучном конце устройства. Генерирующее аэрозоль устройство может содержать нагревательный элемент или нагреватель для нагрева генерирующего аэрозоль субстрата, когда генерирующее аэрозоль изделие размещено внутри полости устройства.
Полость устройства может быть названа нагревательной камерой генерирующего аэрозоль устройства. Полость устройства может проходить между дальним концом и мундштучным или ближним концом. Дальний конец полости устройства может представлять собой закрытый конец, а мундштучный или ближний конец полости устройства может представлять собой открытый конец. Генерирующее аэрозоль изделие может быть вставлено в полость устройства или нагревательную камеру через открытый конец полости устройства. Полость устройства может иметь цилиндрическую форму для того, чтобы соответствовать такой же форме генерирующего аэрозоль изделия.
Выражение «размещенный внутри» может относиться к тому факту, что компонент или элемент полностью или частично размещен внутри другого компонента или элемента. Например, выражение «генерирующее аэрозоль изделие размещено внутри полости устройства» относится к генерирующему аэрозоль изделию, которое полностью или частично размещено внутри полости устройства, предназначенной для генерирующего аэрозоль изделия. Когда генерирующее аэрозоль изделие размещено внутри полости устройства, это генерирующее аэрозоль изделие может примыкать к дальнему концу полости устройства. Когда генерирующее аэрозоль изделие размещено внутри полости устройства, это генерирующее аэрозоль изделие может находиться в непосредственной близости к дальнему концу полости устройства. Дальний конец полости устройства может быть образован концевой стенкой.
Длина полости устройства может составлять от приблизительно 10 мм до приблизительно 50 мм. Длина полости устройства может составлять от приблизительно 20 мм до приблизительно 40 мм. Длина полости устройства может составлять от приблизительно 25 мм до приблизительно 30 мм.
Длина полости устройства (или нагревательной камеры) может быть равна длине стержня генерирующего аэрозоль субстрата или превышать ее. Длина полости устройства может быть равна общей длине расположенной выше по ходу потока секции или элемента и стержня генерирующего аэрозоль субстрата или превышать ее. Длина полости устройства может быть такой, чтобы расположенная ниже по ходу потока секция или ее участок были выполнены с возможностью выступания из полости устройства при размещении генерирующего аэрозоль изделия внутри полости устройства. Длина полости устройства может быть такой, чтобы участок расположенной ниже по ходу потока секции (такой как полый трубчатый элемент или мундштучный элемент) был выполнен с возможностью выступания из полости устройства при размещении генерирующего аэрозоль изделия внутри полости устройства. Длина полости устройства может быть такой, чтобы участок расположенной ниже по ходу потока секции (такой как полый трубчатый элемент или мундштучный элемент) был выполнен с возможностью размещения внутри полости устройства при размещении генерирующего аэрозоль изделия внутри полости устройства.
Расположенная ниже по ходу потока секция может быть вставлена в полость устройства или размещена внутри нее по меньшей мере на 25 процентов своей длины при размещении генерирующего аэрозоль изделия внутри устройства. Расположенная ниже по ходу потока секция может быть вставлена в полость устройства или размещена внутри нее по меньшей мере на 30 процентов своей длины при размещении генерирующего аэрозоль изделия внутри устройства.
Полый трубчатый элемент может быть вставлен в полость устройства или размещен внутри нее по меньшей мере на 30 процентов своей длины при размещении генерирующего аэрозоль изделия внутри устройства. Полый трубчатый элемент может быть вставлен в полость устройства или размещен внутри нее по меньшей мере на 40 процентов своей длины при размещении генерирующего аэрозоль изделия внутри устройства. Полый трубчатый элемент может быть вставлен в полость устройства или размещен внутри нее по меньшей мере на 50 процентов своей длины при размещении генерирующего аэрозоль изделия внутри устройства. Различные длины полого трубчатого элемента описаны более подробно в рамках настоящего раскрытия.
Оптимизация размера или длины изделия, которое вставляется в генерирующее аэрозоль устройство, обеспечивает возможность повышения стойкости изделия к случайному выпадению во время использования. В частности, во время нагрева генерирующего аэрозоль субстрата он может сжиматься таким образом, что его внешний диаметр может уменьшиться, тем самым уменьшая усилие, с которым участок изделия, вставленный в устройство, способен осуществлять фрикционное взаимодействие с полостью устройства. Вставляемый участок изделия или участок изделия, выполненный с возможностью размещения внутри полости устройства, может иметь такую же длину, что и полость устройства.
Предпочтительно, длина полости устройства составляет от приблизительно 25 мм до приблизительно 29 мм. Более предпочтительно, длина полости устройства составляет от приблизительно 26 мм до приблизительно 29 мм. Еще более предпочтительно, длина полости устройства составляет приблизительно 27 мм или приблизительно 28 мм.
Предпочтительно, общая длина расположенной выше по ходу потока секции (или элемента) и вставляемого участка расположенной ниже по ходу потока секции или полого трубчатого элемента эквивалентна величине, составляющей от приблизительно 80 процентов до приблизительно 120 процентов длины выступающего участка генерирующего аэрозоль изделия. Вставляемый участок расположенной ниже по ходу потока секции или полого трубчатого элемента или генерирующего аэрозоль изделия относится к тому участку расположенной ниже по ходу потока секции или полого трубчатого элемента или генерирующего аэрозоль изделия, который выполнен с возможностью размещения внутри полости устройства при размещении внутри него (устройства) генерирующего аэрозоль изделия. Выступающий участок генерирующего аэрозоль изделия относится к участку, который выполнен с возможностью расположения за пределами полости устройства или выступает из устройства при размещении в нем генерирующего аэрозоль изделия. Авторами настоящего изобретения было обнаружено, что такая взаимосвязь минимизирует риск случайного выпадения изделия из устройства во время использования, в частности, после потенциального сжатия изделия во время использования. Участок генерирующего аэрозоль изделия, выполненный с возможностью вставки в устройство, предпочтительно является более длинным, чем участок генерирующего аэрозоль изделия, выполненный с возможностью выступания из устройства при размещении генерирующего аэрозоль изделия внутри генерирующего аэрозоль устройства.
Диаметр полости устройства может составлять от приблизительно 4 мм до приблизительно 10 мм. Диаметр полости устройства может составлять от приблизительно 5 мм до приблизительно 9 мм. Диаметр полости устройства может составлять от приблизительно 6 мм до приблизительно 8 мм. Диаметр полости устройства может составлять от приблизительно 7 мм до приблизительно 8 мм. Диаметр полости устройства может составлять от приблизительно 7 мм до приблизительно 7,5 мм.
Диаметр полости устройства может быть по существу равен диаметру генерирующего аэрозоль изделия или превышать его. Диаметр полости устройства может быть равен диаметру генерирующего аэрозоль изделия для образования посадки с натягом с генерирующим аэрозоль изделием.
Полость устройства может быть выполнена с возможностью образования посадки с натягом с генерирующим аэрозоль изделием, размещенным внутри полость устройства. Посадка с натягом может быть названа плотной посадкой. Генерирующее аэрозоль устройство может содержать периферийную стенку. Такая периферийная стенка может образовывать полость устройства или нагревательную камеру. Периферийная стенка, образующая полость устройства, может быть выполнена с возможностью взаимодействия с генерирующим аэрозоль изделием, размещенным внутри полости устройства, за счет посадки с натягом, так что по существу отсутствует зазор или пустое пространство между периферийной стенкой, образующей полость устройства, и генерирующим аэрозоль изделием, когда оно размещено внутри устройства.
Такая посадка с натягом обеспечивает возможность образования герметичной посадки или конфигурации между полостью устройства и размещенным в ней генерирующим аэрозоль изделием.
При такой герметичной конфигурации будет по существу отсутствовать зазор или пустое пространство, предназначенные для прохождения через них воздуха, между периферийной стенкой, образующей полость устройства, и генерирующим аэрозоль изделием.
Посадка с натягом с генерирующим аэрозоль изделием может быть образована вдоль всей длины полости устройства или вдоль части длины полости устройства.
Генерирующее аэрозоль устройство может содержать канал для потока воздуха, проходящий между впускным отверстием канала и выпускным отверстием канала. Канал для потока воздуха может быть выполнен с возможностью обеспечения сообщения по текучей среде между внутренним пространством полости устройства и областью снаружи генерирующего аэрозоль устройства. Канал для потока воздуха генерирующего аэрозоль устройства может быть образован внутри кожуха генерирующего аэрозоль устройства для обеспечения возможности сообщения по текучей среде между внутренним пространством полости устройства и областью снаружи генерирующего аэрозоль устройства. Канал для потока воздуха может быть выполнен с возможностью обеспечения поступления потока воздуха в изделие с целью доставки генерируемого аэрозоля пользователю, осуществляющему затяжку через мундштучный конец изделия, когда генерирующее аэрозоль изделие размещено внутри полости устройства.
Канал для потока воздуха генерирующего аэрозоль устройства может быть образован внутри или посредством периферийной стенки кожуха генерирующего аэрозоль устройства. Другими словами, канал для потока воздуха генерирующего аэрозоль устройства может быть образован в пределах толщины периферийной стенки или посредством внутренней поверхности периферийной стенки или посредством комбинации обоих этих вариантов. Канал для потока воздуха может быть частично образован внутренней поверхностью периферийной стенки, и частично он может быть образован в пределах толщины периферийной стенки. Внутренняя поверхность периферийной стенки образует периферийную границу полости устройства.
Канал для потока воздуха генерирующего аэрозоль устройства может проходить от впускного отверстия, расположенного на мундштучном конце или ближнем конце генерирующего аэрозоль устройства, до выпускного отверстия, расположенного на удалении от мундштучного конца устройства. Канал для потока воздуха может проходить вдоль направления, параллельного продольной оси генерирующего аэрозоль устройства.
Нагреватель может представлять собой нагреватель любого подходящего типа. Предпочтительно, в настоящем изобретении нагреватель представляет собой внешний нагреватель.
Предпочтительно, нагреватель может осуществлять внешний нагрев генерирующего аэрозоль изделия, когда оно размещено внутри генерирующего аэрозоль устройства. Такой внешний нагреватель может окружать генерирующее аэрозоль изделие, когда оно вставлено в генерирующее аэрозоль устройство или размещено внутри него.
В некоторых вариантах осуществления нагреватель выполнен с возможностью нагрева внешней поверхности генерирующего аэрозоль субстрата. В некоторых вариантах осуществления нагреватель выполнен с возможностью вставки в генерирующий аэрозоль субстрат при размещении генерирующего аэрозоль субстрата внутри указанной полости. Нагреватель может быть расположен внутри полости устройства или нагревательный камеры.
Нагреватель может содержать по меньшей мере один нагревательный элемент. Указанный по меньшей мере один нагревательный элемент может представлять собой нагревательный элемент любого подходящего типа. В некоторых вариантах осуществления устройство содержит только один нагревательный элемент. В некоторых вариантах осуществления устройство содержит множество нагревательных элементов. Нагреватель может содержать по меньшей мере один резистивный нагревательный элемент. Предпочтительно, нагреватель содержит множество резистивных нагревательных элементов. Предпочтительно, резистивные нагревательные элементы электрически соединены в виде параллельной компоновки. Обеспечение множества резистивных нагревательных элементов, электрически соединенных в виде параллельной компоновки, обеспечивает преимущество, состоящее в возможности содействия подаче требуемой электрической мощности на нагреватель при одновременном уменьшении или минимизации напряжения, необходимого для обеспечения требуемой электрической мощности. Уменьшение или минимизация напряжения, необходимого для работы нагревателя, обеспечивает преимущество, состоящее в возможности содействия уменьшению или минимизации физического размера источника питания.
Подходящие материалы для изготовления указанного по меньшей мере одного резистивного нагревательного элемента включают в себя, без ограничения: полупроводники, такие как легированная керамика, электрически «проводящую» керамику (например такую, как дисилицид молибдена), углерод, графит, металлы, сплавы металлов и композитные материалы, изготовленные из керамического материала и металлического материала. Такие композитные материалы могут содержать легированную или нелегированную керамику. Примеры подходящей легированной керамики включают в себя легированные карбиды кремния. Примеры подходящих металлов включают в себя титан, цирконий, тантал и металлы из платиновой группы. Примеры подходящих сплавов металлов включают в себя нержавеющую сталь, никель-, кобальт-, хром-, алюминий-, титан-, цирконий-, гафний-, ниобий-, молибден-, тантал-, вольфрам-, олово-, галлий-, марганец- и железосодержащие сплавы, а также суперсплавы на основе никеля, железа, кобальта, нержавеющей стали, Timetal® и сплавы на основе железа-марганца-алюминия.
В некоторых вариантах осуществления указанный по меньшей мере один резистивный нагревательный элемент содержит один или более штампованных участков из электрически резистивного материала, такого как нержавеющая сталь. В качестве альтернативы, указанный по меньшей мере один резистивный нагревательный элемент может содержать нагревательную проволоку или нить, например проволоку из Ni-Cr (никель-хрома), платины, вольфрама или сплава.
В некоторых вариантах осуществления указанный по меньшей мере один нагревательный элемент содержит электроизоляционную подложку, причем указанный по меньшей мере один резистивный нагревательный элемент обеспечен на указанной электроизоляционной подложке.
Электроизоляционная подложка может содержать любой подходящий материал. Например, электроизоляционная подложка может содержать одно или более из следующего: бумагу, стекло, керамику, анодированный металл, металл с покрытием и полиимид. Керамика может содержать слюду, оксид алюминия (Al2O3) или диоксид циркония (ZrO2). Предпочтительно, электроизоляционная подложка имеет теплопроводность, меньшую приблизительно 40 ватт на метр-кельвин или равную приблизительно 40 ваттам на метр-кельвин, предпочтительно меньшую приблизительно 20 ватт на метр-кельвин или равную приблизительно 20 ваттам на метр-кельвин, и в идеальном случае меньшую приблизительно 2 ватт на метр-кельвин или равную приблизительно 2 ваттам на метр-кельвин.
Нагреватель может содержать нагревательный элемент, содержащий жесткую электроизоляционную подложку с одной или более электропроводными дорожками или проводом, расположенными на ее поверхности. Размер и форма электроизоляционной подложки могут обеспечивать возможность ее вставки непосредственно в генерирующий аэрозоль субстрат. Если электроизоляционная подложка является недостаточно жесткой, то нагревательный элемент может содержать дополнительные упрочняющие средства. Ток может пропускаться через указанные одну или более электропроводных дорожек для нагрева нагревательного элемента и генерирующего аэрозоль субстрата.
В некоторых вариантах осуществления нагреватель содержит индукционную нагревательную конструкцию. Индукционная нагревательная конструкция может содержать катушку индуктивности и источник питания, выполненный с возможностью подачи высокочастотного колебательного тока на катушку индуктивности. Используемый в настоящем документе термин «высокочастотный колебательный ток» обозначает колебательный ток с частотой от приблизительно 500 кГц до приблизительно 30 МГц. Нагреватель может в качестве преимущества содержать преобразователь постоянного тока в переменный ток для преобразования постоянного тока, подаваемого источником питания постоянного тока, в переменный ток. Катушка индуктивности может быть выполнена с возможностью генерирования высокочастотного колебательного электромагнитного поля при приеме высокочастотного колебательного тока от источника питания. Катушка индуктивности может быть выполнена с возможностью генерирования высокочастотного колебательного электромагнитного поля в полости устройства. В некоторых вариантах осуществления катушка индуктивности может по существу окружать полость устройства. Катушка индуктивности может проходить по меньшей мере частично вдоль длины полости устройства.
Нагреватель может содержать индукционный нагревательный элемент. Индукционный нагревательный элемент может представлять собой токоприемный элемент. Используемый в настоящем документе термин «токоприемный элемент» относится к элементу, содержащему материал, который способен преобразовывать электромагнитную энергию в тепло. Когда токоприемный элемент находится в переменном электромагнитном поле, происходит нагрев токоприемника. Нагрев токоприемного элемента может представлять собой результат по меньшей мере одного из потерь на гистерезис и вихревых токов, индуцируемых в токоприемнике, в зависимости от электрических и магнитных свойств токоприемного материала.
Токоприемный элемент может быть выполнен таким образом, чтобы при нахождении генерирующего аэрозоль изделия в полости генерирующего аэрозоль устройства, колебательное электромагнитное поле, генерируемое индукционной катушкой, индуцировало ток в токоприемном элементе, что приводит к нагреву токоприемного элемента. В этих вариантах осуществления генерирующее аэрозоль устройство предпочтительно способно генерировать флуктуационное электромагнитное поле, имеющее напряженность магнитного поля (напряженность Н-поля) от 1 до 5 килоампер на метр (кА/м), предпочтительно от 2 до 3 кА/м, например приблизительно 2,5 кА/м. Электрическое генерирующее аэрозоль устройство предпочтительно способно генерировать флуктуационное электромагнитное поле, имеющее частоту от 1 до 30 МГц, например от 1 до 10 МГц, например от 5 до 7 МГц.
В этих вариантах осуществления токоприемный элемент предпочтительно расположен в контакте с генерирующим аэрозоль субстратом. В некоторых вариантах осуществления токоприемный элемент расположен в генерирующем аэрозоль устройстве. В этих вариантах осуществления токоприемный элемент может быть расположен в указанной полости. Генерирующее аэрозоль устройство может содержать только один токоприемный элемент. Генерирующее аэрозоль устройство может содержать множество токоприемных элементов. В некоторых вариантах осуществления токоприемный элемент предпочтительно выполнен с возможностью нагрева внешней поверхности генерирующего аэрозоль субстрата.
Токоприемный элемент может содержать любой подходящий материал. Токоприемный элемент может выполнен из любого материала, который может быть подвергнут индукционному нагреву до температуры, достаточной для выделения летучих соединений из генерирующего аэрозоль субстрата. Подходящие материалы для удлиненного токоприемного элемента включают в себя графит, молибден, карбид кремния, нержавеющие стали, ниобий, алюминий, никель, никелевые соединения, титан и композиты из металлических материалов. Некоторые токоприемные элементы содержат металл или углерод. В качестве преимущества, токоприемный элемент может содержать ферромагнитный материал, например ферритное железо, ферромагнитный сплав, такой как ферромагнитная сталь или нержавеющая сталь, ферромагнитные частицы и феррит, или он может состоять из вышеперечисленных. Подходящий токоприемный элемент может состоять из алюминия или содержать его. Токоприемный элемент предпочтительно содержит больше приблизительно 5 процентов, предпочтительно более приблизительно 20 процентов, более предпочтительно больше приблизительно 50 процентов или больше приблизительно 90 процентов ферромагнитных или парамагнитных материалов. Некоторые удлиненные токоприемные элементы могут быть нагреты до температуры свыше приблизительно 250 градусов по Цельсию.
Токоприемный элемент может содержать неметаллический сердечник с металлическим слоем, расположенным на неметаллическом сердечнике. Например, токоприемный элемент может содержать металлические дорожки, выполненные на внешней поверхности керамического сердечника или субстрата.
В некоторых вариантах осуществления генерирующее аэрозоль устройство может содержать по меньшей мере один резистивный нагревательный элемент и по меньшей мере один индукционный нагревательный элемент. В некоторых вариантах осуществления генерирующее аэрозоль устройство может содержать комбинацию резистивных нагревательных элементов и индукционных нагревательных элементов.
Во время использования управление нагревателем может осуществляться таким образом, чтобы он работал в пределах определенного диапазона рабочей температуры, лежащего ниже максимальной рабочей температуры. Предпочтительным является диапазон рабочей температуры от приблизительно 150 градусов по Цельсию до приблизительно 300 градусов по Цельсию в нагревательной камере (или в полости устройства). Например, диапазон рабочей температуры нагревателя может составлять от приблизительно 150 градусов по Цельсию до приблизительно 250 градусов по Цельсию.
Предпочтительно, диапазон рабочей температуры нагревателя может составлять от приблизительно 150 градусов по Цельсию до приблизительно 200 градусов по Цельсию. Более предпочтительно, диапазон рабочей температуры нагревателя может составлять от приблизительно 180 градусов по Цельсию до приблизительно 200 градусов по Цельсию. В частности, было обнаружено, что оптимальная и стабильная подача аэрозоля может быть достигнута при использовании генерирующего аэрозоль устройства, содержащего внешний нагреватель, который имеет диапазон рабочей температуры от приблизительно 180 градусов по Цельсию до приблизительно 200 градусов по Цельсию, с генерирующими аэрозоль изделиями, имеющими сравнительно низкое сопротивление затяжке (например, с расположенной ниже по ходу потока секцией, имеющей сопротивление затяжке меньше 15 мм H2O), как указано в настоящем раскрытии.
В тех вариантах осуществления, в которых генерирующее аэрозоль изделие содержит зону вентиляции в месте, расположенном вдоль расположенной ниже по ходу потока секции или полого трубчатого элемента, эта зона вентиляции может быть расположена таким образом, чтобы она была открыта, когда генерирующее аэрозоль изделие размещено внутри полости устройства. Таким образом, длина полости устройства или нагревательной камеры может быть меньше, чем расстояние от расположенного выше по ходу потока конца генерирующего аэрозоль изделия до зоны вентиляции, расположенной вдоль расположенной ниже по ходу потока секции. Другими словами, когда генерирующее аэрозоль изделие размещено внутри генерирующего аэрозоль устройства, расстояние между зоной вентиляции и расположенным выше по ходу потока концом расположенного выше по ходу потока элемента может быть больше длины нагревательной камеры.
Когда изделие размещено в полости устройства, зона вентиляции может быть расположена на расстоянии по меньшей мере 0,5 мм (в направлении ниже по ходу потока изделия) от мундштучного конца (или мундштучной концевой поверхности) полости устройства или самого устройства. Когда изделие размещено в полости устройства, зона вентиляции может быть расположена на расстоянии по меньшей мере 1 мм (в направлении ниже по ходу потока изделия) от мундштучного конца (или мундштучной концевой поверхности) полости устройства или самого устройства. Когда изделие размещено в полости устройства, зона вентиляции может быть расположена на расстоянии по меньшей мере 2 мм (в направлении ниже по ходу потока изделия) от мундштучного конца (или мундштучной концевой поверхности) полости устройства или самого устройства.
Предпочтительно, соотношение между расстоянием между зоной вентиляции и расположенным выше по ходу потока концом расположенного выше по ходу потока элемента и длиной нагревательной камеры составляет от приблизительно 1,03 до приблизительно 1,13.
Такое расположение зоны вентиляции обеспечивает отсутствие запирания зоны вентиляции внутри самой полости устройства, одновременно с этим минимизируя также риск запирания губами или руками пользователя, поскольку зона вентиляции, насколько это практически возможно без ее запирания внутри полости устройства, находится в самом крайнем расположенном выше по ходу потока месте относительно расположенного ниже по ходу потока конца изделия.
Генерирующее аэрозоль устройство может содержать источник питания. Источник питания может представлять собой источник питания постоянного тока. В некоторых вариантах осуществления источник питания представляет собой батарею. Источник питания может представлять собой никель-металлогидридную батарею, никель-кадмиевую батарею или батарею на основе лития, например литий-кобальтовую, литий-железо-фосфатную или литий-полимерную батарею. Однако в некоторых вариантах осуществления источник питания может представлять собой устройство накопления заряда другого типа, такое как конденсатор. Источник питания может нуждаться в перезарядке, и он может иметь емкость, обеспечивающую возможность накопления достаточного количества энергии для одной или более осуществляемых пользователем операций, например одного или более сеансов генерирования аэрозоля. Например, источник питания может иметь достаточную емкость для обеспечения возможности непрерывного нагрева генерирующего аэрозоль субстрата в течение периода времени, равного приблизительно шести минутам, что соответствует обычному времени, необходимому для выкуривания обычной сигареты, или в течение периода, кратного шести минутам. В еще одном примере источник питания может иметь достаточную емкость для обеспечения возможности осуществления заданного количества затяжек или отдельных активаций нагревателя.
Ниже представлен неисчерпывающий перечень неограничивающих примеров. Любые один или более из признаков этих примеров могут комбинироваться с любыми одним или более признаками другого примера, варианта осуществления или аспекта, описанных в настоящем документе.
Пример 1 Генерирующее аэрозоль изделие, содержащее: стержень генерирующего аэрозоль субстрата; и расположенную ниже по ходу потока секцию, обеспеченную ниже по ходу потока относительно стержня генерирующего аэрозоль субстрата, причем расположенная ниже по ходу потока секция содержит по меньшей мере один полый трубчатый элемент.
Пример 2 Генерирующее аэрозоль изделие согласно примеру 1, дополнительно содержащее расположенную выше по ходу потока секцию, обеспеченную выше по ходу потока относительно стержня генерирующего аэрозоль субстрата, причем расположенная выше по ходу потока секция содержит по меньшей мере один расположенный выше по ходу потока элемент.
Пример 3 Генерирующее аэрозоль изделие согласно примеру 2, в котором расположенный выше по ходу потока элемент имеет длину от 2 миллиметров до 8 миллиметров.
Пример 4 Генерирующее аэрозоль изделие согласно примеру 1 или 2, в котором расположенный выше по ходу потока элемент выполнен из полого трубчатого сегмента, образующего продольную полость, обеспечивающую свободный канал для потока.
Пример 5 Генерирующее аэрозоль изделие согласно примеру 4, в котором продольная полость полого трубчатого сегмента имеет диаметр по меньшей мере 5 миллиметров.
Пример 6 Генерирующее аэрозоль изделие согласно примеру 4 или 5, в котором полый трубчатый сегмент имеет толщину стенки меньше 1 миллиметра.
Пример 7 Генерирующее аэрозоль изделие согласно любому из примеров 2-6, в котором расположенный выше по ходу потока элемент имеет сопротивление затяжке меньше 2 мм H2O.
Пример 8 Генерирующее аэрозоль изделие согласно любому из примеров 2-7, в котором расположенный выше по ходу потока конец расположенного выше по ходу потока элемента образует расположенный выше по ходу потока конец генерирующего аэрозоль изделия.
Пример 9 Генерирующее аэрозоль изделие согласно любому предыдущему пункту, дополнительно содержащее зону вентиляции.
Пример 10 Генерирующее аэрозоль изделие согласно примеру 9, в котором зона вентиляции обеспечена в месте вдоль полого трубчатого элемента расположенной ниже по ходу потока секции.
Пример 11 Генерирующее аэрозоль изделие согласно примеру 9 или 10, в котором зона вентиляции обеспечена на расстоянии от 26 миллиметров до 33 миллиметров от расположенного выше по ходу потока конца изделия.
Пример 12 Генерирующее аэрозоль изделие согласно примеру 9 или 10, в котором зона вентиляции обеспечена на расстоянии от 27 миллиметров до 31 миллиметра от расположенного выше по ходу потока конца изделия.
Пример 13 Генерирующее аэрозоль изделие согласно любому из примеров 9-12, в котором зона вентиляции обеспечена на расстоянии от 12 миллиметров до 20 миллиметров от расположенного ниже по ходу потока конца изделия.
Пример 14 Генерирующее аэрозоль изделие согласно любому из примеров 9-13, в котором зона вентиляции обеспечена на расстоянии по меньшей мере 10 миллиметров ниже по ходу потока от расположенного ниже по ходу потока конца стержня генерирующего аэрозоль субстрата.
Пример 15 Генерирующее аэрозоль изделие согласно любому предыдущему примеру, в котором полый трубчатый элемент расположенной ниже по ходу потока секции имеет длину от приблизительно 17 миллиметров до приблизительно 25 миллиметров.
Пример 16 Генерирующее аэрозоль изделие согласно любому предыдущему примеру, в котором полый трубчатый элемент расположенной ниже по ходу потока секции имеет внутренний объем по меньшей мере 300 кубических миллиметров.
Пример 17 Генерирующее аэрозоль изделие согласно любому предыдущему примеру, в котором стержень генерирующего аэрозоль субстрата имеет длину от 8 миллиметров до 16 миллиметров.
Пример 18 Генерирующее аэрозоль изделие согласно любому предыдущему примеру, в котором стержень генерирующего аэрозоль субстрата имеет сопротивление затяжке от 4 мм H2O до 10 мм H2O.
Пример 19 Генерирующее аэрозоль изделие согласно любому предыдущему примеру, в котором генерирующий аэрозоль субстрат содержит измельченный табачный материал.
Пример 20 Генерирующее аэрозоль изделие согласно примеру 19, в котором измельченный табачный материал имеет среднюю плотность от 150 миллиграмм на кубический сантиметр до 500 миллиграмм на кубический сантиметр.
Пример 21 Генерирующее аэрозоль изделие согласно любому предыдущему примеру, в котором генерирующий аэрозоль субстрат содержит одно или более веществ для образования аэрозоля, причем содержание вещества для образования аэрозоля в генерирующем аэрозоль субстрате составляет от 10 процентов до 20 процентов в пересчете на сухой вес.
Пример 22 Генерирующее аэрозоль изделие согласно примеру 19, в котором вещество для образования аэрозоля содержит одно или более из глицерина и пропиленгликоля.
Пример 23 Генерирующее аэрозоль изделие согласно любому предыдущему примеру, в котором генерирующий аэрозоль субстрат содержит резаный табачный наполнитель.
Пример 24 Генерирующее аэрозоль изделие согласно любому предыдущему примеру, в котором расположенная ниже по ходу потока секция дополнительно содержит мундштучный элемент.
Пример 25 Генерирующее аэрозоль изделие согласно примеру 24, в котором мундштучный элемент содержит по меньшей мере один мундштучный фильтрующий сегмент, выполненный из волокнистого фильтрующего материала.
Пример 26 Генерирующее аэрозоль изделие согласно примеру 24 или 25, в котором длина мундштучного элемента составляет от 3 миллиметров до 11 миллиметров.
Пример 27 Генерирующее аэрозоль изделие согласно любому из примеров 24-26, в котором мундштучный элемент имеет сопротивление затяжке от 4 мм H2O до 11 мм H2O.
Пример 28 Генерирующее аэрозоль изделие согласно любому из примеров 24-27, в котором общая длина полого трубчатого элемента и мундштучного элемента расположенной ниже по ходу потока секции составляет от 24 миллиметров до 32 миллиметров.
Пример 29 Генерирующее аэрозоль изделие согласно любому предыдущему примеру, имеющее сопротивление затяжке от 20 мм H2O до 22 мм H2O.
Пример 30 Генерирующее аэрозоль изделие согласно любому предыдущему примеру, в котором внешний диаметр изделия является по существу постоянным по его длине.
Пример 31 Генерирующее аэрозоль изделие согласно любому предыдущему примеру, имеющее уровень вентиляции от 10 процентов до 30 процентов.
Пример 32 Генерирующее аэрозоль устройство согласно любому предыдущему примеру, в котором
Пример 33 Генерирующая аэрозоль система, содержащая генерирующее аэрозоль изделие согласно любому из предыдущих примеров и генерирующее аэрозоль устройство, содержащее нагревательную камеру для размещения генерирующего аэрозоль изделия и по меньшей мере нагревательный элемент, обеспеченный на или вокруг периферии нагревательной камеры.
Далее изобретение будет дополнительно описано со ссылкой на сопроводительные чертежи, на которых:
на Фиг. 1 показан схематический вид сбоку в перспективе генерирующего аэрозоль изделия согласно варианту осуществления настоящего изобретения;
на Фиг. 2 показан схематический вид сбоку в разрезе генерирующего аэрозоль изделия согласно варианту осуществления настоящего изобретения; и
на Фиг. 3 показан схематический вид сбоку в разрезе генерирующей аэрозоль системы, содержащей генерирующее аэрозоль изделие согласно варианту осуществления настоящего изобретения и генерирующее аэрозоль устройство.
Генерирующее аэрозоль изделие 10, показанное на Фиг. 1, содержит стержень 12 генерирующего аэрозоль субстрата, и расположенную ниже по ходу потока секцию 14 в местоположении ниже по ходу потока относительно стержня 12 генерирующего аэрозоль субстрата. Таким образом, генерирующее аэрозоль изделие 10 проходит от расположенного выше по ходу потока или дальнего конца 16, который по существу совпадает с расположенным выше по ходу потока концом стержня 12, до расположенного ниже по ходу потока или мундштучного конца 18, который совпадает с расположенным ниже по ходу потока концом расположенной ниже по ходу потока секции 14. Расположенная ниже по ходу потока секция 14 содержит полый трубчатый элемент 20 и мундштучный элемент 50.
Генерирующее аэрозоль изделие 10 имеет общую длину приблизительно 45 миллиметров и внешний диаметр приблизительно 7,2 мм.
Стержень генерирующего аэрозоль субстрата 12 может содержать измельченный табачный материал. Стержень генерирующего аэрозоль субстрата 12 содержит 150 миллиграмм измельченного табачного материала, содержащего от 13 процентов по весу до 16 процентов по весу глицерина. Плотность генерирующего аэрозоль субстрата составляет приблизительно 300 мг на кубический сантиметр. Сопротивление затяжке стержня генерирующего аэрозоль субстрата 12 составляет от приблизительно 6 до 8 мм H2O. Стержень генерирующего аэрозоль субстрата 12 индивидуально обернут в фицеллу (не показана). Фицелла (не показана), в которую обернут стержень генерирующего аэрозоль субстрата, содержит непористую бумагу, имеющую граммаж приблизительно 25 грамм на квадратный метр (г/м2) и толщину приблизительно 40 микрометров.
Полый трубчатый элемент 20 расположен ниже по ходу потока относительно стержня 12 генерирующего аэрозоль субстрата в непосредственной близости к нему и выровнен в продольном направлении со стержнем 12. Расположенный выше по ходу потока полый трубчатый элемент 20 примыкает к расположенному ниже по ходу потока концу стержня 12 генерирующего аэрозоль субстрата.
Полый трубчатый элемент 20 образует полую секцию генерирующего аэрозоль изделия 10. Полый трубчатый элемент не вносит существенного вклада в общее сопротивление затяжке генерирующего аэрозоль изделия. Более конкретно, сопротивление затяжке полого трубчатого элемента 20 составляет приблизительно 0 мм H2O.
Как показано на Фиг. 2, полый трубчатый элемент 20 обеспечен в виде полой цилиндрической трубки, изготовленной из картона. Полый трубчатый элемент 20 образует внутреннюю полость 22, которая проходит на все расстояние от расположенного выше по ходу потока конца полого трубчатого элемента 20 до расположенного ниже по ходу потока конца полого трубчатого элемента 20. Внутренняя полость 22 является по существу пустой, и таким образом обеспечена возможность по существу беспрепятственного протекания потока воздуха вдоль внутренней полости 22. Полый трубчатый элемент 20 не вносит существенного вклада в общее сопротивление затяжке генерирующего аэрозоль изделия 10.
Полый трубчатый элемент 20 имеет длину приблизительно 21 миллиметр, внешний диаметр приблизительно 7,2 миллиметра и внутренний диаметр приблизительно 6,7 миллиметра. Таким образом, толщина периферийной стенки полого трубчатого элемента 20 составляет приблизительно 0,25 миллиметра.
Генерирующее аэрозоль изделие 10 содержит зону 30 вентиляции, обеспеченную в месте вдоль полого трубчатого элемента 20. Более конкретно, зона 30 вентиляции обеспечена на расстоянии приблизительно 16 миллиметров от расположенного ниже по ходу потока конца 18 изделия 10. Зона 30 вентиляции обеспечена на расстоянии приблизительно 12 мм ниже по ходу потока от расположенного ниже по ходу потока конца стержня 12 генерирующего аэрозоль субстрата. Зона 30 вентиляции обеспечена на расстоянии приблизительно 9 мм выше по ходу потока от расположенного выше по ходу потока конца мундштучного элемента 50. Зона 30 вентиляции содержит окружной ряд отверстий или перфораций, окружающих полый трубчатый элемент 20. Перфорационные отверстия зоны 30 вентиляции проходят через стенку полого трубчатого элемента 20 для обеспечения возможности проникновения текучей среды во внутреннюю полость 22 из области снаружи изделия 10. Уровень вентиляции генерирующего аэрозоль изделия 10 составляет приблизительно 16 процентов.
Сверху стержня 12 генерирующего аэрозоль субстрата и расположенной ниже по ходу потока секции 14, которая расположена ниже по ходу потока относительно стержня 12, генерирующее аэрозоль изделие 100 содержит расположенную выше по ходу потока секцию 40, которая расположена выше по ходу потока относительно стержня 12. Таким образом, генерирующее аэрозоль изделие 10 проходит от дальнего конца 16, по существу совпадающего с расположенным выше по ходу потока концом расположенной выше по ходу потока секции 40, до мундштучного конца или расположенного ниже по ходу потока концу 18, по существу совпадающего с расположенным ниже по ходу потока концом расположенной ниже по ходу потока секции 14.
Расположенная выше по ходу потока секция 40 содержит расположенный выше по ходу потока элемент 42, который расположен выше по ходу потока относительно стержня 12 генерирующего аэрозоль субстрата в непосредственной близости к нему, причем расположенный выше по ходу потока элемент 42 выровнен в продольном направлении со стержнем 12. Расположенный ниже по ходу потока конец расположенного выше по ходу потока элемента 42 примыкает к расположенному выше по ходу потока концу стержня 12 генерирующего аэрозоль субстрата. Расположенный выше по ходу потока элемент 42 обеспечен в виде полой цилиндрической заглушки из ацетилцеллюлозного жгута, имеющей толщину стенки приблизительно 1 мм и образующей внутреннюю полость 23. Расположенный выше по ходу потока элемент 42 имеет длину приблизительно 5 миллиметров. Внешний диаметр расположенного выше по ходу потока элемента 42 составляет приблизительно 7,1 мм. Внутренний диаметр расположенного выше по ходу потока элемента 42 составляет приблизительно 5,1 мм.
Мундштучный элемент 50 проходит от расположенного ниже по ходу потока конца полого трубчатого элемента 20 до расположенного ниже по ходу потока или мундштучного конца генерирующего аэрозоль изделия 10. Мундштучный элемент 50 имеет длину приблизительно 7 мм. Внешний диаметр мундштучного элемента 50 составляет приблизительно 7,2 мм. Мундштучный элемент50 содержит фильтрующий сегмента из ацетилцеллюлозы низкой плотности. Сопротивление затяжке мундштучного элемента 50 составляет приблизительно 8 мм H2O. Мундштучный элемент 50 может быть индивидуально обернут в фицеллу (не показана).
Как показано на Фиг. 1 и 2, изделие 10 содержит расположенную выше по ходу потока обертку 44, окружающую расположенный выше по ходу потока элемент 42, генерирующий аэрозоль субстрат 12 и полый трубчатый элемент 20. Зона 30 вентиляции может также содержать окружной ряд перфорационных отверстий, обеспеченных в расположенной выше по ходу потока обертке 44. Перфорационные отверстия расположенной выше по ходу потока обертки 44 перекрываются с перфорационными отверстиями, обеспеченными в полом трубчатом элементе 20. Соответственно, расположенная выше по ходу потока обертка 44 перекрывается с перфорационными отверстиями зоны 30 вентиляции, обеспеченными в полом трубчатом элементе 20.
Изделие 10 также содержит ободковую обертку 52, окружающую полый трубчатый элемент 20 и мундштучный элемент 50. Ободковая обертка 52 перекрывается с участком расположенной выше по ходу потока обертки 44, которая перекрывается с полым трубчатым элементом 20. Таким образом, ободковая обертка 52 эффективно соединяет мундштучный элемент 50 с остальными компонентами изделия 10. Ширина ободковой обертки 52 составляет приблизительно 26 мм. В дополнение, зона 30 вентиляции может содержать окружной ряд перфорационных отверстий, обеспеченных в ободковой обертке 52. Перфорационные отверстия ободковой обертки 52 перекрываются с перфорационными отверстиями, обеспеченными в полом трубчатом элементе 20 и расположенной выше по ходу потока обертке 44. Соответственно, ободковая обертка 52 перекрывается с перфорационными отверстиями зоны 30 вентиляции, обеспеченными в полом трубчатом элементе 20 и расположенной выше по ходу потока обертке 44.
На Фиг. 3 показана генерирующая аэрозоль система 100, содержащая приведенное в качестве примера генерирующее аэрозоль устройство 1 и генерирующее аэрозоль изделие 10, эквивалентное тому, которое показано на Фиг. 1 и 2. На Фиг. 3 показан расположенный ниже по ходу потока мундштучный концевой участок генерирующего аэрозоль устройства 1, в котором образована полость устройства и может быть размещено генерирующее аэрозоль изделие 10. Генерирующее аэрозоль устройство 1 содержит кожух (или корпус) 4, проходящий между мундштучным концом 2 и дальним концом (не показан). Кожух 4 содержит периферийную стенку 6. Периферийная стенка 6 образует полость устройства для размещения генерирующего аэрозоль изделия 10. Полость устройства образована закрытым дальним концом и открытым мундштучным концом. Мундштучный конец полости устройства расположен на мундштучном конце генерирующего аэрозоль устройства 1. Генерирующее аэрозоль изделие 10 выполнено с возможностью размещения через мундштучный конец полости устройства и с возможностью примыкания к закрытому концу полости устройства.
Внутри периферийной стенки 6 образован канал 5 для потока воздуха в устройстве. Канал 5 для потока воздуха проходит между впускным отверстием 7, расположенным на мундштучном конце генерирующего аэрозоль устройства 1, и закрытым концом полости устройства. Воздух может поступать в генерирующий аэрозоль субстрат 12 через отверстие (не показано), выполненное на закрытом конце полости устройства и обеспечивающее сообщение по текучей среде между каналом 5 для потока воздуха генерирующим аэрозоль субстратом 12.
Генерирующее аэрозоль устройство 1 дополнительно содержит нагреватель (не показан) и источник питания (не показан) для подачи мощности на нагреватель. Также обеспечен контроллер (не показан) для управления такой подачей мощности на нагреватель. Нагреватель выполнен с возможностью управляемого нагрева генерирующего аэрозоль изделия 10 во время использования, когда генерирующее аэрозоль изделие 1 размещено внутри устройства 1. Нагреватель предпочтительно расположен с возможностью внешнего нагрева генерирующего аэрозоль субстрата 12 для оптимального генерирования аэрозоля. Зона 30 вентиляции расположена таким образом, что она является открытой, когда генерирующее аэрозоль изделие 10 размещено внутри генерирующего аэрозоль устройства 1.
В варианте осуществления, показанном на Фиг. 3, полость устройства, образованная периферийной стенкой 6, имеет длину 28 мм. Когда изделие 10 размещено внутри полости устройства, расположенная выше по ходу потока секция 40, стержень генерирующего аэрозоль субстрата 12 и расположенный выше по ходу потока участок полого трубчатого элемента 20 оказываются размещенными внутри полости устройства. Длина такого расположенного выше по ходу потока участка полого трубчатого элемента 20 составляет 11 мм. Соответственно, участок изделия 10 длиной приблизительно 28 мм располагается внутри устройства 1, и участок изделия 10 длиной приблизительно 17 мм располагается снаружи устройства 1. Другими словами, изделие 10 выступает из устройства 1 приблизительно на 17 мм, когда изделие 10 размещено внутри него. Такая длина PL участка изделия 10, выступающего из устройства 1, показана на Фиг. 3.
В результате обеспечено преимущество, состоящее в том, что зона вентиляции 30 расположена снаружи устройства 1, когда изделие 10 вставлено в устройство 1. Если полость устройства имеет длину 28 мм, то зона 30 вентиляции расположена на 1 мм ниже по ходу потока относительно мундштучного конца 2 устройства 1, когда изделие 10 размещено внутри устройства 1. Для целей настоящего описания и приложенной формулы изобретения, за исключением случаев, когда указано иное, все числа, выражающие величины, количества, процентные доли и так далее, следует понимать как модифицированные во всех случаях наречием «приблизительно». Кроме того, все диапазоны включают раскрытые точки максимума и минимума и любые промежуточные диапазоны между ними, которые могут быть, а могут и не быть конкретно представлены в численной форме в настоящем документе. Поэтому в этом контексте число А понимают как А ± 10% А. В этом контексте число А можно считать включающим численные значения, находящиеся в пределах обычной стандартной погрешности, для измерения того свойства, которое модифицирует число А. Число А в некоторых случаях при использовании в приложенной формуле изобретения может отклоняться на приведенные выше процентные доли при условии, что величина, на которую отклоняется А, существенно не влияет на основную и новую характеристику (характеристики) заявленного изобретения. Кроме того, все диапазоны включают раскрытые точки максимума и минимума и любые промежуточные диапазоны между ними, которые могут быть, а могут и не быть конкретно представлены в численной форме в настоящем документе.
Группа изобретений относится к табачной промышленности, в частности к устройствам, имитирующим процесс табакокурения. Генерирующее аэрозоль изделие (10) содержит стержень генерирующего аэрозоль субстрата (12). Генерирующий аэрозоль субстрат содержит одно или более веществ для образования аэрозоля. Содержание вещества для образования аэрозоля в образующем аэрозоль субстрате составляет от 10 процентов до 20 процентов по весу в пересчете на сухой вес. Генерирующее аэрозоль изделие содержит мундштучный элемент (50), расположенный ниже по ходу потока относительно стержня генерирующего аэрозоль субстрата. Мундштучный элемент содержит по меньшей мере один мундштучный фильтрующий сегмент, выполненный из волокнистого фильтрующего материала. Сопротивление затяжке мундштучного фильтрующего сегмента составляет от 4 мм H2O до 11 мм H2O. Генерирующее аэрозоль изделие содержит полый трубчатый элемент (20). Полый трубчатый элемент обеспечен между стержнем генерирующего аэрозоль субстрата и мундштучным элементом. Общая длина полого трубчатого элемента и мундштучного элемента составляет от 24 мм до 32 мм. Генерирующая аэрозоль система (100) содержит заявленное генерирующее аэрозоль изделие (10) и генерирующее аэрозоль устройство (1), содержащее нагревательную камеру для размещения генерирующего аэрозоль изделия и по меньшей мере нагревательный элемент, обеспеченный в нагревательной камере или вокруг ее периферии. Достигается технический результат – увеличение фазы полезного охлаждения и нуклеации аэрозоля, а также обеспечение низкой изменчивости сопротивления затяжке. 2 н. и 13 з.п. ф-лы, 3 ил.
1. Генерирующее аэрозоль изделие, содержащее:
стержень генерирующего аэрозоль субстрата, причём генерирующий аэрозоль субстрат содержит одно или более веществ для образования аэрозоля, причем содержание вещества для образования аэрозоля в генерирующем аэрозоль субстрате составляет от 10 процентов до 20 процентов в пересчете на сухой вес;
мундштучный элемент, расположенный ниже по ходу потока относительно стержня генерирующего аэрозоль субстрата, причем мундштучный элемент содержит по меньшей мере один мундштучный фильтрующий сегмент, выполненный из волокнистого фильтрующего материала, и сопротивление затяжке мундштучного фильтрующего сегмента составляет от 4 мм H2O до 11 мм H2O; и
полый трубчатый элемент, расположенный между стержнем генерирующего аэрозоль субстрата и мундштучным элементом,
причем общая длина полого трубчатого элемента и мундштучного элемента составляет от 24 мм до 32 мм.
2. Генерирующее аэрозоль изделие по п. 1, в котором внутренний объем, образованный полым трубчатым элементом, составляет по меньшей мере 300 кубических миллиметров.
3. Генерирующее аэрозоль изделие по любому из пп. 1 или 2, дополнительно содержащее расположенный выше по ходу потока элемент, обеспеченный выше по ходу потока относительно стержня генерирующего аэрозоль субстрата.
4. Генерирующее аэрозоль изделие по п. 3, в котором расположенный выше по ходу потока элемент имеет сопротивление затяжке меньше приблизительно 2 мм H2O.
5. Генерирующее аэрозоль изделие по любому из предыдущих пунктов, в котором сопротивление затяжке мундштучного фильтрующего сегмента составляет от приблизительно 6 мм H2O до приблизительно 10 мм H2O.
6. Генерирующее аэрозоль изделие по любому из предыдущих пунктов, имеющее сопротивление затяжке от 20 мм H2O до 22 мм H2O.
7. Генерирующее аэрозоль изделие по любому из предыдущих пунктов, в котором полый трубчатый элемент состоит из непрерывного полого трубчатого сегмента.
8. Генерирующее аэрозоль изделие по любому из предыдущих пунктов, в котором длина полого трубчатого элемента составляет по меньшей мере 15 мм.
9. Генерирующее аэрозоль изделие по любому из предыдущих пунктов, в котором генерирующий аэрозоль субстрат содержит измельченный табачный материал.
10. Генерирующее аэрозоль изделие по п. 9, в котором измельченный табачный материал имеет плотность от 150 мг/см3 до 500 мг/см3.
11. Генерирующее аэрозоль изделие по любому из предыдущих пунктов, в котором длина мундштучного элемента составляет от 3 мм до 11 мм.
12. Генерирующее аэрозоль изделие по любому из предыдущих пунктов, в котором толщина стенки полого трубчатого элемента составляет не больше 2 мм.
13. Генерирующее аэрозоль изделие по любому из предыдущих пунктов, в котором стержень генерирующего аэрозоль субстрата имеет сопротивление затяжке от 4 мм H2O до 10 мм H2O.
14. Генерирующая аэрозоль система, содержащая генерирующее аэрозоль изделие по любому из предыдущих пунктов и генерирующее аэрозоль устройство, содержащее нагревательную камеру для размещения генерирующего аэрозоль изделия и по меньшей мере нагревательный элемент, обеспеченный в нагревательной камере или вокруг ее периферии.
15. Генерирующая аэрозоль система по п. 14, в которой, когда генерирующее аэрозоль изделие размещено внутри генерирующего аэрозоль устройства, полый трубчатый элемент располагается внутри нагревательной камеры по меньшей мере на 30 процентов своей длины.
| 0 |
|
SU183108A1 | |
| ИЗДЕЛИЕ ДЛЯ ИСПОЛЬЗОВАНИЯ В УСТРОЙСТВЕ ДЛЯ НАГРЕВАНИЯ КУРИТЕЛЬНОГО МАТЕРИАЛА | 2017 |
|
RU2718468C1 |
| КУРИТЕЛЬНОЕ ИЗДЕЛИЕ, ИМЕЮЩЕЕ ФИЛЬТР С ПОЛЫМ ТРУБЧАТЫМ СЕГМЕНТОМ | 2017 |
|
RU2720367C2 |
| Способ включения микрофона в цепь накала катодной лампы | 1922 |
|
SU1435A1 |
| Приспособление для суммирования отрезков прямых линий | 1923 |
|
SU2010A1 |
| US 7987857 B2, 02.08.2011. | |||
Авторы
Даты
2025-03-11—Публикация
2021-08-26—Подача