Изобретение относится к измерительной технике и может быть использовано при создании и ремонте подвижного состава железнодорожного транспорта для дефектоскопии силовых пружин: кузовных, буксовых, тележечных и др., и на предприятиях других отраслей промышленности.
При производстве и ремонте электровозов и вагонов в условиях депо пружины контролируют визуально с привлечением методов и средств оптического вида неразрушающего контроля. В основе его лежит прямое использование органов человеческого зрения. Возможности такой технологии ограничены как несостоятельностью технических средств этого контроля, так и особенностями конструкций пружин: их параметрами, массой, конфигурацией, крутизной контролируемых поверхностей. Анализ показывает, что контроль силовых пружин подвижного состава (кузовных, буксовых, тележечных) магнитным видом может быть эффективным только при его исполнении магнитопорошковой технологией с надлежащими схемой намагничивания и процедурой магнитной индикации.
Магнитопорошковый контроль (МПК) может быть успешно реализован при создании в объектах контроля сильных полей намагничивания (задача, особенно при дефектоскопии пружин, является первостепенной) путем их концентрации, например, в соленоидах с высокими значениями магнитодвижущей силы. Одним из путей расширения возможностей МПК пружин является «Способ магнитопорошкового контроля пружин и устройство для его осуществления», патент РФ №2784214 от 18.02.22, в котором напряженность намагничивающего поля создана комбинацией продольного магнитного поля соленоида и поперечного. Очевидно, что с увеличением габарита и массы контролируемых пружин, например, при необходимости контроля кузовной пружины вместо буксовой, (последняя короче в два раза), потребуется пропорционально увеличенный габарит кольцеобразного немагнитного сосуда и большее значение напряженности намагничивающего поля. Такой «линейный» путь изменения намагничивающего поля является нетехнологичным. Кроме того, операция размагничивания контролируемой пружины является трудоемкой (наличие серии трудоемких шагов по кантованию пружин, требующему наличия силового оборудования).
В изобретении «Устройство для магнитной дефектоскопии» по авторскому свидетельству РФ №1580241 от 08.05.87, БИ №27 от 23.07.90, принятому в качестве прототипа, предложено намагничивание выполнять путем встречно-последовательного соединения обмоток двух седлообразных соленоидов с раздвижкой вдоль их осей, закрепленных на транспортной тележке, с возможностью складывания их магнитных полей. Достижение повышенной напряженности поля, и, следовательно, повышенной достоверности контроля при этом является более продуктивным, поскольку в активе выбора имеет место седлообразные соленоиды типа МД-12ПС, выпускаемые серийно.
Но повышение достоверности здесь станет эффективным, если седлообразные соленоиды со встречно-последовательным соединением их обмоток и раздвижкой, соизмеримой с зоной достаточной намагниченности контролируемых силовых пружин, будут решены технологические аспекты установления и съема силовых пружин, автоматического нанесения на них магнитного индикатора и беспрепятственного доступа к виткам данной пружины для визуализации и анализа магнитных индикаций.
Таким образом, целью изобретения является повышение технологичности и достоверности магнитопорошкового контроля силовых пружин.
Цель достигается тем, что устройство магнитопорошкового контроля силовой пружины, помещенной горизонтально на поверхности связанных приводом роликов вращения, выполненных из немагнитного материала, содержащее блок управления и конденсаторную батарею, подключенную к источнику постоянного напряжения через зарядный резистор и первый ключ, коаксиальный стержневой проводник в виде медной шины, введенный в полость контролируемой пружины и включенный через второй ключ в разрядную цепь упомянутой батареи, два седлообразных соленоида с раздвижкой, соизмеримой с длиной зоны достаточной намагниченности силовой пружины, и встречно-последовательным соединением их обмоток, подключенных через третий ключ к обкладкам конденсаторной батареи, отличающееся тем, что привод вращения упомянутых роликов и, следовательно, контролируемой пружины, выполнен в виде шагового двигателя с узлом его управления, седлообразные соленоиды смонтированы соосно на немагнитной траверсе, которая подвешена горизонтально и жестко по центру к штоку пневматического привода подъема с возможностью обеспечения технологического отвода для беспрепятственной постановки на поверхности роликов вращения очередной контролируемой пружины, и в конечном, рабочем, положении - фиксации зазора 40-50 мм между внешней поверхностью пружины и внутренними дугообразными поверхностями седлообразных соленоидов, при этом пружина совместно с роликами вращения помещены в ванну с поступающей магнитной суспензией с возможностью погружения и окунания ее витков, а также тем, что стержневой проводник снабжен на его торцах бронзовыми заглушками, в которые запрессованы концевые части медной шины с выводом одной ее части за торец контролируемой силовой пружины, которая снабжена контактным узлом с возможностью соединения посредством зажима этой заглушки с первым силовым кабелем, подключенным через второй ключ к верхней обкладке конденсаторной батареи, другая заглушка концевой частью вмонтирована в металлическую пластину заземления, соединенную вторым силовым кабелем с другой обкладкой конденсаторной батареи; и, кроме того, блок управления дополнен пневмоприводом, пневмораспределитель которого выполнен четырехканальным двухпозиционным с управлением от выносного пульта, снабженного фиксатором положений «ПОДЪЕМ» и «ОПУСК», при этом, в первом положении штоковая полость пневмоцилиндра подъема пневмопривода сообщена с пневмосетью и поршневая полость - с атмосферой, а во втором положении - наоборот, а также узлом управления поворотами шагового двигателя в виде присоединенного к нему драйвера с управляющим контроллером, формирующим после установки соленоидов в рабочее положение серии импульсов, последовательность поступления и количество которых обеспечивают по введенной программе троекратный цикл намагничивания пружины с ее поворотами на 120 градусов и затем полный ее оборот, а также медленное ее вращения при размагничивании по сигналу «ПОДЪЕМ» фиксатора положения, и кроме того, управляющий контроллер формирует импульсы (условно показано на внешнем контуре его обозначения) для коммутаций выключателей в соответствии с алгоритмом функционирования всего стенда.
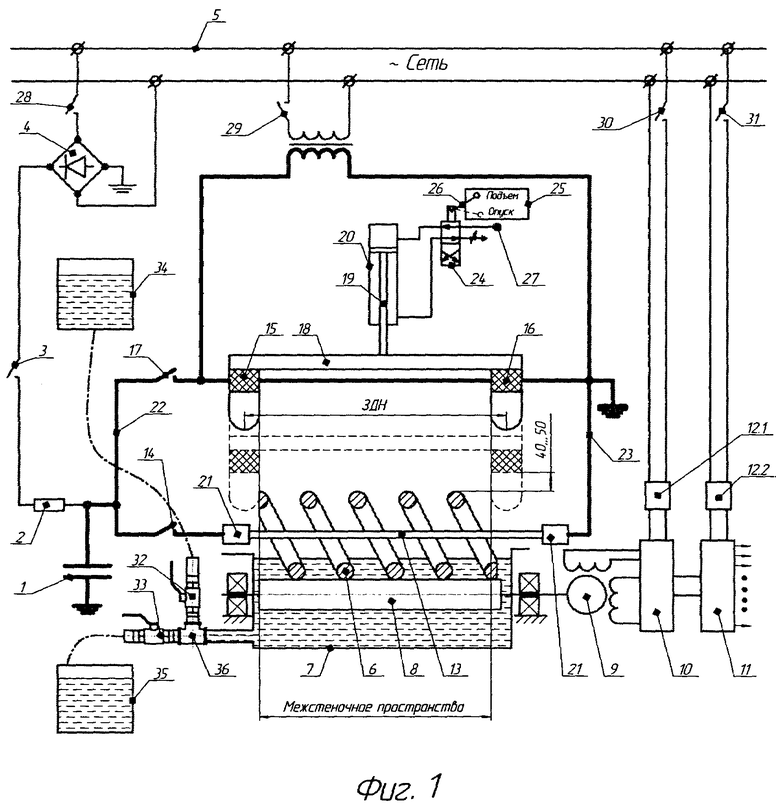
На фиг. 1 приведено предлагаемое устройство в исходном и рабочем (показано пунктиром) состояниях, на фиг. 2а - схема соединения обмоток спаренных седлообразных соленоидов с выделением зоны достаточной намагниченности контролируемой пружины, на фиг. 2б - тангенциальные составляющие напряженностей магнитного поля, генерируемые каждым седлообразным соленоидом, и кривая складывания значений их напряженностей с получением в среднем ее сечении допустимого уровня намагничивающего поля 20-25 А/см.
Устройство магнитопорошкового контроля силовой пружины содержит зарядную цепь в виде конденсаторной батареи 1 и резистора 2, присоединенную через первый ключ 3 к выходу выпрямителя 4, связанного с сетью переменного тока 5, силовую контролируемую пружину 6, помещенную своими витками в ванну 7 с поступающей магнитной суспензией и опертой на поверхность роликов 8, из которых ведущий связан с шаговым электродвигателем 9, оборудованный драйвером 10 и управляющим контроллером 11, Последние получают стабилизированное питание от соответствующих источников тока 12.1 и 12.2. При этом оба ролика 8 погружены вместе с витками пружины 6 в магнитную суспензию, поступающую в ванну 7. Стержневой проводник 13 в виде медной шины коаксиально пропущен через полость силовой пружины 6 и включен в цепь разряда конденсаторной батареи 1 через второй ключ 14. Обмотки седлообразных соленоидов 15 и 16 соединены между собой последовательно-встречно и подключены к той же батареи 1 через третий ключ 17, формируя тем самым вторую цепь разряда последней. Данные соленоиды смонтированы на немагнитной траверсе 18 с раздвижкой вдоль нее. Траверса 18, в свою очередь, подвешена жестко по центру к штоку 19 пневматического цилиндра подъема 20 с возможностью обеспечения в его исходном положении технологического зазора для постановки очередной пружины 6 на ролики 8, а в конечном положении - возможности создания зазора 40-50 мм между поверхностью пружины 6 и внутренними дугообразными поверхностями соленоидов 15, 16 в рабочем их режиме. Стержневой проводник 13 снабжен на торцах бронзовыми заглушками 21, в которые запрессованы концевые части медной шины, с выводом одной ее части за торец силовой пружины 6, которая снабжена контактным узлом с возможностью соединения посредством зажима этой заглушки 21 с первым силовым кабелем 22, подключенным через второй ключ 14 к верхней обкладке конденсаторной батареи 1, другая заглушка 21 концевой частью вмонтирована в металлическую пластину заземления, соединенную вторым силовым кабелем 23 с другой обкладкой батареи 1, блок управления дополнен узлом управления шаговым двигателем 9, снабженным драйвером 10 и управляющим контроллером 11, пневмораспределителем 24, выполненным четырехканальным двухпозиционным с управлением от выносного пульта 25, снабженного фиксатором 26 положений «ПОДЪЕМ» и «ОПУСК», при этом, в первом положении штоковая полость пневмоцилиндра подъема 20 сообщена с пневмосетью 27 и поршневая полость - с атмосферой, а во втором положении - наоборот, и также снабжен сетевыми выключателем 28 для подключения к сети 5 зарядной цепи конденсаторной батареи 1, выключателем 29 для подключения обмоток седлообразных соленоидов 15 и 16 к сети 5 при размагничивания силовой пружины 6 и выключателями 30, 31 для подключения к сети 5 стабилизированных источников питания 12.1 и 12.2. Кроме того, данное устройство дополнено питающей 34 и сливной 35 емкостями магнитной суспензии, соединенными через сопла 32 и 33 с соответствующими рукавами с ванной 7 через трехходовой кран 36.
Работу предлагаемого устройства рассмотрим по представленным фиг. 1, 2.
Исходное положение (фиг. 1): все ключи и сетевые выключатели разомкнуты, траверса 18 со смонтированными седлообразными соленоидами 15, 16 поднята в свое верхнее положение (в штоковую полость цилиндра подъема 20 подают сжатый воздух из пневмосети 27 через пневмораспределитель 24). Поскольку пространство для постановки и размещения контролируемой пружины 6 свободно, то последнюю опускают и размещают на поверхности роликов 8 и в ее полость вводят стержневой проводник 13, обеспечивая соединение его концов посредством зажимов одной и другой заглушек 21 соответственно с первым силовым кабелем 22 и вторым 23. Последний уже соединен с пластиной заземления.
Рабочий режим: включают сетевой выключатель 29 и осуществляют заряд конденсаторной батареи 1 после включения первого ключа 3 (заряд длится несколько секунд), затем устанавливают фиксатор 26 в положение «ОПУСК», сжатый воздух вытесняется из штоковой полости под весом траверсы 18 с подвешенными соленоидами 15, 16, позиционируя внутренние дугообразные их поверхности в нижнем рабочем положении с упомянутым зазором 40-50 мм (механизм его фиксации здесь опущен) относительно поверхности контролируемой пружины 6 (показано на фиг. 1 пунктирными линиями),
Выключают первый ключ 3 и включают второй ключ 14, конденсатор 1 разряжается через стержневой проводник 13 током экспоненциальной формы, создавая тем самым циркулярное магнитное поле, силовые линии которого пронизывают витки контролируемой пружины 6 по перпендикулярным к ее оси плоскостям. В этом случае возможно обнаружение дефектов вертикальной ориентации в витках пружины 6.
Выключив второй ключ 14, осуществляют вновь процесс заряда конденсатора 1 включением первого ключа 3, по окончании которого и выключения ключа 3, но включив ключ 17, разряжают конденсаторную батарею через последовательно соединенные обмотки соленоидов 15 и 16, формируя в них импульс тока разряда той же формы и соответственно магнитного поля, силовые линии которого распределяются вдоль оси по поверхности пружины 6. Такое поле способствует обнаружению дефектов поперечной ориентации в витках контролируемой пружины 6.
В случае одновременного включения ключей 14 и 17 магнитные поля, образованные в контролируемой пружине 8 от циркулярного и продольного намагничиваний, формируют суммарный вектор, направление которого изменяется в пределах 90 градусов, и возможность обнаружения дефектов с различием в их ориентации расширяется.
На фиг. 2а показана схема образования в результате встречно-последовательного соединения обмоток соленоидов 15, 16 суммарного магнитного поля в пространстве между ними, т.е. поля Н от складывания тангенциальных составляющих напряженностей полей каждого седлообразного соленоида H1 и Н2 (фиг. 2б). Кривая суммарной тангенциальной составляющей напряженности Н имеет симметричный характер с минимумом в ее середине. Если принять это минимальное значение за допустимую величину уровня намагниченности поверхности объекта, то будет правомерным применение известного термина длина «зоны достаточной намагниченности» (ЗДН), оценивая ее расстоянием между серединами обмоток седлообразных соленоидов 15, 16 (фиг. 2а, 2б).
В случае использования одного седлообразного соленоида 15 график тангенциальной составляющей H1 формируемой им напряженности магнитного поля, представленный на фиг. 2а, показывает, что достижение уровня напряженности Н1=25 А/см возможно только лишь при длине зоны достаточной намагниченности (ЗДН) не более 110 мм. При использовании седлообразных соленоидов типа МД-12ПС по схеме, предложенной в настоящем тексте (фиг. 2а), длина ЗДН составляет 360 мм при обеспечении минимального значения напряженности 20-25 А/см намагничивающего поля (длина буксовой пружины составляет 260 мм). Размещение обмоток соленоидов в их корпусах технологически «укорачивает» данную ЗДН (по половинке поперечного размера короба с каждой стороны 2×50 мм). С учетом этого реальная длина ЗДН будет 360-100=260 мм, что соответствует длине буксовой пружины, равной 260 мм. Очевидно, что если седлообразные соленоиды 15 и 16 разместить по краям буксовой пружины, то минимальное значение ее намагниченности составит 25 А/см, что отвечает требованиям нормативной документации. Штатная технология МПК пружин и в деталях, подобным телам вращения (бандажей колес локомотивов, осей колесных пар подвижного состава, наклонных тяг и др.), используют схемы намагничивания с одним седлообразным соленоидом типа МД-12ПС с допустимой длиной зоны достаточной намагниченности 90-120 А/см, т.е. в два с лишним раза меньше и, следовательно, с меньшей достоверностью обнаружения дефектов.
Кроме того, раздвижка соленоидов за счет образования «пустого» между коробами соленоидов межстеночного пространства создает условия беспрепятственного доступа оператору к виткам контролируемой пружины для их визуализации и анализа магнитных индикаций в процессе и после намагничивания, т.е. выполнение этой операции стопроцентно доступно и может выполняться непрерывно, что способствует также увеличению достоверности и технологичности контроля.
Установление и съем контролируемых силовых пружин (масса и габариты которых значительны), подъем и опуск соленоидов, дополнение блока управления узлом управления шаговым двигателем и другие операции автоматизированы, что также свидетельствует о совершенствовании технологии контроля.
| название | год | авторы | номер документа |
|---|---|---|---|
| СПОСОБ МАГНИТОПОРОШКОВОГО КОНТРОЛЯ ПРУЖИН И УСТРОЙСТВО ДЛЯ ЕГО ОСУЩЕСТВЛЕНИЯ | 2022 |
|
RU2784214C1 |
| СТЕНД МАГНИТОПОРОШКОВОГО КОНТРОЛЯ БАНДАЖА КОЛЕС ЛОКОМОТИВА | 2022 |
|
RU2787905C1 |
| Установка для магнитопорошковой дефектоскопии колец подшипников | 2024 |
|
RU2828161C1 |
| УСТРОЙСТВО МАГНИТОПОРОШКОВОГО КОНТРОЛЯ БАНДАЖА КОЛЕС ЛОКОМОТИВА | 2022 |
|
RU2800746C1 |
| Способ размагничивания деталей из магнитотвердых материалов | 2019 |
|
RU2713505C1 |
| СПОСОБ АВТОМАТИЗИРОВАННОГО МАГНИТОЛЮМИНЕСЦЕНТНОГО КОНТРОЛЯ ЖЕЛЕЗНОДОРОЖНЫХ КОЛЕС И УСТРОЙСТВО ДЛЯ ЕГО ОСУЩЕСТВЛЕНИЯ | 2013 |
|
RU2518954C1 |
| ПРИБОР ДЛЯ ИЗМЕРЕНИЯ СИЛОВОГО ВЗАИМОДЕЙСТВИЯ ФЕРРОМАГНИТНЫХ ТОРОИДОВ | 2009 |
|
RU2405164C1 |
| Станок для намотки крупногабаритных седлообразных обмоток | 1983 |
|
SU1094078A1 |
| УСТРОЙСТВО ДЛЯ НЕРАЗРУШАЮЩИХ ИСПЫТАНИЙ МЕТАЛЛИЧЕСКИХ ДЕТАЛЕЙ | 2014 |
|
RU2648011C1 |
| Устройство магнитной дефектоскопии ободьев колесной пары | 2018 |
|
RU2680857C1 |
Изобретение относится к измерительной технике, в частности к области неразрушающего контроля, и предназначено для контроля силовых пружин и также деталей, имеющих форму тел вращения. Сущность: устройство содержит ролики вращения, связанные с приводом, для размещения силовой пружины, конденсаторную батарею, подключенную к источнику постоянного напряжения через зарядный резистор, коаксиальный стержневой проводник в виде медной шины, введенный в полость контролируемой пружины и включенный через ключ в разрядную цепь, два седлообразных соленоида с встречно-последовательным соединением их обмоток, подключенных через ключ к обкладкам конденсаторной батареи. Привод выполнен в виде шагового электродвигателя и связан с узлом управления. Седлообразные соленоиды соосно смонтированы на немагнитной траверсе с раздвижкой вдоль нее, не превышающей зону достаточной намагниченности контролируемой пружины. Траверса подвешена жестко по центру к штоку пневматического цилиндра подъема. Витки пружины совместно с роликами вращения помещены в ванну с магнитной суспензией с возможностью погружения и окунания нижней части витков при вращении пружины. Стержневой проводник на торцах снабжен заглушками, в которые запрессованы концевые части медной шины, с выводом одной ее части за торец силовой пружины, которая снабжена контактным узлом с возможностью соединения посредством зажима одной заглушки с первым силовым кабелем, подключенным через ключ к верхней обкладке конденсаторной батареи. Другая заглушка концевой частью вмонтирована в металлическую пластину заземления, соединенную вторым силовым кабелем с другой обкладкой конденсаторной батареи. Технический результат: повышение технологичности и достоверности магнитопорошкового контроля силовых пружин. 1 з.п. ф-лы, 2 ил.
1. Устройство магнитопорошкового контроля силовой пружины, горизонтально помещенной на связанные с приводом ролики вращения, выполненные из немагнитного материала, содержащее блок управления и конденсаторную батарею, подключенную к источнику постоянного напряжения через зарядный резистор и первый ключ, коаксиальный стержневой проводник в виде медной шины, введенный в полость контролируемой пружины и включенный через второй ключ в разрядную цепь упомянутой батареи, два седлообразных соленоида с встречно-последовательным соединением их обмоток и раздвижкой последних, соизмеримой с длиной зоны достаточной намагниченности материала контролируемой пружины, подключенных через третий ключ к обкладкам конденсаторной батареи, отличающееся тем, что привод упомянутых роликов выполнен в виде шагового электродвигателя, связанного с осью ведущего ролика и оборудованного драйвером и управляющим контроллером, упомянутые седлообразные соленоиды соосно смонтированы на немагнитной траверсе с раздвижкой вдоль нее, траверса, в свою очередь, подвешена жестко по центру к штоку пневматического цилиндра подъема с возможностью обеспечения в его исходном положении технологического зазора для беспрепятственной постановки на ролики вращения контролируемой пружины и в конечном положении создания зазора 40-50 мм между поверхностью этой пружины и внутренними дугообразными поверхностями седлообразных соленоидов в рабочем их положении, при этом витки пружины совместно с роликами вращения помещены в ванну с магнитной суспензией с возможностью погружения и окунания в ней нижней ее части, а также тем, что стержневой проводник снабжен на его торцах бронзовыми заглушками, в которые запрессованы концевые части медной шины с выводом одной ее части за торец силовой пружины, которая снабжена контактным узлом с возможностью соединения посредством зажима этой заглушки с первым силовым кабелем, подключенным через второй ключ к верхней обкладке конденсаторной батареи, другая заглушка концевой частью вмонтирована в металлическую пластину заземления, соединенную вторым силовым кабелем с другой обкладкой конденсаторной батареи.
2. Устройство магнитопорошкового контроля силовой пружины по п. 1, отличающееся тем, что блок управления дополнен пневмораспределителем пневмопривода, выполненным четырехканальным двухпозиционным с управлением от выносного пульта, снабженного фиксатором положений «ПОДЪЕМ» и «ОПУСК», причем в первом положении штоковая полость пневмоцилиндра подъема сообщена с пневмосетью, и поршневая полость - с атмосферой, а во втором положении - наоборот, а также узлом управления поворотами шагового двигателя, включающим драйвер и управляющий контроллер с его возможностью после установки соленоидов в рабочее положение вырабатывать импульсы, последовательность поступления и количество которых обеспечивает троекратный цикл намагничивания пружины с ее поворотами на 120 градусов и затем полный оборот, и также медленное вращение при размагничивании по сигналу «ПОДЪЕМ» фиксатора положения.
| Устройство для магнитной дефектоскопии | 1987 |
|
SU1580241A1 |
| СПОСОБ МАГНИТОПОРОШКОВОГО КОНТРОЛЯ ПРУЖИН И УСТРОЙСТВО ДЛЯ ЕГО ОСУЩЕСТВЛЕНИЯ | 2022 |
|
RU2784214C1 |
| УСТРОЙСТВО ДЛЯ НЕРАЗРУШАЮЩИХ ИСПЫТАНИЙ МЕТАЛЛИЧЕСКИХ ДЕТАЛЕЙ | 2014 |
|
RU2648011C1 |
| CN 210322895 U, 14.04.2020 | |||
| CN 204666558 U, 23.09.2015. | |||
Авторы
Даты
2025-03-18—Публикация
2023-11-14—Подача