ОБЛАСТЬ ТЕХНИКИ, К КОТОРОЙ ОТНОСИТСЯ ИЗОБРЕТЕНИЕ
[001] Предмет настоящего изобретения относится к сборному инструменту, выполненному с возможностью так называемой швейцарской станочной обработки, более конкретно, возможностью операций нарезания канавок или отрезания.
УРОВЕНЬ ТЕХНИКИ
[002] В дальнейшем названия ʺшвейцарскийʺ или ʺшвейцарского типаʺ иногда опускаются для краткости. Следует понимать, что настоящая конструкция разработана прежде всего с возможностью работы в пределах уникальных ограничений CNC-станков швейцарского типа, но преимущественные конструктивные признаки также могут быть преимущественными даже для операций нешвейцарского типа.
[003] Сборные инструменты станочной обработки швейцарского типа и их компоненты специально конструируются с возможностью использования в так называемых CNC-станках швейцарского типа (токарных станках), которые отличаются от других типичных CNC-станков (токарных станков) в том, что сборные инструменты швейцарского типа устанавливаются близко к каждому другому инструменту в ʺагрегатеʺ, и вынимание и установка режущей пластины (или ʺпластиныʺ) являются затруднительными вследствие пространственных ограничений.
[004] Уникальные особенности швейцарской станочной обработки, такие как местоположение режущего края (по существу, совмещение режущего края с верхним углом хвостовика держателя на виде спереди держателя) поясняются подробнее, в числе прочего, в предыдущих публикациях патента заявителя USP 9901986 и USP 10583495, содержание которых полностью включено сюда путем ссылки.
[005] Кратко, для настоящей заявки дополнительно следует отметить, что в отличие от уникальной заявленной компоновки стружкозавивателя в USP 9901986, общая режущая пластина (106) швейцарского типа показана с винтовым отверстием (112), продолжающимся через торцевую поверхность. Эта конструкция обеспечивает доступ для вынимания и замены пластины в плотно упакованных сборных инструментах швейцарского типа.
[006] Другие общие конструкции пластины включают в себя аналогичную пластину, за исключением того, что касается двух таких винтовых отверстий, как проиллюстрировано в публикации заявителя USP 10471517. В упомянутой публикации, показывается сборный инструмент, который обеспечивает возможность вынимания и установки пластины из любой одной из двух противоположных сторон.
[007] В USP 10583495, показывается уникальный сборный инструмент, который предоставляет пластину без упомянутого винтового отверстия и при этом другое решение для преодоления вышеуказанных пространственных ограничений, которые создают трудности при закреплении и вынимании вставок.
[008] Цель настоящего изобретения заключается в том, чтобы предоставить улучшенный сборный инструмент и его компоненты, подходящие для использования в варианте осуществления швейцарской станочной обработки, а также предоставлять усовершенствованный способ закрепления компонента в держателе.
Сущность изобретения
[009] В соответствии с первым аспектом предмета изобретения настоящей заявки, предложен держатель, содержащий: противоположные первую и вторую стороны держателя, задающие первое боковое направление от второй стороны держателя к первой стороне держателя и второе боковое направление, противоположное по отношению к первому боковому направлению; противоположные передний и задний концы держателя, задающие направление вперед от заднего конца держателя к переднему концу держателя и направление назад, противоположное по отношению к направлению вперед; противоположные верхнюю и нижнюю стороны держателя, задающие направление вверх от нижней стороны держателя к верхней стороне держателя и направление вниз, противоположное по отношению к направлению вверх; гнездо держателя, расположенное на пересечении первой стороны держателя, переднего конца держателя и верхней стороны держателя; и зажим держателя, расположенный на верхней стороне держателя; причем гнездо держателя содержит: боковую опорную поверхность гнезда, продолжающуюся вдоль первой стороны держателя и обращенную к первому боковому направлению; нижнюю опорную поверхность гнезда, расположенную ниже относительно боковой опорной поверхности гнезда и обращенную к направлению вверх; и заднюю опорную поверхность гнезда, расположенную сзади относительно боковой опорной поверхности гнезда и обращенную в направлении вперед; причем зажим держателя продолжается поверх боковой опорной поверхности гнезда и содержит: упругий шарнирный участок; участок зажима, содержащий верхнюю опорную поверхность зажима, обращенную в направлении вниз; и промежуточный участок, продолжающийся от упругого шарнирного участка до участка зажима; при этом: упругий шарнирный участок выполнен с возможностью упругого смещения участка зажима вниз.
[0010] Если обобщать, базовая концепция держателя настоящего изобретения представляет собой так называемый ʺнормально закрытыйʺ выполненный как единое целое или, более конкретно, упругий шарнирный зажим. Хотя нормально закрытый верхний прихват посадочного гнезда под режущую пластину (также называемого ʺгнездом под режущую пластинуʺ; тем не менее, посадочное гнездо настоящей заявки называется ʺпосадочным гнездом держателяʺ, поскольку оно представляет собой часть держателя и не должно путаться с посадочным гнездом лезвия) известен для прижимания режущей пластины, такая конфигурация не является общеизвестной для швейцарских сборных инструментов. Одна причина так считать заключается в том, что во время типичных операций швейцарской станочной обработки, зонд выдвигается и ударяет режущую пластину, чтобы определять ее положение. Следует понимать, что любая пластина, которая не закрепляется с помощью винта (и во многих случаях, с помощью двух винтов), вызывает такое опасение, что режущая пластина будет вытесняться из требуемого положения при воздействии зонда. Соответственно, за редким исключением, типичный сборный инструмент швейцарской станочной обработки имеет режущую пластину с одной или двумя высверленными отверстиями для винтовой установки режущей пластины в держателе.
[0011] Тем не менее, настоящая концепция обеспечивает надежную установку, и начальное тестирование, к настоящему моменту, выявляет, что он является достаточно крепким для того, чтобы противостоять упомянутым ударам.
[0012] Дополнительно, следует отметить, что известный нормально закрытый верхний прихват для посадочных гнезд для пластин обычно является продольно продолжающимся, а не поперечно продолжающимся. В настоящем изобретении, зажим держателя продолжается поверх боковой опорной поверхности гнезда. В отличие от держателей в других вариантах осуществления, требуется сравнительно высокий уровень устойчивости, и в силу этого зажим держателя настоящего изобретения работает в сочетании с боковой опорной поверхностью гнезда в дополнение к трехточечному контакту верхней, нижней и задней опорных поверхностей. Другими словами, в отличие, например, от отрезного лезвия, в котором верхний прихват гнезда под режущую пластину продолжается только продольно, настоящее изобретение позволяет зажиму прикреплять лезвие или режущую пластину к боковой опорной поверхности гнезда для устойчивости (очень важный фактор для швейцарской станочной обработки, при которой обрабатываемая деталь типично не удерживается на двух концах, как в других процессах станочной обработки). Другими словами, зажим держателя настоящего изобретения представляет собой поперечно направленный зажим держателя, а не продольно направленный зажим или прихват. Предпочтительно, зажим держателя продолжается по меньшей мере частично в первом боковом направлении (или предпочтительно: продолжается только в первом боковом направлении), с тем чтобы продолжаться поверх боковой опорной поверхности гнезда. Еще другими словами, зажим держателя нависает над нижней опорной поверхностью гнезда.
[0013] Хотя поперечно направленные зажимы не являются неизвестными в других вариантах осуществления станочной обработки, они типично включают в себя винт, чтобы переводить так называемый ʺнормально открытыйʺ зажим в закрытое положение, что не имеет место в данном случае. Причина, по которой конструкция нормально открытого зажима является преимущественной по сравнению с конструкцией ʺнормально закрытогоʺ выполненного как единое целое зажима настоящего изобретения, заключается в том, что он типично имеет, в теории, больший срок службы инструмента, чем зажимы, которые имеют упругие сочленения (т.е. упругое сочленение должно терять свою упругость после определенного объема использования, тогда как винты могут заменяться и т.д.).
[0014] Тем не менее, в настоящей конструкции, специально задуманной с возможностью обеспечения преимущества для швейцарской станочной обработки, доступ к обращенному вверх винту в таком зажиме является затруднительным вследствие пространственных ограничений типичного агрегата швейцарского типа (например, может быть предложен другой держателя, близко установленный непосредственно выше рассматриваемого держателя). Таким образом, определено, что выгоды нормально закрытого упругого зажима держателя перевешивают их недостатки.
[0015] Из чертежей следует, что когда указывается то, что нижняя опорная поверхность гнезда расположена ʺнижеʺ по отношению к боковой опорной поверхности гнезда, это означает большую часть боковой опорной поверхности гнезда, поскольку нижняя опорная поверхность гнезда и боковая поверхность гнезда пересекаются в самой нижней области боковой опорной поверхности гнезда. Другими словами, ʺвнизʺ не означает то, что они должны быть разнесены. Это аналогично является истинным для задней опорной поверхности гнезда, расположенной сзади по отношению к боковой опорной поверхности гнезда.
[0016] Ниже подробнее описываются дополнительные предпочтительные признаки держателя.
[0017] Хотя настоящее изобретение описывает ниже аспекты и предпочтительные признаки лезвий (которые непосредственно, по определению, выполнены с возможностью удерживать по меньшей мере одну режущую пластину) согласно настоящему изобретению, держатель настоящего изобретения также может непосредственно закреплять режущую пластину (например, даже стандартную режущую пластину, например, так называемую режущую пластину DO-GRIP®, изготовленную настоящим заявителем Iscar Ltd).
[0018] Согласно второму аспекту настоящего изобретения, предложен сборный инструмент, содержащий держатель согласно первому аспекту и либо режущую пластину, либо отрезное лезвие, непосредственно закрепленное в гнезде держателя посредством зажима держателя. В варианте, в котором отрезное лезвие представляет собой часть сборного инструмента, сборный инструмент дополнительно может содержать режущую пластину, закрепленную на отрезном лезвии.
[0019] В варианте с лезвием, режущая пластина предпочтительно представляет собой сплошную режущую пластину с одним режущим краем (например, стандартную режущую пластину, например, так называемую режущую пластину SELF-GRIP®, изготовленную настоящим заявителем Iscar Ltd).
[0020] Режущая пластина или лезвие согласно этому аспекту может содержать отверстие для проталкивания, как подробнее описано ниже.
[0021] Тем не менее, даже если режущая пластина с отверстием для проталкивания представляет собой осуществимую возможность (не показано, хотя может быть предложена идентичная геометрия показанного лезвия и режущей пластины, хотя и с унитарной конструкцией и изготовленной из такого материала режущей пластины, как твердый сплав), предпочтительно, если режущая пластина имеет сплошную конструкцию (другими словами, вообще не имеет отверстия, например, для приема зажимного винта, чтобы закреплять пластину), поскольку в таком случае она может прижиматься простым и экономичным способом. Как отмечено выше, обычно швейцарские режущие пластины имеют одну или два отверстия, продолжающихся через их торцы, что обеспечивает возможность сильного конструктивного прикрепления к держателе, но значительно повышает затраты на их изготовление. При применении упругого зажима держателя, может использоваться гораздо более простая и более дешевая сплошная режущая пластина, например, вышеуказанная режущая пластина DO-GRIP® (или другая). Аналогично, в варианте лезвия и режущей пластины, закрепленной на нем, может использоваться вышеуказанная режущая пластина SELF-GRIP® (или другая).
[0022] Как описано ниже, лезвие с упомянутым отверстием для проталкивания может обеспечивать преимущественную простоту сборки вместе с возможностью использовать простую режущую пластину со сплошной конструкцией.
[0023] В частности, предпочтительно формировать режущие пластины с клиновидными верхними и/или нижними поверхностями, наиболее предпочтительно, если верхние и нижние поверхности являются клиновидными.
[0024] Соответственно, за исключением одного
предпочтительного варианта осуществления вышеуказанной режущей пластины с отверстием для проталкивания (который является предпочтительным для уникального способа закрепления, описанного в третьем аспекте ниже), все остальные варианты осуществления и аспекты обеспечивают возможность использования гораздо более экономичной режущей пластины (например, режущей пластины SELF-GRIP® и т.п.), по сравнению с обычной швейцарской режущей пластиной с отверстием, открывающимся к ее торцу.
[0025] Хотя упругое зажимание режущих пластин известно, оно неизвестно для заявителя швейцарской станочной обработки, которая типично включает в себя вышеописанный удар режущей пластины с помощью зонда, безусловно не с поперечно направленным упругим зажимом, как пояснено.
[0026] Согласно третьему аспекту настоящего изобретения, предложен способ закрепления режущей пластины или лезвия на держателе согласно первому аспекту. Такой способ может включать первый этап размещения режущей пластины или лезвия частично на гнезде держателя в полуустановленном состоянии (или в ʺполуустановленном положенииʺ) и второй этап приложения направленной назад силы к режущей пластине или лезвию. Направленная назад сила заставляет режущую пластину или лезвие плавно перемещаться в направлении назад вдоль опорной поверхности гнезда, с примыканием и подъемом верхней опорной поверхности зажима, до тех пор, пока перемещение назад не прекращается посредством режущей пластины или лезвия, примыкающего к задней опорной поверхности гнезда, в силу этого переводя режущую пластину или лезвие в полностью установленное состояние (или в "полностью установленное положение").
[0027] Другими словами, полная фиксация зажимной пластины или лезвия достигается за счет одной направленной назад силы, прикладываемой к режущей пластине или лезвию. Другими словами, способ не имеет этапа, на котором пользователь или инструмент, удерживаемый пользователем, непосредственно контактирует с зажимом держателя для того, чтобы перемещать его.
[0028] Направленная назад сила может прикладываться в самом переднем участке режущей пластины или лезвия (например, с помощью молотка с мягким носиком). Альтернативно, стандартный двухштырьковый инструмент для установки режущих пластин может вращаться в отверстии, выполненном в держателе (идентично тому, как режущие пластины обычно вставляются в гнезда под режущую пластину), и в то время, когда инструмент вращается, сила, прикладываемая к самому переднему участку режущей пластины или лезвия, является линейной. Альтернативно, в наиболее предпочтительном варианте осуществления, показанном на чертежах, новое отверстие для проталкивания, примерно проиллюстрированное на чертежах (которое в примерно проиллюстрированном варианте осуществления представляет собой лезвие), выполнено в лезвии (или в режущей пластине), и направленная назад сила прикладывается к нему. Во втором варианте осуществления, направленная назад сила может прикладываться во внутреннем (а не периферийном) участке режущей пластины или лезвия.
[0029] Хотя способ называется способом ʺзакрепленияʺ, третий этап для вынимания может включать в себя приложение направленной вперед силы к режущей пластине или лезвию, принудительное плавное перемещение режущей пластины или лезвия в направлении вперед вдоль опорной поверхности гнезда, примыкание и подъем верхней опорной поверхности зажима до достижения первоначального полуустановленного состояния, в котором последующий этап вынимания является возможным. Для первых двух вариантов осуществления, упомянутых в предыдущем параграфе, это может достигаться с помощью рельефного отверстия или гнезда, расположенного на заднем конце гнезда держателя. Для третьего варианта осуществления, направленная вперед сила может прикладываться внутренне к отверстию для проталкивания.
[0030] Альтернативно, согласно четвертому аспекту настоящего изобретения, предложен другой способ закрепления режущей пластины или лезвия на держателе согласно первому аспекту. В этом аспекте, пользователь или, более конкретно, инструмент, удерживаемый пользователем (причем инструмент называется ʺключом для проталкиванияʺ в показанном варианте осуществления), непосредственно перемещает зажим держателя. Такой способ может включать первый этап приложения направленной вверх силы к зажиму держателя таким образом, что участок зажима перемещается в направлении от нижней опорной поверхности гнезда, и второй этап размещения режущей пластины или лезвия частично на нижней опорной поверхности гнезда. Следующий предпочтительный, но необязательный этап может представлять собой приложение направленной назад силы к режущей пластине или лезвию до тех пор, пока перемещение назад не прекращается посредством режущей пластины или лезвия, примыкающего к задней опорной поверхности гнезда. После второго или третьего этапа, зажим держателя высвобождается таким образом, что он упруго перемещается к нижней опорной поверхности гнезда с закреплением режущей пластины или лезвия.
[0031] Для такого способа, предпочтительно, если зажим держателя выполняется с конструкцией для приема рычага. Альтернативно, например, инструмент может заклиниваться между зажимом держателя, предпочтительно, его промежуточным участком и верхней стороной держателя, и зажим держателя может перемещаться за счет рычажного действия вверх. Тем не менее, предшествующий вариант конструкции для приема рычага (примерно проиллюстрирована на чертежах как отверстие зажима) является предпочтительным для целей управления. Следует понимать, что такие инструменты могут быть чрезвычайно небольшими, и значительная сила требуется для того, чтобы зажимать режущую пластину или лезвие для станочной обработки, в силу чего довольно просто прикладывать чрезмерную силу к упругому зажиму держателя и повреждать его. Таким образом, упомянутая конструкция для приема рычага является предпочтительной. Еще более предпочтительной, по идентичной причине, является отверстие под гнездо держателя, примерно проиллюстрированное в начальном варианте осуществления на чертежах, в котором зажим держателя не может повреждаться посредством приложения чрезмерной силы к зажиму держателя (поскольку в таком варианте осуществления пользователь не контактирует непосредственно с зажимом держателя, а режущая пластина или лезвие косвенно прикладывает только управляемую направленную вверх силу (ограниченную посредством конкретной высоты изготовления) к нему.
[0032] Хотя способ называется способом ʺзакрепленияʺ для вынимания, может быть предложен этап приложения идентичной направленной вверх и вперед силы к зажиму держателя таким образом, что участок зажима перемещается в направлении от нижней опорной поверхности гнезда, и следующий этап вынимания режущей пластины или лезвия от задней опорной поверхности гнезда. Зажим держателя затем может высвобождаться таким образом, что он упруго перемещается к нижней опорной поверхности гнезда.
[0033] Аспекты, описанные выше, необязательно направлены на режущую пластину либо на лезвие (непосредственно выполненное с возможностью удерживать режущую пластину), удерживаемые посредством держателя согласно первому аспекту. Следующие аспекты, в частности, направлены только на лезвие, сконфигурированное с посадочным гнездом лезвия для удерживания режущей пластины.
[0034] Лезвия, выполненные с возможностью швейцарской станочной обработки, не являются общераспространенными и возможно не существуют. Под ʺлезвиямиʺ для целей подробного описания и формулы изобретения подразумевается компонент, выполненный с возможностью удержания режущей пластины и выполненный с возможностью установки на держателе, причем держатель выполнен с возможностью установки на машинном револьверном суппорте или агрегате. Другими словами, слово ʺлезвиеʺ при использовании в данном документе исключает (не имеет намерение означать) компоненты с участками лезвия и выполненными как единое целое хвостовиками (укрупненного поперечного сечения) (типично имеющими квадратное поперечное сечение), которые выполнены с возможностью непосредственно удерживаться в машинном револьверном суппорте или агрегате.
[0035] Хотя лезвия известны для стандартных операций станочной CNC-обработки, первая причина, по которой они не известны для швейцарской станочной обработки, состоит в том, что типичная операция швейцарской станочной обработки является специализированной для чрезвычайно небольших вариантов осуществления, и в силу этого используются только очень небольшие сборные инструменты. В качестве определенной перспективы, лезвие, примерно проиллюстрированное на чертежах, имеет максимальную высоту ВН лезвия приблизительно в 11 мм, максимальную длину BL лезвия приблизительно в 22 мм и максимальную толщину ВТ лезвия менее 1 мм. Другими словами, само лезвие является аналогичным по размеру SIM-карте или ногтю. При условии, что известные лезвия являются значительно большими, более подходящее название для лезвий настоящей заявки может представлять собой ʺмикролезвиеʺ или ʺминиатюрное лезвиеʺ. Тем не менее, поскольку такое название не используется нормально в настоящее время, размеры предоставляются для того, чтобы отличать от лезвий предшествующего уровня техники, сконструированных для различных вариантов осуществления станочной обработки.
[0036] Возвращаясь к настоящему изобретению, предложена такая теория, что одна причина, по которой лезвия не используются в швейцарской станочной обработке, состоит в том, что при вышеописанных миниатюрных размерах режущая пластина может использоваться без дополнительного компонента лезвия, требуемого для сборного инструмента. Хотя режущие пластины, обычно из твердого сплава, зачастую являются небольшими вследствие прижатия и ограничений по затратам, безусловно, обсуждаемый размер является общим для режущих пластин.
[0037] Предпочтительно иметь меньшее число компонентов в сборном инструменте, поскольку возникают потери жесткости для каждого дополнительного удерживаемого компонента (т.е. сборный инструмент с держателем, лезвием и режущей пластиной должен быть менее жестким, чем держатель инструментов с державкой, которая непосредственно удерживает режущую пластину).
[0038] Кроме того, предпочтительные лезвия настоящего изобретения изготовлены из металла, более предпочтительно, из стали, что является типичным в металлорежущей отрасли для компонентов, отличных от режущих пластин. Тем не менее, как известно, металлические лезвия (в частности, металлические лезвия, которые являются тонкими, что требуется для нарезания канавок и отрезания) более подвержены изгибу, чем режущие пластины, которые изготовлены из более твердого материала (обычно из твердого сплава). Таким образом, очевидно, что первое конструктивное решение для швейцарского сборного инструмента представляет собой режущую пластину, а не лезвие, которое в свою очередь удерживает режущую пластину.
[0039] Настоящее изобретение основано на таком наблюдении, что типичные швейцарские сборные инструменты содержат относительно дорогие режущие пластины, и что потери в жесткости в силу использования лезвий по причинам, упомянутым выше, перевешиваются экономической выгодой (в частности, сплошной режущей пластины, еще более предпочтительно, режущей пластины с одним режущим краем по причинам, описанным ниже). Таким образом, настоящее изобретение использует лезвие при выявлении того, что впоследствии может использоваться экономичная сплошная режущая пластина (т.е. более экономичная, чем известные швейцарские режущие пластины с отверстиям, выполненными в торцах).
[0040] Тем не менее, использование лезвия для швейцарской станочной обработки включает в себя уникальные трудности.
[0041] Как упомянуто выше, хотя швейцарская станочная обработка типично включает в себя зонд для измерения положения, который примыкает к режущей пластине, при тестировании, к настоящему моменту обнаружено, что предпочтительный вариант осуществления с использованием не только режущей пластины, не закрепленной с помощью винта, но также и лезвия, не закрепленного с помощью винта, является достаточно жестким для того, чтобы не вытесняться в силу удара зонда.
[0042] Касательно проблемы большей сгибаемости лезвия, чем режущей пластины, держатель настоящего изобретения предпочтительно содержит нормально закрытый зажим держателя, в силу чего сила, которую зажим прикладывает к чрезвычайно небольшому лезвию, управляется на стадии изготовления держателя и не зависит от затягивания, пользователем, винта на лезвии. Тем не менее, следует понимать, что аспекты лезвия настоящего изобретения не ограничены использованием в конкретной держателе, хотя нормально закрытые зажимы держателя настоящего изобретения, конечно, являются предпочтительными, поскольку они как защищают лезвия от изгибания, так и разрешают проблему пространственных ограничений в конфигурации швейцарского агрегата.
[0043] Нормально закрытый зажим держателя также обеспечивает возможность зажимания лезвия без винта, продолжающегося через само лезвие. Следует понимать, что для чрезвычайно тонких металлических лезвий, винт, примыкающий к их стороне, может вызывать нежелательный изгиб лезвия.
[0044] Дополнительно, поперечно направленный зажим держателя предоставляет дополнительную устойчивость по сравнению с продольно направленными зажимами держателя, что требуется для швейцарских операций.
[0045] После того, как выявлено то, что начальная концепция является осуществимой, дополнительные усовершенствования в отношении предпочтительных признаков установки лезвия разработаны. А именно, вариант осуществления с отверстием для проталкивания описывается выше и может быть включен в любой из других аспектов, содержащих лезвие. Как должно становиться очевидным, такое отверстие для проталкивания минимизирует вероятность какого-либо изгиба лезвия.
[0046] Каждый из аспектов ниже акцентирует внимание на независимом преимущественном признаке, обнаруженном для лезвия согласно настоящему изобретению. Тем не менее, все упомянутые признаки могут быть включены в любое лезвие настоящего изобретения.
[0047] Согласно пятому аспекту настоящего изобретения, предложено лезвие, содержащее: противоположные первую и вторую стороны лезвия; противоположные передний и задний края лезвия; противоположные верхний и нижний края лезвия; первое и второе посадочные гнезда лезвия, каждое из которых содержит базовый прихват гнезда и вспомогательный прихват гнезда, расположенный напротив базового прихвата гнездаи выполненный с возможностью упругого зажимания; максимальную высоту ВН лезвия, измеряемую от нижнего края лезвия до верхнего края лезвия; максимальную длину BL лезвия, перпендикулярную максимальной высоте ВН лезвия и измеряемую от переднего края лезвия до заднего края лезвия; и максимальную толщину ВТ лезвия, перпендикулярную максимальной высоте ВН лезвия и измеряемую от первой стороны лезвия до второй стороны лезвия; при этом: максимальная толщина ВТ лезвия меньше максимальной высоты ВН лезвия; максимальная длина BL лезвия удовлетворяет условию: L<45 мм; первое гнездо лезвия открывается к переднему краю лезвия; и второе гнездо лезвия открывается к заднему краю лезвия.
[0048] В общих словах, настоящий аспект отличается от известных лезвий в том, что хотя, по существу, задается лезвие, меньшее почти всех типичных лезвий (L<45 мм), оно еще дополнительно содержит два посадочных гнезда лезвия. Считается, что отсутствуют известные лезвия аналогичного размера, которые также имеют такое преимущество второго гнезда лезвия, что удваивает производительность лезвия.
[0049] Согласно шестому аспекту настоящего изобретения, предложено лезвие, содержащее: противоположные первую и вторую стороны лезвия; противоположные передний и задний края лезвия; противоположные верхний и нижний края лезвия; и первое гнездо лезвия, открывающееся к переднему краю лезвия; при этом: первое гнездо лезвия содержит базовый прихват гнезда и вспомогательный прихват гнезда, расположенный напротив базового прихвата гнезда, выполненный с возможностью упругого зажимания; и отверстие для проталкивания, открывающееся к первой и второй сторонам лезвия.
[0050] Новое отверстие для проталкивания настоящего аспекта может обеспечивать возможность установки лезвия в гнезде держателя с менее серьезной проблемой изгиба относительно тонкого лезвия, чем должно иметь место, если направленная назад сила прикладывается к периферийному краю лезвия.
[0051] Такое отверстие для проталкивания также обеспечивает удобный для пользователя способ установки относительно сверхмаленького лезвия в держателе, как и множество преимуществ, упомянутых выше.
[0052] Согласно седьмому аспекту настоящего изобретения, предложен сборный инструмент, содержащий: держатель согласно первому аспекту и лезвие согласно шестому аспекту; причем держатель дополнительно содержит направляющее отверстие держателя, открывающееся к боковой опорной поверхности гнезда.
[0053] Таким образом, ключ для проталкивания, который может представлять собой простой цилиндрический шток (или иметь дополнительные признаки, как описано ниже), может вставляться через отверстие для проталкивания и в направляющее отверстие держателя и затем перемещаться для того, чтобы прикладывать направленную назад силу к отверстию для проталкивания, чтобы перемещать лезвие назад. Хотя предпочтительно, если отверстие является суженным, чтобы обеспечивать поднятие ключа за счет рычага из суженного участка отверстия, отверстие также может быть просто увеличенным относительно отверстия для проталкивания лезвия или, например, удлиненным в направлении назад, и в таких случаях ключ для проталкивания может просто полностью вставляться и перемещаться в направлении назад, чтобы перемещать лезвие. В любом случае, относительно более сплошной держатель предотвращает повреждение относительно более тонкого лезвия. Конечно, суженный участок, как показано на чертежах, является предпочтительным для управляемого проталкивания лезвия.
[0054] Предпочтительно, в любом аспекте, в котором лезвие содержит отверстие для проталкивания, которое содержит внутреннюю поверхность отверстия, которая продолжается перпендикулярно первой и второй сторонам лезвия. Это обеспечивает возможность простого выполнения отверстия для проталкивания, например, с помощью процесса лазерной резки. В качестве конкретного представления, другие отверстия могут отличаться от плоских в том, что они выполняются с возможностью приема головки винта (и в силу этого выполняются с так называемой колоколообразной формой) или резьбового хвостовика винта (и в силу этого выполняются с резьбовой внутренней поверхностью отверстия). Поскольку отверстие для проталкивания настоящего изобретения не выполняется с возможностью приема винта, оно может быть таким, как описано выше.
[0055] Согласно восьмому аспекту настоящего изобретения, предложен сборный инструмент, содержащий: держатель согласно первому аспекту и лезвие, упруго удерживаемое посредством зажима держателя в держателе, причем лезвие содержит посадочное гнездо лезвия, выполненное с возможностью упругого зажимания.
[0056] Следует понимать, что лезвие, упруго удерживаемое посредством держателя, само лезвие, выполненное с возможностью упруго удерживать режущую пластину, само по себе является нетривиальным решением, поскольку при вынимании режущей пластины из посадочного гнезда лезвия, лезвие может случайно выталкиваться из держателя. Оснований для этого еще больше, когда направление выталкивания лезвия и режущей пластины является идентичным (в примере, показанном на чертежах, оба направления выталкивания представляют собой направление вперед). Таким образом, предпочтительно, если зажим держателя выполнен с возможностью приложения большей силы зажима к лезвию, чем сила зажима, которую лезвие выполнено с возможностью приложения к режущей пластине, удерживаемой в посадочном гнезде лезвия. Другими словами, первая сила зажима, прикладываемая к отрезному лезвию в гнезде держателя, больше второй силы зажима, прикладываемой к режущей пластине в посадочном гнезде лезвия.
[0057] В частности, сборный инструмент и его компоненты могут не иметь винтов, что обеспечивает простоту изготовления и компактность (поскольку винты не должны обязательно приспосабливаться, а также поскольку резьбовые отверстия требуют относительно большей толщины в компоненте, чем нерезьбовое отверстие). Другими словами, сборный инструмент может содержать только держатель, лезвие и режущую пластину (причем такое определение исключает инструменты, используемые для того, чтобы вставлять и вынимать лезвие и режущую пластину, например, ключи для проталкивания, и направлено только на компоненты, участвующие в станочной обработке).
[0058] Другими словами, сборный инструмент и его компоненты могут не иметь резьбы. В качестве конкретного представления, сборный инструмент не имеет резьбы для целей установки лезвия в держателе и режущей пластины в лезвии. Может быть предложен винт или резьба для несвязанной цели, не релевантной для настоящего изобретения (например, винт может предоставляться для того, чтобы обеспечивать возможность регулирования хвостовика в револьверном суппорте). Следует понимать, что признаки сборного инструмента, не имеющего винтов или резьбы, связаны с упругим способом, которым лезвие удерживается в держателе, и режущая пластина удерживается в лезвии (или с упругим способом, которым режущая пластина удерживается в держателе, в альтернативном варианте).
[0059] С учетом необычной преимущественной конструкции миниатюрного лезвия, следует понимать, что другой способ задавать такое лезвие, помимо предоставления числовых размеров, состоит в том, чтобы отмечать пропорции посадочного гнезда лезвия и сплошного участка лезвия.
[0060] Согласно девятому аспекту настоящего изобретения, предложено лезвие, содержащее: противоположные первую и вторую стороны лезвия; противоположные передний и задний края лезвия; противоположные верхний и нижний края лезвия; первое гнездо лезвия, открывающееся к переднему краю лезвия и содержащее базовый прихват гнезда и вспомогательный прихват гнезда, расположенный напротив базового прихвата гнезда и выполненный с возможностью упругого зажимания; максимальную высоту ВН лезвия, измеряемую от нижнего края лезвия до верхнего края лезвия; максимальную длину BL лезвия, перпендикулярную максимальной высоте ВН лезвия и измеряемую от переднего края лезвия до заднего края лезвия; максимальную толщину ВТ лезвия, перпендикулярную максимальной высоте ВН лезвия и измеряемую от первой стороны лезвия до второй стороны лезвия; и максимальную длину SL посадочного гнезда, параллельную максимальной длине BL лезвия и измеряемую от самой передней точки первого гнезда лезвия, смежной с передним краем лезвия, до самой задней точки первого гнезда лезвия, дальней по отношению к переднему краю лезвия; при этом: максимальная толщина ВТ лезвия меньше максимальной высоты ВН лезвия; максимальная длина BL лезвия и максимальная длина SL посадочного гнезда задают отношение BL/SL длины и посадочного гнезда, удовлетворяющее условию: BL/SL<5.
[0061] Для лезвий с посадочными гнездами лезвия, открывающимися к переднему и заднему краям лезвия, компактный размер лезвия может задаваться немного по-другому, чем в девятом аспекте.
[0062] Согласно десятому аспекту настоящего изобретения, предложено лезвие, содержащее: противоположные первую и вторую стороны лезвия; противоположные передний и задний края лезвия; противоположные верхний и нижний края лезвия; первое и второе посадочные гнезда лезвия, содержащие базовый прихват гнезда и вспомогательный прихват гнезда, расположенный напротив базового прихвата гнезда и выполненный с возможностью упругого зажимания; максимальную высоту ВН лезвия, измеряемую от нижнего края лезвия до верхнего края лезвия; максимальную длину BL лезвия, перпендикулярную максимальной высоте ВН лезвия и измеряемую от переднего края лезвия до заднего края лезвия; максимальную толщину ВТ лезвия, перпендикулярную максимальной высоте ВН лезвия и измеряемую от первой стороны лезвия до второй стороны лезвия; и длину STS между посадочными гнездами лезвия, параллельную максимальной длине BL лезвия и измеряемую параллельно максимальной длине BL лезвия между самыми дальними участками первого и второго гнезд лезвия; при этом: первое гнездо лезвия открывается к переднему краю лезвия; второе гнездо лезвия открывается к заднему краю лезвия; максимальная толщина ВТ лезвия меньше максимальной высоты ВН лезвия; максимальная длина STS между посадочными гнездами лезвия и максимальная высота ВН лезвия задают отношение STS/BH высот между посадочными гнездами, удовлетворяющее условию: STS/BH>1,2.
[0063] Аналогичное, при этом другое определение задается согласно одиннадцатому аспекту настоящего изобретения, в котором предложено лезвие, содержащее: противоположные первую и вторую стороны лезвия; противоположные передний и задний края лезвия; противоположные верхний и нижний края лезвия; первое гнездо лезвия, открывающееся к переднему краю лезвия, содержащее базовый прихват гнезда и вспомогательный прихват гнезда, расположенный напротив базового прихвата гнезда и выполненный с возможностью упругого зажимания; максимальную высоту ВН лезвия, измеряемую от нижнего края лезвия до верхнего края лезвия; максимальную длину BL лезвия, перпендикулярную максимальной высоте ВН лезвия и измеряемую от переднего края лезвия до заднего края лезвия; и максимальную толщину ВТ лезвия, перпендикулярную максимальной высоте ВН лезвия и измеряемую от первой стороны лезвия до второй стороны лезвия; и при этом: максимальная толщина ВТ лезвия меньше максимальной высоты ВН лезвия; максимальная длина BL лезвия и максимальная высота ВН лезвия задают отношение BL/BH длины к высоте, удовлетворяющее условию: BL/BH>1,2.
[0064] Следует понимать, что дополнительно заданные лезвия девятого, десятого и одиннадцатого аспектов направлены на различные определения преимущественного миниатюрного лезвия, в частности, полезные для швейцарских вариантов осуществления, и могут использоваться с предыдущими аспектами способа, держателя и инструмента, а также включаться в качестве дополнительных признаков предыдущих аспектов лезвия.
[0065] Конкретный инструмент, разработанный для сборного инструмента с упомянутым отверстием зажима, направляющим отверстием держателя или отверстием для проталкивания, в данном документе называется ʺключом для проталкиванияʺ. Следует понимать, что ключ для проталкивания в форме простого цилиндрического штока может использоваться для того, чтобы закреплять режущую пластину или лезвие в держателе с помощью соответствующего направляющего отверстия держателя. Тем не менее, предпочтительно, если ключ для проталкивания имеет участок с увеличенным поперечным сечением. Участок с увеличенным поперечным сечением имеет размер, больший отверстия для проталкивания и направляющего отверстия держателя, так что он выступает в качестве стопора. Это может обеспечивать то, что пользователь должен беспокоиться только касательно перемещения для проталкивания и не должен обязательно вручную управлять глубиной, на которую ключ для проталкивания входит в держатель. Также предпочтительно, если ключ для проталкивания содержит рукоятку.
[0066] Таким образом, согласно двенадцатому аспекту настоящего изобретения, предложен ключ для проталкивания, содержащий: первый и второй концы ключа и удлиненный промежуточный корпус ключа, продолжающийся между ними; ключ для проталкивания дополнительно содержит рукоятку рядом с первым концом ключа; причем второй конец ключа содержит область с первым поперечным сечением; назад второго конца ключа продолжается рабочий участок; причем промежуточный корпус ключа содержит область со вторым поперечным сечением; область со вторым поперечным сечением больше области с первым поперечным сечением и расположена между рукояткой и вторым концом ключа и составляет оконечность рабочего участка.
[0067] Ниже подробно поясняются различные предпочтительные признаки, связанные с ключом для проталкивания.
[0068] Предпочтительно, область с первым поперечным сечением является круглой.
[0069] Предпочтительно, область со вторым поперечным сечением является круглой.
[0070] Предпочтительно, ключ для проталкивания изготовлен из металла, за исключением рукоятки.
[0071] Предпочтительно, ключ для проталкивания, за исключением рукоятки, имеет форму удлиненного штока. Это, конечно, не означает то, что поперечное сечение должно быть однородным, поскольку выше отмечаются отличающиеся поперечные сечения. Другими словами, форма удлиненного штока может иметь радиальный уступ, уклон или другое образование, при переходе между областями с первым и вторым поперечным сечением.
[0072] Следует понимать, что ключ для проталкивания согласно этому аспекту представляет собой только предпочтительный вариант осуществления, и что может использоваться даже цилиндрический шток.
[0073] Согласно любому вышеприведенному аспекту способа, дополнительный этап может включать в себя вставку ключа для проталкивания в отверстие зажима, в направляющее отверстие держателя или в отверстие для проталкивания до тех пор, пока осевое перемещение не прекращается посредством области со вторым поперечным сечением, примыкающей к соответствующему отверстию, через которое он вставлен. Следующий этап может представлять собой поднятие за счет рычага или перемещение ключа для проталкивания, чтобы приводить в движение зажим держателя, лезвие или режущую пластину.
[0074] Согласно вышеприведенному любому аспекту сборного инструмента, сборный инструмент дополнительно может содержать ключ для проталкивания, имеющий только один цилиндрический рабочий участок (т.е. за исключением двухштырьковых ключей, используемых для того, чтобы вставлять режущую пластину с помощью вращательного движения). Предпочтительно, ключ для проталкивания имеет базовую форму удлиненного штока. Ключ для проталкивания дополнительно может содержать любой из признаков, описанных выше. В таком инструменте, преимущество может состоять в том, что полный инструмент имеет меньшее число частей, чем винтовой инструмент. Например, в инструменте с лезвием, полный инструмент содержит только и только четыре компонента для сборки и работы (т.е. держатель, лезвие, режущую пластину, закрепленную на лезвии, и ключ для проталкивания). Например, в инструменте только с режущей пластиной с отверстием для проталкивания, полный инструмент содержит только и только три компонента для сборки и работы (т.е. держатель, режущую пластину, закрепленную на держателе, и ключ для проталкивания).
[0075] Дополнительное преимущество ключа для проталкивания или способа установки/вынимания лезвия или режущей пластины с отверстием для проталкивания, продолжающимся через него, состоят в том, что даже при выталкивании лезвия или режущей пластины, ключ для проталкивания остается продолжаться через лезвие или режущую пластину, а также через держатель таким образом, что лезвие или режущая пластина более не закрепляются в держателе, но не могут падать на пол.
[0076] Предпочтительные дополнительные признаки лезвия согласно любому из предыдущих аспектов заключаются в следующем.
[0077] Ниже подробно поясняются различные предпочтительные признаки, связанные с формой лезвия.
[0078] Относительно компактной формы лезвия, отношение BL/SL длины и посадочного гнезда предпочтительно удовлетворяет условию: BL/SL<5, более предпочтительно, BL/SL<4, или наиболее предпочтительно, BL/SL<3,5. В качестве конкретного представления, как видно в показанных примерах, максимальная длина SL посадочного гнезда измеряется от угла (самой наружной части посадочного гнезда лезвия) до конца прорези. В случаях, если лезвие имеет более одного посадочного гнезда лезвия, и они не имеют идентичную форму, посадочное гнездо лезвия с большей максимальной длиной SL посадочного гнезда предназначено для использования.
[0079] Как альтернативно или дополнительно задано, чтобы обеспечивать дополнительную устойчивость лезвия для швейцарских операций, может предоставляться предпочтительный еще один необязательный упрочняющий участок (показан на чертежах как ʺпервый и второй упрочняющие участкиʺ), продолжающийся не только ниже посадочного гнезда лезвия, но даже впереди него. Поскольку такие упрочняющие участки являются исключительно необязательными, альтернативное определение удлиненной формы лезвия может задаваться с максимальной длиной STS между посадочными гнездами лезвия. В показанном примере, длина STS между посадочными гнездами лезвия измеряется между первым и вторым углами, которые ассоциированы с прихватом гнездалезвия посадочных гнезд лезвия. Предпочтительно, отношение STS/BH высот между посадочными гнездами удовлетворяет условию: STS/BH>1,2, более предпочтительно, STS/BH>1,4. Тем не менее, вследствие ограничений по пространству в горизонтальном направлении, по-прежнему желательно, если лезвие не является чрезмерно удлиненным в горизонтальном направлении. Соответственно, предпочтительно, если отношение STS/BH высот между посадочными гнездами удовлетворяет условию: STS/BH<2,4, предпочтительно, STS/BH<2,0.
[0080] Независимо от числа посадочных гнезд лезвия или их размера, в общем, относительно формы лезвия, хотя лезвие регулярной формы (треугольное, квадратное, шестиугольное и т.д.) является осуществимым, для улучшенной компактности в вертикальном направлении швейцарского агрегата, предпочтительно, если лезвие является удлиненным. В дополнение или альтернативно предыдущим определениям размеров, отношение BL/BH длины к высоте предпочтительно удовлетворяет условию: BL/BH>1,2, или предпочтительно, BL/BH>1,5. Тем не менее, поскольку также имеются ограничения по пространству в горизонтальном направлении, по-прежнему желательно, если лезвие не является чрезмерно удлиненным в горизонтальном направлении.
Соответственно, предпочтительно, если отношение BL/BH длины к высоте удовлетворяет условию: BL/BH<2,6, предпочтительно, BL/BH<2,4.
[0081] Касательно размеров в количественных значениях, предпочтительно, если максимальная длина BL лезвия удовлетворяет условию: BL<45 мм, более предпочтительно, BL<35 мм, и наиболее предпочтительно, BL<30 мм. Тем не менее, лезвие не может уменьшаться по длине до нуля. Соответственно, предпочтительно, если длина BL лезвия также удовлетворяет условию: BL>15 мм, предпочтительно, BL>20 мм.
[0082] Дополнительно или альтернативно, предпочтительно, если максимальная высота ВН лезвия удовлетворяет условию: ВН<45 мм, более предпочтительно, ВН<25 мм, и наиболее предпочтительно, ВН<20 мм. Тем не менее, лезвие не может уменьшаться по высоте до нуля. Соответственно, предпочтительно, если высота ВН лезвия также удовлетворяет условию: ВН>5 мм, предпочтительно, ВН>10 мм.
[0083] Для полноты, для операций отрезания наименьшая толщина лезвия, которая предоставляет достаточную конструктивную прочность, является предпочтительной. В настоящей заявке, миниатюрные лезвия настоящего изобретения отличаются от нормальных отрезных лезвий, которые наиболее часто имеют толщину лезвия в 2 мм или 3 мм. Более конкретно, предпочтительно, если лезвия настоящего изобретения имеют максимальную толщину ВТ лезвия, удовлетворяющую условию: ВТ<1,6 мм, более предпочтительно, ВТ<1,2 мм, и наиболее предпочтительно, ВТ<1,0 мм или даже ВТ<0,8 мм. Тем не менее, лезвие не может уменьшаться по толщине до нуля. Соответственно, предпочтительно, если толщина ВТ лезвия также удовлетворяет условию: ВТ>0,5 мм.
[0084] Предпочтительно, если лезвие имеет плоскую форму (т.е. вообще без выступов, продолжающихся в боковых направлениях из первой и второй сторон лезвия). Более конкретно, под выступом не подразумевается простое утолщение центральной части лезвия, чтобы увеличивать конструктивную устойчивость. Следует понимать, что определенные адаптерные компоненты имеют поперечно продолжающиеся выступы для целей установки, а не для конструктивной прочности.
[0085] Ниже подробно поясняются различные предпочтительные признаки, связанные с посадочными гнездами лезвия и режущими пластинами, удерживаемыми за счет них.
[0086] Следует понимать, что такие посадочные гнезда лезвия с небольшими толщинами предпочтительно являются упругими, поскольку предложено мало места для резьбовых отверстий, чтобы удерживать винт. Упругие посадочные гнезда лезвия для лезвия могут иметь любую известную конфигурацию. В качестве конкретного представления, упругое посадочное гнездо лезвия не имеет винта или зажима для удерживания режущей пластины в посадочном гнезде, а вместо этого использует упругое перемещение, типично одной из, губок посадочного гнезда. Каждое посадочное гнездо лезвия в данном документе может содержать базовый прихват гнезда (т.е. расположенный ниже режущей пластины или, другими словами, на противоположной стороне режущей пластины по отношению к скошенной поверхности режущей пластины) и вспомогательный прихват гнезда. Вспомогательный прихват гнезда, примерно проиллюстрированный на чертежах в данном документе, продолжается выше режущей пластины и может задаваться как расположенный выше базового прихвата гнезда. Другая известная конфигурация представляет собой конфигурацию, в которой вспомогательный прихват расположен сзади относительно базового прихвата гнезда, как показано в USP 9259788. В вариантах осуществления, в которых максимальная толщина ВТ лезвия для лезвия является чрезвычайно небольшой (1 мм или меньше), предпочтительно, если режущая пластина выполняется с противоположными клиновидными поверхностями, и как базовый прихват гнезда, так и вспомогательный прихват гнезда формируются с клиновидными поверхностями, что способствует установке режущей пластины в сгибаемом металлическом лезвии.
[0087] Чтобы не допускать ослабления уже сверхмаленького лезвия в силу вынимания слишком большого количества материала, предпочтительно, если лезвие содержит менее трех посадочных гнезд лезвия (т.е. одно или два посадочных гнезда лезвия). Это обусловлено тем, что посадочное гнездо лезвия, расположенное под другим посадочным гнездом лезвия, которое удерживает режущую пластину, активную в станочной обработке, должно ослаблять область под активным посадочным гнездом лезвия, что в случаях швейцарской станочной обработки и/или чрезвычайно тонких лезвий является гораздо более важным, чем в больших лезвиях. Таким образом, также следует понимать, почему наиболее предпочтительно, если лезвие содержит только два посадочных гнезда лезвия (что делает лезвие более экономичным, чем если оно имеет одно посадочное гнездо лезвия). Тем не менее, следует отметить, что одно посадочное гнездо лезвия представляет собой осуществимый, но при этом менее предпочтительный вариант, чем более двух посадочных гнезд лезвия, по поясненным причинам. Тем не менее, безусловно считается, что два посадочных гнезда лезвия является оптимальным числом.
[0088] Хотя должно быть возможным позиционировать посадочные гнезда лезвия в диаметрально противоположных углах (например, одно расположено в правом верхнем углу, а другое в левом нижнем углу, на виде сбоку лезвия), предпочтительно, если используется зеркально-симметричная компоновка (как проиллюстрировано, когда одно расположено в правом верхнем углу, а другое в левом верхнем углу, на виде сбоку). Другими словами, предпочтительно, первое и второе посадочные гнезда лезвия открываются ближе к верхнему краю лезвия, чем к нижнему краю лезвия. Другими словами, предпочтительно, если оба посадочных гнезда лезвия находятся рядом с верхним краем лезвия.
[0089] Это обеспечивает различные преимущества, например, более компактную конструкцию лезвия. Поскольку гнездо держателя утоплено в профиле поперечного сечения держателя, лезвие может быть удлиненным без влияния на компактность (т.е. на высоту, имеющую особую важность в швейцарских вариантах осуществления). Дополнительно, гнездо лезвия около верхнего края лезвия и другой около нижнего края лезвия, при своей идеальной целесообразности, также должны уменьшать опору лезвия посредством гнезда лезвия вдоль нижнего края лезвия. Другими словами, потеря опоры уменьшается, поскольку заднее посадочное гнездо лезвия (т.е. второе гнездо лезвия на чертежах) ассоциировано только с меньшей опорной поверхностью, а именно, с задней опорной поверхностью гнезда, которая представляет собой по существу стопор. Следует понимать, что большая часть сил на лезвии прикладываются в направлении вниз. Также следует понимать, что независимо от других конструктивных признаков, полная опора лезвия на нижней опорной поверхности гнезда является преимущественной по сравнению с лезвиями, которые не имеют опоры ниже посадочного гнезда лезвия.
[0090] Предпочтительно, нижняя опорная поверхность гнезда продолжается по меньшей мере под участком самого переднего посадочного гнезда лезвия (т.е. активного посадочного гнезда лезвия, которое на чертежах показано как первое гнездо лезвия). Более предпочтительно, нижняя опорная поверхность гнезда продолжается под всем самым передним посадочным гнездом лезвия, обеспечивая полную опору под ним. В наиболее предпочтительных вариантах осуществления, нижняя опорная поверхность гнезда продолжается даже вперед относительно области под самым передним посадочным гнездом лезвия. Конечно, во втором предпочтении, участок может называться ʺупрочняющим участкомʺ. Другими словами, лезвие может содержать упрочняющий участок, продолжающийся из-под самого переднего посадочного гнезда лезвия и впереди него, а также продолжающийся в нижний край лезвия. В инструменте, упрочняющий участок в нижнем крае лезвия примыкает к нижней опорной поверхности гнезда. Следует понимать, что оно является более устойчивым, чем традиционные лезвия, которые типично частично не имеют опоры под посадочными гнездами для своего лезвия. Это также может задаваться относительно только лезвия, например, предпочтительно, если нижний край лезвия продолжается под всем посадочным гнездом лезвия. Более предпочтительно, если нижний край лезвия продолжается вперед относительно посадочного гнезда лезвия. Другими словами, предпочтительно, если упрочняющий участок продолжается от посадочного гнезда лезвия до нижнего края лезвия. Предпочтительно, если упрочняющий участок продолжается вперед относительно посадочного гнезда лезвия.
[0091] Хотя пояснено то, что сплошная режущая пластина является предпочтительной, дополнительно следует отметить, что пластина с одним режущим краем также является предпочтительной. Хотя режущие пластины более чем с одним режущим краем (т.е. индексированные режущие пластины) являются более экономичными, они также могут уменьшать глубину резания. Дополнительно, в держателе, показанной в первом варианте осуществления на чертежах, поскольку лезвие вставляется при движении с плавным перемещением, дополнительный режущий край должен препятствовать такой вставке в силу столкновения вследствие удара с боковой опорной поверхностью гнезда (это не имеет место для второго варианта осуществления, в котором зажим держателя поднимается, и режущая пластина или лезвие вставляется поперечно). Хотя альтернативная боковая опорная поверхность гнезда с рельефным гнездом на высоте режущего края представляет собой вариант, она уменьшает устойчивость лезвия рядом с участком зажима и вызывает изгиб в лезвии. Таким образом, лезвие по меньшей мере для варианта осуществления при движении с плавным перемещением обеспечивает возможность использования гораздо меньшей и в силу этого более экономичной режущей пластины.
[0092] Для определения углов: базовый прихват гнезда и передний край лезвия могут пересекаться в первом углу. Аналогично, в вариантах осуществления с двумя посадочными гнездами лезвия, другой базовый прихват гнезда и задний край лезвия могут пересекаться во втором углу. Вспомогательный прихват гнезда и верхний край лезвия могут пересекаться в третьем углу. Аналогично, в вариантах осуществления с двумя посадочными гнездами лезвия, другой вспомогательный прихват гнезда и верхний край лезвия могут пересекаться в четвертом углу.
[0093] Ниже подробно поясняются различные предпочтительные признаки, связанные с зажиманием и/или установкой.
[0094] Хотя зажим держателя, в теории, может зажимать сторону лезвия, чтобы смещать лезвие против боковой опорной поверхности гнезда, предпочтительный вариант состоит в том, что верхний край лезвия должен содержать клиновидный участок верхнего края.
[0095] В качестве конкретного представления, упомянутое сужение может задаваться из первой боковой поверхности лезвия к второй боковой поверхности лезвия (для одной наклонной поверхности). Более предпочтительно, оно клиновидно сужается из первой и второй боковой поверхности (т.е. из сдвоенной наклонной поверхности, например, с перевернутой V-образной формой), чтобы обеспечивать возможность индексации лезвия.
[0096] По аналогичным соображениям, предпочтительно, если нижний край лезвия содержит клиновидный участок нижнего края, который также может представлять собой одну наклонную поверхность, но предпочтительно представляет собой сдвоенный наклонный край. Следует понимать, что когда лезвие содержит клиновидный участок верхнего края, соответствующая верхняя опорная поверхность зажима содержит верхний клиновидный участок зажима. Аналогично, когда лезвие содержит клиновидный участок нижнего края, соответствующая нижняя опорная поверхность гнезда содержит нижний клиновидный участок гнезда.
[0097] Чтобы уменьшать величину силы для подъема упругого зажима держателя, клиновидный участок верхнего края лезвия предпочтительно может содержать длину TTL клиновидного участка верхнего края лезвия, которая предпочтительно меньше максимальной (общей) длины MTL верхнего края лезвия для верхнего края лезвия. Более конкретно, максимальная длина MTL верхнего края лезвия и длина TTL клиновидного участка верхнего края лезвия задают отношение MTL/TTL верхних краев, удовлетворяющее условию: MTL/TTL>2, или предпочтительно, MTL/TTL>3.
[0098] Чтобы предоставлять дополнительную конструктивную прочность под посадочным гнездом лезвия, т.е. в месте, в котором большая часть сил прикладываются к лезвию (т.е. в направлении вниз, в отличие от направления назад), нижний край лезвия предпочтительно является более длинным, чем верхний край лезвия.
[0099] Хотя верхний и нижний края лезвия предпочтительно являются клиновидными, что помогает в удерживании лезвия против поперечных сил во время станочной обработки, конструктивная прочность в верхнем лезвии может уменьшаться (за счет сокращения его длины) для другого преимущества, а именно, для того, чтобы уменьшать величину силы, требуемой для того, чтобы поднимать зажим, при предоставлении возможности клиновидному участку верхнего края лезвия перемещаться в полностью установленное состояние (что занимает больше времени, если клиновидный участок верхнего края лезвия является относительно более длинным). Соответственно, предпочтительно, если длина TTL клиновидного участка верхнего края лезвия (т.е. клиновидного участка только верхнего края лезвия) меньше длины TBL клиновидного участка нижнего края лезвия (т.е. клиновидного участка только нижнего края лезвия), задает отношение клиновидных участков в TTL/TBL<1. Предпочтительно, TTL/TBL<0,75, более предпочтительно, TTL/TBL<0,50, и наиболее предпочтительно, TTL/TBL<0,25.
[00100] Предпочтительно, клиновидный участок верхнего края расположен выше относительно ненагружаемых участков. Это также уменьшает величину силы и/или время, требуемое на то, чтобы поднимать зажим держателя. Предпочтительно, клиновидный участок верхнего края расположен между двумя ненагружаемыми участками.
[00101] Предпочтительно, клиновидный участок верхнего края продолжается вперед и вниз на одной стороне и назад и вниз на другой стороне. Другими словами, клиновидный участок верхнего края предпочтительно может иметь пик или вершину. Это дополнительно может уменьшать силу/время, требуемые для зажимания лезвия.
[00102] Предпочтительно, в частности, для индексированных лезвий с двумя посадочными гнездами лезвия, смежными с верхним краем лезвия, клиновидный участок верхнего края расположен по центру.
[00103] Предпочтительно, клиновидный участок нижнего края продолжается вдоль большей части нижнего края лезвия. Следует понимать, что чем более длинным является клиновидный участок, тем большую поперечную устойчивость он должен предоставлять. Это отличается от сокращенной длины клиновидного участка верхнего края, которая предпочтительно должна сокращаться для другой выгоды. Наиболее предпочтительно, клиновидный участок нижнего края продолжается вдоль полностью нижнего края лезвия.
[00104] Конструктивная прочность, упомянутая выше, альтернативно может задаваться посредством лезвия, содержащего упрочняющий участок, продолжающийся вниз и вперед из посадочного гнезда лезвия. Более конкретно, лезвие может содержать первый упрочняющий участок, продолжающийся из первого угла в направлении вниз и вперед. В вариантах осуществления со вторым посадочным гнездом лезвия, открывающимся к заднему краю лезвия, лезвие может содержать второй упрочняющий участок, продолжающийся от второго угла в направлении вниз и назад. В вышеуказанных определениях, упомянутые первый и второй углы расположены, соответственно, в месте, в котором базовый прихват гнезда первого гнезда лезвия пересекается с передним краем лезвия, и в месте, в котором базовый прихват гнезда второго гнезда лезвия пересекаются с задним краем лезвия.
[00105] Предпочтительно, нижний край лезвия продолжается по прямой линии на виде сбоку лезвия. Следует понимать, что лезвия с нижним передним упором (с уступами) не могут индексироваться идентичным способом плавного перемещения и в силу этого не конструируются с двумя посадочными гнездами лезвия в переднем и заднем краях лезвия.
[00106] Ниже подробно поясняются различные предпочтительные признаки, связанные с отверстием для проталкивания.
[00107] В то же время, лезвия предшествующего уровня техники могут иметь отверстия, выполненные с возможностью выталкивания или установки режущих пластин (в дальнейшем называемые ʺотверстиями для выталкиванияʺ, обозначенные как ʺ55ʺ на фиг. 4С). Новое отверстие для проталкивания настоящего изобретения не представляет собой отверстие для выталкивания. Соответственно, даже в настоящем изобретении, направленном на очень маленькое лезвие, лезвие по-прежнему содержит дополнительное отверстие поверх двух показанных отверстий для выталкивания. Другими словами, лезвие согласно настоящему изобретению может содержать больше отверстий, чем посадочных гнезд лезвия (например, в примерах, показаны два посадочных гнезда лезвия, два отверстия для выталкивания и дополнительное отверстие, представляющее собой упомянутое отверстие для проталкивания). Другими словами, лезвие согласно настоящему изобретению предпочтительно может иметь больше отверстий, чем посадочных гнезд под режущую пластину. Тем не менее, целесообразно то, что одно отверстие может выполняться для двойного назначения.
[00108] Предпочтительно, отверстие для проталкивания расположено симметрично между двумя посадочными гнездами лезвия.
[00109] Предпочтительно, отверстие для проталкивания расположено ближе к нижнему краю лезвия, чем посадочное гнездо лезвия или посадочные гнезда лезвия (в вариантах осуществления более чем с одним посадочным гнездом лезвия). Это может предоставлять большую конструктивную устойчивость для лезвия, чем введение недостаточного количества материала непосредственно между двумя пустотами (т.е. между посадочными гнездами лезвия).
[00110] Предпочтительно, отверстие для проталкивания больше каждого из соответствующих отверстий для выталкивания.
[00111] Предпочтительно, максимальный размер РН отверстия для проталкивания удовлетворяет условию РН>2 мм. Более предпочтительно, РН>3 мм. Тем не менее, для миниатюрных лезвий, чтобы не допускать чрезмерного ослабления лезвия, также предпочтительно, если РН<5 мм. В примерном варианте осуществления, отверстие для проталкивания предпочтительно является цилиндрическим, и максимальный размер РН отверстия для проталкивания представляет собой диаметр, как показано на виде сбоку. Тем не менее, отверстие для проталкивания также может иметь другую форму или даже быть удлиненным. Для простоты выполнения, цилиндрическая форма представляет собой наиболее предпочтительную форму.
[00112] Когда лезвие имеет зеркально-симметричную форму относительно плоскости посередине между передним и задним краями, предпочтительно, отверстие для проталкивания находиться в середине лезвия.
[00113] Ниже подробно поясняются различные предпочтительные признаки, связанные с гнездом держателя.
[00114] Хотя в теории, зажим держателя может примыкать к стороне режущей пластины или к стороне лезвия для того, чтобы более надежно зажимать, верхняя опорная поверхность зажима предпочтительно может быть наклонной внутрь таким образом, что она обращена к направлению вниз и второму боковому направлению. Это обеспечивает возможность направления сил зажима как на боковую опорную поверхность гнезда, так и на нижнюю опорную поверхность гнезда. По аналогичным причинам, нижняя опорная поверхность гнезда предпочтительно является наклонной внутрь таким образом, что она обращена к направлению вверх и второму боковому направлению. Наиболее предпочтительно, как верхняя опорная поверхность зажима, так и нижняя опорная поверхность гнезда являются наклонными внутрь к боковой опорной поверхности гнезда и друг к другу.
[00115] Хотя осуществимый вариант заключается в том, что задняя опорная поверхность гнезда должны быть наклонной внутрь к боковой опорной поверхности гнезда, в вариантах осуществления, в которых нижняя опорная поверхность гнезда и/или верхняя опорная поверхность зажима являются клиновидными, более предпочтительно, если она не является наклонной, а предпочтительно является обращенной только в направлении вперед. Другими словами, предпочтительно, задняя опорная поверхность гнезда является перпендикулярной боковой опорной поверхности гнезда. Это обусловлено тем, что нижняя опорная поверхность гнезда и/или верхняя опорная поверхность зажима уже являются клиновидными, в силу этого предоставляя достаточную поперечную опору и обеспечивая возможность производства более экономичной задней опорной поверхности гнезда (и соответствующей режущей пластины или заднего края лезвия).
[00116] Хотя нижняя опорная поверхность гнезда может формироваться в качестве одного или более точечных контактов, предпочтительно, если, на виде сбоку первой стороны держателя во втором боковом направлении, нижняя опорная поверхность гнезда является удлиненной. Для сравнения, задняя опорная поверхность гнезда может быть относительно меньшей, поскольку она главным образом предоставляет функцию стопора (в отличие от нижней опорной поверхности гнезда, которая принимает большую часть сил станочной обработки).
[00117] Предпочтительно, боковая опорная поверхность гнезда продолжается сзади относительно участка зажима, предпочтительно, сзади относительно всего зажима держателя. Это позволяет лезвию быть конструктивно сильнее (поскольку пустота, которая состоит из посадочного гнезда лезвия, относительно меньше участка материала лезвия, чем должно иметь место, если лезвие является более коротким в направлении вперед/назад),
[00118] Предпочтительно, задняя опорная поверхность гнезда расположена сзади относительно всего зажима держателя.
[00119] Предпочтительно, задняя опорная поверхность гнезда обращена в направлениях вниз и вперед, что помогает в предотвращении вращения лезвия или режущей пластины, зажимаемой в держателе.
[00120] Ниже подробно поясняются различные предпочтительные признаки, связанные с зажимом держателя.
[00121] В соответствии с некоторыми вариантами осуществления, предпочтительно, зажим держателя является сплошным (т.е. не имеет отверстия).
[00122] Чтобы обеспечивать возможность перемещения без пластической деформации, предпочтительно, если упругий шарнирный участок разнесен от первой стороны. Предпочтительно, упругий шарнирный участок продолжается из верхней стороны головки, смежной со второй стороной держателя. Дополнительно, предпочтительно, упругий шарнирный участок не продолжается мимо второй стороны держателя (обеспечивая более компактную форму).
[00123] Предпочтительно, промежуточный участок продолжается только в первом боковом направлении (т.е. с уменьшением нависания вперед из лезвия в агрегате).
[00124] Ниже подробно поясняются различные предпочтительные признаки, связанные с направляющим отверстием держателя.
[00125] Направляющее отверстие держателя может представлять собой глухое отверстие, но предпочтительно представляет собой сквозную отверстие, открывающееся как к первой стороне держателя (более конкретно, к боковой опорной поверхности гнезда), так и ко второй стороне держателя. Это обеспечивает возможность установки и выталкивания режущей пластины или лезвия с помощью ключа для проталкивания с любой из двух сторон держателя.
[00126] Направляющее отверстие держателя предпочтительно является удлиненным в направлениях вперед и назад. Направляющее отверстие держателя предпочтительно имеет суженный участок. Направляющее отверстие держателя предпочтительно имеет форму песочных часов (либо, другими словами, является Х-образной).
[00127] Следует понимать, что поскольку винт не должен использоваться, направляющее отверстие держателя предпочтительно является нерезьбовым. Аналогично, предпочтительно, если весь держатель является нерезьбовым (или ʺбезрезьбовымʺ).
[00128] Ниже подробно поясняются различные предпочтительные признаки, связанные с вариантами осуществления швейцарской станочной обработки.
[00129] Относительно базовой конструкции держателя: держатель предпочтительно содержит удлиненный участок хвостовика и участок головки, продолжающийся вперед относительно участка хвостовика. Эта конструкция, например, отличается от типичной конструкции держателя лезвия, например, конструкции, примерно проиллюстрированной в USP 9259788.
[00130] Гнездо держателя по меньшей мере частично образовано на участке головки на первой стороне держателя.
[00131] Предпочтительно, гнездо держателя продолжается сзади относительно участка головки (причем участок головки задается от переднего конца держателя до самой задней точки зажима держателя).
[00132] Участок хвостовика может содержать противоположные первую и вторую стороны хвостовика, соединенные посредством верхней и нижней сторон хвостовика. Все эти стороны предпочтительно являются плоскими. Хотя квадратное поперечное сечение является возможным, прямоугольное поперечное сечение также представляет собой осуществимый вариант. Для вариантов осуществления, отличных от револьверного суппорта для швейцарской станочной обработки, участок хвостовика другой формы, например, цилиндрической, также является осуществимым.
[00133] Для компактности, предпочтительно, если на виде переднего конца держателя (т.е. при просмотре в направлении назад), весь держатель находится на первой, второй, верхней и нижней сторонах хвостовика участка хвостовика (т.е. в поперечном сечении участка хвостовика или в ʺобращенном к передней стороне профилеʺ хвостовика). Это исключает зажим держателя, который в силу необходимости уменьшает компактность держателя. Тем не менее, предпочтительно, если поперечное сечение участка головки превышает поперечное сечение участка хвостовика (на виде, упомянутом выше) только в зажиме держателя, а не в дополнительных направлениях.
[00134] Другими словами, предпочтительно, если на виде спереди держателя (т.е. на виде переднего конца), только участок держателя, который превышает профиль участка хвостовика, находится в направлении вверх. Другими словами, на виде спереди держателя, участок хвостовика имеет профиль, и единственный участок держателя, который продолжается за пределы профиля участка хвостовика, продолжается в направлении вверх.
[00135] Аналогично, за исключением верхнего края лезвия, на виде переднего конца держателя в направлении назад, лезвие находится внутри поперечного сечения участка хвостовика.
[00136] На виде переднего конца держателя в направлении назад, режущий край режущей пластины находится предпочтительно на верхней (правой или левой) области держателя (при этом упомянутая область исключает зажим держателя из рассмотрения).
Краткое описание чертежей
[00137] Для лучшего понимания предмета изобретения настоящей заявки, а также для того, чтобы показывать то, как оно может осуществляться на практике, далее следует обратиться к прилагаемым чертежам, на которых:
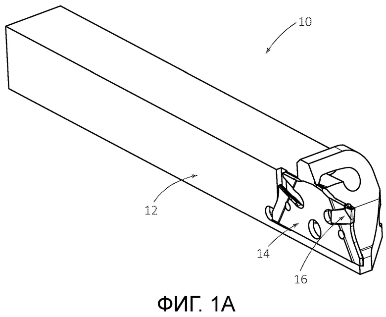
Фиг. 1А является видом сбоку в перспективе сборного инструмента в полностью установленном состоянии (или другими словами, в ʺзажатомʺ или ʺзакрепленномʺ состоянии) согласно настоящему изобретению;
Фиг. 1 В является видом сбоку в перспективе сборного инструмента на фиг. 1А, с другой стороны по отношению к стороне, показанной на фиг. 1А;
Фиг. 2А является видом сверху режущей пластины сборного инструмента на фиг. 1А;
Фиг. 2 В является видом спереди режущей пластины на фиг. 2А;
Фиг. 2С является видом сбоку режущей пластины на фиг. 2А;
Фиг. 2D является видом сзади режущей пластины на фиг. 2А;
Фиг. 3 является видом сбоку ключа для проталкивания;
Фиг. 4А является видом сверху лезвия сборного инструмента на фиг. 1А;
Фиг. 4В является видом спереди лезвия на фиг. 4А;
Фиг. 4С является видом сбоку лезвия на фиг. 4А;
Фиг. 4D является видом сзади лезвия на фиг. 4А;
Фиг. 4Е является видом снизу лезвия на фиг. 4А;
Фиг. 5 является видом сбоку другого лезвия согласно настоящему изобретению и режущей пластины, установленной в нем;
Фиг. 6А является видом сверху держателя сборного инструмента на фиг. 1А;
Фиг. 6В является видом сзади держателя на фиг. 6А;
Фиг. 6С является видом сбоку держателя на фиг. 6А;
Фиг. 6D является видом спереди держателя на фиг. 6А;
Фиг. 6Е является видом сбоку держателя на фиг. 6А, с другой стороны по отношению к стороне, показанной на фиг. 6С;
Фиг. 7А является частичным видом сверху сборного инструмента на фиг. 1А (слово частичный" имеет намерение просто означать то, что весь держатель не показан);
Фиг. 7 В является видом сзади сборного инструмента на фиг. 7А;
Фиг. 7С является частичным видом сбоку сборного инструмента на фиг. 7А;
Фиг. 7D является видом спереди сборного инструмента на фиг. 7А;
Фиг. 7Е является частичным видом сбоку сборного инструмента на фиг. 7А, с другой стороны по отношению к стороне, показанной на фиг. 7С;
Фиг. 8А является частичным видом сбоку в перспективе сборного инструмента на фиг. 1А в полуустановленном состоянии, причем вид задается в направлении, идентичном направлению стрелки, обозначенной как ʺVAʺ на фиг. 9;
Фиг. 8 В является частичным видом сбоку сборного инструмента на фиг. 8А;
Фиг. 8С является частичным видом сбоку в перспективе сборного инструмента на фиг. 8А, причем вид задается в направлении, идентичном направлению стрелки, обозначенной как ʺVCʺ на фиг. 9;
Фиг. 8D является видом в сечении держателя вдоль линии VIIID-VIIID на фиг. 6С;
Фиг. 9 является видом в сечении сборного инструмента вдоль линии IX-IX на фиг. 8В, с ключом для проталкивания по фиг. 3, схематично показанным в четырех различных положениях;
Фиг. 10А является покомпонентным видом сбоку в перспективе другого сборного инструмента согласно настоящему изобретению;
Фиг. 10В является видом сбоку в перспективе сборного инструмента на фиг. 10А;
Фиг. 10С является видом спереди сборного инструмента на фиг. 10А;
Фиг. 11А является видом сбоку в перспективе сборного инструмента на фиг. 10А, дополнительно содержащего ключ для проталкивания; и
Фиг. 11 В является видом сбоку в перспективе сборного инструмента на фиг. 11А, с другой стороны по отношению к стороне, показанной на фиг. 11А.
Подробное описание изобретения
[00138] Ссылаясь на фиг. 1А и 1В, примерно иллюстрируется первый швейцарский сборный инструмент 10. Инструмент 10 содержит держатель 12, лезвие 14, установленное на держателе 12, и режущую пластину 16, установленную на лезвии 14.
[00139] Ссылаясь на фиг. 2A-2D, в дальнейшем подробно описывается режущая пластина 16.
[00140] Режущая пластина 16 представляет собой стандартную сплошную режущую пластину с одним краем (продаваемую под торговым названием SELF-GRIP® заявителем), выполненную с возможностью удерживаться посредством упругого гнезда.
[00141] Режущая пластина 16 содержит режущий участок 18 и участок 20 хвостовика, продолжающийся от него.
[00142] Режущая пластина 16 содержит переднюю поверхность 22 (выше которой должна сходить стружка) и фронтальную, первую боковую и вторую боковую задние поверхности 24А, 24В, 24С, клиновидно сужающиеся внутрь с увеличением расстояния от передней поверхности 22.
[00143] Передняя поверхность 22 предпочтительно имеет средство 26 для образования стружки.
[00144] Режущий край 28 продолжается вдоль пересечения передней поверхности 22 и фронтальной, первой боковой и второй боковой задними поверхностей 24А, 24В, 24С.
[00145] Участок 20 хвостовика содержит верхнюю поверхность 30А хвостовика, нижнюю поверхность 30В хвостовика, первую и вторую боковые поверхности 30С, 30D хвостовика и заднюю поверхность 30Е хвостовика.
[00146] Общая форма режущей пластины 16 и, в частности, его участка 20 хвостовика представляет собой базовую прямую удлиненную форму.
[00147] Ширина CW режущего края режущего края 28 больше ширины CBW участка режущего корпуса участка 20 хвостовика.
Соответственно, этот тип режущей пластины может использоваться для операций нарезания канавок или отрезания с глубиной, которая не ограничена посредством длины режущей пластины.
[00148] В этом предпочтительном примере, ширина CW режущего края составляет 0,8 мм.
[00149] Верхняя поверхность 30А хвостовика является клиновидной. Более конкретно, как лучше всего видно на фиг. 2D, верхняя поверхность 30А хвостовика клиновидно сужается внутрь с формированием базовой вогнутой формы.
[00150] Нижняя поверхность 30В хвостовика является клиновидной. Более конкретно, как лучше всего видно на фиг. 2В, нижняя поверхность 30В хвостовика клиновидно сужается внутрь с формированием базовой вогнутой формы.
[00151] Для таких небольших размеров, предпочтительно, если верхняя и нижняя поверхности 30А, 30В хвостовика являются клиновидными для того, чтобы упрощать установку режущей пластины 16 в чрезвычайно тонком сгибаемом лезвии 14.
[00152] Ссылаясь на фиг. 3, примерно иллюстрируется ключ 32 для проталкивания.
[00153] Ключ 32 для проталкивания содержит: первый и второй концы 34А, 34 В ключа и удлиненный промежуточный корпус 34С ключа, продолжающийся между ними, рукоятка 36 предоставляется рядом с первым концом 34А ключа.
[00154] Конец второго конца 34 В ключа содержит область CS1 с первым поперечным сечением, которая в этом примере является круглой.
[00155] Продолжение назад второго конца 34 В ключа представляет собой рабочий участок 38, продолжающийся в оконечность 40, при этом рабочий участок 38 содержит область CS2 со вторым поперечным сечением, которая в этом примере является круглой и, что еще более важно, является большей в, по меньшей мере, одном направлении, чем область с CS1 первым поперечным сечением.
[00156] Хотя ключ 32 для проталкивания содержит первый и второй усеченно-конические участки 42А, 42В, показанная базовая форма представляет собой форму удлиненного штока.
[00157] Ссылаясь на фиг. 4А-4Е, в дальнейшем подробно описывается лезвие 14.
[00158] Лезвие 14 содержит противоположные первую и вторую стороны 44А лезвия, 44 В, противоположные передний и задний края 46А, 46 В лезвия и противоположные верхний и нижний края 48А, 48 В лезвия.
[00159] В этом примере, лезвие 14 дополнительно содержит два посадочных гнезда лезвия, а именно, первое и второе посадочные гнезда 50, 52 лезвия, которые предпочтительно являются идентичными тому, что показано.
[00160] Каждое лезвие содержит базовый прихват 54А гнезда, вспомогательный прихват 54 В гнезда, который в этом примере расположен выше базового прихвата 54А гнезда, и конец 54С прорези, соединяющий базовый прихват 54А гнезда и второй прихват 54 В гнезда.
[00161] Базовый прихват 54А гнезда является клиновидным, предпочтительно, согласно этому примеру, клиновидное сужение является наружным с формированием базовой выпуклой формы, которая сопрягается с вогнутой формой нижней поверхности 30В хвостовика режущей пластины.
[00162] Вспомогательный прихват 54 В гнезда является клиновидным. Более конкретно, как лучше всего видно на фиг. 2В вспомогательный прихват 54B гнезда клиновидно сужается наружу с формированием базовой выпуклой формы, которая сопрягается с вогнутой формой верхней поверхности 30А хвостовика режущей пластины.
[00163] Базовый прихват 54А гнезда первого гнезда лезвия и передний край 46А лезвия пересекаются в первом углу 56А.
[00164] Базовый прихват 54А гнезда второго гнезда лезвия и задний край 46 В лезвия пересекаются во втором углу 56 В.
[00165] Вспомогательный прихват 54 В гнезда первого гнезда лезвия и верхний край 48А лезвия пересекаются в третьем углу 56С.
[00166] Вспомогательный прихват 54B гнезда второго гнезда лезвия и верхний край 48А лезвия пересекаются в четвертом углу 56D.
[00167] Первая и вторая стороны 44А,44 В лезвия являются, в общем, плоскими за исключением того, что они содержат тонкий участок 58А и немного более толстый участок 58 В. Причина различных толщин состоит в том, что металлическое лезвие является настолько тонким, что оно может изгибаться под действием сил зажима и/или станочной обработки.
[00168] Вкратце ссылаясь на фиг. 5, альтернативное немного более толстое лезвие 14' является достаточно сильным для того, чтобы противостоять упомянутым силам, и в силу этого отличается от лезвия на фиг. 4С по существу только тем, что оно имеет абсолютно плоскую форму вообще без более тонких или более толстых участков.
[00169] Задний край 46В содержит плоскую заднюю опорную поверхность 60. Предпочтительно, плоская задняя опорная поверхность 60 разнесена от второго гнезда 52 лезвия таким образом, что если второе гнездо 52 лезвия представляет собой первое посадочное гнездо, которое должно использоваться в станочной обработке, если оно повреждается во время станочной обработки, лезвие 14 по-прежнему может индексироваться и использоваться без повреждения или изгибания задней опорной поверхности 60 (что имеет большую вероятность с приближением к посадочному гнезду лезвия). Также следует отметить, что плоская задняя опорная поверхность 60 также продолжается назад и вниз (т.е. является наклонной), чтобы дополнительно помогать в предотвращении вращения лезвия 14, когда сила станочной обработки прикладывается к режущей пластине 16 в первом посадочном гнезде 50 лезвия.
[00170] Лезвие 14 является зеркально-симметричным относительно плоскости Р, продолжающейся через середину лезвия 14.
[00171] Соответственно, когда передний край 46А имеет соответствующую плоскую ʺзаднюю опорную поверхностьʺ, обозначенную как 62, которая должна служить идентичной цели с задней опорной поверхностью 60, когда режущая пластина устанавливается во втором гнезде 52 лезвия.
[00172] Дополнительно, определенные признаки только обозначаются относительно одной из идентичных сторон лезвия 14 для простоты удобочитаемости. Например, максимальная длина SL посадочного гнезда отмечается только относительно второго гнезда 52 лезвия, но очевидно, что должна быть идентичной для первого гнезда 52 лезвия. В любом случае, при отметке обратных направлений для второго гнезда 52 лезвия, максимальная длина SL посадочного гнезда измеряется от второго угла 56 В до конца 54С прорези.
[00173] Верхний край 48 лезвия содержит клиновидный участок 64 верхнего края (т.е. имеющий выпуклую форму, как показано на фиг. 4D) и с его каждой стороны ненагружаемый участок 66. Под ʺненагружаемымʺ подразумевается то, что отсутствует клиновидный участок, предназначенный для упора. Как показано, так называемые ненагружаемые участки 66 находятся ниже клиновидного участка 64. Таким образом, они даже могут быть клиновидными, но не должны контактировать с соответствующим зажимом держателя вследствие своей высоты.
[00174] Более конкретно, клиновидный участок 64 верхнего края содержит первый субклиновидный край 64А, наклонный вверх от ненагружаемого участка 66 к вершине 68 плоскости Р. При этом первый субклиновидный край 64А является активным при зажимании, когда первое гнездо 50 лезвия занято режущей пластиной 16 и является активным.
[00175] Наклонным вниз на другой стороне вершины 68 является второй субклиновидный край 64 В.
[00176] Нижний край 48 лезвия содержит клиновидный участок 70 нижнего края (т.е. имеющий выпуклую форму, как показано на фиг. 4D), который, как показано на фиг. 4Е, продолжается вдоль всего нижнего края 48 лезвия.
[00177] Первый упрочняющий участок 72 (показан на чертежах как ʺпервый и второй упрочняющие участкиʺ) продолжается ниже и вперед относительно самого переднего участка первого гнезда лезвия (который в этом примере представляет собой первый угол 56А). Это должно предоставлять дополнительную конструктивную опору, когда режущая пластина (не показана) устанавливается и работает в первом гнезде 50 лезвия.
[00178] Второй упрочняющий участок 74 (показан на чертежах как ʺпервый и второй упрочняющие участкиʺ) продолжается вниз и назад относительно второго угла 56А. Это должно предоставлять дополнительную конструктивную опору, когда режущая пластина (не показана) устанавливается и работает в первом гнезде 50 лезвия.
[00179] В качестве перспективы относительно формы примерного лезвия 14, размеры показаны как количественно определяемые следующим образом: длина клиновидного участка верхнего края лезвия TTL=5 мм; максимальная длина верхнего края лезвия MTL=18 мм; длина клиновидного участка нижнего края лезвия TBL=максимальная длина лезвия BL=25 мм; высота лезвия ВН=11,5 мм; максимальная толщина лезвия ВТ=1 мм; максимальная длина посадочного гнезда SL=8 мм; и длина между посадочными гнездами лезвия STS=21 мм. Соответственно, в данном варианте осуществления: отношение MTL/TTL верхних краев равно 18/5=3,6; отношение TTL/TBL клиновидных участков равно 5/25=0,2; отношение BL/SL длины и посадочного гнезда равно 25/8=3,1, отношение STS/BH высот между посадочными гнездами равно 20/11,5=1,7; и отношение BL/BH длины к высоте равно 25/11,5=2,2.
[00180] В этом варианте осуществления, отверстие 76 для проталкивания открывается к первой и второй сторонам лезвия. Отверстие 76 для проталкивания содержит внутреннюю поверхность 78 отверстия, которая продолжается перпендикулярно первой и второй сторонам лезвия. Максимальный размер РН отверстия для проталкивания показывается, и в этом примере, в котором отверстие 76 для проталкивания является цилиндрическим, представляет собой ее диаметр.
[00181] Ссылаясь на фиг. 6А-6Е, в дальнейшем подробно описывается держатель 12.
[00182] Держатель 12 содержит: первую сторону 78А держателя; вторую сторону 78 В держателя; передний конец 78С держателя; задний конец 78D держателя; верхнюю сторону 78Е держателя; и нижнюю сторону 78F держателя.
[00183] Для понимания, направления являются такими, как показано: первое боковое направление DS1; второе боковое направление DS2; направление DF вперед; направление DR назад; направление DU вверх; и направление DD вниз.
[00184] Примерный держатель 12 дополнительно предпочтительно может содержать удлиненный участок 80 хвостовика и участок 82 головки. Мнимая граничная плоскость 84 схематично показывает место, в котором участок 80 хвостовика и участок 82 головки пересекаются. В этом примере, следует понимать, что впереди относительно мнимой граничной плоскости 84 имеется увеличение площади поперечного сечения, что предотвращает вставку участка держателя 12 (в данном документе называемого ʺучастком 82 головкиʺ) впереди относительно граничной плоскости 84 в револьверный суппорт (не показан) или в агрегат (не показан), сконструированный с возможностью зажимать участок 80 хвостовика.
[00185] Держатель 12 дополнительно содержит зажим 86 держателя, расположенный на верхней стороне 78Е держателя.
[00186] Как отмечено на фиг. 6В, участок 80 хвостовика дополнительно содержит первую сторону 88А хвостовика, вторую сторону 88 В хвостовика, верхнюю сторону 88С хвостовика и нижнюю сторону 88D хвостовика. А именно, в видах сзади и спереди, показанных на фиг. 6 В и 6D, соответственно, очевидно, что единственное направление, в котором участок держателя 12 продолжается за пределы профиля участка хвостовика (или ʺотпечатков пальцевʺ, которые в этом неограничивающем примере представляют собой квадратный профиль, созданный посредством первой стороны 88А хвостовика, второй стороны 88 В хвостовика, верхней стороны 88С хвостовика и нижней стороны 88D хвостовика плоской формы), представляет собой направление DU вверх (значительно превышаемое только посредством зажима 86 держателя). Кроме того, единственный участок держателя 12, продолжающийся за пределы профиля участка хвостовика, продолжается вверх.
[00187] Для полноты, ссылаясь на фиг. 7В и 7D, показано, что лезвие 14 и режущая пластина 16 могут немного превышать упомянутый профиль в первом направлении DS1. Тем не менее, это продолжение не считается значительным (например, в этом примере, продолжение меньше 1 мм). Дополнительно, небольшой участок 90 участка 82 головки продолжается дополнительно в направлении DU вверх для того, чтобы обеспечивать полную опору лезвия 14 против участка 82 головки (для того, чтобы предотвращать изгиб). Тем не менее, упомянутое продолжение небольшого участка 90 не является значительным при увеличении компактной формы держателя 12, поскольку гораздо больший зажим 86 держателя уже предотвращает дальнейшую вставку держателя 12 назад в револьверный суппорт (не показан) или агрегат (не показан), а также продолжается в направлении DU вверх гораздо дальше небольшого участка 90.
[00188] Держатель 12 дополнительно содержит гнездо 92 держателя.
[00189] Гнездо 92 держателя содержит боковую опорную поверхность 94 гнезда, продолжающуюся вдоль первой стороны 78А держателя, нижней опорной поверхности 96 гнезда и задней опорной поверхности 98 гнезда.
[00190] В частности, как показано на фиг. 6С, гнездо 92 держателя продолжается сзади относительно граничной плоскости 84. Другими словами, гнездо 92 держателя продолжается сзади относительно участка 82 головки. Соответственно, можно сказать, что гнездо 92 держателя частично образуется на участке 82 головки, хотя в менее предпочтительном варианте осуществления он может формироваться полностью на участке 82 головки.
[00191] Задняя опорная поверхность 98 гнезда обращена в направлениях DD, DF вниз и вперед, как лучше всего видно на фиг. 6C.
[00192] На фиг. 6С, минимальная высота РМ гнезда показывается, причем она измеряется параллельно направлениям DU, DD вверх и вниз от нижней опорной поверхности 96 гнезда до верхней опорной поверхности 104 зажима.
[00193] Возвращаясь к зажиму 86 держателя, он дополнительно содержит упругий шарнирный участок 100, участок 102 зажима, содержащий верхнюю опорную поверхность 104 зажима, обращенную в направлении DD вниз, и промежуточный участок 106, продолжающийся от упругого шарнирного участка до участка зажима.
[00194] В частности, упругий шарнирный участок 100 выполняется как единое целое с оставшейся частью держателя 12 таким образом, что он имеет цельную унитарную конструкцию с ним, и в силу этого выполнен с возможностью упругого смещения участка 102 зажима вниз, когда сила прикладывается к участку 102 зажима в направлении DU вверх. Такая конфигурация предпочтительно может включать в себя искривление внутреннего края 108 упругого шарнирного участка 100 для того, чтобы уменьшать механические напряжения (т.е. когда верхняя опорная поверхность 104 зажима перемещается в направлении DU вверх, чтобы обеспечивать возможность зажимания), а также включает в себя зазор 110 зажима, расположенный между промежуточным участком 106 и оставшейся частью держателя 12 под ним, чтобы обеспечивать возможность работы упругого шарнирного участка 100. Другой дополнительный признак заключается в том, что зажим 86 держателя является сплошным (или другими словами, не имеет винтового отверстия типа, известного из зажимов предшествующего уровня техники, в которых зажим соединяется винтами с помощью держателя). Хотя вариант осуществления на фиг. 10 и 11 включает в себя отверстие, его конструкция заблаговременно неизвестна. Независимо от этого, оба примера не имеют отверстий для приема винта, как известно в предшествующем уровне техники.
[00195] Следовательно, можно видеть, что зажим 86 держателя выполнен с возможностью зажима лезвия или пластины без соединения винтами с держателем 12, в котором постоянно хранится лезвие или пластина.
[00196] Предпочтительно, как лучше всего видно на фиг. 6А промежуточный участок 106 продолжается параллельно с первым и вторым направлениями DS1, DS2. Следует понимать, что если он должен быть наклонным в направлениях DF, DR вперед или назад, он с большой вероятностью должен уменьшать величину, на которую держатель 12 может вставляться в револьверный суппорт или агрегат (поскольку зажим 86 держателя должен дополнительно препятствовать такой вставке). Альтернативно, участок 82 головки должен быть дополнительно удлиненным, чтобы достигать идентичной глубины резания, поскольку зажим 86 держателя должен препятствовать обрабатываемой детали, если размер участка 82 головки остается без изменений.
[00197] В частности, как лучше всего видно на фиг. 6D, участок 102 зажима продолжается поверх боковой опорной поверхности 94 гнезда.
[00198] Для еще более надежного зажимания, верхняя опорная поверхность 104 зажима является наклонной внутрь таким образом, что она обращена к направлению DD, DS2 вниз и второму боковому направлению.
[00199] Аналогично, нижняя опорная поверхность гнезда является наклонной внутрь таким образом, что она обращена к направлению DU, DS2 вверх и второму боковому направлению.
[00200] Как лучше всего видно на фиг. 6С, нижняя опорная поверхность 96 гнезда является удлиненной и, как видно на фиг. 7С, например, служит для полной опоры всего лезвия 14.
[00201] Хотя настоящее изобретение, в общем, направлено на сборный инструмент 10 на основе упругого зажима, сверхпреимущественная конструкция инструмента и способ разработаны и считаются абсолютно независимым преимущественным изобретением.
[00202] Вместе с этим, очевидно, что оно является преимущественным в комбинации с вышеуказанным держателем 12 на основе зажима, как показано.
[00203] Как лучше всего видно на фиг. 6С, держатель 12 дополнительно содержит направляющее отверстие 112 держателя, открывающееся к боковой опорной поверхности 94 гнезда. В этом примере, направляющее отверстие 112 держателя является удлиненным в направлениях DF, DR вперед и назад.
[00204] Как лучше всего видно на фиг. 6Е, направляющее отверстие 112 держателя представляет собой сквозное отверстие, открывающееся ко второй стороне 78В держателя, также обеспечивая возможность выполнения установки или выталкивания от второй стороны 78В держателя. Аналогично, направляющее отверстие 112 держателя является удлиненным также на второй стороне 78В держателя.
[00205] Ссылаясь на фиг. 8D, показано, что направляющее отверстие 112 держателя может содержать преимущественно суженный участок 114.
[00206] В качестве конкретного представления, направляющее отверстие 112 держателя может содержать первый участок 116 отверстия, открывающийся к первой стороне 78А держателя, второй участок 118 отверстия, открывающийся ко второй стороне 78 В держателя, и центральный участок 120 отверстия, расположенный между первым и вторым участками 116, 118 отверстия.
[00207] Первый участок 116 отверстия может содержать первый самый задний край 122А отверстия и первый самый передний край 122 В отверстия. Первый самый задний край 122А отверстия и первый самый передний край 122 В отверстия клиновидно сужаются (или, другими словами, сходятся) с приближением к центральному участку 120 отверстия.
[00208] Второй участок 118 отверстия может содержать второй самый задний край 124А отверстия и второй самый передний край 124 В отверстия. Второй самый задний край 124А отверстия и второй самый передний край 124 В отверстия клиновидно сужаются (или, другими словами, сходятся) с приближением к центральному участку 120 отверстия.
[00209] Ссылаясь на фиг. 7А-7Е, сборный инструмент 10 показывается в полностью установленном состоянии. Некоторые заслуживающие внимания признаки из показанного вида представляют собой компактную форму сборного инструмента 10, а также то, что в видах сбоку по фиг. 7С и 7Е, направляющее отверстие 112 держателя не является четко видимым в качестве круглого отверстия.
[00210] В качестве конкретного представления, самый передний участок 126 отверстия для проталкивания частично покрывает направляющее отверстие 112 держателя. Таким образом, когда ключ 32 для проталкивания вставляется в направляющее отверстие 112 держателя (под углом, который является наклонным в первом и втором направлениях DS1, DS2, как поясняется при описании фиг. 9), он может контактировать с самым передним участком 126 отверстия для проталкивания и перемещать лезвие 14 вперед из полностью установленного состояния в полуустановленное состояние при одновременном опирании на нижнюю опорную поверхность 96 гнезда, но более без зажимания посредством зажима 86 держателя.
[00211] Ссылаясь на фиг. 8А-8С сборный инструмент 10 показывается в полуустановленном состоянии. В этом положении, хотя первый субклиновидный край 64А лезвия может контактировать с верхней опорной поверхностью 104 зажима, он не удерживается в положении за счет этого. Другими словами, зажим 86 держателя находится в нормально закрытом положении с воспрепятствованием движению назад лезвия 14.
[00212] В частности, на виде сбоку по фиг. 8В, направляющее отверстие 112 держателя не является четко видимым в качестве круглого отверстия, но самый задний участок 128 отверстия для проталкивания частично покрывает направляющее отверстие 112 держателя. Таким образом, когда ключ 32 для проталкивания вставляется в направляющее отверстие 112 держателя (под углом, который является наклонным в первом и втором направлениях DS1, DS2), он может контактировать с самым задним участком 128 отверстия для проталкивания и перемещать лезвие 14 в направлении DR назад из полуустановленного состояния в полностью установленное состояние, показанное на фиг. 7А-7Е.
[00213] Фиг. 8А и 8С являются угловыми видами, показывающими круглое отверстие направляющего отверстия 112 держателя (т.е. показывающими вид, в котором ключ 32 для проталкивания должен вставляться).
[00214] Также ссылаясь на фиг.9, ключ 32 для проталкивания (в положении, обозначенном как 32А) показывается ориентированным параллельно в направлении вида, обозначенном как "VC", соответствующем виду по фиг. 8С. Аналогично, ключ 32 для проталкивания (в положении, обозначенном как 32С) показывается ориентированным параллельно в направлении вида, обозначенном как ʺVAʺ, соответствующем виду по фиг. 8А.
[00215] Только для понимания, идентичный ключ 32 для проталкивания показывается в первом, втором, третьем и четвертом положениях (32А, 32 В, 32С, 32D) ключа, чтобы схематично пояснять то, как примерно проиллюстрированное лезвие 14 переводится между полуустановленным и полностью установленным состояниями.
[00216] В качестве описания одного примерного способа сборки согласно настоящему варианту осуществления, при работе, на первом этапе, примерно проиллюстрированное лезвие 14 размещается на гнезде 92 держателя в полуустановленном состоянии, как показано на фиг. 8С.
[00217] На втором этапе, ключ 32 для проталкивания (со ссылкой на первое положение 32А), а более конкретно, второй конец 34 В ключа вставляется сначала в направляющее отверстие 112 держателя сначала через вторую сторону 78 В держателя, затем выходя из направляющего отверстия 112 держателя через первую сторону 78А держателя, после чего продолжаясь через отверстие 76 для проталкивания.
[00218] Показанный вариант осуществления ключа 32 для проталкивания имеет предпочтительное, но необязательное укрупненное поперечное сечение, начинающееся во втором усечено-коническом участке 42 В, который упирается в держатель 12 и предотвращает избыточную вставку ключа 32 для проталкивания в направляющее отверстие 112 держателя (т.е. выполняет функцию стопора).
[00219] В первом положении 32А, рабочий участок 38 касается второго самого заднего полого края 124А второго полого участка и самого заднего участка 128 отверстия для проталкивания лезвия.
[00220] При оставлении ключа 32 для проталкивания в направляющем отверстии 112 держателя и отверстии 76 для проталкивания, рукоятка 36 перемещается в направлении DF вперед, чтобы переводить ключ 32 для проталкивания в ориентацию, показанную во втором положении 32 В (хотя и с ключом 32 для проталкивания по-прежнему в направляющем отверстий 112 держателя и отверстии 76 для проталкивания). Это заставляет рабочий участок 38 поворачиваться в центральном полом участке 120 и прикладывать направленную назад силу FR к самому заднему участку 128 отверстия для проталкивания и плавно перемещать лезвие 14 в направлении DR назад до тех пор, пока перемещение назад не прекращается посредством задней опорной поверхности 60 лезвия, примыкающей к задней опорной поверхности 98 гнезда.
[00221] Как следует понимать схематично из фиг. 8А, поскольку максимальная высота ВН лезвия для лезвия 14 больше минимальной высоты РМ гнезда (фиг. 6С), так что относительное движение назад лезвия 14 вызывает силу FL подъема вверх на зажиме 86 держателя.
[00222] После того, как лезвие 14 находится в полностью установленном положении (например, фиг. 7С), упругий зажим 86 держателя прикладывает сконфигурированную направленную вниз силу FD к лезвию 14, чтобы удерживать его в гнезде 92 держателя.
[00223] Таким образом, лезвие 14 теперь полностью устанавливается на держателе 12, как показано на фиг. 7С.
[00224] Чтобы переводить лезвие 14 обратно в полуустановленное состояние, третий этап может включать в себя противоположные перемещения на первых двух этапах. А именно, ключ 32 для проталкивания вставляется в ориентации, показанной как второе положение 32В в направляющее отверстие 112 держателя и отверстие 76 для проталкивания, и рукоятка 36 перемещается в направлении DR назад (в этот раз с примыканием к самому переднему участку 126 отверстия для проталкивания лезвия).
[00225] Ниже кратко описывается альтернативный вариант для выполнения вышеприведенного второго этапа. Такой этап может выполняться посредством вставки ключа 32 для проталкивания, показанного в третьем положении 32С, сначала через отверстие 76 для проталкивания, затем через направляющее отверстие 112 держателя на первой стороне 78А держателя, после чего посредством его выхода из направляющего отверстия 112 держателя через вторую сторону 78В держателя.
[00226] После упомянутой вставки, рабочий участок 38 должен касаться идентичных участков держателя 12, как описано выше, а именно, второго самого заднего полого края 124А второго полого участка и самого заднего участка 128 отверстия для проталкивания лезвия.
[00227] Рукоятка 36 в таком случае должна перемещаться, в этот раз, в направлении ЕЖ назад, поскольку рукоятка 36 ключа для проталкивания является смежной с первой стороной 78А держателя, чтобы переводить ключ 32 для проталкивания в ориентацию, показанную в четвертом положении 32D (хотя и с ключом 32 для проталкивания по-прежнему внутри направляющего отверстия 112 держателя и отверстия 76 для проталкивания). Это вызывает идентичную направленную назад силу, описанную выше.
[00228] Аналогично, чтобы переводить лезвие 14 обратно в полуустановленное состояние, ключ 32 для проталкивания вставляется в ориентации, показанной как 32D, сначала через отверстие 76 для проталкивания, затем через направляющее отверстие 112 держателя, и рукоятка 36 после этого перемещается в направлении DF вперед.
[00229] Следует понимать, что перевод лезвия 14 в полностью установленное состояние может осуществляться с помощью ключа для проталкивания, вставленного на одной стороне держателя 12, и перевод лезвия 14 в полуустановленное состояние может осуществляться с помощью ключа 32 для проталкивания, вставляемого с другой стороны держателя 12.
[00230] Вышеописанный пример сборного инструмента 10 имеет множество преимуществ, например, минимизированный риск повреждения зажима 86 держателя (поскольку оператор непосредственно не перемещает его) и отсутствие падающих частей (поскольку ключ 32 для проталкивания остается внутри частей во время каждого состояния).
[00231] Тем не менее, еще более компактное лезвие или режущая пластина без высоты, требуемой для отверстия для проталкивания, может использоваться в варианте осуществления, показанном на фиг. 10-11 В.
[00232] В дальнейшем подробно описываются только существенные различия, при этом апостроф (') используется для того, чтобы указывать признаки с аналогичными функциями. Признаки, которые не отличаются очевидно от предыдущего варианта осуществления, предположительно могут считаться идентичными.
[00233] Ссылаясь на фиг. 10А-11В, примерно иллюстрируется второй швейцарский сборный инструмент 10'. Инструмент 10' содержит держатель 12', лезвие 14', установленное на держателе 12', и режущую пластину 16', установленную на лезвии 14'.
[00234] Режущая пластина 16' представляет собой тип, идентичный типу предыдущей описанной режущей пластины 16.
[00235] Примерно проиллюстрированный ключ 32' для проталкивания (фиг. 11А и 11В) представляет собой простой цилиндрический шток, но также может иметь любой из признаков вышеописанного ключа 32 для проталкивания.
[00236] Лезвие 14' отличается главным образом тем, что клиновидный участок 64' верхнего края не содержит два субклиновидных края, которые являются наклонными, а просто продолжается параллельно с нижним краем 48 лезвия, и тем, что лезвие 14' не имеет отверстия для проталкивания. Помимо этих двух различий, которые связаны с функцией, лезвие 14' также может иметь любой из признаков вышеописанного лезвия 14.
[00237] Держатель 12' отличается главным образом тем, что он не имеет направляющего отверстия держателя, и вместо этого зажим 86' держателя содержит отверстие 130' зажима.
[00238] Более конкретно, отверстие 130' зажима выполняется в участке 102' зажима в зажиме 86' держателя. Дополнительно, отверстие 130' зажима обращено к первому и второму боковым направлениям DS1', DS2' (фиг. 10С; показанные направления необязательно показаны как противоположные направления из предыдущего примера, поскольку гнездо держателя настоящего примера находится на другой стороне держателя 12'; тем не менее, специалисты в данной области техники должны понимать, что конкретная сторона является нерелевантной для настоящего изобретения), разрешая боковой доступ для ключа 32' для проталкивания с любой из двух сторон, как показано на фиг. 11А и 11В.
[00239] Дополнительно, промежуточный участок 106' зажима содержит восходящий рычажный выступ 132' (который предпочтительно, но необязательно является выпуклым, как показано).
[00240] Рычажный выступ 132' дополнительно может содержать направляющее углубление 134', направленное к отверстию 130' зажима (т.е. параллельный первому и второму боковым направлениям DS1', DS2') для обеспечения устойчивости ключа 32' для проталкивания при примыкании к нему.
[00241] Конкретно ссылаясь на фиг. 11А и 11В, показано, что ключ 32' для проталкивания может вставляться через отверстие 130' зажима в любом из первого и второго боковых направлений DS1', DS2' и перемещаться за счет рычажного действия либо поворачиваться в направлении от рычажного выступа 132' таким образом, что первый конец 34А' ключа перемещается в направлении DD вниз, чтобы прикладывать силу к участку 102' зажима в направлении DU вверх.
[00242] После этого, лезвие 14' (или режущая пластина) может вставляться в гнездо 92 держателя, в частности, для размещения на нижней опорной поверхности 96 гнезда.
[00243] За счет дальнейшего исключения направленной вверх силы, участок 102' зажима затем должен упруго перемещаться вниз и закреплять лезвие 14' в держателе 12'.
| название | год | авторы | номер документа |
|---|---|---|---|
| ОТРЕЗНОЙ АДАПТЕР В НАПРАВЛЕНИИ ПО ОСИ Y ДЛЯ РЕЖУЩЕГО ИНСТРУМЕНТА | 2021 |
|
RU2834701C1 |
| ИНДЕКСИРУЕМОЕ ОТРЕЗНОЕ ЛЕЗВИЕ С ОКРУЖНЫМИ КАНАЛАМИ ДЛЯ ОХЛАЖДАЮЩЕГО АГЕНТА | 2021 |
|
RU2837270C1 |
| РЕЖУЩАЯ ПЛАСТИНА, ИМЕЮЩАЯ УСТРОЙСТВО ПРОТИВОСКОЛЬЖЕНИЯ В ФОРМЕ ЛАСТОЧКИНА ХВОСТА | 2014 |
|
RU2666804C1 |
| ЗАЖИМНОЕ УСТРОЙСТВО РЕЖУЩЕГО ИНСТРУМЕНТА | 2009 |
|
RU2501633C2 |
| СБОРНЫЙ РЕЖУЩИЙ ИНСТРУМЕНТ | 2010 |
|
RU2495733C1 |
| РЕЖУЩАЯ ПЛАСТИНА, ИМЕЮЩАЯ УСТРОЙСТВО ПРОТИВОСКОЛЬЖЕНИЯ В ФОРМЕ ЛАСТОЧКИНА ХВОСТА | 2014 |
|
RU2683396C1 |
| ИНДЕКСИРУЕМАЯ РЕЖУЩАЯ ПЛАСТИНА И РЕЖУЩИЙ ИНСТРУМЕНТ ДЛЯ НЕЕ | 2012 |
|
RU2610574C2 |
| ДОЛБЕЖНЫЙ ИНСТРУМЕНТ | 2018 |
|
RU2739744C1 |
| СБОРНАЯ ЧЕРВЯЧНАЯ ФРЕЗА | 1995 |
|
RU2102201C1 |
| СБОРНАЯ ЧЕРВЯЧНАЯ ФРЕЗА | 1995 |
|
RU2102202C1 |
Группа изобретений относится к сборному инструменту, выполненному с возможностью швейцарской станочной обработки, возможностью операций нарезания канавок или отрезания. Сборный инструмент для нарезания канавок или отрезания для станочной обработки швейцарского типа включает в себя держатель. Держатель включает в себя упругий нормально закрытый зажим держателя. Зажим держателя смещает лезвие, удерживающее режущую пластину, против боковой опорной поверхности гнезда для гнезда держателя. Обеспечивается улучшение сборного инструмента и его компонентов, подходящих для использования в варианте осуществления швейцарской станочной обработки, а также усовершенствованный способ закрепления компонента в держателе. 2 н. и 21 з.п. ф-лы, 33 ил.
1. Держатель лезвия для станочной обработки, содержащий: противоположные первую и вторую стороны держателя, задающие первое боковое направление от второй стороны держателя к первой стороне держателя и второе боковое направление, противоположное первому боковому направлению; противоположные передний и задний концы держателя, задающие направление вперед от заднего конца держателя к переднему концу держателя и направление назад, противоположное направлению вперед; противоположные верхнюю и нижнюю стороны держателя, задающие направление вверх от нижней стороны держателя к верхней стороне держателя и направление вниз, противоположное направлению вверх; гнездо держателя, расположенное на пересечении первой стороны держателя, переднего конца держателя и верхней стороны держателя; и зажим держателя, расположенный на верхней стороне держателя; причем гнездо держателя содержит: боковую опорную поверхность гнезда, продолжающуюся вдоль первой стороны держателя и обращенную к первому боковому направлению; нижнюю опорную поверхность гнезда, расположенную ниже относительно боковой опорной поверхности гнезда и обращенную к направлению вверх; и заднюю опорную поверхность гнезда, расположенную сзади относительно боковой опорной поверхности гнезда и обращенную в направлении вперед; причем зажим держателя продолжается поверх боковой опорной поверхности гнезда и содержит: упругий шарнирный участок; участок зажима, содержащий верхнюю опорную поверхность зажима, обращенную в направлении вниз; и промежуточный участок, продолжающийся от упругого шарнирного участка до участка зажима; при этом упругий шарнирный участок выполнен с возможностью упругого смещения участка зажима вниз.
2. Держатель по п. 1, в котором нижняя опорная поверхность гнезда также обращена ко второму боковому направлению и в силу этого является наклонной внутрь таким образом, что она обращена к направлению вверх и второму боковому направлению; и верхняя опорная поверхность зажима также обращена к второму боковому направлению и в силу этого является наклонной внутрь таким образом, что она обращена к направлению вниз и второму боковому направлению.
3. Держатель по п. 1, дополнительно содержащий направляющее отверстие держателя, открывающееся к боковой опорной поверхности гнезда.
4. Держатель по п. 3, в котором направляющее отверстие держателя содержит суженный участок.
5. Держатель по п. 4, в котором направляющее отверстие держателя имеет форму песочных часов.
6. Держатель по п. 1, содержащий удлиненный участок хвостовика и участок головки, продолжающийся вперед относительно участка хвостовика, причем гнездо держателя по меньшей мере частично образовано на участке головки на первой стороне держателя.
7. Держатель по п. 6, в котором гнездо держателя продолжается сзади относительно участка головки.
8. Держатель по п. 6, в котором на виде спереди держателя участок хвостовика имеет профиль, и единственный участок держателя, который продолжается за пределы профиля участка хвостовика, продолжается в направлении вверх.
9. Лезвие для станочной обработки, содержащее: противоположные первую и вторую стороны лезвия; противоположные передний и задний края лезвия; противоположные верхний и нижний края лезвия; первое и второе гнезда лезвия, содержащие базовый прихват гнезда и вспомогательный прихват гнезда, расположенный напротив базового прихвата гнезда и выполненный с возможностью упругого зажимания; максимальную высоту ВН лезвия, измеряемую от нижнего края лезвия до верхнего края лезвия; максимальную длину BL лезвия, перпендикулярную максимальной высоте ВН лезвия и измеряемую от переднего края лезвия до заднего края лезвия; и максимальную толщину ВТ лезвия, перпендикулярную максимальной высоте ВН лезвия и измеряемую от первой стороны лезвия до второй стороны лезвия; при этом максимальная толщина ВТ лезвия меньше максимальной высоты ВН лезвия; максимальная длина BL лезвия удовлетворяет условию L<45 мм; первое гнездо лезвия открывается к переднему краю лезвия; а второе гнездо лезвия открывается к заднему краю лезвия.
10. Лезвие по п. 9, дополнительно содержащее отверстие для проталкивания, открывающееся к первой и второй сторонам лезвия, и
отверстие для проталкивания содержит внутреннюю поверхность отверстия, которая продолжается перпендикулярно первой и второй сторонам лезвия.
11. Лезвие по п. 10, в котором отверстие для проталкивания расположено симметрично между первым и вторым гнездами лезвия.
12. Лезвие по п. 10, в котором отверстие для проталкивания расположено ближе к нижнему краю лезвия, чем первое и второе гнезда лезвия.
13. Лезвие по п. 9, дополнительно содержащее: максимальную длину SL гнезда, параллельную максимальной длине BL лезвия и измеряемую от самой передней точки первого гнезда лезвия, смежной с передним краем лезвия, до самой задней точки первого гнезда лезвия, дальней по отношению к переднему краю лезвия; и при этом максимальная длина BL лезвия и максимальная длина SL гнезда задают отношение BL/SL длины и гнезда, удовлетворяющее условию BL/SL<5.
14. Лезвие по п. 9, дополнительно содержащее: длину STS между гнездами лезвия, параллельную максимальной длине BL лезвия и измеряемую параллельно максимальной длине BL лезвия между самыми дальними участками первого и второго гнезд лезвия; и при этом максимальная длина STS между гнездами лезвия и максимальная высота ВН лезвия задают отношение STS/BH высот между гнездами, удовлетворяющее условию STS/BH>1,2.
15. Лезвие по п. 9, в котором максимальная длина BL лезвия и максимальная высота ВН лезвия задают отношение BL/BH длины к высоте, удовлетворяющее условию BL/BH>1,2.
16. Лезвие по п. 9, в котором как базовый прихват, так и вспомогательный прихват выполнены с клиновидными поверхностями,
лезвие содержит только упомянутые первое и второе гнезда лезвия, и
оба посадочных гнезда лезвия находятся рядом с верхним краем лезвия.
17. Лезвие по п. 9, в котором нижний край лезвия продолжается вперед относительно первого гнезда лезвия.
18. Лезвие по п. 9, в котором верхний край лезвия содержит клиновидный участок верхнего края, который клиновидно сужается от первой и второй боковых поверхностей.
19. Лезвие по п. 18, в котором: верхний край лезвия имеет максимальную длину MTL верхнего края лезвия; клиновидный участок верхнего края имеет длину TTL клиновидного участка верхнего края лезвия; и максимальная длина MTL верхнего края лезвия и длина TTL клиновидного участка верхнего края лезвия задают отношение MTL/TTL верхних краев, удовлетворяющее условию MTL/TTL>2.
20. Лезвие по п. 18, в котором клиновидный участок верхнего края расположен между двумя ненагружаемыми участками.
21. Лезвие по п. 18, в котором клиновидный участок верхнего края продолжается вперед и вниз на одной стороне и назад и вниз на другой стороне.
22. Лезвие по п. 9, в котором нижний край лезвия длиннее верхнего края лезвия.
23. Лезвие по п. 9, в котором нижний край лезвия продолжается по прямой линии на виде сбоку лезвия.
| US 10583495 B1, 10.03.2020 | |||
| СБОРНЫЙ РЕЗЕЦ | 1996 |
|
RU2093314C1 |
| Сборный канавочный резец | 1990 |
|
SU1780932A1 |
| US 5079979 A1, 14.01.1992. | |||
Авторы
Даты
2025-03-31—Публикация
2021-06-15—Подача