Область техники, к которой относится изобретение
Изобретение относится к малому судостроению и может применяться в надувных каяках с посадкой гребца сверху, на его палубе (общепринятое англоязычное название сит-он-топ (sit-on-top).
Уровень техники
По сравнению с каяками с классическим размещением гребца в кокпите, каяк сит-он-топ обладает рядом преимуществ. Самое главное из них то, что из-за отсутствия кокпита он не может быть залит водой, например, при крене каяка или при сильном волнении в акватории. Отсутствие кокпита также облегчает посадку на каяк и высадку с него.
Однако, расположение гребца на относительно ровной палубе сит-он-топ каяка, а не в кокпите, как в случае классического каяка, требует создания дополнительных элементов конструкции, позволяющих гребцу фиксироваться в желаемом положении. Это необходимо чтобы обеспечить эффективное продвижение и управление каяком и исключить самопроизвольное смещение гребца при крене, что может привести к опрокидыванию.
В качестве таких элементов обычно используются упоры для ног и для спины. Распираясь между двумя этими упорами гребец фиксирует свое положение и может эффективно управлять каяком. Для удобного расположения на каяке гребцов разного роста должна быть предусмотрена возможность изменения расстояния между упорами для ног и спины.
Упор для ног может быть закреплен на палубе каяка или же выполнен в виде углублений в нем, в которые гребец опускает ступни ног, упираясь в стенки и дно этих углублений. Последний вариант предпочтительнее, так как для человека физиологически удобнее сидеть так чтобы его ступни были ниже ягодиц. Опорой для спины обычно служит спинка, подвижно или неподвижно закрепленная на палубе.
Подобные надувные каяки заявлены, например, в патентах EP 3741659 и US 20050022715. Упор для спины в обеих конструкциях выполнен в виде надувной спинки. неподвижно закрепленной на палубе каяка. Ножные упоры в данных каяках выполнены в виде углублений в его корпусе. Углубления выполнены следующим образом: в палубе каяка сделан вырез, с краями которого по всему периметру герметично соединен верхний край кольцевой стенки, а нижний край этой стенки аналогично соединен с днищем каяка, часть которого образует таким образом дно углубления. В конструкции описанной в патенте EP 3741659 есть несколько пар таких углублений, расположенных на разном расстоянии от спинки, что позволяет размещаться гребцам разного роста. В конструкции же описанной в патенте US 20050022715 углубления имеют удлиненную форму и снабжены надувным дном, на котором сделан ряд выступов, в которые могут упираться ногами гребцы разного роста.
Описанные конструкции имеют следующие недостатки. Во-первых, углубления для ног гребца выполнены таким образом, что на днище каяка в местах его соединения со стенками углублений образуются неровности, в том числе и поперечные борозды, что ухудшает ходовые качества каяка. Во-вторых, эти углубления не имеют стока и вода, попавшая в них, утяжеляет каяк и снижает комфорт при его эксплуатации. В-третьих, при эксплуатации в углубления будут попадать загрязнения, например песок, и накапливаться в местах стыка стенок углублений с днищем, где образуется острый внутренний угол. Это ускоряет абразивной износ оболочки каяка и ухудшает его долговечность. В-четвертых, конструкция ножных упоров не позволяет обеспечить плавную регулировку расстояния от них до спинки. В-пятых, конструкция спинки не позволяет изменить ее наклон или сложить.
Раскрытие сущности изобретения
Предлагаемое изобретение имеет целью создание конструкции надувного сит-он-топ каяка с ножными и спинными упорами, обеспечивающей комфортную посадку гребцов разного роста, c хорошими ходовыми качествами и уменьшенным износом при эксплуатации.
Корпус каяка образует герметичная оболочка, выполненная из ткани с воздухонепроницаемый покрытием, заполняемая воздухом под давлением перед началом эксплуатации. Для придания центральной части этой оболочки уплощенной формы, внутри нее расположены гибкие элементы стягивающие ее верхнюю и нижнюю поверхности. Эти элементы представляют собой продольные перегородки, выполненные из ткани.
Предлагаемые ножные упоры выполнены в виде сквозных проемов в надувной оболочке, образующей корпусу каяка, Проемы выполнены следующим образом: в верхней и нижней поверхностях этой оболочки сделаны вырезы, расположенные друг над другом. Края этих вырезов соединяет между собой кольцевая стенка, выполненная из ткани с воздухонепроницаемый покрытием и соединенная с оболочкой герметичным швом. В плане эти проемы имеют удлиненную форму, вытянутую вдоль продольной оси каяка. Для каждого гребца имеется пара таких проемов, расположенных симметрично относительно диаметральной плоскости каяка. Для того чтобы уменьшить расстояние между проемами в такой паре при сохранении высоты оболочки в зоне между проемами, обращенные друг к другу участки стенок проемов могут быть стянуты гибкой горизонтальной перемычкой.
Так как эти проемы своими стенками стягивают между собой верхнюю и нижнюю поверхности надувной оболочки, придавая ей уплощенную форму, то в зоне расположения проемов вышеупомянутые продольные перегородки имеют разрывы.
В каждом проеме на определенной высоте, предпочтительно выше ватерлинии, закреплена гибкая горизонтальная площадка, разделяющая проем на две негерметичные полости, верхнюю и нижнюю. При посадке гребца его ноги помещаются в верхние полости и опираются на ее дно и стенки. Верхняя полость выполняет таким образом функцию ножного упора.
Упомянутая гибкая площадка полностью или частично выполнена из проницаемой для воды ткани или имеет перфорацию, что позволяет воде, попавшей в проем через верх, например при захлестывании каяка волной, перетекать в нижнюю полость. В тоже время площадка препятствует проникновению частиц песка и прочих загрязнений в нижнюю полость, что исключает абразивный износ надувной оболочки в нижней полости. При этом в местах примыкания площадки к стенкам в верхней полости не образуется острый внутренний угол, что позволяет избежать накопления загрязнений и ускоренного износа надувной оболочки и в данной зоне.
Опорная площадка крепится по периметру к стенкам проема каким-либо общеизвестным неразъемным или разъемным способом, например застежкой типа “молния”.
Также, как вариант крепления, опорные площадки могут быть объединены в общую съемную структуру, которая затем как одно целое закрепляется на верхней поверхности надувной оболочки. Выполнено это может быть следующим образом. Периметр каждой опорной площадки соединен с нижним краем гибкой обечайки, прилегающей к стенке проема. А верхний край обечайки соединен по всей своей длине с краем выреза в общем гибком настиле, расположенном на верхней поверхности надувной оболочки. Таким образом соединенные между собой общий гибкий настил, обечайки и площадки образуют непрерывную поверхность, что дополнительно защищает надувную оболочку от износа. Внешний периметр общего гибкого настила закреплен на верхней поверхности надувной оболочки разъемными соединительными элементами.
Нижние полости проемов закрыты от проникновения воды снизу гибкой водонепроницаемой накладкой, закрепленной на днище каяка по ее периметру. Накладка имеет такой размер, что при надувании каяка натягивается, образуя тем самым гладкое днище, что улучшает ходовые качества каяка.
Для удаления попавшей в нижнюю полость воды, служат однонаправленные клапаны и водовыпускные щели. Однонаправленный клапан представляет собой отверстие или ряд отверстий, выполненных в упомянутой выше гибкой накладке в местах ее соприкосновения с нижней поверхностью оболочки. Для защиты от повреждения при внешнем воздействии эти отверстия прикрыты снизу защитными накладками с прорезями. Водовыпускная щель представляет собой небольшой участок кормового края накладки, не соединенный, в отличии от остального периметра накладки, с днищем каяка.
При погружении каяка в воду ее давление прижимает гибкую водонепроницаемую накладку к днищу каяка, отверстия однонаправленного клапана и водовыпускные щели перекрыты, и вода через них не проходит. Однако при увеличении уровня воды в проемах выше ватерлинии, разность давлений отводит гибкую водонепроницаемую накладку от днища, открывшиеся при этом отверстия однонаправленного клапана и щели выпускают воду из проемов наружу. Края прорези в защитной накладке при этом расходятся в стороны, не препятствуя выходу воды.
Для повышения устойчивости на курсе на днище может быть размещен съемный плавник. Размещенный вблизи кормового края водонепроницаемой накладки, этот плавник, кроме того, защищает водовыпускные щели от контакта с внешними препятствиями.
Позади каждой пары проемов на палубе каяка закреплена спинка. При эксплуатации каяка гребец сидит на палубе, опираясь спиной на спинку и опустив ноги в верхние полости проемов. Ступни ног при этом упираются в стенки проема, а пятки стоят на гибких опорных площадках.
Конструкция спинки позволяет ей сдвигаться вперед и назад, менять угол наклона и полностью складываться до горизонтального положения, и выполнена следующим образом. Спинка изготовлена из плоского листа полужесткого упругого материала. На палубе каяка в диаметральной плоскости закреплены направляющие, вдоль которой с некоторым трением может скользить ползун удлиненной формы. К переднему концу ползуна шарнирно крепится середина нижнего края спинки. За счет этого спинка может смещаться вперед/назад вместе с ползуном и наклоняться назад от вертикального положения. Наклон же спинки вперед ограничивает гибкая центральная оттяжка, соединяющая спинку с задним концом ползуна. Кроме того, так как нижний край спинки крепится к ползуну и упирается в палубу каяка, она не может наклоняться или смещаться влево/вправо. От смещения назад спинку удерживают гибкие боковые оттяжки регулируемой длины, соединяющие верхнюю часть спинки с палубой каяка. Это создает устойчивую опору для спины гребца. При этом регулируя длину всего лишь двух боковых оттяжек можно подобрать комфортное для гребца положение спинки. Кроме того, при необходимости, можно сложить спинку на палубу горизонтально, сместив ползун вперед и не меняя при этом длину боковых оттяжек.
Для того чтобы каяк мог сворачиваться после сдувания, направляющие выполнены гибкими. Например, они могут представлять собой две тканевые полосы, размещенные на палубе каяка. Один продольный край каждой полосы закреплен на палубе, а другой край имеет утолщение. Эти утолщения входят в пазы в противоположных боковых гранях ползуна. Таким образом ползун может двигаться вдоль направляющей, но не может смещаться в поперечном направлении.
Краткое описание чертежей
Фиг. 1 Общий вид каяка сверху
Фиг. 2 Поперечное сечение каяка в области ножных упоров
Фиг. 3 Общий вид каяка сверху (вариант исполнения)
Фиг. 4 Поперечное сечение каяка в области ножных упоров (вариант исполнения)
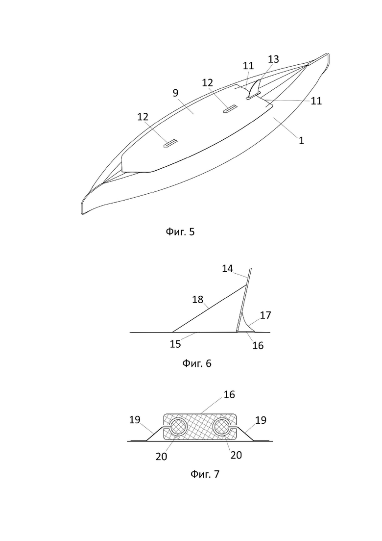
Фиг. 5 Общий вид каяка снизу
Фиг. 6 Вид сбоку на спинной упор
Фиг. 7 Поперечное сечение ползуна и направляющих спинного упора
Осуществление изобретения
Возможный вариант осуществления изобретения в двухместном исполнении показан на чертежах фиг. 1-7. Изобретение может быть также осуществлено в варианте с другим количеством мест, в том числе одноместном.
Корпус каяка образует герметичная оболочка 1 выполненная из ткани с воздухонепроницаемый покрытием, заполняемая воздухом под давлением перед началом эксплуатации. Для придания центральной части оболочки 1 уплощенной формы, внутри нее расположены гибких элементы стягивающие ее верхнюю и нижнюю поверхности. Эти элементы представляют собой продольные перегородки, выполненные из ткани.
Предлагаемые ножные упоры выполнены в виде сквозных проемов 2 в надувной оболочке 1. Проемы выполнены следующим образом: в верхней и нижней поверхностях оболочки 1 сделаны вырезы, расположенные друг над другом. Края этих вырезов соединяет между собой вертикальная кольцевая стенка 3, выполненная из ткани с воздухонепроницаемый покрытием и соединенная с оболочкой герметичным швом. В плане эти проемы имеют удлиненную форму, вытянутую вдоль продольной оси каяка. Для каждого гребца имеется пара таких проемов, расположенных симметрично относительно диаметральной плоскости каяка. Для того чтобы уменьшить расстояние между проемами 2 в такой паре при сохранении высоты оболочки 1 в зоне между проемами, обращенные друг к другу участки стенок 3 стянуты гибкой горизонтальной перемычкой 4.
В каждом проеме 2 на определенной высоте, предпочтительно выше ватерлинии, закреплена гибкая горизонтальная площадка 5, полностью перекрывающая просвет проема 2 и разделяющая его на две негерметичные полости: верхнюю и нижнюю. При посадке гребца его ноги помещаются в верхние полости и опираются на ее дно и стенки. Верхняя полость выполняет таким образом функцию ножного упора.
Опорная площадка 5 полностью или частично выполнена из проницаемой для воды ткани или имеет перфорацию, что позволяет воде, попавшей в верхнюю полость проема 2, проходить через площадку 5 в нижнюю полость. В тоже время площадка 5 препятствует проникновению частиц песка и прочих загрязнений в нижнюю полость, что исключает абразивный износ гибкой герметичной оболочки 1 в нижней полости. При этом в местах примыкания площадки 5 к стенкам 3 в верхней полости не образуется острый внутренний угол, что позволяет избежать накопления загрязнений и ускоренного износа оболочки и в данной зоне.
Опорная площадка 5 крепится по периметру к стенкам 3 каким-либо общеизвестным неразъемным или разъемным способом, например застежкой типа “молния”.
Альтернативный вариант крепления площадок 5 показан на чертежах фиг. 3 и фиг. 4. В этом варианте площадки 5 объединены в общую съемную структуру, которая затем как одно целое закрепляется на верхней поверхности надувной оболочки 1. Выполнено это следующим образом. Периметр каждой площадки 5 соединен с нижним краем гибкой обечайки 6, прилегающей к стенке 3 проема. А ее верхний край соединен по всей своей длине с краем выреза в общем гибком настиле 7, выполняющем функцию палубы и расположенном на верхней поверхности надувной оболочки 1. Таким образом, соединенные между собой общий гибкий настил 7, обечайки 6 и площадки 5 образуют непрерывную поверхность, что дополнительно защищает оболочку 1 от износа. Внешний периметр общего гибкого настила 7 закреплен на верхней поверхности надувной оболочки 1 разъемными соединительными элементами 8.
Нижние полости проемов 3 закрыты от проникновения воды снизу гибкой водонепроницаемой накладкой 9, закрепленной на днище каяка по ее периметру. Накладка 9 имеет такой размер, что при надувании каяка натягивается, образуя тем самым гладкое днище, что улучшает ходовые качества каяка.
Для удаления воды попавшей в нижнюю полость, при повышении ее уровня выше ватерлинии, служат однонаправленные клапаны 10 и водовыпускные щели 11. Однонаправленный клапан 10 представляет собой отверстие или ряд отверстий, выполненных в гибкой накладке 9 в местах ее соприкосновения с нижней поверхностью оболочки 1. Для защиты от повреждения при внешнем воздействии эти отверстия прикрыты снизу защитными накладками 12 с прорезями. Водовыпускная щель 11 представляет собой небольшой участок кормового края накладки 9, не соединенный, в отличии от остального периметра накладки, с днищем каяка.
При погружении каяка в воду ее давление прижимает гибкую водонепроницаемую накладку 9 к днищу каяка, отверстия однонаправленного клапана 10 и водовыпускные щели 11 перекрыты, и вода через них не проходит. Однако, при увеличении уровня воды в проемах 2 выше ватерлинии, разность давлений отводит гибкую водонепроницаемую накладку 9 от днища, открывшиеся при этом отверстия однонаправленного клапана 10 и щели 11 выпускают воду из проемов 2 наружу. Края прорези в защитной накладке 12 при этом расходятся в стороны, не препятствуя выходу воды.
Для повышения устойчивости на курсе на днище может быть размещен съемный плавник 13. Размещенный вблизи кормового края водонепроницаемой накладки 9, этот плавник, кроме того, защищает водовыпускные щели 11 от контакта с внешними препятствиями.
Позади каждой пары проемов на палубе каяка закреплена спинка 14. При эксплуатации каяка гребец сидит на палубе, опираясь спиной на спинку 14 и опустив ноги в проемы 2. Ступни ног при этом упираются в стенки 3, а пятки стоят на опорных площадках 5.
Конструкция спинки 14 позволяет ей сдвигаться вперед и назад, менять угол наклона и полностью складываться до горизонтального положения, и выполнена следующим образом. Спинка 14 изготовлена из плоского листа полужесткого упругого материала. На палубе каяка в диаметральной плоскости закреплены направляющие 15, вдоль которой с некоторым трением может скользить ползун 16 удлиненной формы. К переднему концу ползуна 16 шарнирно крепится середина нижнего края спинки 14. За счет этого спинка 14 может смещаться вперед/назад вместе с ползуном 16 и наклоняться назад от вертикального положения. Отклонению же спинки вперед препятствует гибкая центральная оттяжка 17, соединяющая спинку с задним концом ползуна 16. Кроме того, так как нижний край спинки 14 крепится к ползуну 16 и упирается в палубу каяка, она не может наклоняться или смещаться влево/вправо. От смещения назад спинку удерживают гибкие боковые оттяжки 18 регулируемой длины, соединяющие верхнюю часть спинки 14 с палубой каяка. Это создает устойчивую опору для спины гребца. При этом регулируя длину всего лишь двух оттяжек 18 можно подобрать комфортное для гребца положение спинки 14. Кроме того, при необходимости, можно сложить спинку 14 на палубу горизонтально, сместив ползун 16 вперед и не меняя при этом длину боковых оттяжек 18.
Для того чтобы каяк мог сворачиваться после сдувания, направляющие 15 выполнены гибкими. Например, они могут представлять собой две тканевые полосы 19, размещенные на палубе каяка. Один продольный край каждой полосы закреплен на палубе, а другой край имеет утолщение 20. Эти утолщения входят в пазы в противоположных боковых гранях ползуна 16. Таким образом, ползун 16 может двигаться вдоль полос 19, но не может смещаться в поперечном направлении.
| название | год | авторы | номер документа |
|---|---|---|---|
| Надувной каяк | 2024 |
|
RU2830715C1 |
| РАЗБОРНЫЙ КАЯК | 2004 |
|
RU2283258C2 |
| Надувная байдарка | 1990 |
|
SU1828822A1 |
| Способ изготовления надувного днища для надувной лодки | 2017 |
|
RU2654170C1 |
| Судовое устройство для посадки людей в спасательные средства | 1985 |
|
SU1283151A1 |
| ВОДОПРИЕМНИК ДЛЯ СЕЛЕКТИВНОГО ЗАБОРА ВОДЫ ИЗ ВОДОХРАНИЛИЩА ГИДРОЭЛЕКТРОСТАНЦИИ | 1994 |
|
RU2076916C1 |
| НАДУВНАЯ ДИСКОВАЯ КРОВАТЬ ДЛЯ КОСМОНАВТОВ | 2017 |
|
RU2662643C1 |
| НАДУВНАЯ МНОГОМЕСТНАЯ ЛОДКА | 1996 |
|
RU2116221C1 |
| ИНВАЛИДНАЯ КОЛЯСКА С ЭЛЕКТРОМЕХАНИЧЕСКИМ ПРИВОДОМ | 1991 |
|
RU2085166C1 |
| РЕКЛИНАТОР-КОРСЕТ | 1996 |
|
RU2139697C1 |
Изобретение относится к малому судостроению и может применяться в надувных каяках с посадкой гребца сверху, на его палубе. Надувной каяк содержит гибкую надувную оболочку, в которой выполнены вертикальные сквозные проемы. Проемы образованы гибкой кольцевой стенкой, герметично соединенной с краями вырезов в верхней и нижней поверхностях оболочки и разделенные закрепленной внутри каждого проема гибкой горизонтальной площадкой на две негерметичные полости, верхняя из которых выполняет функцию ножного упора. Достигается комфортность посадки гребцов разного роста, а также положительность ходовых качеств и уменьшение износа при эксплуатации каяка. 15 з.п. ф-лы, 7 ил.
1. Надувной каяк, содержащий гибкую надувную оболочку, отличающийся тем, что в этой оболочке выполнены вертикальные сквозные проемы, образованные гибкой кольцевой стенкой, герметично соединенной с краями вырезов в верхней и нижней поверхностях оболочки и разделенные закрепленной внутри каждого проема гибкой горизонтальной площадкой на две негерметичные полости, верхняя из которых выполняет функцию ножного упора.
2. Надувной каяк по п.1, отличающийся тем, что вертикальные сквозные проемы расположены попарно, симметрично относительно диаметральной плоскости каяка.
3. Надувной каяк по п.2, отличающийся тем, что обращенные друг к другу участки гибких кольцевых стенок двух проемов, образующих пару, стянуты гибким стягивающим элементом.
4. Надувной каяк по п.1, отличающийся тем, что гибкие площадки, разделяющие проемы на две полости, выполнены из водопроницаемого материала.
5. Надувной каяк по п.1, отличающийся тем, что гибкие площадки, разделяющие проемы на две полости, закреплены по периметру к стенке соответствующего проема разъемным или неразъемным способом.
6. Надувной каяк по п.1, отличающийся тем, что каждая гибкая площадка, разделяющая проем на две полости, закреплена по периметру к нижнему краю гибкой обечайки, а верхние края всех обечаек скреплены по периметру с краями соответствующих вырезов в общем гибком съемном настиле, закрепленном на верхней поверхности надувной оболочки разъемным способом.
7. Надувной каяк по п.1, отличающийся тем, что вертикальные сквозные проемы закрыты снизу гибкой водонепроницаемой накладкой, закрепленной на нижней поверхности гибкой надувной оболочки.
8. Надувной каяк по п.7, отличающийся тем, что гибкая водонепроницаемая накладка снабжена одним или несколькими однонаправленными клапанами, позволяющими воде из вертикальных сквозных проемов изливаться во внешнюю среду.
9. Надувной каяк по п.8, отличающийся тем, что однонаправленный клапан выполнен в виде отверстий в гибкой водонепроницаемой накладке в местах ее соприкосновения с нижней поверхностью гибкой надувной оболочки.
10. Надувной каяк по п.9, отличающийся тем, что отверстия однонаправленного клапана закрыты снизу защитной накладкой с прорезью для выхода воды.
11. Надувной каяк по п.7, отличающийся тем, что гибкая водонепроницаемая накладка снабжена водовыпускными щелями, выполненными в виде незакрепленных участков кормового края этой накладки.
12. Надувной каяк по п.1, отличающийся тем, что он снабжен спинкой, выполняющей функцию спинного упора и закрепленной на верхней поверхности каяка с возможностью перемещения в продольном направлении и изменения угла наклона.
13. Надувной каяк по п.12, отличающийся тем, что спинка шарнирно закреплена на ползуне, который установлен на продольной направляющей с возможностью перемещения.
14. Надувной каяк по п.13, отличающийся тем, что положение спинки регулируется изменением длины двух гибких оттяжек.
15. Надувной каяк по п.13, отличающийся тем, что наклон спинки вперед ограничен гибкой оттяжкой, связывающей ее с ползуном.
16. Надувной каяк по п.13, отличающийся тем, что направляющая выполнена в виде двух гибких полос с утолщениями, входящими в пазы ползуна.
| EP 3741659 A1, 25.11.2020 | |||
| US 6880481 B2, 19.04.2005 | |||
| КАЯК | 2013 |
|
RU2647164C2 |
| Способ осаждения из раствора черного сернистого красителя | 1926 |
|
SU13035A1 |
| US 6263827 B1, 24.07.2001. | |||
Авторы
Даты
2025-04-02—Публикация
2024-09-08—Подача