Настоящее изобретение относится к устройству для дозирования текучих продуктов, в частности, при обработке различных объектов гербицидами, фунгицидами, инсектицидами, удобрениями, пестицидами и тому подобным.
В сельскохозяйственном секторе известны устройства, применяемые в составе с сельскохозяйственными машинами, такими как, например, сеялки, посадочные машины, пропольщики, а также машины и оборудование в целом для локального распределения текучих продуктов в установленной программой количестве. Для этой цели сельскохозяйственная машина оснащена одним или более сосудами, содержащими текучие продукты для распределения одним или более дозирующими узлами, имеющими питающий канал, который ведет к распределительной камере для подачи в нее текучей среды, подлежащей дозированию, и множество нагнетательных каналов с соплами на конце, установленными на машине близко к поверхности земли для доставки обрабатывающей текучей среды локальным способом.
В патенте Италии № 102015000031816 описано дозирующее устройство для текучих продуктов, в котором каждый дозирующий узел содержит корпус коробчатой формы, внутри которого расположена цилиндрическая распределительная камера с возможностью контроля, к которой подведен центральный питающий канал для дозирования текучей среды и множество каналов, расположенных вокруг центрального канала, для дозирования текучей среды с подачей на максимальное количество сопел.
Во избежание просачивания текучей среды, находящейся в цилиндрической камере и в каналах, на случай, когда поток новой текучей среды в них прерывается, каждый нагнетательный канал оснащен на конце, который ведет в распределительную камеру, небольшим клапаном, состоящим из эластичной мембраны с разрезом на створки, которые могут раздвигаться под действием давления, вводя распределяемую текучую среду непосредственно в камеру, и автоматически принимать исходное положение, когда ввод текучей среды прекращается.
Этот известный метод позволил решить ряд проблем, которые были известны из уровня техники, но в то же время выявило множество ограничений, которые должны быть решены настоящим изобретением.
Одно из этих ограничений заключается в определенной сложности изготовления устройства, которое снабжено клапаном для каждого из нагнетательных каналов, число которых может доходить даже до нескольких десятков на нагнетательный узел.
Другое ограничение заключается фактически в том, что открытие каждого клапана вызвано давлением, при котором дозируемая текучая среда подается в распределительную камеру, при этом, неизбежно способствует падению давления текучей среды на впуске по отношению к текучей среде на выпуске, и уровень такого давления тем более важен в виду понижения рабочего давления.
Другое ограничение заключается фактически в том, что, поскольку открытие каждого клапана определяется упругой податливостью мембраны, из которой изготовлен клапан, обеспечить идентичные свойства всех клапанов, и, следовательно, идентичность их открытия при аналогичном давлении подводимой текучей среды становится не0возможным. Из этого следует, что равномерное распределение текучей среды по всем нагнетательным каналам не обеспечивается.
Другой недостаток заключается в том, что клапаны чувствительны в работе, они восприимчивы к загрязнению и неизбежному образованию отложений из-за дозирования текучей среды и требуют периодического технического обслуживания, трудоемкость которого возрастает с увеличением числа клапанов в дозирующем устройстве.
Целью изобретения является устранение всех недостатков, которые в совокупности или по отдельности известны из уровня техники.
В частности, целью изобретения является создание устройства с возможностью доставки текучих сред по множеству каналов, по существу, с равномерной подачей по всем этим каналам.
Другой целью изобретения является создание устройства для дозирования текучих сред, которые является простым в изготовлении, а также безопасным и надежным в эксплуатации.
Другой целью изобретения является предложение устройства для дозирования текучих сред с возможностью точного регулирования давления открытия и закрытия при дозировании по каждому каналу.
Другой целью изобретения является предложение устройства для дозирования текучих сред, которое исключает любой риск просачивания при транспортировке по неровной местности.
Другой целью изобретения является предложение устройства для дозирования текучих сред, которое обеспечивает постоянную работу с ограниченной периодичностью технического обслуживания.
Все эти цели и другие задачи, которые могут возникать из следующего описания, достигаются согласно изобретению с помощью устройства для дозирования текучих продуктов, как определено в п.1.
Заявляемое устройство для дозирования текучих продуктов содержит дозирующий узел (2), соединенный с питающим каналом (4), для подачи указанной текучей среды, подлежащей дозированию, при этом указанный дозирующий узел (2) содержит основание (8), включающее нагнетательные каналы (6) для дозирования указанной текучей среды, и крышку (10), которая образует с указанным основанием расширительную камеру (12), и распределительную камеру (13), в которой также открывается указанный питающий канал (4) для введения указанной текучей среды. При этом заявляемое устройство содержит:
- упругую мембрану (46), расположенную между указанным основанием (8) и указанной крышкой (10), и имеющую первую и вторую поверхности, при этом вторая поверхность обращена ко всем выпускным отверстиям (16) указанных нагнетательных каналов (6) в указанной распределительной камере (13),
- пластину (34), размещенную внутри указанной расширительной камеры (12) и прилегающую к указанной первой поверхности указанной мембраны (46), и
- упругое средство, соединенное с указанной пластиной (34) и выполненное с возможностью удержания указанной мембраны (46) плотно прижатой к указанным отверстиям (16) указанных нагнетательных каналов (6).
Указанный питающий канал (4) также ведет к указанному основанию (8). Указанное упругое средство состоит из винтовой пружины (36), действующей на поверхность указанной пластины (34) напротив поверхности контакта указанной пластины с указанной мембраной (46). Указанная крышка (10) заходит в цилиндрическую глухую втулку (24), ограничивающую отделение корпуса указанной предварительно нагруженной винтовой пружины (36), расположенной между нижней частью указанной глухой втулки (24) и указанной пластиной (34). Указанная крышка (10) снабжена цилиндрической втулкой (24) с наружной резьбой, на которую может быть навинчена ручка (30) для ограничения пространства в корпусе для предварительно натянутой винтовой пружины (36), расположенной между нижней частью указанной ручки (30) и указанной пластины (34). По меньшей мере один элемент проставки (32, 54) установлен между указанной пружиной (36) и указанной пластиной (34). Градуированная шкала (42) взаимодействует с кромкой (44) указанной ручки (30) для индикации степени предварительного натяжения указанной пружины (36) или количества жидкости, подлежащей дозированию. На кромке (44) указанной ручки (30) выполнена градуированная шкала, указывающая на долю оборота самой ручки относительно указанной резьбовой втулки (24). Указанная пластина (34) встроена в указанную мембрану (46). Поверхность указанной мембраны, обращенная к отверстиям (16) указанных нагнетательных каналов (6), имеет выступы, расположенные в указанных отверстиях (16). Указанные отверстия (16) откалиброваны. Указанные нагнетательные каналы (6) соединены с указанным основанием (8) посредством фитингов (20), представляющих собой калиброванное отверстие. Электрическое, пневматическое или гидравлическое средство приведения в действие связано с указанной ручкой (30).
Кроме того, в настоящем изобретении приводятся пояснения в соответствующих предпочтительных вариантах реализации, представленных исключительно в иллюстративных целях и без ограничений с отсылкой к прилагаемым чертежам, в которых:
На Фиг. 1 показан вид в перспективе устройства для дозирования текучих продуктов в соответствии с изобретением,
На Фиг. 2 показано покомпонентное изображение в перспективе,
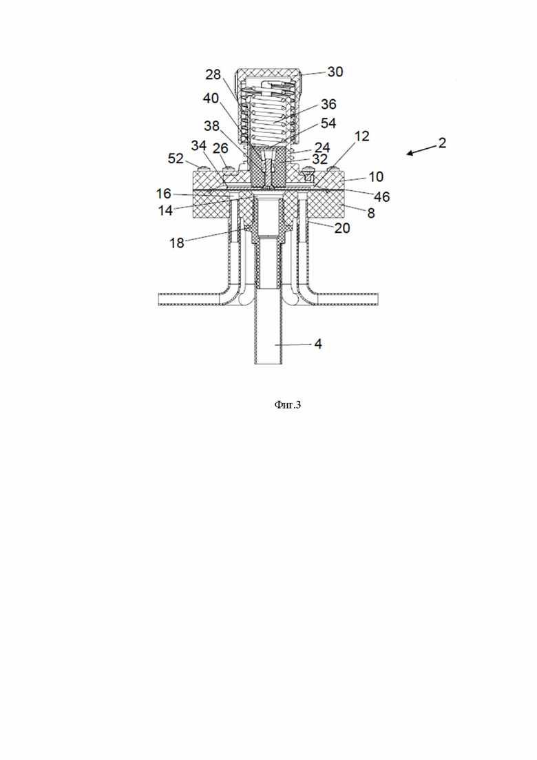
На Фиг. 3 показана диаметральной часть в неактивном состоянии, и
На Фиг. 4 показана диаметральной часть в состоянии дозирования.
Как видно на фигурах, устройство согласно изобретению глобально обозначено цифрой 2 и предназначено для установки отдельно или с аналогичными устройствами в сельскохозяйственной машине, такой как, в частности, сеялка, посадочная машина, пропольщик или иная машина, посредством которой текучая и, в частности, жидкая среда для дозирования может быть распределена в почве или на растениях локальным методом и в соответствии с программированной дозировкой.
Для этой цели устройство 2 снабжено питающим каналом 4, по которому дозируемая текучая среда, содержащаяся в сосуде, поддерживаемом рамой сельскохозяйственной машины, которая здесь не показана, подается в устройство 2, и множеством нагнетательных каналов 6, по которым эта же текучая среда подается на такое же количество сопел, установленных в сельскохозяйственной машине в положениях, подходящих для распределения в почве локальным способом.
Кроме того, поскольку все это хорошо известно операторам в данной отрасли, дополнительное подробное описание не требуется.
Устройство 2, согласно изобретению, содержит цилиндрическое основание 8 и также цилиндрическую крышку 10 с возможностью соединения для образования расширительной камеры 12, более подробно описанной ниже.
Внутри расширительной камеры 12, когда контур открыт, формируется распределительная камера 13, как более подробно описано ниже, между верхней поверхностью основания 8 и нижней поверхностью мембраны 46.
Основание 8 имеет сквозное отверстие 14 в центре и множество сквозных отверстий 16 меньшего диаметра, расположенных вокруг указанного центрального отверстия 14, предпочтительно на одной или более концентрических окружностях.
Соединение 18 для питающего канала 4 может быть вставлено в центральное отверстие 14.
Предпочтительно, что между сосудом для подачи текучей среды и устройством 2 в канале 4 установлен насос (не показан), который отвечает за подачу текучей среды в устройство 2 с заданным и, возможно, регулируемым давлением.
Ограничение между соединением 18 и основанием 8 может быть любым и может быть связано со свойствами материала, из которого изготовлено основание 8. Например, если основание 8 выполнено из металла, предпочтительно, чтобы отверстие 14 имело внутреннюю резьбовую поверхность, а соединение 18 имело часть, вставляемую в отверстие 14, которая также выполнена с резьбой, и в то же время если основание 8 выполнено из пластичного материала, предпочтительно, чтобы часть соединения 18, которая вставляется в отверстие 14, была представлена множеством параллельных окружных ребер с пилообразным профилем, вставляемых путем вдавливания в само отверстие.
В отверстия 16, выполненные в основании 8, могут быть вставлены соединения 20 с таким же количеством нагнетательных каналов 6. Ограничение между каждым соединением 20 и основанием 8 также связано со свойством материала, из которого выполнено основание, и может быть аналогичным для соединения 18, то есть, например, для резьбового соединения или для соединения, вставляемого путем вдавливания. Расширительная камера 13 имеет такой диаметр, который обеспечивает расположение сквозных отверстий 16, полученных в основании 8, с внешней стороны кольцевой кромки.
Крышка 10 располагается с противоположной стороны по отношению к основанию 8, переходя в цилиндрическую втулку 24, которая может быть выполнена в корпусе как одно целое с крышкой 10 или может быть выполнена в виде отдельной детали, соединенной с крышкой 10 с помощью винтов 26, как показано на чертежах.
Втулка 24 снаружи имеет резьбу 28, на которую может быть навинчена ручка 30, а внутри имеет цилиндрическую полость, в которой предпочтительно размещена проставка 32, которая с внутренней стороны удерживается пластиной 34, размещенной внутри расширительной камеры 12, а с внешней стороны опирается на винтовую пружину 36, расположенную между самой проставкой 32 и нижней частью ручки 30.
Соединение между пластиной 34 и проставкой 32 предпочтительно обеспечивается посредством винта 38 и гайки 40 или посредством винта 38, входящего в зацепление непосредственно с резьбовой частью, образованный в самой проставке.
На стенке с наружной стороны втулки 24 предусмотрена градуированная шкала 42, индикация которой указывает на соответствующий шаг резьбы 28, тем самым устанавливая соотношение между степенью завинчивания ручки 30 на втулке 24 и индикацией на градуированной шкале 42 по краю самой ручки.
Кроме того, на кромке по окружности ручки 30 имеются метки, которые делят саму кромку на равные части, например, на десять, таким образом, чтобы указатель шкалы 42 показывал долю оборота самой ручки.
Таким образом, шкала 42 на втулке 24 и шкала на кромке 44 ручки 30 позволяют объективно определить степень завинчивания ручки на втулке 24 и, следовательно, степень предварительного натяжения пружины 36.
Между основанием 8 и крышкой 10 помещена дискообразная мембрана 46, общая площадь которой, по существу, идентична площади основания 8 и крышки 10. Она плотно прилегает к верхней поверхности основания 8 и, следовательно, располагается в положении, позволяющем закрывать как отверстие 14, так и отверстия 16, с помощью пластины 34, прижимаемой пружиной 36 через проставку 32. Также предусмотрено, что мембрана 46 и пластина 34 могут быть выполнены в едином корпусе, который в центральной части имеет по существу жесткие свойства, в то время как в кольцевой периферийной части обладает упругими свойствами.
В любом случае предпочтительно, чтобы между эластичной мембраной 46 и основанием 8 размещалась тороидальная прокладка 48, которая частично помещена в кольцевую канавку 50, выполненную в основании 8, и которая обеспечивает герметичность распределительной камеры 13, когда крышка 10 крепится к ней винтами 52.
Работа дозирующего устройства согласно изобретению осуществляется следующим образом:
при отсутствии потока текучей среды из насоса в питающий канал 4 пружина 36 прижимает мембрану 46 через пластину 34 к верхней поверхности основания 8 и сохраняет все отверстия 16 в закрытом положении, предотвращая утечку и просачивание текучей среды, присутствующей в контуре со стороны нагнетательных каналов 6.
При подаче потока текучей среды из насоса в питающий канал 4 усилие, оказываемое текучей средой на мембрану 46, заставляет пружину 36 сжиматься и поднимать, как мембрану 46, так и пластину 34, в результате чего обеспечивается распределительная камера 13, которая соединяет в открытом контуре питающий канал 4 с нагнетательными каналами 6. Объем потока текучей среды зависит от давления, создаваемого насосом в питающем канале 4, или от сопел с калиброванным отверстием, вставленных в контур нагнетательных каналов 6, или от другого известного способа регулирования.
Когда поток текучей среды из насоса в питающий канал 4 прерывается, давление, ранее существовавшее в распределительной камере 13, уменьшается, в результате чего усилие, оказываемое пружиной 36 на пластину 34 и, следовательно, на мембрану 46, преобладает и приводит саму мембрану в состояние, когда она входит в контакт с верхней поверхностью основания 8 и прижимается к нему, способствуя одновременно закрытию всех отверстий 16.
Следует отметить, что давление, способствующее отводу мембраны 46 от верхней поверхности основания 8, определяется усилием, которое необходимо для сжатия пружины 36 и которое регулируется оператором посредством завинчивания/отвинчивания ручки 30 и последующего изменения предварительного натяжения пружины 36. Это давление определяется с учетом разных переменных, таких как, в частности, ширина передней части машины, условия работы, транспортировка и использование, расход распределяемой текучей среды, ее вязкость или другие характеристики, количество каналов 6 и т.д.
Более того, также предусмотрено, что в качестве альтернативы ручному приводу ручки 30 возможно управление с помощью электрического, пневматического, гидравлического или аналогичного механизма, который сам по себе известен и которым может управлять оператор в автоматическом или в ручном режиме, сидя на рабочем месте месте.
Кроме того, чтобы обеспечить правильное соотношение между положением указателя ручки 30 и значением давления текучей среды с тем, чтобы управлять подачей и прекращением подачи текучей среды, то есть с целью регулирования степени предварительного натяжения пружины 36, между самой пружиной и проставкой 32 или между самой пружиной и пластиной 34 могут быть дополнительно установлены регулировочные прокладки 54.
Соединения 20 могут иметь отверстие такого размера, чтобы обеспечить распределение обильного потока текучей среды по каждому нагнетательному каналу 6, при этом, они также могут иметь калиброванное отверстие для точного определения количества текучей среды, подлежащей распределению по каждому нагнетательному каналу 6. В качестве альтернативы, вместо соединений 20, можно откалибровать отверстия 16, полученные в основании 8. Работа устройства согласно изобретению не зависит от наличия или отсутствия калиброванных отверстий 16 или калиброванных соединений 20.
Понятно, что дозирующее устройство согласно изобретению является гораздо более выгодным, чем традиционные устройства, и, в частности:
- оно обеспечивает равномерную доставку текучей среды по разным каналам 6;
- позволяет периодически точно регулировать давление, при котором открывается и закрывается контур, по расстоянию мембраны 46 от верхней поверхности основания 8;
- благодаря удалению отдельных клапанов на каждом канале становится возможным более простая и безопасная эксплуатация, а также исключаются работы по техническому обслуживанию, которые ранее требовались для клапанов;
- исключается риск просачивания во время транспортировки сельскохозяйственной машины и при пересечении неровной местности.
В другом варианте реализации устройство согласно изобретению не имеет проставки, но имеет пружину 36, которая нажимает непосредственно на пластину 34. В этом случае, однако, желательно, чтобы пластина 34 оставалась по центру в расширительной камере 12 и, следовательно, этого можно добиться по отношению к пружине 36, например, путем выполнения центрирующего рельефа на поверхности пластины, обращенной лицевой стороной к пружине.
В другом варианте реализации, если условия предварительного натяжения пружины (т.е. давление открытия контура) известны и постоянны, можно упростить устройство, установив с верхней стороны глухую втулку 24, при этом, глубина определяется таким образом, чтобы можно было обеспечить требуемое предварительное натяжение пружины 36, которая в данном случае фиксируется и не требует использования ручки 30. Однако, если степень предварительного натяжения пружины 36 должна быть изменена, то эти изменения выполняются фиксированным способом без регулирования путем установки или удаления регулировочных прокладок 54.
Также, для того, чтобы действие по закрытию отверстий 16 мембраной 46 выполнялось более эффективно, предусматривается, что сама мембрана должна быть выполнена так, чтобы ее поверхность была обращена к указанным отверстиям выступами различной формы (под конус, под усеченный конус, полусферические или иной подобной формы), расположенными так, чтобы мембрана более плотно закрывала отверстия.
В другом варианте реализации питающий канал 4 ведет не к основанию 8 устройства, а к крышке 10 и, более конкретно, пересекает нижнюю часть ручки 30 или глухой втулки 24 и примыкает к мембране 46.
| название | год | авторы | номер документа |
|---|---|---|---|
| УСТРОЙСТВО, ПРИГОДНОЕ ДЛЯ ДОЗИРОВАНИЯ ЖИДКИХ ВЕЩЕСТВ | 2020 |
|
RU2810185C2 |
| УСТРОЙСТВО ДЛЯ РЕГУЛИРОВАНИЯ РАСХОДА ТЕКУЧЕЙ СРЕДЫ (ВАРИАНТЫ) | 2011 |
|
RU2588344C2 |
| Устройство для дозирования жидкостей | 1985 |
|
SU1348653A1 |
| УСТРОЙСТВО И СПОСОБ ПОДАЧИ ТЕКУЧЕЙ СРЕДЫ | 2013 |
|
RU2714945C2 |
| ДОЗИРУЮЩАЯ УСТАНОВКА | 1972 |
|
SU356145A1 |
| МЕМБРАННЫЙ КАРБЮРАТОР | 2004 |
|
RU2294447C2 |
| Беспоплавковый карбюратор для двигателя внутреннего сгорания | 1984 |
|
SU1222876A1 |
| УСТРОЙСТВО ДЛЯ РЕГУЛИРОВАНИЯ РАСХОДА ТЕКУЧЕЙ СРЕДЫ (ВАРИАНТЫ) | 2011 |
|
RU2586811C2 |
| НАСОСНЫЕ СИСТЕМЫ ДОСТАВКИ ТЕКУЧИХ СРЕД И СПОСОБЫ ПРИМЕНЕНИЯ УСТРОЙСТВА ПРИЛОЖЕНИЯ УСИЛИЯ | 2007 |
|
RU2447905C2 |
| УСТРОЙСТВО ПИТАНИЯ ДВИГАТЕЛЯ ВНУТРЕННЕГО СГОРАНИЯ | 1994 |
|
RU2088792C1 |
Изобретение относится к сельскому хозяйству. Устройство для дозирования текучих продуктов содержит дозирующий узел (2), соединенный с питающим каналом (4), для подачи текучей среды, подлежащей дозированию. Дозирующий узел (2) содержит основание (8), включающее нагнетательные каналы (6) для дозирования текучей среды, и крышку (10), которая образует с основанием расширительную камеру, и распределительную камеру, в которой также открывается питающий канал (4) для введения текучей среды. Между основанием (8) и крышкой (10) расположена упругая мембрана (46), имеющая первую и вторую поверхности. Вторая поверхность обращена ко всем выпускным отверстиям нагнетательных каналов (6) в распределительной камере. Внутри расширительной камеры размещена пластина, прилегающая к первой поверхности мембраны (46). С пластиной соединено упругое средство, выполненное с возможностью удержания мембраны (46), прижатой к отверстиям нагнетательных каналов (6). Обеспечивается равномерная подача текучих сред по каналам, простота в изготовлении, безопасность и надежность в эксплуатации, точность регулирования давления открытия и закрытия при дозировании по каждому каналу, исключение любого риска просачивания при транспортировке по неровной местности, а также постоянная работа с ограниченной периодичностью технического обслуживания. 12 з.п. ф-лы, 4 ил.
1. Устройство для дозирования текучих продуктов, содержащее дозирующий узел (2), соединенный с питающим каналом (4), для подачи указанной текучей среды, подлежащей дозированию, при этом указанный дозирующий узел (2) содержит основание (8), включающее нагнетательные каналы (6) для дозирования указанной текучей среды, и крышку (10), которая образует с указанным основанием расширительную камеру (12), и распределительную камеру (13), в которой также открывается указанный питающий канал (4) для введения указанной текучей среды, характеризующееся тем, что оно содержит:
- упругую мембрану (46), расположенную между указанным основанием (8) и указанной крышкой (10) и имеющую первую и вторую поверхности, при этом вторая поверхность обращена ко всем выпускным отверстиям (16) указанных нагнетательных каналов (6) в указанной распределительной камере (13),
- пластину (34), размещенную внутри указанной расширительной камеры (12) и прилегающую к указанной первой поверхности указанной мембраны (46), и
- упругое средство, соединенное с указанной пластиной (34) и выполненное с возможностью удержания указанной мембраны (46) прижатой к указанным отверстиям (16) указанных нагнетательных каналов (6).
2. Устройство по п.1, характеризующееся тем, что указанный питающий канал (4) также ведет к указанному основанию (8).
3. Устройство по п.1, характеризующееся тем, что указанное упругое средство состоит из винтовой пружины (36), действующей на поверхность указанной пластины (34) напротив поверхности контакта указанной пластины с указанной мембраной (46).
4. Устройство по пп.1-3, характеризующееся тем, что указанная крышка (10) заходит в цилиндрическую глухую втулку (24), ограничивающую отделение корпуса указанной предварительно нагруженной винтовой пружины (36), расположенной между нижней частью указанной глухой втулки (24) и указанной пластиной (34).
5. Устройство по пп.1-4, характеризующееся тем, что указанная крышка (10) снабжена цилиндрической втулкой (24) с наружной резьбой, на которую может быть навинчена ручка (30) для ограничения пространства в корпусе для предварительно натянутой винтовой пружины (36), расположенной между нижней частью указанной ручки (30) и указанной пластины (34).
6. Устройство по пп.1-5, характеризующееся тем, что по меньшей мере один элемент проставки (32, 54) установлен между указанной пружиной (36) и указанной пластиной (34).
7. Устройство по пп.1-6, характеризующееся тем, что градуированная шкала (42) взаимодействует с кромкой (44) указанной ручки (30) для индикации степени предварительного натяжения указанной пружины (36) или количества жидкости, подлежащей дозированию.
8. Устройство по п.6, характеризующееся тем, что на кромке (44) указанной ручки (30) выполнена градуированная шкала, указывающая на долю оборота самой ручки относительно указанной резьбовой втулки (24).
9. Устройство по пп.1-8, характеризующееся тем, что указанная пластина (34) встроена в указанную мембрану (46).
10. Устройство по пп.1-9, характеризующееся тем, что поверхность указанной мембраны, обращенная к отверстиям (16) указанных нагнетательных каналов (6), имеет выступы, расположенные в указанных отверстиях (16).
11. Устройство по пп.1-10, характеризующееся тем, что указанные отверстия (16) откалиброваны.
12. Устройство по пп.1-11, характеризующееся тем, что указанные нагнетательные каналы (6) соединены с указанным основанием (8) посредством фитингов (20), представляющих собой калиброванное отверстие.
13. Устройство по пп.1-12, характеризующееся тем, что электрическое, пневматическое или гидравлическое средство приведения в действие связано с указанной ручкой (30).
| IT UB20151991 A1, 08.01.2017 | |||
| WO 2020165822 A1, 20.08.2020 | |||
| Дозатор-распределитель для безводного аммиака | 1957 |
|
SU114448A1 |
| Дождевальная насадка | 1973 |
|
SU454875A1 |
Авторы
Даты
2025-04-03—Публикация
2021-12-03—Подача