Изобретение относится к области испытательной техники, в частности к гидравлическим испытаниям глубоководных аппаратов (преимущественно крупногабаритных) и позволяет имитировать нагрузки, возникающие при погружении аппаратов с заданной скоростью на заданную глубину, а также при их всплытии.
В настоящее время возможности проведения натурных испытаний глубоководных аппаратов, предназначенных для эксплуатации в акваториях водоемов, ограничены из-за высокой стоимости, отсутствия соответствующих испытательных полигонов и необходимой инфраструктуры, при этом существуют большие риски потери информации об объектах испытаний. Испытания в лабораторных условиях позволяют снизить затраты на их проведение, а также повысить надежность контроля параметров изделий в процессе их испытаний.
Известен гидравлический стенд для испытаний глубоководных объектов [патент РФ на полезную модель №116235, МПК G01N 3/10, приоритет 21.12.2011, опубликован 20.05.2012], содержащий герметичный резервуар, заполненный реальной жидкостью, с уплотненными крышками, который размещен между основанием и установленной над ним на стойках траверсой, с возможностью его перемещения вдоль стоек и поворота относительно одной из них. Верхняя крышка резервуара выполнена легкосъемной с возможностью ее перемещения внутри резервуара параллельно стойкам. В основании стенда размещен силовой гидроцилиндр средства создания давления в резервуаре, взаимодействующий с нижней крышкой резервуара, который трубопроводом соединен с насосом, емкостью со специальной рабочей жидкостью и системой стравливания последней.
Недостатками известного стенда являются:
- отсутствие возможности задания закона изменения гидравлического давления;
- отсутствие возможности управления снижением давления;
- отсутствие автоматического управления процессом испытаний.
Данное устройство принимается за прототип, как наиболее близкое по технической сущности к заявляемому изобретению.
Технический результат, на достижение которого направлено заявляемое изобретение, заключается в повышении надежности контроля параметров изделий в процессе испытаний со снижением затрат на проведение работ.
Указанный технический результат достигается тем, что стенд для испытаний изделия на воздействие изменяющегося с заданной скоростью внешнего гидравлического давления содержит гидрокамеру, средство создания давления в гидрокамере, средство контроля давления и емкость с рабочей средой, соединенную трубопроводом с гидрокамерой через средство создания давления, при этом средство контроля давления выполнено в виде манометра, установленного на емкости с рабочей средой, согласно изобретению он снабжен, по меньшей мере, одним трубопроводом, соединяющим гидрокамеру с емкостью с рабочей средой, выполненной в виде ресивера, заполненного сжатым газом, а средство создания давления в гидрокамере выполнено в виде последовательно установленных на трубопроводе, соединяющем ресивер и гидрокамеру, шарового крана, клапана отсечного электромагнитного, сервоклапана и обратного клапана, кроме того средство создания давления в гидрокамере оснащено последовательно установленными на трубопроводе, соединяющим гидрокамеру с окружающей средой, фильтром и шаровым краном с электроприводом, при этом средство контроля давления дополнительно оснащено манометром и датчиком давления, установленными на гидрокамере.
Таким образом, выполнение емкости с рабочей средой в виде ресивера, заполненного сжатым газом, выполнение средства создания давления в гидрокамере в виде шаровых кранов, клапанов отсечных электромагнитных, сервоклапанов, обратных клапанов, фильтра и шарового крана с электроприводом, оснащение средства контроля давления дополнительно манометром и датчиком давления, установленными на гидрокамере, позволяет повысить надежность контроля параметров изделий в процессе испытаний и снизить затраты на проведение работ.
Кроме того, с целью снижения трудозатрат при заполнении емкости рабочей средой на месте эксплуатации стенда, стенд снабжен компрессором, подключенным к емкости с рабочей средой.
Кроме того, с целью повышения безопасности, гидрокамера и емкость с рабочей средой оснащены предохранительными клапанами.
Наличие в заявляемом изобретении признаков, отличающих его от прототипа, позволяет считать его соответствующим условию «новизна».
Новые признаки, которые содержит отличительная часть формулы изобретения, не выявлены в технических решениях аналогичного назначения, на этом основании можно сделать вывод о соответствии заявляемого изобретения условию «изобретательский уровень».
Техническое решение иллюстрируется чертежом:
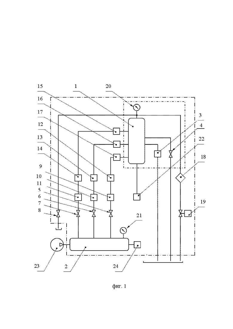
на фиг. 1 представлена пневмогидравлическая схема системы автоматизированного управления давлением установки для гидравлических испытаний.
Стенд для испытаний изделия на воздействие изменяющегося с заданной скоростью внешнего гидравлического давления (фиг. 1) содержит гидрокамеру 1, средства создания и контроля давления и емкость 2 с рабочей средой.
Гидрокамера 1 наполнена жидкостью и высвободившемся в результате затопления объекта испытаний (не показано) воздухом, объем которого определяется конструктивными особенностями объекта. Гидрокамера 1 снабжена предохранительным клапаном 3, предназначенным для ее защиты от нештатного повышения давления более рабочего значения, и вентилем 4, для слива жидкости.
Средство создания давления содержит шаровые краны 5, 6, 7, 8, клапаны отсечные электромагнитные 9, 10, 11, сервоклапаны 12, 13, 14, обратные клапаны 15, 16, 17, фильтр 18 и шаровой кран 19 с электроприводом. Шаровые краны 5, 6, 7 предназначены для запирания рабочей среды в емкости 2 при ее наполнении. Шаровый кран 8 предназначен для сброса давления из гидрокамеры 1 в случае выхода из строя шарового крана 19. Вход шарового крана 8 подключен к верхней точке внутреннего объема гидрокамеры 1, а выход соединен с атмосферой. Быстродействующие сервоклапаны 12, 13, 14 позволяют изменять в автоматическом режиме проходные сечения трубопроводов, нагнетающих давление в гидрокамеру 1. Клапаны отсечные электромагнитные 9, 10, 11 и шаровые краны 12, 13, 14 применены для полного запирания подачи рабочей среды в гидрокамеру 1 перед и по окончании воспроизведения испытательного режима, а так же при возникновении нештатных ситуаций. Шаровые краны 5, 6, 7, клапаны отсечных электромагнитных 9, 10, 11, сервоклапаны 12, 13, 14 и обратные клапаны 15, 16, 17 последовательно установлены на трубопроводе соединяющим емкость 2 с гидрокамерой 1. Фильтр 18 предназначен для исключения попадания твердых частиц, которые могут находиться в жидкости, заполняющей гидрокамеру 1. Шаровой кран 19 позволяет имитировать высплытие объекта испытаний. Вход шарового крана 19 через фильтр 18 подключен к верхней точке внутреннего объема гидрокамеры 1, а выход соединен с атмосферой.
Средство контроля давления выполнено в виде манометров 20 и 21, установленных на гидрокамере 1 и емкости 2 с рабочей средой соответственно, и датчика давления 22, установленного на гидрокамере 1.
Емкость 2 с рабочей средой выполнена в виде ресивера большого объема, заполненного сжатым газом. К емкости 2 подключен компрессор 23, заполняющий ее сжатым воздухом. Емкость 2 снабжена предохранительным клапаном 24, предназначенным для ее защиты от нештатного повышения давления более рабочего значения.
Работает устройство следующим образом.
В гидрокамере 1 размещают объект испытаний. Компрессором 23 заполняют емкость 2 воздухом, регулируя уровень давления в ресивере с помощью манометра 21. Нагружение осуществляют путем подачи из емкости 2 в гидрокамеру 1 сжатого воздуха, который через жидкость действует на объект испытаний.
Имитацию погружения объекта испытаний с заданной скоростью реализуют с помощью быстродействующих сервоклапанов 12, 13, 14, позволяющих изменять в автоматическом режиме проходные сечения трубопроводов, нагнетающих давление в гидрокамеру 1. Положение золотников сервоклапанов 12, 13, 14 зависит от величины подаваемого тока. Текущее положение золотников определяется и задается управляющим программным обеспечением, в основе алгоритма которого лежит прогнозирование изменения давления в гидрокамере 1 при неизменном текущем положении золотников сервоклапанов 12, 13, 14. Программа вычисляет значение давления, которое будет в гидрокамере 1 через некоторое фиксированное время и сравнивает прогноз с требуемым значением. На основе сравнения вычисляется и устанавливается такое положение золотников сервоклапанов 12, 13, 14 которое через это фиксированное время приведет к совпадению прогнозируемого давления с требуемым. В качестве элемента обратной связи по давлению применяют датчик давления 22, сигнал с которого используют при прогнозировании и визуализации изменения давления в гидрокамере 1.
Имитацию всплытия объекта испытаний реализуют с помощью шарового крана 19 с электрическим управлением. Открытие и закрытие шарового крана 19 с электроприводом также осуществляется автоматически при помощи управляющего программного обеспечения.
При возникновении нештатной ситуации подачу рабочей среды в гидрокамеру 1 перекрывают, запирая клапаны отсечные электромагнитные 9, 10, 11 и шаровые краны 5, 6, 7, 8.
По окончании испытаний жидкость из гидрокаметры 1 сливают, открыв вентиль 4.
Таким образом, вышеизложенные сведения свидетельствуют о выполнении при использовании заявленного изобретения следующей совокупности условий:
Средство, воплощающее заявленное изобретение при его осуществлении, относится к испытательной технике, в частности к гидравлическим испытаниям глубоководных аппаратов (преимущественно крупногабаритных) и позволяет имитировать нагрузки, возникающие при погружении аппаратов с заданной скоростью на заданную глубину, а также при их всплытии;
Для заявленного устройства в том виде, как оно охарактеризовано в пункте формулы изобретения, подтверждена возможность его осуществления;
Средство, воплощающее заявленное изобретение при осуществлении, способно обеспечить повышение надежности контроля параметров изделий в процессе испытаний со снижением затрат на проведение работ по сравнению с натуральными испытаниями.
Следовательно заявленное изобретение соответствует условию «промышленная применимость».
| название | год | авторы | номер документа |
|---|---|---|---|
| СТЕНД ДЛЯ ГИДРАВЛИЧЕСКИХ ИСПЫТАНИЙ | 2021 |
|
RU2763977C1 |
| МЕХАТРОННАЯ УСТАНОВКА ДЛЯ ИССЛЕДОВАНИЯ РОТОРНЫХ СИСТЕМ | 2018 |
|
RU2701744C1 |
| Способ циклических гидравлических испытаний дефектных трубных секций и стенд для его осуществления | 2023 |
|
RU2809307C1 |
| ТРИБОМЕХАТРОННЫЙ СТЕНД ДЛЯ ИССЛЕДОВАНИЯ АКТИВНЫХ РОТОРНЫХ ОПОР | 2022 |
|
RU2796705C1 |
| УСТАНОВКА ДЛЯ ИССЛЕДОВАНИЯ АКТИВНЫХ ПОДШИПНИКОВ СКОЛЬЖЕНИЯ | 2020 |
|
RU2757062C1 |
| ГИДРОПНЕВМАТИЧЕСКАЯ СТАНЦИЯ ДЛЯ ГИДРАВЛИЧЕСКИХ ИСПЫТАНИЙ И ОПРЕССОВКИ ПРОТИВОВЫБРОСОВОГО ОБОРУДОВАНИЯ | 2019 |
|
RU2720429C1 |
| ГИДРОПНЕВМАТИЧЕСКАЯ ДВУХНАСОСНАЯ СТАНЦИЯ ДЛЯ ГИДРАВЛИЧЕСКИХ ИСПЫТАНИЙ И ОПРЕССОВКИ ПРОТИВОВЫБРОСОВОГО ОБОРУДОВАНИЯ | 2019 |
|
RU2718549C1 |
| СТЕНД ДЛЯ ИССЛЕДОВАНИЯ ХАРАКТЕРИСТИК НАСОСНО-ЭЖЕКТОРНЫХ СИСТЕМ С ИСПОЛЬЗОВАНИЕМ ВЫХЛОПНЫХ ГАЗОВ | 2022 |
|
RU2784588C1 |
| Способ определения эффективности воздухоотделения и стенд для его осуществления | 2024 |
|
RU2830853C1 |
| Универсальный стенд для испытаний насосов, насосных агрегатов и их систем | 2021 |
|
RU2778768C1 |
Изобретение относится к области испытательной техники, в частности к гидравлическим испытаниям глубоководных аппаратов (преимущественно крупногабаритных) и позволяет имитировать нагрузки, возникающие при погружении аппаратов с заданной скоростью на заданную глубину, а также при их всплытии. Устройство содержит гидрокамеру, средство создания давления в гидрокамере, средство контроля давления и емкость с рабочей средой, соединенную трубопроводом с гидрокамерой через средство создания давления. Средство контроля давления выполнено в виде манометра, установленного на емкости с рабочей средой. Устройство снабжено по меньшей мере одним трубопроводом, соединяющим гидрокамеру с емкостью с рабочей средой, выполненной в виде ресивера, заполненного сжатым газом. Средство создания давления в гидрокамере выполнено в виде последовательно установленных на трубопроводе, соединяющем ресивер и гидрокамеру, шарового крана, клапана отсечного электромагнитного, сервоклапана и обратного клапана. Средство создания давления в гидрокамере оснащено последовательно установленными на трубопроводе, соединяющим гидрокамеру с окружающей средой, фильтром и шаровым краном с электроприводом. Средство контроля давления дополнительно оснащено манометром и датчиком давления, которые установлены на гидрокамере. Технический результат заключается в повышении надежности контроля параметров изделий в процессе испытаний со снижением затрат на проведение работ. 2 з.п. ф-лы, 1 ил. 
1. Стенд для испытаний изделия на воздействие изменяющегося с заданной скоростью внешнего гидравлического давления, содержащий гидрокамеру, средство создания давления в гидрокамере, средство контроля давления и емкость с рабочей средой, соединенную трубопроводом с гидрокамерой через средство создания давления, при этом средство контроля давления выполнено в виде манометра, установленного на емкости с рабочей средой, отличающийся тем, что он снабжен по меньшей мере одним трубопроводом, соединяющим гидрокамеру с емкостью с рабочей средой, выполненной в виде ресивера, заполненного сжатым газом, а средство создания давления в гидрокамере выполнено в виде последовательно установленных на трубопроводе, соединяющем ресивер и гидрокамеру, шарового крана, клапана отсечного электромагнитного, сервоклапана и обратного клапана, кроме того средство создания давления в гидрокамере оснащено последовательно установленными на трубопроводе, соединяющим гидрокамеру с окружающей средой, фильтром и шаровым краном с электроприводом, при этом средство контроля давления дополнительно оснащено манометром и датчиком давления, установленными на гидрокамере.
2. Стенд по п. 1, отличающийся тем, что он снабжен компрессором, подключенным к емкости с рабочей средой.
3. Стенд по п. 1, отличающийся тем, что гидрокамера и емкость с рабочей средой оснащены предохранительными клапанами.
| Конвертер для выплавки сталей и сплавов | 1955 |
|
SU116235A1 |
| Установка для электронагрева арматурных стержней и укладки нагретых стержней в упоры поддона | 1960 |
|
SU140720A1 |
| ГИДРАВЛИЧЕСКИЙ СТЕНД ДЛЯ ИСПЫТАНИЯ ГЛУБОКОВОДНЫХ МОДУЛЕЙ | 1991 |
|
RU2025705C1 |
| Автоматическое устройство для передачи нагретых рессорных листов и других аналогичных деталей из методической печи к гибочно-закалочному барабану | 1950 |
|
SU91431A1 |
| CN 201583391 U, 15.09.2010 | |||
| СТЕНД ДЛЯ ИСПЫТАНИЙ И ЗАРЯДКИ ГАЗЛИФТНЫХ КЛАПАНОВ | 2018 |
|
RU2691248C1 |
| СТЕНД ДЛЯ ИССЛЕДОВАНИЯ ХАРАКТЕРИСТИК НАСОСНО-ЭЖЕКТОРНЫХ СИСТЕМ С ИСПОЛЬЗОВАНИЕМ ВЫХЛОПНЫХ ГАЗОВ | 2022 |
|
RU2784588C1 |
Авторы
Даты
2025-04-14—Публикация
2025-01-09—Подача