Область техники, к которой относится изобретение
Настоящее изобретение относится к самодвижущейся сельскохозяйственной рабочей машине.
Уровень техники
Сельскохозяйственные рабочие машины зачастую используются на отлогом, открытом и, возможно, податливом основании, где существует заметная вероятность аварии из-за опрокидывания. Повышенный риск опрокидывания присутствует, например, в том случае, если рабочая машина используется для уплотнения силосной массы посредством проезда по траншейному силосохранилищу, так как силосный материал может иметь в этом случае крутой и, возможно, неустойчивый уклон. При опрокидывании кабина водителя рабочей машины может вступать в контакт с почвой и деформироваться между ней и ходовой частью. Кабина водителя должна быть сконструирована достаточно прочной, для того чтобы также в таком случае эффективно защищать водителя.
Из DE 10 2018005874 А известна сельскохозяйственная рабочая машина, у которой кабина водителя поддерживается в задней области аварийными коробчатыми элементами и может поворачиваться вокруг проходящей под ее передним краем оси, так что действующее спереди на кабину давление может вызывать поворот кабины вокруг оси и вследствие этого сплющивание аварийных коробчатых элементов. В случае опрокидывания вперед рабочей машины действуют оба аварийных коробчатых элемента. Однако если рабочая машина опрокидывается набок, в этом случае под давлением оказывается по существу только обращенный от земли аварийный коробчатый элемент; другой остается незадействованным.
Раскрытие сущности изобретения
Задача изобретения создать сельскохозяйственную рабочую машину с расположенными между ходовой частью и кабиной водителя аварийными коробчатыми элементами, у которой также расположенный близко к земле после опрокидывания набок аварийный коробчатый элемент может способствовать рассеянию энергии столкновения и тем самым защите кабины водителя от чрезмерной деформации.
Задача решена благодаря тому, что у сельскохозяйственной рабочей машины, у которой ходовую часть образует первая часть кузова, а кабину водителя расположенная над первой частью кузова и подвижная относительно ходовой части вторая часть кузова, и по меньшей мере один аварийный коробчатый элемент расположен между кабиной водителя и ходовой частью, для того чтобы сплющиваться за счет приближающегося к ходовой части движения кабины водителя, в каждом случае способное к растягивающей нагрузке соединение предусмотрено между аварийным коробчатым элементом и кабиной водителя, а также между аварийным коробчатым элементом и ходовой частью. Таким образом аварийный коробчатый элемент может поглощать энергию не только вследствие того, что он, как обычно, сплющивается, но и вследствие того, что он растягивается.
По меньшей мере одно из соединений должно иметь зазор в направлении относительного движения, для того чтобы допускать движение кабины водителя относительно ходовой части без деформации аварийного коробчатого элемента.
Части кузова должны быть соединены далее пружинным элементом, который имеет размеры, для того чтобы удерживать по меньшей мере одно соединение в среднем положении между границами зазора. Таким образом, кабина водителя может экранироваться от вибраций ходовой части во время езды.
Для того чтобы ограничивать относительное движение ходовой части и кабины водителя по существу одной степенью свободы, рядом с передним краем кабины водителя может быть задана ось, вокруг которой кабина водителя может поворачиваться относительно ходовой части.
Ось предпочтительно неподвижна на ходовой части при нормальных условиях эксплуатации, однако она может иметь возможность перемещения со своей стороны в случае аварии с поглощением энергии относительно ходовой части.
Подвижность относительно ходовой части может достигаться вследствие того, что распространяющаяся в поперечном направлении рабочей машины листовая пружина соединена посередине с одной из частей кузова, предпочтительно с ходовой частью, а на своих концах с другой частью кузова, предпочтительно с кабиной водителя.
В частности поперечная балка ходовой части может распространяться по всей длине листовой пружины, для того чтобы поддерживать ее при нормальной езде как посередине, так и на соединенных с кабиной водителя концах.
Предпочтительно соединение аварийного коробчатого элемента с ходовой частью не имеет зазора; то есть при нормальной езде относительное движение имеет место только между аварийным коробчатым элементом и салоном.
Аварийный коробчатый элемент может иметь деформируемые известным по существу образом боковые стенки и по меньшей мере одну закрепленную на боковых пластинах покровную пластину. Одно из соединений включает в себя в этом случае предпочтительно палец, который распространяется через отверстие покровной пластины, и первую головку внутри аварийного коробчатого элемента. Поперечное сечение отверстия имеет размеры, для того чтобы допускать движение пальца в направлении относительного движения; до деформации аварийного коробчатого элемента доходит только в том случае, если либо одна часть кузова, на которой закреплен палец, оказывает давление снаружи на покровную пластину, либо головка ударяется изнутри и вследствие этого растягивает боковые стенки.
Для того чтобы облегчать монтаж, первая головка должна быть доступна через отверстие на противоположной покровной пластине стороне аварийного коробчатого элемента.
Если палец имеет наружную резьбу, которая входит в зацепление с ответной внутренней резьбой одной части кузова, то посредством вращения пальца можно регулировать свободу движения первой головки относительно покровной пластины. Для того чтобы была возможность оказывать необходимый для этого крутящий момент на первую головку, полезно вышеуказанное отверстие на противоположной покровной пластине стороне аварийного коробчатого элемента.
Подкладная шайба между первой головкой и покровной пластиной полезна для того, чтобы вводить растягивающее усилие первой головки в покровную пластину с равномерным распределением вокруг ее отверстия и предотвращать локальную чрезмерную нагрузку.
Для того чтобы предотвращать разрыв аварийного коробчатого элемента при чрезмерной растягивающей нагрузке, между частями кузова может быть предусмотрена защита от чрезмерного растяжения, которая воспринимает растягивающее усилие между ними, как только аварийный коробчатый элемент растянут до допустимой границы.
Такая защита от чрезмерного растяжения может быть реализована в виде удлинения пальца за пределы первой головки, которое распространяется в свою очередь через отверстие другой части кузова и имеет вторую головку на обращенной от аварийного коробчатого элемента стороне отверстия.
Вышеупомянутая подкладная шайба может быть частью защиты от чрезмерного растяжения; в частности включающая в себя подкладную шайбу защита от чрезмерного растяжения может быть подвижной относительно пальца.
В частности защита от чрезмерного растяжения имеет форму стакана, причем палец проходит сквозь отверстие на дне стакана (другими словами подкладная шайба образует дно стакана) и первая головка удерживается внутри стакана.
Краткое описание чертежей
Дальнейшие признаки и преимущества изобретения проистекают из последующего описания примеров осуществления со ссылкой на приложенный чертеж. На чертеже показаны:
фиг. 1 - вид сбоку сельскохозяйственной рабочей машины согласно первому варианту осуществления изобретения;
фиг. 2 - аналогичный фиг. 1 вид сбоку согласно второму варианту осуществления;
фиг. 3 и 4 - виды в перспективе кабины водителя и фрагмента ходовой части;
фиг. 5 - соединение с зазором между кабиной водителя и ходовой частью;
фиг. 6 - модификация соединения с зазором; и
фиг. 7 - разрез аварийного коробчатого элемента.
Осуществление изобретения
Фиг. 1 показывает вид сбоку трактора согласно первому варианту осуществления настоящего изобретения. На ходовой части 1 с передними и задними колесами 2, 3 смонтирована в выступающем вперед за переднюю ось положении кабина 4 водителя. Позади кабины 4 водителя распространяется грузовая платформа 5, которая предоставляет место для грузов или инструментов. В частности, если грузовая платформа 5 нагружена незначительно, существует, если трактор оказывается на слишком крутом наклонном основании, возможность того, что трактор опрокинется вперед и ударится передней стороной кабины 4 водителя о землю.
Фиг. 2 показывает вид сбоку трактора согласно второму варианту осуществления настоящего изобретения. Кабина 4 водителя размещена здесь на ходовой части 1 примерно посередине между передней и задней осями. Опрокидывание вперед в этом случае на практике почти невозможно; однако (как и в случае фиг. 1) существует возможность того, что трактор на сильно наклонном вбок основании опрокинется набок, так что в конце боковая стенка кабины 4 водителя соприкоснется с землей, или он перевернется и останется лежать на крыше кабины 4 водителя.
Фиг. 3 и 4 показывают каркас 6 кабины 4 водителя трактора с фиг. 1 или 2, а также фрагмент его ходовой части 1 на видах в перспективе.
Кабина 4 водителя имеет по существу форму прямоугольного параллелепипеда, и рейки 7, 8, 9 каркаса 6 образуют грани прямоугольного параллелепипеда и соединены друг с другом на его углах. Рейки 7 образуют раму, которая охватывает донную плиту 10. Вертикальные рейки 8 ограничивают проем двери и образуют окаймление не показанного на фиг. 3 лобового стекла.
Горизонтальные рейки 9 образуют раму для потолочной плиты 11 (см. фиг. 1 или 2). Задняя стенка кабины 4 водителя разделена горизонтальной рейкой 12 на заполненную плитой 13 из листового металла нижнюю область и верхнюю область, которая принимает не показанное на фиг. 3 заднее стекло.
Под кабиной 4 водителя распространяются две продольные балки 14 ходовой части 1. Соединяющая продольные балки 14 поперечная балка 15 включает в себя вытянутую в горизонтальном направлении траверсу 16, а также две ориентированные примерно вертикально стойки 17, которые покрывают разность высот между траверсой 16 и продольными балками 14. Траверса 16 и стойки 17 имеют в каждом случае Н- или U-образное поперечное сечение. Передние и задние полки Н- или U-образного поперечного сечения образованы в каждом случае плоскими, в данном случае примерно Т-образными заготовками 18 из листовой стали, которые в каждом случае относятся частично к одной из стоек 17 и частично к траверсе 16; средние участки 19, которые соединяют полки Н- или U-образного поперечного сечения, сварены с ними; таким образом, в частности на траверсе 16 может реализовываться изменяющееся по ее длине выступание передних и задних полок над средним участком 19 вверх.
Не показанные на фигурах амортизационные стойки известной по существу конструкции закреплены анкерным креплением с одной стороны на стойках 17, с другой стороны на передней рейке 7 или примыкающей к ней передней области донной плиты 10, для того чтобы удерживать кабину 4 водителя на расстоянии от траверсы 16 и создавать условия для демпфируемого пружинного движения кабины 4 водителя относительно ходовой части 1 во время езды машины. Для того чтобы подвижность пружинного движения кабины 4 водителя ограничивать по существу вертикальным направлением, может быть помимо этого предусмотрена тяга Панара, которая в диагональной ориентации шарнирно соединена с поперечной балкой 15 и передней рейкой 7.
Многослойная листовая пружина 20 установлена между возвышающимися над средним участком 19 траверсы 16 частями ее передней и задней полок.
Средний участок 19 опирается на листовые заготовки 18 местами: с одной стороны концы 21 среднего участка 19 шире, чем расстояние между заготовками 18, так что концы 21 опираются на верхние кромки заготовок 18, с другой стороны заготовки 18 имеют в каждом случае по меньшей мере одно щелевидное отверстие 22, с которым входит в зацепление выступающий вперед или назад язычок среднего участка 19.
Передняя и задняя заготовки 18 соединены друг с другом на своих самых высоких точках двумя скобами 23. Листовая пружина 20 зажата между скобами 23 и средним участком 19.
Кабина 4 водителя соединена с листовой пружиной 20 с зазором петлей 24, которая соединена анкерным креплением с донной плитой 10 кабины водителя и распространяется оттуда, как показано на фиг. 5, вниз, для того чтобы зацепляться за свободные концы листовой пружины 20. На свободном конце листовой пружины 20 вырезано - в данном случае открытое с края - отверстие 26. Стержень 27 вставлен в отверстие петли 24 и на своих выступающих из петли 24 концах закреплен с обеих сторон отверстия 26 при помощи винтов 28 на листовой пружине 20. Таким образом, кабина 4 водителя может при аварии прижиматься вниз, пока она не ударится в листовую пружину 20 или траверсу 16; если она оттягивается вверх, петля 24, как только она туго натянута, тянет за собой свободный конец листовой пружины 20 и изгибает ее при этом.
Листовая пружина 20 включает в себя несколько пластин 29, 30, 31, длина которых уменьшается снизу вверх. Отверстия 26 выполнены на самой длинной и, следовательно, самой нижней пластине 29. Чем сильнее оттягивается свободный конец листовой пружины 20 вверх, тем большим становится число пластин 29, 30, 31, которые подвержены деформации. Коэффициент жесткости пружины и количество диссипированной на единицу пути деформации энергии, следовательно, сильно увеличивается с ростом деформации, так что хотя с одной стороны уже достаточно умеренного растягивающего усилия, для того чтобы отклонять кабину 4 водителя, тем не менее с другой стороны при ограниченном полном отклонении может рассеиваться большое количество энергии удара за счет деформации листовой пружины 20.
Поперечная балка 15 проходит под передней краевой областью донной плиты 10. На своей задней стороне кабина 4 водителя опирается, как можно увидеть на фиг. 4, посредством двух аварийных коробчатых элементов 32 и дальнейшей поперечной балки 33 на продольные балки 14. Кроме того, рядом с аварийными коробчатыми элементами 32, предусмотрены, как описано в DE 10 2018005874 А, амортизационные стойки 50, которые поддерживают задний край донной плиты 10 и при нормальном режиме езды предотвращают соударение кабины 4 водителя с аварийными коробчатыми элементами 32, однако допускают движение ныряния кабины 4 вокруг проходящей по существу вдоль листовой пружины 20 оси. Соединение с зазором через петлю 24 делает возможным движение ныряния без деформации листовой пружины 20.
Модифицированная конструкция листовой пружины 20 в отклоненном состоянии показана на фиг. 6. Концы самой нижней пластины 29 и среднего участка 19 снабжены здесь в каждом случае отверстиями 34, 35, через которые проходят (не показанные на этой фигуре) отходящие от дна 10 кабины 4 водителя вниз пальцы. Головки на нижних концах этих пальцев меньше, чем отверстия 35 среднего участка 19, так что они могут свободно проходить сквозь них, однако больше, чем отверстия 34, так что головки, если они ударяются снизу в листовую пружину 20, изгибают ее вверх.
Как было разъяснено вначале со ссылкой на фиг. 1 и 2, при аварии усилия могут в частности действовать спереди или с бокового направления на кабину 4 водителя. Кабина 4 водителя может поддаваться усилиям спереди по существу с сохранением своей формы, сплющивая оба аварийных коробчатых элемента 32 и оттягивая свободные концы листовой пружины 20 вверх.
Если при аварии давление действует с бокового направления на кабину 4 водителя, то это приводит к сплющивающей нагрузке аварийного коробчатого элемента 32 и соударению кабины 4 с листовой пружиной 20 на обращенной от давления стороне кабины 4 и к растягивающей нагрузке на обращенной к давлению стороне. Сплющивающая нагрузка частично поглощается в соответствии с назначением аварийным коробчатым элементом 32. На обращенной к давлению стороне листовая пружина 20 может поглощать посредством изгиба, как разъяснено выше, большое количество энергии.
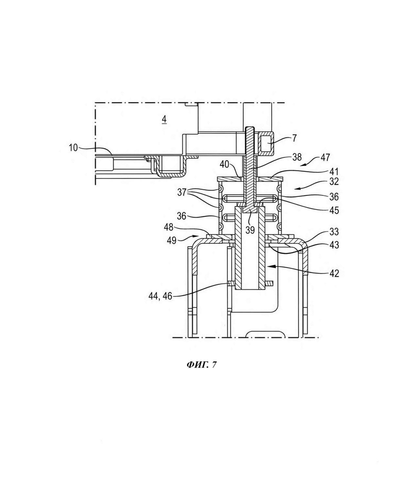
Также аварийный коробчатый элемент 32 на обращенной к давлению стороне подвержен растягивающей нагрузке. Показанное на фиг. 7 поперечное сечение аварийного коробчатого элемента 32 позволяет ему также при растягивающей нагрузке поглощать энергию: Аварийный коробчатый элемент 32 имеет вертикальные боковые стенки 36, в которых выполнены известным по существу образом складки 37, для того чтобы достигать воспроизводимого характера сплющивания, и которые вдоль своих верхних и нижних краев неподвижно соединены с покровными пластинами 41, 48. Однако складки 37 могут также разглаживаться при поглощении энергии, если боковые стенки 36 подвержены растягивающей нагрузке. Для того чтобы в случае необходимости была возможность создавать такую растягивающую нагрузку, образовано соединение 47 между кабиной водителя и аварийным коробчатым элементом, благодаря тому, что на донной плите 10 закреплен анкерным креплением - аналогично исполнению фиг. 6 - палец 38, который через отверстие 40 в верхней покровной пластине 41 аварийного коробчатого элемента 32 входит в зацепление в его внутреннем пространстве и имеет там головку 39. Нижняя покровная пластина 48 неподвижно закреплена во втором соединении 49, посредством сварки, винтами или тому подобным, на поперечной балке 33. Благодаря тому, что головка 39 при движении вверх кабины 4 водителя тянет за собой верхнюю покровную пластину 41, она может растягивать в вертикальном направлении боковые стенки 36. Эта возможность имеет место, если аварийный коробчатый элемент 32 невредим и недеформирован, однако в еще большем объеме, если он уже был сплющен в результате аварии. Это является преимуществом в частности в том случае, если кабина 4, например в случае перекатывания, подвержена нагрузкам в переменных направлениях.
Фиг. 7 показывает положение равновесия, в котором свобода движения кабины 4 водителя вниз до контакта задней рейки 7 с покровной пластиной 41 и вверх до соударения головки 39 снизу с покровной пластиной 41 по существу одинакова. Свободный ход вниз определен вышеупомянутой амортизационной стойкой 50; свободный ход вверх может юстироваться, если палец 38 и головка 39 образуют тело и головку винта, который ввинчен во внутреннюю резьбу кабины 4 водителя. Для того чтобы с этой целью была возможность оказывать на головку 39 крутящий момент, на поперечной балке 33 и неподвижно закрепленной на поперечной балке второй покровной пластине аварийного коробчатого элемента 32 выполнено отверстие 43, через которое может вводиться инструмент для завинчивания в аварийный коробчатый элемент 32. Неизображенная контргайка может быть предусмотрена в контакте с кабиной 4 водителя, для того чтобы фиксировать установленное положение винта.
На головку 39 опирается подкладная шайба 45. Так как ее диаметр больше, чем диаметр головки, то она, если при движении вверх кабины 4 водителя она вступает в контакт с покровной пластиной 41, упирается в последнюю по всему своему периметру и распределяет таким образом переданное от головки 39, возможно, лишь точечно растягивающее усилие равномерно по всему периметру отверстия 40.
Для предотвращения того, что чрезмерная растягивающая нагрузка приводит к отрыву покровной пластины 41, предусмотрена защита от чрезмерного растяжения, которая приспособлена для того, чтобы передавать растягивающее усилие пальца 38 в обход аварийного коробчатого элемента 32 на поперечную балку 33. Защитой от чрезмерного растяжения является здесь удлинение 42 пальца 38 за пределы головки 39, которое проходит сквозь отверстие 43 поперечной балки 33 и имеет вторую, ограничивающую свободу движения кабины 4 соударением с поперечной балкой 33 головку 44. В показанном здесь случае удлинение 42 имеет форму перевернутого стакана. Стакан имеет трубообразное тело; его обращенное вверх дно образовано подкладной шайбой 45, а головка 44 образована направленным в радиальном направлении наружу фланцем 46 на обращенном от дна 45 конце тела. Через полое тело головка 39 является достижимой для инструмента для завинчивания. В состоянии покоя рабочей машины головка 39 и дно 45 находятся достаточно далеко под покровной пластиной 41, для того чтобы предотвращать контакт между дном 45 и покровной пластиной 41 также в том случае, если кабина 4 в режиме нормальной езды раскачивается вверх и вниз. Расстояние между фланцем 46 и поперечной балкой 33 больше, чем расстояние между дном 45 и покровной пластиной 41 недеформированного аварийного коробчатого элемента, так что фланец 46 может ударяться в поперечную балку 33 только в том случае, если аварийный коробчатый элемент 32 был растянут за пределы длины, которую он имеет в неповрежденном состоянии.
СПИСОК ССЫЛОЧНЫХ ПОЗИЦИЙ:
1 - ходовая часть,
2 - переднее колесо,
3 - заднее колесо,
4 - кабина водителя,
5 - грузовая платформа,
6 - каркас,
7 - рейка,
8 - рейка,
9 - рейка,
10 - донная плита,
11 - потолочная плита,
12 - рейка,
13 - плита,
14 - продольная балка,
15 - поперечная балка,
16 - траверса,
17 - стойка,
18 - заготовка,
19 - средний участок,
20 - листовая пружина,
21 - конец среднего участка 19,
22 - отверстие,
23 - скоба,
24 - петля,
25 - пружинный элемент,
26 - отверстие,
27 - головка,
28 - винт,
29 - пластина,
30 - пластина,
31 - пластина,
32 - аварийный коробчатый элемент,
33 - поперечная балка,
34 - отверстие,
35 - отверстие,
36 - боковая стенка,
37 - складка,
38 - палец,
39 - головка,
40 - отверстие,
41 - покровная пластина,
42 - удлинение,
43 - отверстие,
44 - головка,
45 - дно,
46 - фланец,
47 - соединение,
48 - покровная пластина,
49 - соединение,
50 - амортизационная стойка.
| название | год | авторы | номер документа | 
|---|---|---|---|
| РЕЛЬСОВОЕ ТРАНСПОРТНОЕ СРЕДСТВО ТИПА ТРАМВАЙНОГО ВАГОНА С ПОНИЖЕННЫМ УРОВНЕМ ПОЛА, МОТОРНОГО ВАГОНА ЭЛЕКТРОПОЕЗДА ИЛИ ЛОКОМОТИВА НА ЭЛЕКТРИЧЕСКОЙ ТЯГЕ И ТРАМВАЙНЫЙ ВАГОН | 2005 |  | RU2294293C1 | 
| ЛЕГКАЯ КОМПОЗИТНАЯ СТРУКТУРА КАБИНЫ РЕЛЬСОВОГО ТРАНСПОРТНОГО СРЕДСТВА | 2011 | 
 | RU2558400C2 | 
| КУЗОВ ЛОКОМОТИВА | 2006 | 
 | RU2309068C1 | 
| КАБИНА ТРАКТОРА | 2005 | 
 | RU2304064C2 | 
| МАЛОГАБАРИТНЫЙ АВТОМОБИЛЬ-ТЯГАЧ | 2004 | 
 | RU2271956C1 | 
| СПОСОБ УДАЛЕНИЯ ВОСПЛАМЕНИВШЕГОСЯ ТОПЛИВНОГО БАКА АВТОМОБИЛЯ И УСТРОЙСТВО ДЛЯ ЕГО ОСУЩЕСТВЛЕНИЯ | 2020 |  | RU2759166C1 | 
| СЕЛЬСКОХОЗЯЙСТВЕННОЕ ТРАНСПОРТНОЕ СРЕДСТВО | 2012 | 
 | RU2595350C2 | 
| ПОДВЕСКА КАБИНЫ ГРУЗОВОГО АВТОМОБИЛЯ | 2006 | 
 | RU2306238C1 | 
| ТРАНСПОРТНО-ГРУЗОВОЙ МОДУЛЬ | 2008 | 
 | RU2376163C1 | 
| РЕЛЬСОВОЕ ТРАНСПОРТНОЕ СРЕДСТВО ТИПА ТРАМВАЙНОГО ВАГОНА, МОТОРНОГО ВАГОНА ЭЛЕКТРОПОЕЗДА ИЛИ ЛОКОМОТИВА НА ЭЛЕКТРИЧЕСКОЙ ТЯГЕ, ТРАМВАЙНЫЙ ВАГОН С ПОНИЖЕННЫМ УРОВНЕМ ПОЛА | 2005 |  | RU2294294C1 | 
 
		
		 
		
		 
		
		 
		
         
         
            Изобретение относится к сельскому хозяйству. Трактор содержит ходовую часть, которую образует первая часть кузова, а кабину водителя - расположенная над первой частью кузова и подвижная относительно ходовой части вторая часть кузова. Между кабиной водителя и ходовой частью расположен по меньшей мере один аварийный коробчатый элемент для сплющивания при движении приближения кабины водителя к ходовой части. Между каждым аварийным коробчатым элементом и кабиной водителя, а также между каждым аварийным коробчатым элементом и ходовой частью предусмотрено способное к растягивающей нагрузке соединение. Аварийный коробчатый элемент имеет деформируемые боковые стенки и по меньшей мере одну закрепленную на боковых стенках покровную пластину. Одно из соединений включает в себя палец, который проходит через отверстие покровной пластины, и первую головку внутри аварийного коробчатого элемента. 10 з.п. ф-лы, 7 ил.
1. Трактор, у которого ходовую часть (1) образует первая часть (1) кузова, а кабину (4) водителя - расположенная над первой частью (1) кузова и подвижная относительно ходовой части вторая часть (4) кузова, и по меньшей мере один аварийный коробчатый элемент (32) расположен между кабиной (4) водителя и ходовой частью (1) для сплющивания при движении приближения кабины (4) водителя к ходовой части (1), отличающийся тем, что предусмотрено способное к растягивающей нагрузке соединение (47, 49) между каждым аварийным коробчатым элементом (32) и кабиной (4) водителя, а также между каждым аварийным коробчатым элементом (32) и ходовой частью (1), причем аварийный коробчатый элемент (32) имеет деформируемые боковые стенки (36) и по меньшей мере одну закрепленную на боковых стенках покровную пластину (41), при этом одно из соединений (47) включает в себя палец (38), который проходит через отверстие покровной пластины (41), и первую головку (39) внутри аварийного коробчатого элемента (32).
2. Трактор по п. 1, отличающийся тем, что по меньшей мере одно из соединений (47) имеет зазор в направлении относительного движения.
3. Трактор по п. 2, отличающийся тем, что части (1, 4) кузова соединены далее пружинным элементом (25), который имеет размеры такие, чтобы удерживать по меньшей мере одно соединение (47) в среднем положении между границами зазора.
4. Трактор по п. 1 или 2, отличающийся тем, что относительное движение является поворотным движением вокруг оси, примыкающей к переднему краю кабины водителя.
5. Трактор по любому из предыдущих пунктов, отличающийся тем, что соединение (49) между аварийным коробчатым элементом (32) и ходовой частью (1) не имеет зазора.
6. Трактор по любому из предыдущих пунктов, отличающийся тем, что первая головка (39) доступна через отверстие (43) на противоположной покровной пластине стороне аварийного коробчатого элемента (32).
7. Трактор по любому из пп. 1-6, отличающийся тем, что палец (38) имеет наружную резьбу, которая входит в зацепление с ответной внутренней резьбой одной из частей (4) кузова.
8. Трактор по любому из пп. 1-7, отличающийся тем, что предусмотрена подкладная шайба (45) между первой головкой (39) и покровной пластиной (41).
9. Трактор по любому из пп. 1-8, отличающийся тем, что предусмотрена защита от чрезмерного растяжения между частями (1, 4) кузова для того, чтобы воспринимать растягивающее усилие между ними, как только аварийный коробчатый элемент (32) растянут до допустимой границы.
10. Трактор по п. 9, отличающийся тем, что защита от чрезмерного растяжения удлиняет палец (38) через отверстие (43) другой части (1) кузова и имеет вторую головку (44) на обращенной от аварийного коробчатого элемента (32) стороне отверстия (43).
11. Трактор по п. 9 или 10, отличающийся тем, что защита от чрезмерного растяжения имеет форму стакана, причем палец (38) проходит сквозь отверстие на дне стакана и первая головка (39) удерживается внутри стакана.
| БЛОК МОДУЛИРОВАННЫХ ФИЛЬТРОВ С МАЛЫМ ЗАПАЗДЫВАНИЕМ | 2010 | 
 | RU2484579C2 | 
| УСТРОЙСТВО ДЛЯ ОЧИСТКИ ВЕНТИЛЯЦИОННОГО ВОЗДУХА "ОТПО-11" | 1991 | 
 | RU2013142C1 | 
| Каркас кузова транспортного средства | 1977 | 
 | SU925707A1 | 
| ПОДВЕСКА КАБИНЫ ТРАКТОРА | 2005 | 
 | RU2293036C1 | 
Авторы
Даты
2025-04-21—Публикация
2021-09-15—Подача