Изобретение относится к области электротехники и может быть использовано в системах электродинамического или реостатного торможения стационарных и самоходных машин различного назначения, в том числе робототехнических комплексов, автомобилей, промышленных и сельскохозяйственных тракторов, строительно-дорожных, землеройно-транспортных и других машин.
Во время торможения машины с электрической трансмиссией ее электродвигатель переводится в генераторный режим. В результате этого кинетическая энергия (энергия торможения) машины, ее рабочего органа или иного приводного механизма поступает на силовые шины звена постоянного тока, приводя к увеличению напряжения на ней. Часть этой энергии может передаваться в источник энергии - аккумулятор (АКБ) или двигатель внутреннего сгорания (ДВС) и накапливаться или рассеиваться в нем. Если этой передачи электрической энергии недостаточно, напряжение на силовых шинах может вырасти до недопустимо высокой величины. Для предотвращения этого перенапряжения электрическая трансмиссия оснащается устройством поглощения энергии торможения.
Известна машина с электрической трансмиссией, в которой поглощение избытка мощности при торможении машины осуществляется в самом электродвигателе и силовом преобразователе. В этом случае система управления формирует сигналы управления в соответствии со значениями крутящего момента электродвигателя на характеристической линии увеличения потерь с целью изменения фазы тока относительно оптимального значения (RU 2379821 С1, 20.01.2010).
Недостатком этого технического решения является ограниченная возможность поглощения энергии торможения, не превышающая 20-30% номинальной мощности электродвигателя.
Этого недостатка лишено устройство поглощения энергии торможения в гибридной трансмиссии машины с ДВС, содержащей генератор, преобразующий механическую энергию ДВС в электрическую энергию, передаваемую на силовые шины постоянного тока, инверторы электродвигателей, подключенные к этим шинам, и тормозные резисторы, подключаемые к силовым шинам с помощью автоматических переключателей. Для охлаждения тормозных резисторов используется вентилятор с приводом от отдельного электродвигателя, соединенного с дополнительным инвертором (US 8054016 В2, 08.11.2011).
Аналогичное техническое решение реализовано в трансмиссии самосвалов БелАЗ, в которой осуществляется электродинамическое торможение электродвигателями, работающими в генераторном режиме, с отводом тепловой энергии через вентилируемые тормозные резисторы УВТР 2x2000 (Карьерный самосвал БелА3-75600. Руководство по эксплуатации. РУПП «Белорусский автомобильный завод», г. Жодино, 2008 г.).
Недостатком этой электромеханической трансмиссии является ее повышенная сложность и, соответственно, пониженная надежность, обусловленная применением отдельного привода вентилятора тормозных резисторов.
Известна также электромеханическая трансмиссия машины с ДВС, содержащая генератор, преобразующий механическую энергию ДВС в электрическую энергию, передаваемую на силовые шины, электродвигатели, тормозной резистор с воздушным охлаждением, размещенный в воздушном потоке вентилятора ДВС, и систему управления трансмиссией (RU 2648652 С1, 27.03.2018).
Исключение отдельного привода вентилятора тормозного резистора приводит к повышению надежности трансмиссии. Однако низкая теплоемкость воздуха приводит к необходимости применения крупногабаритных тормозных резисторов и, соответственно, к увеличению размеров, объема и массы трансмиссии в целом. Размещение тормозных резисторов в воздушном потоке вентилятора ДВС приводит также к усложнению компоновки трансмиссии на машине по причине необходимости последовательного расположения элементов конструкции: «ДВС - вентилятор - тормозной резистор».
Наиболее близким к предложенному является устройство поглощения энергии торможения, входящее в состав электрической трансмиссии машины и содержащее тормозной резистор с устройством управления и силовым ключом, осуществляющим подключение тормозного резистора к силовым шинам звена постоянного тока. В состав трансмиссии входят также источник энергии, выполненный в виде генератора, осуществляющего преобразование механической энергии приводного двигателя в электрическую энергию, передаваемую на силовые шины, и (или) накопитель энергии, подключенный к силовым шинам, электродвигатели, приспособленный для привода ведущих колес или гусениц машины и (или) ее исполнительных механизмов, а также система управления трансмиссией, содержащая органы управления, панель оператора, датчики, и контроллеры с силовыми преобразователями, выполненными на основе силовых IGBT-модулей и обеспечивающие возможность реверсивного обмена электрической энергией между силовыми шинами и электродвигателями. Охлаждение тормозного резистора осуществляется путем передачи тепловой энергии от него на охладитель, в качестве которого используются металлические составные части машины (рама, металлические конструкции кабины и т.д.) (RU 2688563 С1, 21.05.2019).
Его недостатком является сложность компоновки, обусловленная реализацией тормозного резистора в виде отдельного блока, что затрудняет его размещение на машине и усложняет сборку трансмиссии по причине увеличения количества составных частей трансмиссии и необходимости прокладки к тормозному резистору высоковольтных проводов. Необходимость крепления тормозного резистора к какой-либо металлической составной части машины ограничивает свободу его размещения и, как правило, исключает возможность размещения тормозного резистора в местах, удобных для его монтажа и технического обслуживания.
Другим недостатком этой конструкции является пониженная надежность, обусловленная необходимости прокладки к тормозному резистору силовых высоковольтных проводов, которые могут быть повреждены в процессе эксплуатации. К снижению надежности приводят также перенапряжения на силовом ключе при коммутации тормозного резистора, возникающие из-за повышенной длины и, соответственно, индуктивности этих проводов.
Из анализа известных аналогов и прототипа следует, что в предшествующем уровне техники не решена техническая проблема создания устройства поглощения энергии торможения машины с электрической трансмиссией, в котором сочетаются простота компоновки и высокая надежность. Задачей изобретения является создание такого устройства.
Техническим результатом, на достижение которого направлено данное изобретение, является одновременное упрощение компоновки и повышение надежности устройства поглощения энергии торможения машины с электрической трансмиссией.
В устройстве поглощения энергии торможения машины с электрической трансмиссией, содержащем тормозной резистор, размещенный на охладителе, устройство управления тормозным резистором и силовой ключ, приспособленный для подключения тормозного резистора к силовым шинам трансмиссии, в состав которой входят также источник энергии, выполненный в виде генератора, приспособленного для преобразования механической энергии приводного двигателя в электрическую энергию, передаваемую на силовые шины, и (или) в виде накопителя энергии, подключенного к силовым шинам, по меньшей мере один электродвигатель, приспособленный для привода ведущих колес или гусениц машины и (или) ее исполнительного механизма, а также система управления трансмиссией, содержащая органы управления и контроллеры, в состав которых входит по меньшей мере один силовой преобразователь, выполненный на основе силовых IGBT-модулей с возможностью осуществления реверсивного обмена электрической энергией между силовыми шинами и по меньшей мере одним электродвигателем, указанный технический результат достигается благодаря размещению на указанном охладителе IGBT-модулей по меньшей мере одного силового преобразователя.
В частных вариантах реализации изобретения в целях достижения указанного технического результата:
- охладитель выполнен в виде плиты жидкостного охлаждения, на которой размещены IGBT-модули и тормозной резистор;
- тормозной резистор размещен под IGBT-модулями с противоположной стороны плиты жидкостного охлаждения;
- каналы в плите жидкостного охлаждения объединены между собой по последовательной, параллельной или комбинированной схеме и соединены с внешним теплообменником через циркуляционный насос;
- силовой ключ выполнен в виде IGBT-модуля и размещен на упомянутом охладителе;
- охладитель выполнен в виде радиатора воздушного охлаждения, на плоской поверхности которого размещены IGBT-модули, а между его ребрами размещен тормозной резистор;
- тормозной резистор выполнен в виде плоской зигзагообразно сложенной проволоки, имеющей, в частности, прямоугольное сечение;
- изоляция соприкасающихся частей тормозного резистора осуществлена путем оксидирования его материала, а изоляция от охладителя - в виде пленки из термостойкого материала;
- электрическое сопротивление тормозного резистора выбрано из условия обеспечения возможности передачи в тормозной резистор максимально возможной мощности, передаваемой на силовые шины по меньшей мере одним электродвигателем, работающим в режиме торможения (в режиме генератора);
- тормозной резистор выполнен с возможностью преобразования в тепловую энергию количества электрической энергии, передаваемой на силовые шины во время торможения машины и (или) ее исполнительного механизма, превышающего количество энергии, отводимой от резистора в охладитель во время торможения, причем без превышения максимально допустимой температуры тормозного резистора и (или) его изоляции;
- масса токопроводящего элемента тормозного резистора выбрана с учетом теплоемкости его материала из условия предотвращения перегрева тормозного резистора и (или) его изоляции после поглощения энергии, вырабатываемой по меньшей мере одним электродвигателем при преобразовании кинетической энергии машины и (или) ее исполнительного механизма в электрическую энергию за время торможения.
Реализация отличительных, в том числе альтернативных, признаков независимого и зависимых пунктов формулы изобретения обеспечивает получение одного и того же указанного технического результата.
А именно, размещение тормозного резистора и IGBT-модулей силового преобразователя на одном охладителе сокращает количество деталей в устройстве, в том числе элементов их крепления, упрощает размещение и монтаж устройства на машине, а также приводит к уменьшению длины силовых высоковольтных проводов, соединяющих тормозной резистор с силовым ключом, с соответствующим снижением перенапряжений на этом ключе. Благодаря этому достигается упрощение компоновки при одновременном повышение надежности устройства поглощения энергии.
Реализация охладителя в виде плиты жидкостного охлаждения, на которой размещены IGBT-модули и тормозной резистор, обеспечивает упрощение компоновки и повышение надежности за счет более высокой эффективности жидкостного охлаждения по сравнению с теплопередачей на металлические конструкции машины и воздушным охлаждением и соответствующего уменьшения размеров охладителя и снижения температуры тормозного резистора и IGBT-модулей.
Размещение тормозного резистора под IGBT-модулями с противоположной стороны плиты жидкостного охлаждения позволяет максимально сократить размеры охладителя и длину соединительных силовых проводов, что также приводит к достижению указанного технического результата по аналогичным причинам.
Объединение каналов жидкостного охладителя последовательно, параллельно или по комбинированной схеме позволяет оптимизировать тепловой режим работы устройства, что позволяет дополнительно сократить размеры охладителя с соответствующим достижением аналогичного технического результата.
Выполнение силового ключа в виде IGBT-модуля с его размещение на общем охладителе позволяет исключить необходимость применения отдельного охладителя для этого ключа с соответствующим сокращением количества деталей в устройстве и длины силовых проводов. Благодаря этому также достигается упрощение компоновки и повышение надежности устройства.
В тех случаях, когда на машине отсутствует ДВС с жидкостным охлаждением и (или) если объединение систем охлаждения ДВС и тормозного резистора невозможно, указанный технический результат может быть достигнут путем выполнения охладителя в виде радиатора воздушного охлаждения, на плоской поверхности которого размещены IGBT-модули, а между его ребрами размещен тормозной резистор. В этом случае упрощение компоновки достигается благодаря исключению необходимости применения гидравлических узлов, а повышение надежности - благодаря отсутствию охлаждающей жидкости и ее утечек.
Благодаря выполнению тормозного резистора в виде плоской зигзагообразно сложенной проволоки, имеющей, в частности, прямоугольное сечение, достигается сокращение его размеров и, соответственно, размеров охладителя. Это приводит к упрощению компоновки и повышению надежности устройства по указанным выше причинам.
К этому же техническому результату и также благодаря сокращению размеров тормозного резистора приводит уменьшение толщины изоляции его соприкасающихся частей путем применения оксидирования материала тормозного резистора, а также термостойкой пленочной изоляции тормозного резистора от охладителя.
Выбор электрического сопротивления тормозного резистора из условия обеспечения возможности передачи в тормозной резистор максимально возможной мощности, передаваемой на силовые шины электродвигателем, работающим в тормозном режиме, позволяет исключить перенапряжения на силовых шинах, что обеспечивает повышение надежности устройства. При этом полное поглощение электрической мощности исключает необходимость применения дополнительных устройств для поглощения энергии, например, необходимость ее передачи в ДВС, что упрощает компоновку устройства.
На достижение указанного технического результата существенное влияние оказывает также реализация отличительных признаков следующего варианта изобретения, согласно которому тормозной резистор выполнен с возможностью преобразования в тепловую энергию количества электрической энергии, передаваемой на силовые шины во время торможения машины и (или) ее исполнительного механизма, которое превышает количество энергии, отводимой от резистора в охладитель, причем без превышения максимально допустимой температуры тормозного резистора и (или) его изоляции. Снижение требований к охлаждению тормозного резистора позволяет уменьшить площадь его теплового контракта с охладителем, что обеспечивает уменьшение размеров тормозного резистора и охладителя и упрощение компоновки на машине. Уменьшение размеров тормозного резистора приводит также к снижению уровня электромагнитных помех, возникающий при его коммутации силовым ключом, что обеспечивает повышение надежности устройства.
С целью предотвращения перегрева тормозного резистора (или) его изоляции после поглощения энергии, вырабатываемой электродвигателем при преобразовании кинетической энергии машины и (или) ее исполнительного механизма в электрическую энергию за время торможения, масса тормозного резистора, согласно отличительным признакам последнего варианта изобретения, выбрана с учетом теплоемкости его материала и величины указанной энергии. Возможность реализации этого технического решения обусловлена тем, что машина находится в режиме торможения лишь периодически, а отвод тепловой энергии от тормозного резистора в охладитель осуществляется постоянно, а не только во время торможения. Благодаря этому реализуется возможность значительного сокращения площади теплового контакта тормозного резистора с охладителем с соответствующим уменьшением его размеров, что и обеспечивает упрощение компоновки и повышение надежности устройства.
В предложенном устройстве поглощения энергии может быть реализован как один из указанных альтернативных отличительных признаков независимого и зависимых пунктов формулы изобретения, так и одновременно несколько отличительных признаков в их любом сочетании. Например, тормозной резистор может быть не только размещен вместе с IGBT-модулями силового преобразователя на одном (общем) охладителе, но и выполнен с повышенной массой, обеспечивающей эффективное поглощение энергии торможения машины при существующих ограничениях отвода тепла в охладитель.
При этом реализация каждого из этих отличительных признаков находится в прямой причинно-следственной связи с достигаемым техническим результатом - одновременным упрощением компоновки и повышением надежности устройства поглощения энергии торможения машины с электрической трансмиссией.
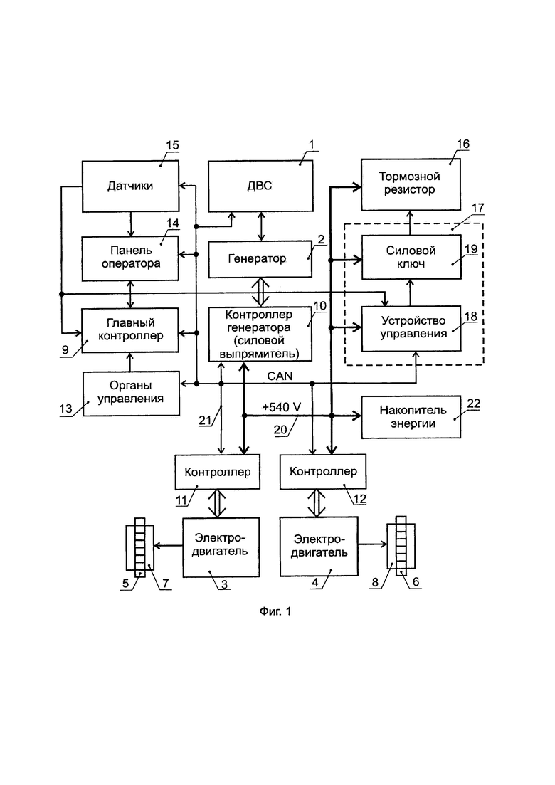
Для пояснения технической сущности, принципа действия и возможности осуществления предложенного устройства на фиг. 1 в качестве примера показана схема электрической трансмиссии самоходной гусеничной машины с устройством поглощения энергии торможения. На фиг. 2 приведен пример размещения тормозного резистора и IGBT-модулей силового преобразователя на охладителе, выполненном в виде плиты жидкостного охлаждения. На фиг. 3 - их размещение на радиаторе воздушного охлаждения. На фиг. 4 показан пример конструктивного исполнения тормозного резистора, выполненного в отдельном корпусе и приспособленного для крепления на охладителе с помощью винтов. На фиг. 5 приведена упрощенная схема устройства поглощения энергии торможения.
В показанной на чертеже электрической трансмиссии, которая может именоваться также электромеханической трансмиссией, роль первичного источника энергии выполняет приводной двигатель 1, выполненный в виде двигателя внутреннего сгорания (ДВС), который непосредственно или через согласующее устройство соединен с генератором 2, являющимся источником электрической энергии для электродвигателей 3 и 4.
Электродвигатели встроены в ведущие колеса (мотор-колеса), размещены у ведущих звездочек в пределах обвода гусениц, либо размещены в корпусе машины. Их выходные валы соединены с ведущими колесами или ведущими звездочками 5, 6 гусеничной машины непосредственно (для небольших самоходных машин) или через передаточные устройства - бортовые редукторы 7, 8, карданные валы, муфты и т.д.
Если электрическая трансмиссия реализована с одним электродвигателем, то передаточные устройства, с помощью которых механическая энергия от электродвигателя передается на ведущие колеса или гусеницы машины, кроме бортовых редукторов 7, 8 содержат главную передачу с устройством дифференциального управления, либо с бортовыми фрикционами и тормозами, обеспечивающими возможность поворота машины.
Система управления трансмиссией, которая может именоваться также системой электрооборудования, электрической частью трансмиссии и т.п., в общем случае включает в себя высоковольтную и низковольтную части и содержит один или несколько контроллеров, преимущественно микропроцессорных. В том числе главный (ведущий) контроллер 9, контроллер (выпрямитель) 10 генератора 2, контроллеры 11, 12 электродвигателей 3, 4, а также органы управления движением машины (трансмиссией) 13, панель оператора (машиниста, водителя) 14, датчики параметров работы трансмиссии и машины в целом 15, приборы низковольтного оборудования (электроснабжения, освещения, звуковой сигнализации и т.д.) и другие устройства.
Устройство поглощения энергии торможения содержит тормозной резистор 16 и контроллер тормозного резистора 17, в состав которого входят устройство управления 18 и силовой ключ 19, выполненный, как правило, на основе IGBT-модуля.
Контроллеры 9-12, 17 могут именоваться также блоками управления, блоками входов и нагрузок и т.п. Они могут быть реализованы с использованием дискретных электронных компонентов, микросхем различной степени интеграции, а также микроконтроллеров. Силовые части контроллеров, именуемые также электронными силовыми преобразователями или силовыми ключами, выполнены на основе IGBT-модулей.
Составные части системы управления (системы электрооборудования) связаны между собой силовыми шинами 20, например, с номинальным напряжением 540 В постоянного тока, и мультиплексной линией передачи информационных сигналов 21, выполненной с использованием стандарта промышленной сети CAN (Controller Area Network).
Контроллер 10 генератора 2 может быть выполнен с виде силового управляемого или неуправляемого выпрямителя, осуществляющего преобразование переменного выходного напряжения генератора 2 в постоянное напряжение силовых шин 20. Он может также обеспечивать коммутацию обмоток генератора 2 при его работе в режиме электродвигателя при запуске ДВС и при торможении машины двигателем.
Контроллеры 11 и 12 с входящими в их состав силовыми электронными преобразователями предназначены для преобразования постоянного напряжения на силовых шинах 20 в многофазное переменное напряжение или однополярные импульсы, поступающие на фазные обмотки электродвигателей 3, 4, а также для их обратного преобразования в постоянное напряжение при работе электродвигателей в генераторном режиме при торможении машины. Они содержат силовые электронные ключи, выполненные на основе биполярных транзисторов с изолированным затвором (БТИЗ, IGBT), объединенные в IGBT (БТИЗ) модули, гальванически развязанные драйверы этих транзисторов (модулей), микроконтроллеры и интерфейсные устройства, обеспечивающие обмен информацией между контроллерами 9-12, 17 органами управления 13, панелью оператора 14 и датчиками 15 по отдельным проводам или по шине CAN 21.
Для электродвигателей 3, 4 используются либо отдельные контроллеры с их силовыми электронными преобразователями (инверторами, коммутаторами) 11, 12, либо общий (один) контроллер, работающих на два электродвигателя 3, 4 и (или) на тормозной резистор 16.
В зависимости от выполняемых функций и требований к компоновке машины возможно как раздельное исполнение контроллеров 9-12, 17, так и их объединение в несколько блоков или в единый блок (контроллер). Возможно также размещение контроллера генератора (силового выпрямителя) 10 в одном корпусе с генератором 2, а силовых контроллеров 11, 12 - с электродвигателями 3, 4.
Органы управления 13 предназначены для формирования сигналов управления трансмиссией и машиной в целом. Они включают в себя аппарат управления движением машины (джойстик, рулевое колесо и т.п.), ключ запуска ДВС 1, клавишные и кнопочные переключатели, рукоятку управления подачей топлива, педали тормоза и акселератора и/или десселератора, органы управления микроклиматом в кабине машины и т.д.
Панель оператора 14, именуемая также панелью контрольно-измерительных приборов, комбинацией приборов, блоком индикации, блоком отображения информации и т.п., выполнена в виде набора электромеханических указателей, графической панели, световых сигнализаторов и т.п. Она обеспечивает отображение параметров работы электрической трансмиссии и машины в целом, а также формирование аварийных и предупредительных сигналов для оператора (машиниста, тракториста). Панель оператора 14 может быть выполнена в виде отдельного блока или совмещена с одним из контроллеров.
Датчики 15 предназначены для контроля параметров работы машины, в том числе ее трансмиссии. К ним относятся датчики температуры, давления и уровня рабочих жидкостей (масла, топлива, охлаждающей жидкости) в трансмиссии и ДВС 1, наклона (креномеры) и положения машины (GPS/ГЛОНАСС), угловых скоростей ДВС и роторов электродвигателей 3, 4 и другие датчики.
К силовым шинам постоянного тока 20 может быть подключен накопитель энергии 22, выполненный в виде аккумуляторной батареи и (или) батареи конденсаторов (фиг. 1).
Тормозной резистор 16 и IGBT-модули 23 силового преобразователя по меньшей мере одного контроллера размещены на охладителе, выполненном преимущественно в виде плиты жидкостного охлаждения 24. При этом тормозной резистор может быть размещен под IGBT-модулями с противоположной стороны этой плиты (фиг. 2).
Каналы 25 для охлаждающей жидкости в плите жидкостного охлаждения 24 объединены между собой последовательно («Змейкой»), параллельно (с помощью коллекторов) или по комбинированной схеме и соединены с внешним теплообменником через циркуляционный насос (на чертеже условно не показано).
Силовой ключ 19 выполнен на основе IGBT-модуля, который также может быть размещен на упомянутом (общем) охладителе 24.
Тормозной резистор 16 реализован в виде зигзагообразно сложенной проволоки из железо-хромо-алюминиевого сплава (фехраля) или жаропрочной нержавеющей стали, имеющей повышенное удельное электрическое сопротивление (AISI 430, 12X17, 08X17T и т.п.). Эта проволока, с целью уменьшения размеров тормозного резистора и улучшения отвода тепла от него, имеет прямоугольное сечение. С этой же целью изоляция соприкасающихся между собой частей зигзагообразно сложенной проволоки может быть осуществлена путем оксидирования его материала, а изоляция от охладителя - в виде пленки 26 из термостойкого материала с повышенной теплопроводностью (слюдяной ленты, тканой стеклоленты, полиимидной пленки, композитной пленки на их основе и т.п.).
Электрическое сопротивление тормозного резистора выбрано из условия обеспечения возможности передачи в тормозной резистор 16 максимально возможной мощности Pmax, передаваемой на силовые шины 20 по меньшей мере одним электродвигателем 3, 4, работающим в режиме торможения. При напряжении на силовых шинах Udc (например, 540V) величина этого сопротивления R должна быть не более: R≤Udc2/Pmax.
Тормозной резистор 16 реализован из условия преобразования в тепловую энергию количества электрической энергии, передаваемой на силовые шины 20 во время торможения машины и (или) ее исполнительного механизма, которое превышает количество энергии, отводимой от резистора в охладитель 24. Это достигается путем выбора массы токопроводящего элемента тормозного резистора 16 с учетом теплоемкости его материала и из условия предотвращения перегрева тормозного резистора и (или) его изоляции после поглощения энергии, вырабатываемой электродвигателем (электродвигателями) за время торможения.
В процессе торможения машины (ее исполнительного механизма), имеющей массу m, ее скорость снижается от начальной V1 до конечной величины V2. При этом кинетическая энергия Е машины уменьшается на величину
ΔЕ=Е1-Е2=m(V12-V22)/2.
Электрическая энергия Edc, передаваемая электродвигателями 3, 4 в силовые шины во время торможения
Edc=ΔЕη,
где: η - произведение КПД электродвигателей, работающих в генераторном режиме, силовых преобразователей электродвигателей, бортовых редукторов и гусеничного или колесного движителя.
Электрическая энергия Edc тормозным резистором 16 преобразуется в тепловую энергию Q. Часть этой энергии Q1 во время торможения передается в охладитель 24, а оставшаяся часть Q2=Q-Q1 приводит к нагреву тормозного резистора 16 на величину Δt - от исходной температуры t1 до конечной t2
Δt=Q2/mr⋅c,
где: mr - масса токопроводящего элемента тормозного резистора; с - удельная теплоемкость его материала.
Соответственно, путем выбора массы mr токопроводящего элемента тормозного резистора обеспечивается предотвращение его перегрева в условиях, когда количество теплоты Q, выделяемой в тормозном резисторе во время торможения, превышает количество теплоты Q1, передаваемой в охладитель в течение этого торможения, т.е. используется эффект тепловой инерции тормозного резистора.
Охладитель 24 с каналами жидкостного охлаждения 25 может быть изготовлен из алюминия или алюминиевого сплава методом экструзии, а прижатие к нему тормозного резистора 16 через изоляцию 26 - с помощью крышки 27 (фиг. 2).
Охладитель может быть выполнен также в виде радиатора воздушного охлаждения 28, на плоской поверхности которого размещены IGBT-модули 23, а между его ребрами - тормозной резистор 16 с его изоляцией 26. Для фиксации тормозного резистора на охладителе используется пазовый клин 29 или иной способ крепления.
Возможно также применение тормозного резистора, выполненного в отдельном корпусе, приспособленном для крепления к охладителю 24 или 28 с помощью винтов (фиг. 4).
Предложенное устройство поглощения энергии торможения в составе электрической трансмиссии машины работает следующим образом.
Оператор (машинист, водитель) при помощи органов управления 13 осуществляет запуск ДВС и задает скорость и направление движения машины.
ДВС 1 приводит во вращение ротор генератора 2. Его выходное напряжение с помощью силового выпрямителя (контроллера генератора) 10 преобразуется в напряжение постоянного тока +Uс, -Uc на силовых шинах 20, которое поступает на силовые электронные преобразователи контроллеров 11, 12 электродвигателей 3, 4 и на силовой ключ 19 контроллера 17 тормозного резистора 16.
Главный контроллер (ведущий контроллер, контроллер верхнего уровня) 9 по сети CAN осуществляет координацию работы всех составных частей трансмиссии в зависимости от сигналов с органов управления 13 и датчиков 15, в том числе реализует функции управления ДВС 1 непосредственно, либо через дополнительный контроллер двигателя.
Алгоритмы управления предварительно определяются расчетным или экспериментальным путем, записываются в память контроллеров 9-12, 17 и далее программно реализуются микроконтроллерами, входящим в их состав.
Силовые электронные преобразователи контроллеров 11, 12 преобразуют напряжение постоянного тока +Uc, -Uc (Udc) силовых шин 20 в переменное напряжение или в однополярные импульсы регулируемой частоты и скважности, поступающие на фазные обмотки электродвигателей 3, 4. Крутящий момент, создаваемый электродвигателями, предается на ведущие звездочки 5, 6 гусениц, в результате чего осуществляется движение машины в соответствии с направлением и скоростью, заданными оператором.
При торможении машины и (или) ее исполнительного механизма электродвигатели 3, 4 переводятся в генераторный режим. Энергия торможения Edc с этих электродвигателей через силовые электронные преобразователи контроллеров 11, 12 передается на силовые шины 20 в результате этого происходит повышение напряжения на этих шинах.
Контроллер тормозного резистора, с целью ограничения этого напряжения, с помощью силового ключа 19 подключает тормозной резистор 16 к силовым шинам 20, если величина этого напряжения превысит максимально-допустимую величину. После снижения этого напряжения до установленной величины устройство управления 18 и силовой ключ 19 отключают тормозной резистор 16, напряжение на силовых шинах 20 вновь возрастает и далее процессы в устройстве повторяются до прекращения торможения или полной остановки машины или ее приводного механизма.
При этом часть энергии торможения Edc, преобразованная тормозным резистором 16 в тепловую Q1, передается в охладитель 24 (28). Ее другая часть поглощается токопроводящим элементом тормозного резистора, что приводит к повышению его температуры со скоростью, определяемой массой токопроводящего элемента и удельной теплоемкостью его материала. Эта масса выбрана таким образом, что за время торможения машины (ее приводного механизма) от максимально возможной скорости до полной остановки температура тормозного резистора не повышается до предельно допустимой величины.
После прекращения торможения тормозной резистор отключается от силовых шин и накопленная в нем тепловая энергия передается в охладитель 24 (28) с соответствующим понижением температуры этого резистора до первоначальной величины.
Если на машине присутствует накопитель энергии 22, то часть энергии торможения передается в этот накопитель, что приводит к снижению необходимой мощности тормозного резистора 16. В остальном работа устройства остается прежней.
Указанный режим поглощения энергии торможения возможен в наиболее часто встречающихся случаях, когда торможение машины (ее приводного механизма) осуществляется кратковременно либо периодически с относительно большими интервалами времени, в течение которых торможение отсутствует. В этом случае среднее значение поглощаемой мощности относительно невелико и выделяемая на тормозном резисторе тепловая энергия не приводит к его перегреву. В иных случаях, например в режиме длительного движения машины под уклон, контроллер 9 осуществляет снижение скорости движения машины.
Для специалистов в данной области техники также понятно, что кроме описанных вариантов устройства для поглощения энергии торможения машины с электрической трансмиссией возможны также иные варианты ее реализации на основе признаков, изложенных в формуле изобретения.
Изобретение относится к электротехнике. Устройство поглощения энергии торможения машины с электрической трансмиссией содержит тормозной резистор, размещенный на охладителе, устройство управления тормозным резистором и силовой ключ, приспособленный для подключения тормозного резистора к силовым шинам трансмиссии. В состав трансмиссии входят также генератор и/или накопитель энергии, электродвигатель, а также система управления трансмиссией, содержащая органы управления и контроллеры, в состав которых входит силовой преобразователь на основе силовых IGBT-модулей с возможностью осуществления реверсивного обмена электроэнергией между силовыми шинами и электродвигателем. На охладителе дополнительно размещены IGBT-модули силового преобразователя. Упрощается компоновка и повышается надежность устройства. 11 з.п. ф-лы, 5 ил.
1. Устройство поглощения энергии торможения машины с электрической трансмиссией, содержащее тормозной резистор, размещенный на охладителе, устройство управления тормозным резистором и силовой ключ, приспособленный для подключения тормозного резистора к силовым шинам трансмиссии, в состав которой входят также источник энергии, выполненный в виде генератора, приспособленного для преобразования механической энергии приводного двигателя в электрическую энергию, передаваемую на силовые шины, и/или в виде накопителя энергии, подключенного к силовым шинам, по меньшей мере один электродвигатель, приспособленный для привода ведущих колес или гусениц машины и/или ее исполнительного механизма, а также система управления трансмиссией, содержащая органы управления и контроллеры, в состав которых входит по меньшей мере один силовой преобразователь, выполненный на основе силовых IGBT-модулей с возможностью осуществления реверсивного обмена электрической энергией между силовыми шинами и по меньшей мере одним электродвигателем, отличающееся тем, что на указанном охладителе дополнительно размещены IGBT-модули по меньшей мере одного силового преобразователя.
2. Устройство по п. 1, отличающееся тем, что охладитель выполнен в виде плиты жидкостного охлаждения, на которой размещены IGBT-модули и тормозной резистор.
3. Устройство по п. 1 или 2, отличающееся тем, что тормозной резистор размещен под IGBT-модулями с противоположной стороны плиты жидкостного охлаждения.
4. Устройство по п. 2, отличающееся тем, что каналы жидкостного охлаждения объединены между собой по последовательной, или параллельной, или комбинированной схеме и соединены с внешним теплообменником через циркуляционный насос.
5. Устройство по п. 1, отличающееся тем, что силовой ключ выполнен на основе IGBT-модуля и размещен на упомянутом охладителе.
6. Устройство по п. 1, отличающееся тем, что охладитель выполнен в виде радиатора воздушного охлаждения, на плоской поверхности которого размещены IGBT-модули, а между ребрами этого радиатора размещен тормозной резистор.
7. Устройство по п. 1, отличающееся тем, что тормозной резистор выполнен в виде плоской зигзагообразно сложенной проволоки.
8. Устройство по п. 7, отличающееся тем, что проволока тормозного резистора имеет прямоугольное сечение.
9. Устройство по п. 1, отличающееся тем, что изоляция соприкасающихся частей тормозного резистора осуществлена путем оксидирования его материала, а изоляция от охладителя выполнена в виде пленки из термостойкого материала.
10. Устройство по п. 1, отличающееся тем, что электрическое сопротивление тормозного резистора выбрано из условия обеспечения возможности передачи в тормозной резистор максимально возможной мощности, передаваемой на силовые шины по меньшей мере одним электродвигателем, работающим в режиме торможения.
11. Устройство по любому из пп. 1, 2, 4-10, отличающееся тем, что тормозной резистор выполнен с возможностью преобразования в тепловую энергию количества электрической энергии, передаваемой на силовые шины во время торможения машины и/или ее исполнительного механизма, которое превышает количество энергии, отводимой от тормозного резистора в охладитель, причем без превышения максимально допустимой температуры тормозного резистора и/или его изоляции.
12. Устройство по п. 11, отличающееся тем, что масса токопроводящего элемента тормозного резистора выбрана с учетом теплоемкости его материала из условия предотвращения перегрева тормозного резистора и/или его изоляции после поглощения энергии, вырабатываемой по меньшей мере одним электродвигателем при преобразовании кинетической энергии машины и/или ее исполнительного механизма в электрическую энергию за время торможения.
| ЭЛЕКТРОМЕХАНИЧЕСКАЯ ТРАНСМИССИЯ САМОХОДНОЙ МАШИНЫ С ДВИГАТЕЛЕМ ВНУТРЕННЕГО СГОРАНИЯ | 2018 |
|
RU2688563C1 |
| ЭЛЕКТРОМЕХАНИЧЕСКАЯ ТРАНСМИССИЯ МАШИНЫ С ДВИГАТЕЛЕМ ВНУТРЕННЕГО СГОРАНИЯ | 2017 |
|
RU2648652C1 |
| US 8054016 B2, 08.11.2011 | |||
| СИСТЕМА ЭЛЕКТРОПРИВОДА | 2006 |
|
RU2379821C1 |
| МЕХАТРОННЫЙ ТЯГОВЫЙ МОДУЛЬ | 2016 |
|
RU2621410C1 |
| WO 2016191733 A1, 01.12.2016 | |||
| УСТРОЙСТВО ДЛЯ ПОГЛОЩЕНИЯ ЭНЕРГИИ ТОРМОЖЕНИЯ МАШИНЫ С ЭЛЕКТРИЧЕСКИМ ПРИВОДОМ | 2019 |
|
RU2715821C1 |
| СИСТЕМА ЭЛЕКТРИЧЕСКОГО ТОРМОЗА С МАГНИТНЫМИ ПОТЕРЯМИ | 2009 |
|
RU2526848C2 |
| RU 2777124 C1, 01.08.2022. | |||
Авторы
Даты
2025-04-22—Публикация
2024-11-19—Подача