Изобретение относится к области испытательной техники
и позволяет повысить информативность, достоверность и точность контроля герметичности изделий, к которым предъявляются повышенные требования надежности при их эксплуатации, в таких областях техники как авиационная, космическая и машиностроительная.
Известен способ контроля герметичности с применением метода масс-спектрометрического течеискания («Технология сборки и испытаний космических аппаратов». Под общей редакцией проф. И.Т. Белякова и проф. И.А. Зернова, Москва, Машиностроение, 1990, с. 184), сущность которого заключается в том, что отвакуумированные и соединенные с течеискателем проверяемые изделия обдувают с помощью специального обдувателя пробным газом (далее – гелием). Через течи гелий проникает в отвакуумированную полость проверяемого изделия, а затем поступает в течеискатель, что приводит к увеличению показаний потока гелия, и в свою очередь свидетельствует о наличии течей на обдуваемой поверхности.
Недостатком данного способа является отсутствие возможности локализации и обнаружения точного места течи в негерметичном изделии по причине произвольного распределения гелия на поверхности контролируемого изделия.
Известен пузырьковый метод контроля герметичности изделий («Неразрушающий контроль». Справочник в 7 томах под редакцией чл.-корр. РАН В.В. Клюева, том 2, Москва, Машиностроение, 2003, стр. 188), заключающийся в регистрации локальных утечках в объекте по появлению пузырьков пробного газа в индикаторной жидкости или на индикаторном покрытии. Метод применяют для контроля герметичности газонаполненных неоткачиваемых объектов-емкостей, элементов гидравлических и газовых систем и др., работающих под давлением и имеющих сравнительно небольшие размеры.
Недостатком данного метода является, то что для его применения на керамической оболочке необходима разработка и изготовление сложной технологической оснастки для герметизации торцевой поверхности керамической оболочки и создания в ней избыточного давления, при этом, конструкция оснастки должна обеспечивать безопасное соединение, монтаж и эксплуатацию, не повреждая и не перегружая конструкцию керамической оболочки.
Известен способ испытания на герметичность изделий, реализующий масс-спектрометрический метод течеискания способ камеры (А.с. СССР № 214851, опубл. 29.03.1968; ГОСТ 28517-90, таблица), заключающийся в том, что изделие, заполненное гелием, помещают в оболочку и определяют герметичность при помощи течеискателя, при этом с целью количественного определения суммарной утечки в изделии, испытываемое изделие помещают в замкнутую оболочку и по интенсивности изменения концентрации гелия в замкнутой оболочке судят о герметичности изделия.
Недостатком способа является то, что при его применении определяется суммарное натекание гелия через поверхность изделия без возможности локализации течей.
Известен способ контроля герметичности способом вакуумной присоски («Неразрушающий контроль», том II, под ред. В.В.Клюева, М, Машиностроение, 2003, С. 115, 116), заключающийся в том, что изделие заполняется гелием под избыточным давлением. Локализацию течей осуществляют наложением вакуумной присоски, соединенной с гелиевым течеискателем, на контролируемые участки поверхности.
Недостаток способа аналогичен недостатку пузырькового метода контроля герметичности изделий, описанного ранее. Также, недостатком способа является то, что процесс определения значения потока гелия на одном локальном участке, включающий наложение вакуумной присоски, длительный и трудоемкий, не говоря о локализации течей на всей поверхности керамической оболочки.
Наиболее близким по технической сущности и достигаемому результату к предлагаемому решению является способ разъемных местных камер (чехлов) (ГОСТ 28517-90, таблица), заключающийся в том, что отдельные участки (сборочные единицы) собранного изделия помещают в разъемные камеры (чехлы), изделие вакуумируют (снижают давление во внутренней полости) и подсоединяют к течеискателю. При непрерывной откачке изделия течеискателем в камеру (чехол) подают гелий с одновременной регистрацией сигнала течеискателя.
Недостатком способа является то, что способ разъемных местных камер (чехлов) применяется как окончательный для определения локального натекания, при этом отсутствует возможность определения общего значения потока гелия QНеобщ и определения нормы герметичности керамической оболочки.
Технический результат предлагаемого изобретения заключается в повышении информативности и достоверности контроля герметичности керамических незамкнутых оболочек путем определения общего значения потока газа через контролируемую керамическую оболочку, а также в обеспечении локализации обнаруженных течей на её поверхности.
Указанный технический результат достигается тем, что способ контроля герметичности керамических незамкнутых оболочек, включающий подключение к вакуумному насосу и течеискателю, непрерывное снижение давления во внутреннем объеме оболочки с подачей гелия с одновременной регистрацией сигнала течеискателя, отличающийся тем, что перед подключением к вакуумному насосу проводится предварительное уплотнение торца керамической оболочки
на технологической оснастке посредством вакуумной смазки и вакуумной пластины, после снижения давления во внутреннем объеме оболочки до предельно достижимого вакуумметрического давления течеискателем замеряют фоновое значение гелия Qфон, после чего проводят проверку герметичности стыка оболочки и технологической оснастки способом обдува гелием поверхности с одновременной регистрацией течеискателем значения потока гелия QНе, после получения значений QНе<Qфон на оболочку устанавливают чехол и закрепляют к вакуумной пластине герметизирующим жгутом, течеискателем повторно замеряют фоновое значение гелия Qфон и подают гелий во внутренний объем чехла с установленным расходом на редукторе, течеискателем измеряют и, после стабилизации в течение 60 с, фиксируют значение общего потока QΣ гелия через всю поверхность оболочки за исключением торца и определяют норму герметичности полученного значения потока гелия QНе, затем чехол с оболочки демонтируют, в оболочку напускают давление до атмосферного, оболочку устанавливают на ложемент, наносят разметку на поверхности оболочки путем деления ее на четыре четверти по вертикали и на сечения по горизонтали от носка к основанию оболочки, далее проводят уплотнение торца оболочки на технологической оснастке посредством вакуумной смазки и вакуумной пластины, после снижают давление во внутреннем объеме оболочки до предельно достижимого вакуумметрического давления, после течеискателем замеряют фоновое значение гелия Qфон, после чего устанавливают локальную гелиевую камеру в первое сечение по горизонтали первой четверти и подают гелий во внутренний объем локальной гелиевой камеры с установленным расходом на редукторе, течеискателем измеряют и после стабилизации в течение 60 с фиксируют значение потока гелия QНе, далее локальную гелиевую камеру перемещают в пределах одного сечения и проводят аналогичный замер потока гелия QНе, пока вся площадь выбранного сечения оболочки не будет измерена локальной гелиевой камерой, после чего локальной гелиевой камерой измеряют поток гелия во второй, третьей и четвертой четвертях по всем сечениям и фиксируют измеренные потоки гелия QHe с привязкой к координатам выявленных локальных мест течей.
В негерметичной оболочке, изготовленной из керамики и установленной торцом на технологической оснастке с герметизацией стыка посредством вакуумной смазки, снижают давление во внутреннем объеме оболочки, течеискателем замеряют фоновое значение гелия Qфон, и проверяют стык оболочки и технологической оснастки гелиевым течеискателем масс-спектрометрическим методом способом обдува гелием с одновременной регистрацией течеискателем значения потока гелия QНе. Путем сравнения полученных значений QHe и Qфон, в случае, если значение потока гелия QНе превышает значение потока фонового Qфон, стык является не герметичным, в таком случае в оболочку напускают давление до атмосферного, оболочку демонтируют с технологической заглушки и проводят повторное уплотнение торца оболочки на технологической оснастке посредством вакуумной смазки и вакуумной пластины и течеискателем, после чего еще раз проводят проверку герметичности стыка оболочки и технологической оснастки путем сравнения полученных значений до получения значений, где поток гелия QНе не превышает потока фонового Qфон.
Если проверка стыка способом обдува не выявила течей, то для поиска течи в оболочке и последовательно используют локальную гелиевую камеру. Для этого на внешнюю поверхность оболочки устанавливается герметичный полиэтиленовый чехол, способом камеры (чехла) гелиевым течеискателем измеряется значение потока гелия (QНе) через поверхность керамической оболочки. После, полиэтиленовый чехол демонтируется и поочередно устанавливаются локальные гелиевые камеры на внешней поверхности керамической оболочки и гелиевым течеискателем измеряется значение потока QНе, тем самым, устанавливая наиболее проницаемые участки, приводящие к потере герметичности оболочки.
По завершении поиска локальных участков на поверхности керамической оболочки строится картограмма с привязкой измеренных значений потока QНе к координатам нахождения обнаруженных наиболее пористых участков.
Пример реализации предлагаемого технического решения иллюстрируется на фиг. 1, 2 и 3.
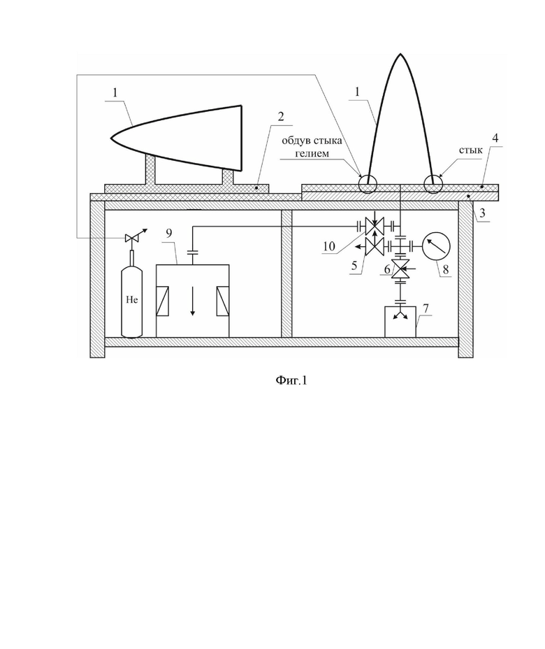
На фиг.1 оболочку 1, изготовленную из керамики, устанавливают на ложемент 2, наносят тонкий слой вакуумной смазки, после чего устанавливают торцом на технологическую заглушку 3. Для исключения повреждения и разрушения торцевой поверхности керамической оболочки 1 на поверхность заглушки 3 вакуумную пластину 4, выполненный из вакуумной резины. Герметичность между сопрягаемыми поверхностями обеспечивается вакуумной смазкой. При установке керамической оболочки 1 на вакуумную пластину 4 ее вручную прижимают и проворачивают вокруг оси для равномерного распределения слоя вакуумной смазки, обеспечивающей герметичное соединение. Вакуумный клапан 5 перекрывают. Вакуумный клапан 6 открывают и форвакуумным насосом 7 снижают давление во внутреннем объеме оболочки 1 до предельно достижимого. Контроль давления осуществляется по вакуумметру 8. После этого стык оболочки 1 и вакуумной пластины 4 проверяют гелиевым течеискателем 9 способом обдува, для чего открывают вакуумный клапан 10 и фиксируют фоновое значение потока гелия, после чего обдувателем обдувается гелием стык оболочки 1 и вакуумной пластины 4. Обдув важно проводить со скоростью более 0,15 м/с, так как при наличии течи в зоне герметизации изменение фонового потока будет меняться с быстрым откликом. В случае проведения обдува со скоростью 0,10-0,15 м/мин в соответствии с требованиями ГОСТ Р 50.05.01-18 (п. 7.2.6.4) гелий, который значительно легче воздуха, будет проникать через не обдуваемую гелием поверхность оболочки 1, находящуюся выше стыка оболочки 1 и резинового коврика 4, тем самым изменяя фоновое значение потока гелия, что приведет к получению неверной информации о наличие течи по стыку оболочки 1 и вакуумной пластины 4. В случае, если измеренное течеискателем 9 значение потока гелия QHe не превысит фоновое значение Qфон, то стык является герметичным. В этом случае для поиска течи в оболочке последовательно используют способы реализации масс-спектрометрического метода: способ камеры (чехла) (фиг. 2) и способ локальной гелиевой камеры (разъемных местных камер) (фиг. 3).
На фиг. 2 на внешнюю поверхность оболочки 1 устанавливается герметичный полиэтиленовый чехол 11 и герметизируется жгутом 12 с вакуумной пластиной 4. Вакуумный клапан 6 открывают и форвакуумным насосом 7 снижают давление во внутреннем объеме оболочки 1 до предельно достижимого. Контроль давления фиксируется по вакуумметру 8. Открывают вакуумный клапан 10 и течеискателем 9 фиксируют фоновое значение потока гелия Qфон. В объем полиэтиленового чехла 11 подается гелий. Важно, чтобы подача гелия осуществлялась непрерывно, с установленным расходом. Также, необходимо чтобы в полиэтиленовом чехле были отверстия для напуска гелия и его выхода, что обеспечит замещение воздуха гелием и отсутствие избыточного давления в полиэтиленовом чехле 11. На фиг.2 показаны места напуска гелия и его выхода. Значение потока гелия QНеобщ фиксируется, когда его рост стабилизуется и за время 60 секунд остается без изменений. После регистрации значения потока гелия QΣ подачу гелия в объем полиэтиленового чехла 11 прекращается с последующим его демонтажем. Форвакуумным насосом 7 проводится обезгаживание гелия из внутреннего объема оболочки 1 и ее тела до достижения исходного фонового значения по течеискателю 9.
На фиг.3 показано, в оболочку 1 напускают давление до атмосферного. Оболочку 1 устанавливают на ложемент 2, наносят разметку на поверхности оболочки 1 путем деления ее на четыре четверти по вертикали и на сечения по горизонтали от носка к основанию оболочки 1. Далее проводят уплотнение торца оболочки 1 на технологической заглушке 3 посредством вакуумной смазки и вакуумной пластины 4. Вакуумный клапан 6 открывают и форвакуумным насосом 7 снижают давление во внутреннем объеме оболочки 1 до предельно достижимого. Контроль давления фиксируется по вакуумметру 8. Открывают вакуумный клапан 10 и течеискателем 9 фиксируют фоновое значение потока гелия Qфон. На внешнюю поверхность оболочки в первое сечение по горизонтали первой четверти устанавливается локальная гелиевая камера 11, в которую подается гелий с установленным расходом на редукторе. Время выдержки локальной гелиевой камеры 11 на локальном участке оболочки 1 не более 5 секунд, после чего в течении минуты контролируется изменение исходного фонового значения Qфон потока гелия по течеискателю 9. Если значение измеренного потока QНе незначительно отличается от значения фонового потока Qфон, осуществляется переход на другой участок оболочки 1 в пределах одного сечения и проводят аналогичный замер потока гелия QНе, и т.д. пока вся площадь выбранного сечения оболочки 1 не будет измерена локальной гелиевой камерой 11. Локальной гелиевой камерой 11 измеряют поток гелия во второй, третьей и четвертой четвертях оболочки 1 по всем сечениям и фиксируют измеренные потоки гелия QHe, при этом необходимо дождаться исходного фонового значения Qфон потока гелия по течеискателю 9. При нахождении локального участка, где изменение значения фонового потока Qфон происходит в течении нескольких секунд после установления или выдержки локальной гелиевой камеры, фиксируются координаты локального участка и повторно устанавливается локальная гелиевая камера. Локальную гелиевую камеру необходимо установить на время, пока значение потока гелия QНе стабилизируется (стабилизация значения потока гелия QНе в течении 60 с), после чего течеискателем 9 фиксируется значение потока гелия QНе с привязкой к координатам выявленных локальных мест течей. Описанным способом осуществляется поиск всех локальных участков, которые приводят к ускоренному росту потока гелия QНе через поверхность оболочки. По окончании поиска локальных участков сумма всех зафиксированных значений потока гелия QΣ1 получится приближенно равна ранее полученному значению потока гелию QΣ способом камеры (чехла). По завершении поиска локальных участков на поверхности керамической оболочки, строится картограмма с привязкой измеренных значений потока QНе к координатам нахождения обнаруженных наиболее пористых участков.
Использование предложенного способа позволяет повысить информативность и достоверность контроля герметичности керамических незамкнутых оболочек путем определения общего значения потока гелия через контролируемую керамическую оболочку и в обеспечении локализации обнаруженных течей на её поверхности.
| название | год | авторы | номер документа |
|---|---|---|---|
| СИСТЕМА ДЛЯ ПОДГОТОВКИ К ЭКСПЛУАТАЦИИ ПНЕВМОБЛОКА ВЫСОКОГО ДАВЛЕНИЯ | 2012 |
|
RU2516747C2 |
| СПОСОБ ПОДГОТОВКИ К ЭКСПЛУАТАЦИИ ПНЕВМОБЛОКА ВЫСОКОГО ДАВЛЕНИЯ | 2012 |
|
RU2499179C1 |
| СПОСОБ КОНТРОЛЯ ГЕРМЕТИЧНОСТИ ЭЛЕМЕНТОВ КОРПУСА ИЗДЕЛИЯ | 2015 |
|
RU2599409C1 |
| СПОСОБ КОНТРОЛЯ ГЕРМЕТИЧНОСТИ ИЗДЕЛИЙ | 1993 |
|
RU2100790C1 |
| СПОСОБ НЕПРЕРЫВНОГО КОНТРОЛЯ ГЕРМЕТИЧНОСТИ ТЕПЛОВЫДЕЛЯЮЩИХ ЭЛЕМЕНТОВ И АВТОМАТИЗИРОВАННАЯ УСТАНОВКА ДЛЯ ЕГО ОСУЩЕСТВЛЕНИЯ | 2002 |
|
RU2225048C2 |
| СПОСОБ ПОИСКА ТЕЧЕЙ | 1999 |
|
RU2164359C2 |
| Способ испытаний изделий на герметичность | 1983 |
|
SU1132160A1 |
| СПОСОБ КОНТРОЛЯ ГЕРМЕТИЧНОСТИ ИЗДЕЛИЙ В ВАКУУМНОЙ КАМЕРЕ | 2010 |
|
RU2444713C2 |
| Способ и устройство контроля герметичности днищ топливных баков жидкостных ракет | 2016 |
|
RU2649215C1 |
| Способ контроля герметичности стыковых соединений полых изделий и устройство для его осуществления | 1980 |
|
SU1030688A1 |
Изобретение относится к области испытательной техники и позволяет повысить информативность, достоверность и точность контроля герметичности изделий, к которым предъявляются повышенные требования надежности при их эксплуатации, в таких областях техники как авиационная, космическая и машиностроительная. Предложен способ контроля герметичности керамических незамкнутых оболочек. Он включает уплотнение торца оболочки с помощью вакуумной смазки и пластины. После достижения вакуума замеряют фоновое значение гелия Qфон, затем проверяют герметичность стыка оболочки и оснастки, обдувая гелием и фиксируя поток QНе. Если QНе < Qфон, устанавливают чехол, повторно измеряют Qфон и подают гелий в чехол, фиксируя общий поток QΣ. Затем демонтируют чехол, подают атмосферное давление в оболочку и проводят повторное уплотнение. Устанавливают локальную гелиевую камеру для измерения потока гелия QНе в различных сечениях оболочки, фиксируя результаты с привязкой к координатам течей. Технический результат - повышение информативности и достоверности контроля герметичности керамических незамкнутых оболочек путем определения общего значения потока газа через контролируемую керамическую оболочку, а также обеспечение локализации обнаруженных течей на её поверхности. 3 ил.
Способ контроля герметичности керамических незамкнутых оболочек, включающий подключение к вакуумному насосу и течеискателю, непрерывное снижение давления во внутреннем объеме оболочки с подачей гелия с одновременной регистрацией сигнала течеискателя, отличающийся тем, что перед подключением к вакуумному насосу проводится предварительное уплотнение торца керамической оболочки на технологической оснастке посредством вакуумной смазки и вакуумной пластины, после снижения давления во внутреннем объеме оболочки до предельно достижимого вакуумметрического давления течеискателем замеряют фоновое значение гелия Qфон, после чего проводят проверку герметичности стыка оболочки и технологической оснастки способом обдува гелием поверхности с одновременной регистрацией течеискателем значения потока гелия QНе, после получения значений QНе<Qфон на оболочку устанавливают чехол и закрепляют к вакуумной пластине герметизирующим жгутом, течеискателем повторно замеряют фоновое значение гелия Qфон и подают гелий во внутренний объем чехла с установленным расходом на редукторе, течеискателем измеряют и после стабилизации в течение 60 с фиксируют значение общего потока QΣ гелия через всю поверхность оболочки за исключением торца и определяют норму герметичности полученного значения потока гелия QНе, затем чехол с оболочки демонтируют, в оболочку напускают давление до атмосферного, оболочку устанавливают на ложемент, наносят разметку на поверхности оболочки путем деления ее на четыре четверти по вертикали и на сечения по горизонтали от носка к основанию оболочки, далее проводят уплотнение торца оболочки на технологической оснастке посредством вакуумной смазки и вакуумной пластины, после снижают давление во внутреннем объеме оболочки до предельно достижимого вакуумметрического давления, после течеискателем замеряют фоновое значение гелия Qфон, после чего устанавливают локальную гелиевую камеру в первое сечение по горизонтали первой четверти и подают гелий во внутренний объем локальной гелиевой камеры с установленным расходом на редукторе, течеискателем измеряют и после стабилизации в течение 60 с фиксируют значение потока гелия QНе, далее локальную гелиевую камеру перемещают в пределах одного сечения и проводят аналогичный замер потока гелия QНе пока вся площадь выбранного сечения оболочки не будет измерена локальной гелиевой камерой, после чего локальной гелиевой камерой измеряют поток гелия во второй, третьей и четвертой четвертях по всем сечениям и фиксируют измеренные потоки гелия QHe с привязкой к координатам выявленных локальных мест течей.
| Приспособление к воздушным автоматическим тормозам, предназначенное для автоматической регулировки степени нажатия тормозных колодок | 1925 |
|
SU28517A1 |
| Контроль неразрушающий | |||
| Масс-спектрометрический метод течеискания | |||
| Общие требования, 2005 г | |||
| СПОСОБ КОНТРОЛЯ ГЕРМЕТИЧНОСТИ ЭЛЕМЕНТОВ КОРПУСА ИЗДЕЛИЯ | 2015 |
|
RU2599409C1 |
| Способ и устройство контроля герметичности цилиндрических обечаек корпусов жидкостных ракет | 2016 |
|
RU2617567C1 |
| Устройство для испытания незамкнутых оболочек вращения на прочность и герметичность | 1982 |
|
SU1185175A1 |
Авторы
Даты
2025-04-22—Публикация
2024-04-17—Подача