ПЕРЕКРЕСТНЫЕ ССЫЛКИ НА РОДСТВЕННЫЕ ЗАЯВКИ
Настоящая заявка испрашивает преимущество приоритета по заявке на патент США № 17/330,354, поданной 25 мая 2021 г., содержание которой полностью включено в настоящий документ путем ссылки.
ПРЕДПОСЫЛКИ СОЗДАНИЯ ИЗОБРЕТЕНИЯ
1. Область техники
[00001] Настоящее изобретение относится к любым операциям с паром и частицами с использованием высокоскоростной линии подъема разбавленной фазы (или реактора с восходящим потоком), таким как процесс каталитического крекинг-флюида (ККФ).
2. Описание предшествующего уровня техники
[00002] Процесс ККФ широко применяется в нефтеперерабатывающей промышленности для преобразования малоценных высококипящих нефтяных фракций в высокоценные низкокипящие продукты, в частности, бензин, пропилен и другие легкие олефины.
[00003] В процессе ККФ мелкодисперсные твердые частицы катализатора способствуют протеканию реакций крекинга за счет обеспечения как тепла для реакции, так и каталитической активности. Мелкодисперсная форма катализатора может быть изготовлена таким образом, что она ведет себя как флюид (отсюда название «каталитический крекинг-флюид»), при этом она перемещается в замкнутом цикле между зоной крекинга (реактор с восходящим потоком) и отдельной зоной восстановления, соединенной с линиями переноса, обычно называемыми стояками или линиями подъема.
[00004] Реакционная зона установки ККФ по существу состоит из двух частей: реактор с восходящим потоком и устройство, известное специалистам в данной области как реакционное устройство или оконечное устройство стояка (RTD), для быстрого разделения катализатора и продуктов реакции. Система RTD по существу расположена на выходе реактора с восходящим потоком и размещена в сосуде реактора из механических соображений, этот сосуд также содержит другие устройства, важные для осуществления процесса. После отделения от катализатора продукты реакции отводят из сосуда для охлаждения и разделения на требуемые фракции.
[00005] В реакторе с восходящим потоком горячий катализатор входит в контакт с сырьем в виде жидкой нефти, что приводит к его испарению и позволяет проводить требуемые реакции крекинга, в ходе которых образуются различные углеводородные продукты, а также твердые отложения кокса на катализаторе. В конце реактора с восходящим потоком желательно выполнять быстрое отделение катализатора от углеводородного продукта для контроля времени реакции во избежание чрезмерного крекинга паров углеводородов. Ограничение времени преобразования углеводородов в реакторе с восходящим потоком является желательным, поскольку эта зона выполнена с возможностью обеспечения тщательного смешивания пара и твердого катализатора. Когда смесь покидает реактор с восходящим потоком, в герметизирующем/разделительном сосуде может происходить менее тесный контакт, и могут возникать нежелательные реакции термического крекинга, которые приводят к потере ценных продуктов и образованию малоценных побочных продуктов. Хранение паров углеводородов в RTD и максимально быстрый отвод их за пределы системы сводят к минимуму продолжительность пребывания при высокой температуре, которое приводит к термическому разложению. Также желательно быстро и полностью отделять пары углеводородов от катализатора, чтобы завершить реакции каталитического крекинга. Чтобы обеспечить очень высокое восстановление катализатора, требуются две стадии разделения паров и катализатора: основной стадией разделения считается RTD, а вспомогательная стадия разделения состоит из множества высокоэффективных циклонных сепараторов. Во время основного разделения пары углеводородов отделяют от большей части катализатора и отводят из RTD через выпускную трубу для газа, соединенную непосредственно со вспомогательной стадией разделения. Отделенный катализатор стекает через другую камеру, известную как опускная труба, на нижнем конце первичного сепаратора в слой отгонки. При стекании вниз по опускным трубам катализатор увлекает с собой некоторое количество паров углеводородов. Катализатор и захваченные углеводороды выводят из RTD и подают в зону отгонки, где их подвергают дополнительному разделению. По мере прохождения катализатора через зону отгонки пары углеводородов между частицами и внутри них удаляют с помощью противотока пара отгонки. Катализатор, который не содержит газообразных углеводородов, но загрязнен твердым углеводородным коксом, выводят из зоны отгонки и подают в зону восстановления.
[00006] После основного разделения катализатора и газа катализатор перетекает в слой отгонки ниже RTD, где он контактирует в режиме противотока с газом отгонки для удаления любых оставшихся летучих углеводородов, захваченных катализатором. Очищенный от углеводородов катализатор, как правило, называемый отработанным катализатором, содержащий твердые отложения кокса, подают в зону восстановления катализатора, где сжигают кокс и восстанавливают активность катализатора. На стадии восстановления высвобождается энергия и увеличивается температура катализатора; после того, как отложения кокса сгорят, горячий восстановленный катализатор возвращают обратно в реакционную зону. Пары углеводородов, отделенные от катализатора, подают в систему дистилляции ниже по потоку для фракционирования на несколько продуктов. В установке ККФ, содержащей узел регенератора реактора с восходящим потоком, самоподдерживается тепловой баланс, т. е. количество тепла, создаваемое сгоранием кокса в регенераторе, соответствует количеству тепла, необходимому для испарения сырья, и количеству тепла для реакций крекинга.
[00007] Системы разделения с восходящим потоком предшествующего уровня техники, как правило, имеют две разделительные камеры с сопутствующими опускными трубами и соответствующим количеством камер для сбора газа, предназначенные для разделения газа и материала катализатора соответственно. В патенте США № 6,296,812, Gauthier et al., предложено устройство для разделения смеси газа и частиц, имеющее оболочку, содержащую разделительные камеры и циркуляционные камеры (например, для сбора газа), распределенные в соединении с системой разделения с восходящим потоком. Верхняя часть каждой разделительной камеры имеет впускное отверстие, сообщающееся с реактором с восходящим потоком, среднюю зону для вращения смеси в вертикальной плоскости и нижнюю зону, известную как опускная труба, для сбора отделенных частиц катализатора. Каждая разделительная камера содержит две боковых стенки, которые также являются стенками циркуляционной камеры, причем по меньшей мере одна из стенок каждой камеры содержит боковое выпускное отверстие для смешивания газа и частиц в смежной циркуляционной камере. Камера для сбора газа имеет два дополнительных отверстия, одно в верхней части, соединенное с выпускной трубой для газа, которое дополнительно соединяется со вспомогательным сепаратором, и нижнее отверстие для сообщения с так называемой разбавленной фазой сосуда реактора над слоем отгонки, расположенным ниже. Применение этого устройства относится к флюид-каталитическому крекингу углеводородов в стояке, но в равной степени оно может применяться к другим аналогичным процессам.
[00008] Устройство Gauthier et al. имеет множество разделительных и циркуляционных камер, и каждая разделительная камера имеет свои собственные опускные трубы, содержащие отверстие для выпуска частиц, сообщающееся со слоем отгонки ниже разделительных камер. В устройстве Gauthier et al. принудительно изменяют направление смеси пара и катализатора в стояке перед поступлением в разделительные камеры через окна в верхней части стояка за счет поворота на одну четверть (1/4) перед отделением друг от друга. Затем пар поступает в камеру для сбора, выполнив дополнительный поворот на 180° под дефлектором разделительной камеры. Катализатор стекает вниз по разделительной камере в опускные трубы, выполненные с возможностью низкого массового расхода для максимального увеличения высвобождения газа. Это устройство главным образом используется в качестве основного устройства для разделения катализатора и пара во внутренних системах стояков, содержащихся в сосуде реактора/отгонки. Газ отгонки и пары углеводородов, увлекаемые из опускных труб разделительной камеры в реактор, поступают в камеры для сбора через нижний канал, смешиваются с паром стояка из разделительных камер, после чего поступают в газовую выпускную трубу/коллектор, а затем перетекают в циклонные сепараторы - вспомогательный сепаратор для окончательного разделения газа/катализатора. Устройство Gauthier решает задачи разделения и транспортировки, однако эффективность накопления твердых веществ ниже, чем ожидалось. Впускное отверстие в разделительной камере имеет резкий угол 90° при переходе с верхней части стояка и обеспечивает поворот газа и катализатора для разделения только на 1/4 оборота, что не является достаточным для полного отделения газа и катализатора друг от друга. Резкое изменение направления на 90° создает турбулентный режим потока катализатора на входе, отсутствует достаточное время для формирования необходимой структуры потока, чтобы обеспечить хорошее разделения газов крекинга и твердых частиц катализатора в следующем повороте на ¼. Между разделительными камерами отсутствует соединение, что создает вероятность неравномерного распределения давления, которое приводит к неравномерной загрузке каждой камеры и, соответственно, к снижению эффективности разделения.
[00009] Другой тип системы разделения с восходящим потоком, такой как патент США № 10,731,086, Marchant et al., включает в себя конструкцию RTD с дополнительными элементами в разделительной камере, которые обеспечивают улучшенное разделение газа и твердых частиц, и удержание газа. Эти элементы включают в себя профилированную верхнюю часть стояка для обеспечения плавного поворота потока газа и катализатора на 180°, чтобы свести к минимуму турбулентность в верхней части стояка и способствовать разделению газа и катализатора, а также одиночную (общую) опускную трубу для разделительной камеры. Решение Marchant et al. также обеспечивает более компактную конструкцию, снижающую общий объем и время пребывания после стояка, а сбалансированное распределение потока в каждом разделительном окне улучшает стабильность работы. Marchant et al. также описывают дискообразную или торообразную перегородку над слоем катализатора в опускной трубе разделительной камеры для отклонения импульса движения отделенных частиц катализатора и уменьшения вторичного уноса отделенного катализатора.
[00010] Другой тип системы разделения с восходящим потоком, такой как U.S. 4,664,888, Leonce F. Castagnos, включает в себя отклоняющее устройство. Патент Castagnos относится к предварительному сепаратору катализатора и паров для стояков флюид-каталитического крекинга, который расположен на выходе стояка и обеспечивает резкий поворот смеси нефти и катализатора на 180° вниз. Центробежный сепаратор эквивалентен половине поворота внутри циклонного элемента и вызывает перемещение большей части катализатора к стенке. Большая часть паров углеводородов вытесняется от стенки. В конце сепаратора находится отделяющий сборник, расположенный с возможностью отделения преимущественно фазы катализатора от преимущественно фазы паров углеводородов. С помощью отделяющих сборников фазу катализатора отводят от центральной части сосуда и размещают ее вблизи стенки сосуда, откуда она стекает вниз под действием силы тяжести. Паровая фаза продолжает стекать вниз в течение некоторого времени, а затем должна выполнять поворот на 180° и направляться вверх к выходу из сосуда через ряд стандартных циклонных сепараторов. Однако при втором повороте на 180° пары нефти могут увлекать с собой отделенный катализатор, что негативно влияет на начальное разделение газа и твердых частиц.
[00011] Castagnos также описывает открытое полутороидальное отклоняющее устройство, и смесь газа/катализатора, выходящая из стояка, ударяется о поверхность дефлектора, причем частицы катализатора прижимаются к ней, а отделенная газовая фаза должна поступать в открытую область под краем дефлектора. По мере отделения газов от фазы частиц, твердые вещества замедляются, и действие силы тяжести ухудшает разделение, достигнутое на начальном этапе. Вся оставшаяся спрессованная фаза частиц стекает на собирающую поверхность, причем частицы затем стекают и отсоединяются от поверхности по направлению к стенке сосуда. Предполагается, что отделенные газы перетекают вверх по каналам, не контактируя повторно с фазой частиц. Таким образом, давление ниже ударной поверхности и собирающей поверхности выше, чем давление над ними. Этот перепад давления приводит к тому, что газ не только проходит через каналы, но и через открытую область под краем дефлектора и собирающей поверхностью, тем самым дополнительно ухудшая уже достигнутое разделение. Следовательно, отделенный газ «не удерживается» в том смысле, что он поступает в сосуд и находится в нем на протяжении значительного времени, подвергаясь чрезмерному крекингу после стояка.
[00012] Традиционные методики считаются удовлетворительными для их предусмотренного назначения. Однако существует потребность в устройствах для улучшения разделения фаз катализатора и паров на выходе реактора с восходящим потоком. В настоящем описании предложено решение для данной потребности. В настоящем изобретении изложен способ и средства для достижения улучшенного разделения фаз катализатора и паров, а также повышения эффективности сбора газа с использованием новой конструкции системы разделения с восходящим потоком, обеспечивающей улучшенный профиль потока, который способствует разделению газа и твердых частиц, и улучшает стабильность работы.
ИЗЛОЖЕНИЕ СУЩНОСТИ ИЗОБРЕТЕНИЯ
[00013] Устройство для отделения газообразной смеси от потока частиц, поступающего из реактора с восходящим потоком, используемого для крекинга углеводородного сырья с упомянутым потоком частиц, включает в себя реакционный сосуд, содержащий нижнюю область со слоем отгонки, и верхнюю область вспомогательного сепаратора. Устройство включает в себя реактор с восходящим потоком внутри реакционного сосуда. Реактор с восходящим потоком, имеющий продольную ось и включающий в себя вход реактора с восходящим потоком на одном конце для получения углеводородного сырья и потока частиц и по меньшей мере один выход реактора с восходящим потоком на противоположном конце для выпуска смеси газов крекинга и твердых частиц. Устройство включает в себя разделительный сосуд, расположенный вблизи по меньшей мере одного выхода реактора с восходящим потоком. Разделительный сосуд включает в себя по меньшей мере одну разделительную камеру и по меньшей мере одну камеру для сбора, распределенные в перемежающемся порядке вокруг продольной оси. Каждая разделительная камера содержит две вертикальные боковые стенки, которые также содержат стенку одной смежной из по меньшей мере одной камеры для сбора. По меньшей мере одна разделительная камера включает в себя вход разделительной камеры в верхней области разделительной камеры, сообщающийся с реактором с восходящим потоком. В по меньшей мере одной из вертикальных боковых стенок предусмотрен боковой выход разделительной камеры для обеспечения передачи текучей среды и частиц из боковой разделительной камеры в одну смежную из по меньшей мере одной камеру для сбора. Разделительный сосуд включает в себя по меньшей мере один дефлектор камеры для сбора, расположенный в по меньшей мере одной камере для сбора.
[00014] В некоторых вариантах осуществления по меньшей мере одна разделительная камера включает в себя две разделительные камеры. Одна из по меньшей мере одной камеры для сбора расположена между двумя разделительными камерами. По меньшей мере один дефлектор камеры для сбора проходит между одной из двух вертикальных боковых стенок первой из двух разделительных камер и одной из двух вертикальных боковых стенок второй из двух разделительных камеры. Каждая камера для сбора может включать в себя наружную стенку камеры для сбора, включающую в себя входное окно для газа отгонки, позволяющее газу отгонки из по меньшей мере одного инжектора газа отгонки рядом с нижней областью слоя отгонки поступать в камеру для сбора. Каждая камера для сбора может включать в себя пол камеры для сбора, который вместе с наружной стенкой камеры для сбора, вертикальными боковыми стенками и реактором с восходящим потоком образует камеру для сбора. Дефлектор камеры для сбора может включать в себя вогнутую поверхность, обращенную к полу камеры для сбора. Дефлектор камеры для сбора может включать в себя заостренный участок, направленный вниз. Заостренный участок может быть расположен по центру между двумя вертикальными боковыми стенками.
[00015] В некоторых вариантах осуществления дефлектор камеры может включать в себя разделительную перегородку, проходящую от вогнутой поверхности дефлектора камеры для сбора. Разделительная перегородка может выходить за пределы нижнего края дефлектора в направлении, параллельном продольной оси. Устройство включает в себя по меньшей мере один канал камеры для сбора в верхней области камеры для сбора для отвода газов крекинга и небольшой части твердых частиц из камер для сбора в выпускной коллектор газа. По меньшей мере один канал камеры для сбора может проходить вниз через дефлектор камеры для сбора. Каждая камера для сбора может включать в себя наружную стенку камеры для сбора, которая проходит от бокового выхода разделительной камеры в нижнюю область слоя отгонки. Каждая камера для сбора может включать в себя пол камеры для сбора. Пол камеры для сбора, наружная стенка камеры для сбора, вертикальные боковые стенки и реактор с восходящим потоком вместе могут образовывать камеру для сбора. Наружная стенка камеры для сбора может представлять собой общую наружную стенку камеры для сбора, которая непрерывно проходит к нижнему слою отгонки по окружности вокруг реактора с восходящим потоком. Наружная стенка камеры для сбора может включать в себя участок, наклоненный к реактору с восходящим потоком, и вертикальную стенку под наклонным участком.
[00016] В некоторых вариантах осуществления каждая разделительная камера может дополнительно включать в себя наружную стенку разделительной камеры, которая проходит от входа разделительной камеры по направлению к нижней области слоя отгонки. Наружная стенка разделительной камеры и наружная стенка камеры для сбора могут заканчиваться в одном и том же вертикальном положении относительно продольной оси. Наружная стенка камеры для сбора может иметь диаметр, меньший или равный диаметру наружной стенки разделительной камеры. По меньшей мере одна из по меньшей мере одной разделительной камеры может включать в себя дефлектор разделительной камеры, расположенный по меньшей мере частично над боковым выходом разделительной камеры. Дефлектор разделительной камеры может быть выполнен в виде единого узла с дефлектором камеры для сбора. По меньшей мере один дефлектор камеры для сбора расположен по меньшей мере частично над боковым выходом разделительной камеры.
[00017] В соответствии с другим аспектом устройство для отделения газообразной смеси от потока частиц, поступающего из реактора с восходящим потоком, используемого для крекинга углеводородного сырья с упомянутым потоком частиц, включает в себя реакционный сосуд, содержащий нижнюю область слоя отгонки и верхнюю область вспомогательного сепаратора. Устройство включает в себя реактор с восходящим потоком внутри реакционного сосуда. Реактор с восходящим потоком имеет продольную ось и включает в себя центральный вход реактора с восходящим потоком на одном конце для получения углеводородного сырья и потока частиц и по меньшей мере один выход реактора с восходящим потоком на противоположном конце для выпуска смеси газов крекинга и твердых частиц. Устройство включает в себя разделительный сосуд, расположенный вблизи по меньшей мере одного выхода реактора с восходящим потоком. Разделительный сосуд включает в себя по меньшей мере одну разделительную камеру и по меньшей мере одну камеру для сбора, распределенные в перемежающемся порядке вокруг продольной оси. Каждая разделительная камера включает в себя две вертикальные боковые стенки, которые также содержат стенку смежной камеры для сбора. Разделительная камера включает в себя вход разделительной камеры в верхней области разделительной камеры, сообщающийся с реактором с восходящим потоком. Боковой выход разделительной камеры предусмотрен в по меньшей мере одной из вертикальных боковых стенок для обеспечения передачи текучей среды и частиц из разделительной камеры в одну смежную из по меньшей мере одной камеры для сбора. Каждая камера для сбора включает в себя наружную стенку камеры для сбора, которая проходит от бокового выхода разделительной камеры в нижнюю область слоя отгонки.
[00018] В некоторых вариантах осуществления наружная стенка камеры для сбора представляет собой общую наружную стенку камеры для сбора, непрерывно проходящую к нижнему слою отгонки по окружности вокруг реактора с восходящим потоком. Наружная стенка камеры для сбора может быть аналогична описанной выше.
[00019] Предполагается, что в некоторых вариантах осуществления устройство включает в себя по меньшей мере один дефлектор камеры для сбора, расположенный в смежной камере для сбора газа по меньшей мере частично над боковым выходом разделительной камеры. По меньшей мере один дефлектор камеры для сбора может включать в себя вогнутую поверхность, направленную к нижней области слоя отгонки. По меньшей мере один дефлектор камеры для сбора может быть расположен по меньшей мере частично над боковым выходом разделительной камеры. По меньшей мере одна разделительная камера может представлять собой две разделительные камеры. Одна из по меньшей мере одной камеры для сбора расположена между двумя разделительными камерами. По меньшей мере один дефлектор камеры для сбора может проходить между одной из двух вертикальных боковых стенок первой из двух разделительных камер и одной из двух вертикальных боковых стенок второй из двух разделительных камер. По меньшей мере один дефлектор камеры для сбора может быть аналогичен описанному выше. Дефлектор камеры для сбора может включать в себя разделительную перегородку, аналогичную описанной выше. Устройство может включать в себя по меньшей мере один канал камеры для сбора, аналогичный каналу камеры для сбора, описанному выше. По меньшей мере одна из по меньшей мере одной разделительной камеры может включать в себя дефлектор разделительной камеры, расположенный по меньшей мере частично над боковым выходом разделительной камеры. Дефлектор разделительной камеры может быть выполнен в виде единого узла с дефлектором камеры для сбора.
[00020] Эти и другие признаки систем и способов из описания предмета изобретения станут более очевидными для специалистов в данной области из следующего подробного описания предпочтительных вариантов осуществления, приведенного в сочетании с графическими материалами.
КРАТКОЕ ОПИСАНИЕ ГРАФИЧЕСКИХ МАТЕРИАЛОВ
[00021] Чтобы специалисты в области техники, к которой относится описание предмета изобретения, могли легко понять, как изготовить и использовать устройства и способы из описания предмета изобретения без излишних экспериментов, предпочтительные варианты их осуществления будут подробно описаны ниже со ссылкой на определенные фигуры, причем:
[00022] на Фиг. 1 представлен схематический вид в перспективе устройства для отделения газообразной смеси от потока частиц, поступающего из реактора с восходящим потоком, используемого для крекинга углеводородного сырья, сконструированного в соответствии с настоящим описанием, на котором показан разделительный сосуд, имеющий расположенные в перемежающемся порядке разделительные камеры и камеры для сбора;
[00023] на Фиг. 2A представлен схематический вид в горизонтальной проекции поперечного сечения устройства, изображенного на Фиг. 1, на котором показаны две разделительные камеры, разнесенные на девяносто градусов;
[00024] на Фиг. 2B представлен схематический вид в горизонтальной проекции поперечного сечения устройства, изображенного на Фиг. 1, на котором показаны две камеры для сбора, каждая из которых имеет дефлектор камеры для сбора, под которым газ из разделительной камеры совершает поворот на 180º перед выходом через выпускную трубу;
[00025] на Фиг. 3A представлен схематический вид в горизонтальной проекции поперечного сечения другого варианта осуществления устройства для отделения газообразной смеси от потока частиц, поступающего из реактора с восходящим потоком, используемого для крекинга углеводородного сырья, сконструированного в соответствии с настоящим описанием, на котором показаны две разделительные камеры, разнесенные на девяносто градусов, причем каждая разделительная камера включает в себя стояк, имеющий вогнутый дефлектор на выходе стояка для обеспечения плавного поворота на 180° газа и частиц катализатора, выходящих из реактора с восходящим потоком и поступающих в RTD;
[00026] на Фиг. 3B представлен схематический вид в горизонтальной проекции поперечного сечения варианта осуществления, изображенного на Фиг. 3A, на котором показаны две камеры для сбора, каждая из которых имеет дефлектор камеры для сбора, под которым газ из разделительной камеры совершает поворот на 180° перед выходом через выпускную трубу;
[00027] на Фиг. 4A представлен схематический вид в горизонтальной проекции поперечного сечения другого варианта осуществления устройства для отделения газообразной смеси от потока частиц, поступающего из реактора с восходящим потоком, используемого для крекинга углеводородного сырья, сконструированного в соответствии с настоящим описанием, на котором показаны две разделительные камеры, разнесенные на девяносто градусов, причем каждая разделительная камера включает в себя стояк, имеющий вогнутый дефлектор на выходе стояка для обеспечения плавного поворота на 180° газа и частиц катализатора, выходящих из реактора с восходящим потоком и поступающих в RTD, и на котором показана общая наружная стенка разделительной камеры, заканчивающаяся в слое катализатора отгонки, например опускная труба разделительной камеры;
[00028] на Фиг. 4B представлен схематический вид в горизонтальной проекции поперечного сечения варианта осуществления, изображенного на Фиг. 4A, на котором показаны две камеры для сбора, каждая из которых имеет дефлектор камеры для сбора, под которым газ из разделительной камеры совершает поворот на 180º перед выходом через выпускную трубу, и камера для сбора с общей наружной стенкой камеры для сбора, которая заканчивается в слое катализатора отгонки, например опускная труба камеры для сбора, причем опускная труба камеры для сбора окружает опускную трубу разделительной камеры;
[00029] на Фиг. 5 представлен схематический вид в перспективе с частичным разрезом устройства для отделения газообразной смеси от потока частиц, поступающего из реактора с восходящим потоком, используемого для крекинга углеводородного сырья, сконструированного в соответствии с настоящим описанием, на котором показан разделительный сосуд, имеющий расположенные в перемежающемся порядке разделительные камеры и камеры для сбора, причем одна из наружных стенок разделительной камеры показана полупрозрачной и одна из наружных стенок разделительной камеры показана с частичным разрезом;
[00030] на Фиг. 6 представлен схематический вид в перспективе устройства, изображенного на Фиг. 5, на котором показан дефлектор камеры для сбора, проходящий от дефлектора разделительной камеры, и разделительная перегородка, расположенная под дефлектором камеры для сбора;
[00031] на Фиг. 7 представлен схематический вид сверху в горизонтальной проекции устройства, изображенного на Фиг. 5, на котором показан поток текучей среды/частиц из реактора с восходящим потоком, в разделительную камеру, а затем в камеру для сбора;
[00032] на Фиг. 8 представлен схематический вид в перспективе другого варианта осуществления устройства для отделения газообразной смеси от потока частиц, поступающего из реактора с восходящим потоком, используемого для крекинга углеводородного сырья, сконструированного в соответствии с настоящим описанием, на котором показан дефлектор камеры для сбора с центральным заостренным участком;
[00033] на Фиг. 9 представлен схематический вид в перспективе другого варианта осуществления устройства для отделения газообразной смеси от потока частиц, поступающего из центрального реактора с восходящим потоком, используемого для крекинга углеводородного сырья, сконструированного в соответствии с настоящим описанием, на котором показан канал, проходящий сквозь нижнюю перегородку разделительной камеры и используемый в качестве средства перемещения газа непосредственно к трубе выпуска газа; и
[00034] на Фиг. 10 представлен схематический вид в горизонтальной проекции поперечного сечения другого варианта осуществления устройства для отделения газообразной смеси от потока частиц, поступающего из реактора с восходящим потоком, используемого для крекинга углеводородного сырья, сконструированного в соответствии с настоящим описанием, на котором показана наружная стенка камеры для сбора, которая включает в себя входной канал газа отгонки и вентиляционную трубу.
ПОДРОБНОЕ ОПИСАНИЕ
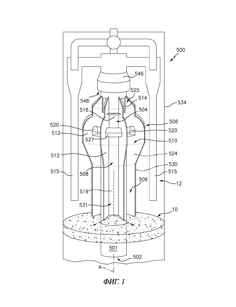
[00035] Далее приводятся ссылки на графические материалы, в которых одинаковые номера позиций обозначают аналогичные признаки конструкции или аспекты описания объекта. В целях объяснения и иллюстрирования, но не ограничения, частичный вид варианта осуществления устройства для отделения газообразной смеси от потока частиц, поступающего из центрального реактора с восходящим потоком, в соответствии с настоящим описанием показан на Фиг. 1 и обозначен по существу номером позиции 500. Другие варианты осуществления систем в соответствии с настоящим описанием или их аспектами представлены на Фиг. 2-11, как будет описано ниже. Системы и способы, описанные в настоящем документе, могут содержать разделительные сосуды, например RTD, в которых камера для сбора газа модифицирована путем создания опускной трубы, проходящей в слой катализатора, и/или в которых камера для сбора газа включает в себя дефлекторную перегородку.
[00036] Как показано на Фиг. 1-2B, устройство 500 для отделения газообразной смеси от потока частиц, поступающего из центрального реактора 501 с восходящим потоком, используемого для крекинга углеводородного сырья с упомянутым потоком частиц, включает в себя реакционный сосуд 534, содержащий нижнюю область 10 слоя отгонки и верхнюю область 12 вспомогательного сепаратора. Реактор 501 с восходящим потоком расположен в центре реакционного сосуда 534. Реактор 501 с восходящим потоком имеет продольную ось A и включает в себя вход 502 реактора с восходящим потоком на одном конце для получения углеводородного сырья и потока частиц (схематично показан стрелками, например стрелка 591 потока) и по меньшей мере один выход 504 реактора с восходящим потоком на противоположном конце для выпуска смеси газов крекинга и твердых частиц в разделительную камеру 508. Устройство 500 включает в себя разделительный сосуд 506, расположенный вблизи выпускного отверстия 504 реактора с восходящим потоком. Разделительный сосуд 506 в перемежающемся порядке включает в себя разделительные камеры 508 и камеры 510 для сбора, распределенные вокруг продольной оси A. Устройство 500 включает в себя множество наружных стенок 519 разделительной камеры (показаны полупрозрачными на Фиг. 1), каждая из которых проходит от их соответствующих входов 514 разделительной камеры в верхней области 516 разделительной камеры 508 в нижнюю область 10 слоя отгонки. Каждая разделительная камера 508 включает в себя ее собственную наружную стенку 519 разделительной камеры (показана полупрозрачной на Фиг. 1). Устройство 500 включает в себя наружную стенку 524 камеры для сбора (показана полупрозрачной на Фиг. 1) каждой камеры 510 для сбора, проходящую от бокового выхода 518 разделительной камеры и в нижнюю область 10 слоя отгонки. Стенки 524 и 519, образующие область 509 опускной трубы разделительной камеры и область 531 опускной трубы камеры для сбора соответственно, погружены в нижнюю область 10 слоя отгонки.
[00037] Снова согласно Фиг. 1-2B, каждая наружная стенка 524 камеры для сбора включает в себя наклонный участок 528, который сужается в сторону реактора 501 с восходящим потоком, и по существу вертикальную стенку 530, например опускную трубу, ниже наклонного участка 528. Каждая вертикальная стенка 530 образует отдельную область 531 опускной трубы для каждой камеры 510 сбора. По существу вертикальная стенка 530 наружной стенки 524 камеры для сбора заканчивается в нижней области 10 слоя отгонки. Каждая наружная стенка 519 разделительной камеры и вертикальная стенка 530 наружной стенки 524 камеры для сбора заканчиваются в одинаковом вертикальном положении относительно продольной оси A. Наружная стенка 524 камеры для сбора имеет одинаковый или меньший диаметр, чем наружная стенка 519 разделительной камеры. Поскольку вертикальная стенка 530 наружной стенки 524 камеры для сбора погружена в нижнюю область 10 слоя отгонки, устройство 500 включает в себя открытое вентиляционное отверстие 548 блока скольжения для обеспечения пути прохождения потока газа отгонки и захваченных углеводородов для выхода из реактора в выпускную трубу 546 для газа в сепаратор второй ступени. Опускные трубы (например, участки вертикальной стенки наружной стенки 524 камеры для сбора и наружная стенка 519 разделительной камеры, которые проходят в слой катализатора) гарантируют, что все углеводороды остаются в реакторе и отсутствует утечка паров углеводородов в реактор, что приводит к максимальному удержанию газа и потенциально предотвращает вероятность закоксовывания реактора.
[00038] Снова согласно Фиг. 2A и 2B, каждая разделительная камера 508 содержит две по существу вертикальные боковые стенки 512, которые также содержат стенку смежной камеры 510 для сбора. Разделительная камера 508, две из которых показаны на Фиг. 2A, включает в себя вход 514 разделительной камеры в верхней области 516 разделительной камеры 508, сообщающейся с реактором 501 с восходящим потоком. Газы/частицы (показаны схематически стрелками 591 потока) из стояка 501 сначала совершают первый поворот на 90° относительно реактора 501 с восходящим потоком (например, на 90° относительно оси A), а затем поворачивают еще на 90° вокруг дефлектора 527 разделительной камеры. Газы и захваченный катализатор (показаны схематически стрелкой 591a потока) затем поворачивают еще на 180° под дефлектором 527 разделительной камеры, в то время как частицы катализатора (показаны схематически областью 591b потока) отделяются от газов и падают на слой 10 катализатора. Устройство 500 включает в себя боковые выходы 518 разделительной камеры, расположенные в каждой из вертикальных боковых стенок 512, для передачи текучей среды и частиц из боковой разделительной камеры 508 в смежную камеру 510 для сбора. Устройство 500 включает в себя по меньшей мере один дефлектор 520 камеры для сбора, расположенный в камерах 510 для сбора газа по меньшей мере частично над боковым выходом 518 разделительной камеры. Каждый дефлектор 520 камеры для сбора проходит между двумя из вертикальных боковых стенок 512 (аналогично дефлектору 120 на Фиг. 4). Дефлектор 520 камеры для сбора используется для дополнительного увеличения разделения катализатора и газа и предотвращает прямое перемещение паров углеводородов стояка и захваченного катализатора к выходу 525 RTD по направлению к выпускной трубе для газа. Опускная труба 530 камеры для сбора газа, погруженная в слой 10 катализатора отгонки, предотвращает выход паров углеводородов стояка через выход 523 камеры для сбора газа в реактор. Опускная труба 530 камеры для сбора также гарантирует, что мелкие частицы, возвращающиеся из опускных труб 515 циклонного сепаратора, не будут повторно увлечены через выход 525 камеры для сбора газа.
[00039] Как показано на Фиг. 2A-2B, дефлектор 520 камеры для сбора предназначен для добавления еще одной стадии разделения в каждой камере 510 для сбора газа. В современных RTD существует вероятность протекания потоков газа и твердых частиц непосредственно из выхода 518 разделительной камеры к основному выпускному каналу, соединяющему RTD со входами циклонных сепараторов. В вариантах осуществления из настоящего описания дефлектор 520 заставляет газ, поступающий из боковых выходов 518 разделительной камеры совершать еще один поворот на 180°, т. е. разворачивает поток, как показано схематически стрелкой 537 потока, аналогично дефлектору 527, используемому в разделительной камере 508. Разница в импульсах движения газа и катализатора будет приводить к дополнительному разделению и снижению нагрузки на циклонные сепараторы. Это способствует повышению общей эффективности разделения в системе. В варианте осуществления, показанном на Фиг. 2A и 2B, дефлектор 520 камеры для сбора и дефлектор 527 заканчиваются в одном и том же вертикальном положении. Вогнутая поверхность 526 дефлектора 520 обращена к слою 10 отгонки.
[00040] На Фиг. 3A-3B показан другой вариант осуществления устройства 600 для отделения газообразной смеси от потока частиц, поступающего из центрального реактора 601 с восходящим потоком. Разделительные камеры 608, две из которых показаны на Фиг. 3A, включают в себя вход 614 разделительной камеры в верхней области 616 разделительной камеры 608, соединяющейся с реактором 601 с восходящим потоком. Газы/частицы (схематически показанные стрелками 691 потока) из стояка 601 сначала совершают первый поворот на 90° относительно реактора 601 с восходящим потоком, а затем поворачивают еще на 90° вокруг дефлектора 627 разделительной камеры; газы и захваченный катализатор (показаны схематически стрелкой 691a потока) затем поворачивают еще на 180° под дефлектором 627 разделительной камеры, в то время как частицы катализатора (показаны схематически стрелкой 691b потока) отделяются от газов и падают на слой 10 катализатора. Устройство 600 аналогично устройству 500, так как наружная стенка 624 камеры для сбора каждой камеры 610 для сбора проходит от бокового выхода 618 разделительной камеры и в нижнюю область 10 слоя отгонки. Поскольку наружная стенка 624 камеры для сбора погружена в нижнюю область 10 слоя отгонки, устройство 600 включает в себя открытое вентиляционное отверстие 648 блока скольжения для обеспечения пути прохождения потока газа отгонки и захваченных углеводородов для выхода из реактора в выпускную трубу 646 для газа. Устройство 600 отличается от устройства 500 тем, что стояк 601 включает в себя параболический вогнутый дефлектор 653 конической формы на выходе 604 стояка. Причем вершина дефлектора 653 обращена вниз ко входу 602 стояка. Устройство 600 также включает в себя перегородки 607 в разделительных камерах 608. Например, перегородки 607 могут представлять собой кольцевые сегменты, расположенные вокруг реактора 601 с восходящим потоком.
[00041] На Фиг. 4A-4B показан другой вариант осуществления устройства 700 для отделения газообразной смеси от потока частиц, поступающего из центрального реактора 701 с восходящим потоком. Устройство 700 аналогично устройству 600 за исключением того, что наружная стенка 724 камеры для сбора содержит наклонный участок 728, который сужается в сторону реактора 701 с восходящим потоком, и по существу вертикальную цилиндрическую стенку 730, которая формирует общую область 731 опускной трубы, расположенную ниже наклонного участка 728. По существу вертикальная цилиндрическая стенка 730, или юбка, ниже наклонного участка 728 представляет собой непрерывный цилиндр, который образует кольцевую общую область 731 опускной трубы вокруг реактора 701 с восходящим потоком таким образом, что выходные окна 750 газа отгонки для каждой камеры 710 для сбора находятся в сообщении по текучей среде с общей областью 731 опускной трубы. По существу вертикальная стенка 730 проходит к нижней области 10 слоя отгонки и заходит в нее. Газы/частицы (схематически показанные стрелками потока 791) из стояка 701 сначала совершают первый поворот на 90° относительно реактора 701 с восходящим потоком, а затем поворачивают еще на 90° вокруг дефлектора 727 разделительной камеры; газы и захваченный катализатор (показаны схематически стрелкой потока 791a) затем поворачивают еще на 180° под дефлектором 727 разделительной камеры, в то время как частицы катализатора (показаны схематически стрелкой потока 791b) отделяются от газов и падают на слой 10 катализатора. Устройство 700 аналогично устройству 100, как описано ниже, за исключением того, что его наружная стенка 724 не заканчивается над каждым выходным окном 750 подобно наружным стенкам 124 и их эквивалентному наклонному участку, заканчивающимся над каждым выходным окном 150, а вместо этого одна цилиндрическая стенка 730 начинается на нижнем крае каждого наклонного участка 728 и проходит вниз в слой катализатора.
[00042] Снова согласно Фиг. 4A-4B, устройство 700 включает в себя наружную стенку 719 разделительной камеры, которая проходит от бокового выхода 718 разделительной камеры и в нижнюю область 10 слоя отгонки. Наружная стенка 719 разделительной камеры представляет собой наружную стенку 719 разделительной камеры для каждой разделительной камеры 708 таким образом, что область 709 опускной трубы разделительной камеры проходит непрерывно по окружности вдоль продольной оси A. Наружная стенка 724 камеры для сбора соосна с наружной стенкой 719 разделительной камеры. По существу вертикальная стенка 730 имеет диаметр D1, больший диаметра D2 нижней части 719a наружной стенки 719 разделительной камеры, которая образует область 709 опускной трубы разделительной камеры. Устройство 700 включает в себя открытое вентиляционное отверстие 748 блока скольжения для обеспечения пути прохождения потока газа отгонки и паров для выхода из реактора в выпускную трубу 746 для газа, в то время как камера 710 для сбора закрыта в нижней части с помощью вертикальной стенки 730.
[00043] Как показано на Фиг. 5-7, устройство 100 для отделения газообразной смеси от потока частиц, поступающего из центрального реактора 101 с восходящим потоком, используемого для крекинга углеводородного сырья с упомянутым потоком частиц, включает в себя реакционный сосуд 134, содержащий нижнюю область 10 слоя отгонки и верхнюю область 12 вспомогательного сепаратора. Реактор 101 с восходящим потоком расположен в реакционном сосуде 134. Реактор 101 с восходящим потоком имеет продольную ось A и включает в себя вход 102 реактора с восходящим потоком на одном конце для получения углеводородного сырья и потока частиц и по меньшей мере один выход 104 реактора с восходящим потоком на противоположном конце для выпуска смеси газов крекинга и твердых частиц. Устройство 100 включает в себя разделительный сосуд 106, расположенный вблизи выпускного отверстия 104 реактора с восходящим потоком. Разделительный сосуд 106 включает в себя разделительные камеры 108 и камеры 110 для сбора, распределенные в перемежающемся порядке вокруг продольной оси A.
[00044] Снова согласно Фиг. 5-7, каждая разделительная камера 108 содержит по существу две вертикальные боковые стенки 112, которые также содержат стенку смежной камеры 110 для сбора. Разделительная камера 108 включает в себя вход 114 разделительной камеры в верхней области 116 разделительной камеры 108, сообщающийся с реактором 101 с восходящим потоком. Каждая разделительная камера 108 включает в себя наружную стенку 119 разделительной камеры, которая проходит вниз в слой 10 катализатора. Наружная стенка 119 разделительной камеры включает в себя вертикально проходящую юбку 173, которая образует общую область 109 опускной трубы для каждой из разделительных камер 108. Общая область 109 опускной трубы находится в сообщении по текучей среде с каждой из разделительных камер 108. Область 109 опускной трубы разделительной камеры проходит непрерывно по окружности вокруг продольной оси A. Боковые выходы 118 разделительной камеры расположены в каждой из вертикальных боковых стенок 112 для передачи текучей среды и частиц из боковой разделительной камеры 108 в смежную камеру 110 для сбора. Устройство 100 включает в себя по меньшей мере один дефлектор 120 камеры для сбора, расположенный в камерах 110 для сбора газа по меньшей мере частично над боковым выходом 118 разделительной камеры. Каждый дефлектор 120 камеры для сбора проходит между двумя из вертикальных боковых стенок 112. Дефлектор 120 камеры для сбора используется для дополнительного увеличения разделения катализатора и газа и предотвращает прямое перемещение паров углеводородов стояка к выходу 125 камеры для сбора газа.
[00045] Как показано на Фиг. 6, дефлектор 120 камеры для сбора предназначен для добавления еще одной стадии разделения в каждой камере 110 для сбора газа. Разделительная камера включает в себя изогнутую пластину 27 дефлектора, которую по существу называют дефлектором 27 разделительной камеры. Боковые выходы 118 разделительной камеры находятся под дефлектором 27 разделительной камеры, по одному на каждом конце, и соединены с камерой 110 для сбора газа. Дефлектор 27 разделительной камеры и дефлектор 120 камеры для сбора соединены друг с другом в виде единого узла или аналогичным способом таким образом, что дефлекторы 27 и дефлекторы 120 камеры для сбора образуют кольцевое пространство вокруг стояка 101. Данное удлинение дефлектора 27 разделительной камеры в камеру 110 для сбора в качестве дефлектора 120 камеры для сбора позволяет газу и частицам катализатора выполнять дополнительный поворот, способствуя разделению газа и частиц в камере для сбора газа. В современных RTD существует вероятность протекания потоков газа и твердых частиц непосредственно из выхода 118 разделительной камеры к основному выпускному каналу, соединяющему RTD со входами циклонных сепараторов. В вариантах осуществления из настоящего описания дефлектор 120 заставляет газ, поступающий из боковых выходов 118 разделительной камеры совершать еще один поворот на 180°, т. е. разворачивает поток, как показано схематически стрелкой 137 потока, аналогично дефлектору 27 разделительной камеры, используемому в разделительной камере 108. Разница в импульсах движения газа и катализатора будет приводить к дополнительному разделению и снижению нагрузки на циклонные сепараторы. Это способствует повышению общей эффективности разделения в системе. Дефлектор 120 камеры может включать в себя разделительную перегородку 136, проходящую от вогнутой поверхности 126 дефлектора камеры для сбора. В варианте осуществления, показанном на Фиг. 5–7, разделительная перегородка 136 не выходит за пределы нижнего края 138 дефлектора 120 в направлении, параллельном продольной оси A. Специалисты в данной области легко поймут, что перегородка 136 также может проходить до вертикального положения ниже нижнего края 138.
[00046] Снова согласно Фиг. 5-7, варианты осуществления устройства 100 отличаются от вариантов осуществления устройства 700 тем, что наружная стенка 124 камеры для сбора не проходит вниз в слой 10 катализатора в отличие от наружной стенки 724 и являющейся ее продолжением цилиндрической стенки 730, а вместо этого наружная стенка 124 камеры для сбора заканчивается до слоя 10 катализатора. Обращенная вперед наружная стенка 124 камеры для сбора на Фиг. 5 показана полупрозрачной таким образом, что можно легко видеть дефлектор 120. В устройстве 100 каждая камера 110 для сбора включает в себя пол 122 камеры для сбора, который вместе с наружной стенкой 124 камеры для сбора, вертикальными боковыми стенками 112 и центральным реактором 101 с восходящим потоком образует камеру 110 для сбора. Выходное окно 150 для газа отгонки, например окно камеры для сбора, предусмотрено между наружной стенкой 124 камеры для сбора и полом 122 камеры, чтобы обеспечить возможность выпуска газа отгонки и захваченных углеводородов из секции отгонки реактора в камеру 110 для сбора газа, а затем через выход 125 камеры. Вогнутая поверхность 126 дефлектора 120 обращена к полу 122 камеры для сбора. Дефлектор 120 камеры для сбора показан с удлиненной стенкой 142 (по сравнению с дефлектором 27 разделительной камеры в разделительной камере 108), однако специалисты в данной области легко поймут, что можно использовать различные варианты длины стенки 142.
[00047] На Фиг. 8 показан другой вариант осуществления устройства 200 для отделения газообразной смеси от потока частиц, поступающего из центрального реактора 201 с восходящим потоком. Устройство 200 аналогично устройству 100 за исключением того, что устройство 200 включает в себя другой вариант осуществления дефлектора 220 камеры для сбора, как показано. Дефлектор 220 камеры для сбора аналогичен дефлектору 120 камеры для сбора за исключением того, что вместо открытой конструкции или наличия разделительной перегородки дефлектор 220 камеры включает в себя направленный вниз заостренный участок 221 на пересечении двух участков 220a и 220b дефлектора. Заостренный участок 221 расположен по центру между двумя вертикальными боковыми стенками 212. Каждый участок 220a и 220b дефлектора обеспечивает свой собственный независимый полуповорот текучей среды газа и твердых частиц, поступающей из разделительной камеры, как схематически показано стрелкой 242 потока на Фиг. 8. Благодаря направленной вниз наклонной форме каждого участка 220a и 220b дефлектора может отсутствовать необходимость в перегородке, например перегородке 136.
[00048] На Фиг. 9 показан другой вариант осуществления устройства 800 для отделения газообразной смеси от потока частиц, поступающего из центрального реактора 801 с восходящим потоком. Устройство 800 аналогично устройству 100 за исключением того, что устройство 800 включает в себя канал 844 камеры для сбора в верхней области 843 каждой камеры 810 для сбора для отвода газов крекинга и небольшой части твердых частиц из камер 810 для сбора в выпускную трубу для газа (показано на Фиг. 4, поз. 146). Каждый канал 844 камеры для сбора проходит вниз через дефлектор 820 камеры для сбора, который аналогичен дефлектору 120 камеры для сбора. Наружная стенка 824 камеры для сбора и наружная стенка 819 разделительной камеры частично удалены, чтобы показать внутреннюю часть камер 810 для сбора и разделительных камер 808. Камеры 810 для сбора аналогичны камерам 110 для сбора, показанным на Фиг. 5. Каждая камера для сбора включает в себя соответствующее выходное окно 850 для газа отгонки, аналогичное выходному окну 150 для газа отгонки. Разделительные камеры 808 включают в себя общую область опускной трубы, аналогичную общей области 109 опускной трубы.
[00049] На Фиг. 10 показан другой вариант осуществления устройства 400 для отделения газообразной смеси от потока частиц, поступающего из центрального реактора 401 с восходящим потоком. Устройство 400 по существу аналогично устройству 500. Устройство 400 включает в себя множество разделительных камер 408 и камер 410 для сбора. Наружная стенка 424 камеры для сбора каждой камеры 410 для сбора проходит от бокового выхода 418 разделительной камеры к нижней области 10 слоя отгонки, например слоя катализатора, и погружена в слой 10 катализатора. Устройство 400 включает в себя канал 417 газа отгонки, выполненный и адаптированный с возможностью обеспечения дополнительного пути прохождения потока через наружную стенку 424 для выпуска газа отгонки из устройства 400 реактора через выпускную трубу 446 для газа в один или более циклонных сепараторов.
[00050] Способы и системы из настоящего описания, как описано выше и показано на графических материалах, обеспечивают увеличенное разделение катализатора и газа за счет использования камеры для сбора газа для дополнительного отделения газа от катализатора. Хотя устройство и способы в описании объекта изобретения были показаны и описаны со ссылкой на предпочтительные варианты осуществления, специалисты в данной области легко поймут, что в них можно вносить изменения и/или модификации без отклонения от объема описания предмета изобретения.
| название | год | авторы | номер документа |
|---|---|---|---|
| АППАРАТ И ПРОЦЕСС ДЛЯ ОТДЕЛЕНИЯ ГАЗОВ ОТ КАТАЛИЗАТОРА | 2020 |
|
RU2782503C1 |
| СПОСОБ КАТАЛИТИЧЕСКОГО КРЕКИНГА СО ВЗВЕШЕННЫМ КАТАЛИЗАТОРОМ И УСТРОЙСТВО ДЛЯ МАКСИМИЗАЦИИ ВЫХОДА ЛЕГКОГО ОЛЕФИНА И ДРУГИХ ПРИЛОЖЕНИЙ | 2017 |
|
RU2728777C1 |
| УСТРОЙСТВО И СПОСОБ РАСШИРЕНИЯ СТОЯКА | 2020 |
|
RU2785852C1 |
| ПРОЦЕССЫ И УСТРОЙСТВО ДЛЯ КРЕКИНГА С ПСЕВДООЖИЖЕННЫМ КАТАЛИЗАТОРОМ | 2020 |
|
RU2804637C2 |
| СЕПАРАТОРНАЯ СИСТЕМА ЛИФТ-РЕАКТОРА | 2018 |
|
RU2762038C2 |
| СПОСОБ ИЗВЛЕЧЕНИЯ КАТАЛИЗАТОРА ИЗ ВЫХОДЯЩЕГО ПОТОКА ЖИДКОФАЗНОГО КАТАЛИТИЧЕСКОГО КРЕКИНГА ЛЕГКИХ ОЛЕФИНОВ | 2003 |
|
RU2330059C2 |
| РЕГЕНЕРАТОР КАТАЛИЗАТОРА С ЦЕНТРАЛЬНЫМ СБОРНИКОМ | 2003 |
|
RU2326930C2 |
| СПОСОБ ПРОВЕДЕНИЯ КАТАЛИТИЧЕСКОГО КРЕКИНГА СЫРЬЯ В ПСЕВДООЖИЖЕННОМ СЛОЕ И УСТРОЙСТВО ДЛЯ ЕГО ОСУЩЕСТВЛЕНИЯ | 1994 |
|
RU2079541C1 |
| УСТРОЙСТВО И СПОСОБ ПРОВЕДЕНИЯ КАТАЛИТИЧЕСКОГО КРЕКИНГА | 2007 |
|
RU2449003C2 |
| СПОСОБ И УСТАНОВКА ФЛЮИД-КАТАЛИТИЧЕСКОГО КРЕКИНГА ДЛЯ МАКСИМАЛЬНОГО УВЕЛИЧЕНИЯ ВЫХОДА ЛЕГКИХ ОЛЕФИНОВ И ДРУГИХ ПРИМЕНЕНИЙ | 2020 |
|
RU2811472C2 |
Устройство включает в себя реактор с восходящим потоком внутри реакционного сосуда, который имеет продольную ось и включает в себя вход реактора с восходящим потоком на одном конце и по меньшей мере один выход реактора с восходящим потоком на противоположном конце. Устройство включает в себя разделительный сосуд, включающий в себя по меньшей мере одну разделительную камеру и по меньшей мере одну камеру для сбора, распределенные в перемежающемся порядке вокруг продольной оси. Каждая разделительная камера содержит две вертикальные боковые стенки, которые также содержат стенку одной смежной из по меньшей мере одной камеры для сбора. В по меньшей мере одной из вертикальных боковых стенок предусмотрен боковой выход разделительной камеры для обеспечения передачи текучей среды и частиц из боковой разделительной камеры в одну смежную из по меньшей мере одной камеры для сбора. Разделительный сосуд включает в себя по меньшей мере один дефлектор камеры для сбора, расположенный в по меньшей мере одной камере для сбора, по меньшей мере частично над боковым выходом разделительной камеры. Изобретение касается также варианта устройства. Технический результат - улучшение разделения фаз катализатора и паров на выходе реактора с восходящим потоком, повышение эффективности сбора газа, улучшение стабильность работы. 2 н. и 35 з.п. ф-лы, 13 ил.
1. Устройство для отделения газообразной смеси от потока частиц, поступающего из реактора с восходящим потоком, используемого для крекинга углеводородного сырья с упомянутым потоком частиц, причем упомянутое устройство содержит:
реакционный сосуд, содержащий нижнюю область слоя отгонки, и верхнюю область вспомогательного сепаратора;
реактор с восходящим потоком, расположенный внутри реакционного сосуда, при этом реактор с восходящим потоком имеет продольную ось и включает в себя вход реактора с восходящим потоком на одном конце для получения углеводородного сырья и потока частиц и по меньшей мере один выход реактора с восходящим потоком на противоположном конце для выпуска смеси газов крекинга и твердых частиц;
разделительный сосуд, расположенный вблизи по меньшей мере одного выхода реактора с восходящим потоком, причем разделительный сосуд содержит:
по меньшей мере одну разделительную камеру и по меньшей мере одну камеру для сбора, распределенные в перемежающемся порядке вокруг продольной оси, при этом каждая разделительная камера содержит две вертикальные боковые стенки, которые также содержат стенку одной смежной из по меньшей мере одной камеры для сбора, причем по меньшей мере одна разделительная камера включает в себя вход разделительной камеры в верхней области разделительной камеры, сообщающийся с реактором с восходящим потоком, при этом боковой выход разделительной камеры предусмотрен в по меньшей мере одной из вертикальных боковых стенок для обеспечения передачи текучей среды и частиц из боковой разделительной камеры в одну смежную из по меньшей мере одной камеры для сбора; и
по меньшей мере один дефлектор камеры для сбора, расположенный в по меньшей мере одной камере для сбора по меньшей мере частично над боковым выходом разделительной камеры.
2. Устройство по п. 1, в котором по меньшей мере одна разделительная камера включает в себя две разделительные камеры с одной из по меньшей мере одной камеры для сбора между ними, и при этом по меньшей мере один дефлектор камеры для сбора проходит между одной из двух вертикальных боковых стенок первой из двух разделительных камер и одной из двух вертикальных боковых стенок второй из двух разделительных камер.
3. Устройство по п. 1, в котором каждая камера для сбора содержит наружную стенку камеры для сбора, которая включает в себя входное окно для газа отгонки, позволяющее газу отгонки из по меньшей мере одного инжектора газа отгонки рядом с нижней областью слоя отгонки поступать в камеру для сбора.
4. Устройство по п. 3, в котором каждая камера для сбора содержит пол камеры для сбора, который вместе с наружной стенкой камеры для сбора, вертикальными боковыми стенками и центральным реактором с восходящим потоком образует камеру для сбора.
5. Устройство по п. 4, в котором по меньшей мере один дефлектор камеры для сбора включает в себя вогнутую поверхность, обращенную к полу камеры для сбора.
6. Устройство по п. 1, в котором по меньшей мере один дефлектор камеры для сбора включает в себя заостренный участок, направленный вниз.
7. Устройство по п. 6, в котором заостренный участок расположен по центру между двумя вертикальными боковыми стенками.
8. Устройство по п. 1, в котором дефлектор камеры для сбора включает в себя разделительную перегородку, проходящую от вогнутой поверхности дефлектора камеры для сбора.
9. Устройство по п. 8, в котором разделительная перегородка выходит за пределы нижнего края дефлектора в направлении, параллельном продольной оси.
10. Устройство по п. 1, дополнительно содержащее по меньшей мере один канал камеры для сбора в верхней области камеры для сбора для отвода газов крекинга и небольшой части твердых частиц из камер для сбора в выпускной коллектор газа.
11. Устройство по п. 10, в котором по меньшей мере один канал камеры для сбора проходит вниз через дефлектор камеры для сбора.
12. Устройство по п. 1, в котором каждая камера для сбора содержит наружную стенку камеры для сбора, которая проходит от бокового выхода разделительной камеры в нижнюю область слоя отгонки.
13. Устройство по п. 12, в котором каждая камера для сбора включает в себя пол камеры для сбора, причем пол камеры для сбора, наружная стенка камеры для сбора, вертикальные боковые стенки и центральный реактор с восходящим потоком вместе образуют камеру для сбора.
14. Устройство по п. 12, в котором каждая наружная стенка камеры для сбора удлинена для формирования одной общей опускной трубы, которая непрерывно проходит в нижний слой отгонки по окружности вокруг реактора с восходящим потоком.
15. Устройство по п. 12, в котором каждая наружная стенка камеры для сбора удлинена для формирования соответствующей опускной трубы, которая проходит в нижний слой отгонки.
16. Устройство по п. 1, в котором каждая камера для сбора окружена общим полом камеры для сбора, причем пол камеры для сбора, наружная стенка камеры для сбора, вертикальные боковые стенки и центральный реактор с восходящим потоком вместе образуют камеру для сбора.
17. Устройство по п. 1, в котором по меньшей мере одна из по меньшей мере одной разделительной камеры дополнительно содержит дефлектор разделительной камеры, расположенный по меньшей мере частично над боковым выходом разделительной камеры.
18. Устройство по п. 17, в котором дефлектор разделительной камеры выполнен в виде единого узла с дефлектором камеры для сбора.
19. Устройство по п. 1, в котором дефлектор камеры для сбора обеспечивает поворот газа из разделительной камеры под дефлектором камеры для сбора на 180° перед выходом его из реактора через его выпускную трубу для газа.
20. Устройство по п. 1, в котором реактор с восходящим потоком включает в себя параболический вогнутый дефлектор стояка конической формы на по меньшей мере одном выходе реактора с восходящим потоком.
21. Устройство для отделения газообразной смеси от потока частиц, поступающего из реактора с восходящим потоком, используемого для крекинга углеводородного сырья с упомянутым потоком частиц, причем упомянутое устройство содержит:
реакционный сосуд, содержащий нижнюю область слоя отгонки, и верхнюю область вспомогательного сепаратора;
реактор с восходящим потоком, расположенный внутри реакционного сосуда, при этом реактор с восходящим потоком имеет продольную ось и включает в себя вход реактора с восходящим потоком на одном конце для получения углеводородного сырья и потока частиц и по меньшей мере один выход реактора с восходящим потоком на противоположном конце для выпуска смеси газов крекинга и твердых частиц;
разделительный сосуд, расположенный вблизи по меньшей мере одного выхода реактора с восходящим потоком, причем разделительный сосуд содержит по меньшей мере одну разделительную камеру и по меньшей мере одну камеру для сбора, распределенные в перемежающемся порядке вокруг продольной оси, при этом каждая разделительная камера содержит две вертикальные боковые стенки, которые также содержат стенку смежной камеры для сбора, причем разделительная камера включает в себя вход разделительной камеры в верхней области разделительной камеры, сообщающийся с реактором с восходящим потоком; и
боковой выход разделительной камеры, предусмотренный в по меньшей мере одной из вертикальных боковых стенок для обеспечения передачи текучей среды и частиц из разделительной камеры в одну смежную из по меньшей мере одной камеры для сбора, при этом каждая камера для сбора содержит наружную стенку камеры для сбора, которая проходит от бокового выхода разделительной камеры в нижнюю область слоя отгонки, и при этом каждая разделительная камера дополнительно содержит наружную стенку разделительной камеры, проходящую от входа разделительной камеры в нижнюю область слоя отгонки, причем наружная стенка камеры для сбора представляет собой общую наружную стенку камеры для сбора, непрерывно проходящую к нижнему слою отгонки по окружности вокруг реактора с восходящим потоком.
22. Устройство по п. 21, в котором наружная стенка камеры для сбора содержит участок, формирующий общую область опускной трубы вокруг реактора с восходящим потоком таким образом, что выходные окна газа отгонки каждой камеры для сбора находятся в сообщении по текучей среде с этой общей областью опускной трубы.
23. Устройство по п. 21, в котором наружная стенка камеры для сбора включает в себя участок, наклоненный к реактору с восходящим потоком, и вертикальную стенку под наклонным участком.
24. Устройство по п. 21, в котором наружная стенка камеры для сбора имеет диаметр, меньший или равный диаметру наружной стенки разделительной камеры.
25. Устройство по п. 21, дополнительно содержащее по меньшей мере один дефлектор камеры для сбора, расположенный в смежной камере для сбора газа по меньшей мере частично над боковым выходом разделительной камеры.
26. Устройство по п. 25, в котором по меньшей мере один дефлектор камеры для сбора обеспечивает поворот газа из разделительной камеры под дефлектором камеры для сбора на 180° перед выходом его из реактора через его выпускную трубу для газа.
27. Устройство по п. 25, в котором по меньшей мере один дефлектор камеры для сбора включает в себя вогнутую поверхность, обращенную к нижней области слоя отгонки.
28. Устройство по п. 25, в котором по меньшей мере одна разделительная камера представляет собой две разделительные камеры, причем по меньшей мере один дефлектор камеры для сбора проходит между одной из двух вертикальных боковых стенок первой из двух разделительных камер и одной из двух вертикальных боковых стенок второй из двух разделительных камер.
29. Устройство по п. 25, в котором по меньшей мере один дефлектор камеры для сбора включает в себя заостренный участок, направленный вниз.
30. Устройство по п. 29, в котором заостренный участок расположен по центру между двумя вертикальными боковыми стенками.
31. Устройство по п. 25, в котором дефлектор камеры для сбора включает в себя разделительную перегородку, проходящую от вогнутой поверхности дефлектора камеры для сбора.
32. Устройство по п. 31, в котором разделительная перегородка выходит за пределы нижнего края дефлектора в направлении, параллельном продольной оси.
33. Устройство по п. 25, дополнительно содержащее по меньшей мере один канал камеры для сбора в верхней области камеры для сбора для отвода газов крекинга и небольшой части твердых частиц из камер для сбора в выпускной коллектор газа.
34. Устройство по п. 33, в котором по меньшей мере один канал камеры для сбора проходит вниз через дефлектор камеры для сбора.
35. Устройство по п. 25, в котором по меньшей мере одна из по меньшей мере одной разделительной камеры дополнительно содержит дефлектор разделительной камеры, расположенный по меньшей мере частично над боковым выходом разделительной камеры.
36. Устройство по п. 35, в котором дефлектор разделительной камеры выполнен в виде единого узла с дефлектором камеры для сбора.
37. Устройство по п. 21, в котором реактор с восходящим потоком включает в себя параболический вогнутый дефлектор стояка конической формы на по меньшей мере одном выходе реактора с восходящим потоком.
| US 20180216012 A1, 02.08.2018 | |||
| Двухосный индикаторный гиростабилизатор | 2021 |
|
RU2767715C1 |
| US 6296812 B1, 02.10.2001 | |||
| US 20100175553 A1, 15.07.2010 | |||
| ВНУТРЕННЕЕ УСТРОЙСТВО РАЗДЕЛЕНИЯ СМЕСИ, СОДЕРЖАЩЕЙ, ПО МЕНЬШЕЙ МЕРЕ, ОДНУ ГАЗООБРАЗНУЮ ФАЗУ И ОДНУ ЖИДКУЮ ФАЗУ | 2002 |
|
RU2301103C2 |
| ПЕРЕГОРОДКИ ДЛЯ УЛУЧШЕНИЯ ГИДРОДИНАМИКИ В ЛИФТ-РЕАКТОРЕ | 2013 |
|
RU2585174C1 |
Авторы
Даты
2025-04-23—Публикация
2022-05-25—Подача