МЕДИЦИНСКОЕ ИНЪЕКЦИОННОЕ УСТРОЙСТВО И СПОСОБ СБОРКИ ТАКОГО ИНЪЕКЦИОННОГО УСТРОЙСТВА Российский патент 2025 года по МПК A61M5/31 A61B90/98 

Описание патента на изобретение RU2839035C2

Настоящее изобретение относится к медицинскому инъекционному устройству и способу сборки такого инъекционного устройства.

В настоящей заявке под дистальным концом компонента или устройства подразумевается конец, наиболее удаленный от руки пользователя, а под проксимальным концом подразумевается конец, наиболее близкий к руке пользователя. Аналогичным образом, в настоящей заявке, под «дистальным направлением» следует понимать направление инъекции по отношению к медицинскому контейнеру согласно изобретению, а под «проксимальным направлением» следует понимать направление, противоположное указанному направлению инъекции, то есть, направление к руке пользователя, держащей контейнер, как при выполнении операции инъекции.

Медицинские инъекционные устройства, такие как предварительно заполняемые или предварительно заполненные шприцы, обычно содержат полый корпус или цилиндр, образующий контейнер для лекарственного средства. Этот трубчатый корпус содержит открытый проксимальный конец, снабженный штоком поршня для проталкивания стопора, расположенного внутри цилиндра, фланец вокруг указанного открытого проксимального конца, позволяющий пользователю размещать свои пальцы, и дистальный конец в виде продольного наконечника, определяющего осевой канал, через который лекарственное средство вытесняется из контейнера. Однако этот продольный наконечник сам по себе не позволяет осуществлять парентеральное введение и должен содержать либо иглу со стержнем, либо адаптер, позволяющий присоединять шприц к соединителю, такому как втулка иглы, или к внутривенному (IV) катетеру. В основном адаптеры могут быть закреплены вокруг продольного наконечника шприца с помощью клея, завинчивания, защелкивания или силы трения. Затем соединитель устанавливают на адаптер, например, завинчиванием.

Существует растущая потребность в индивидуальной прослеживаемости инъекционных устройств от производственного процесса до окончательной маркировки, конечного использования или утилизации указанных инъекционных устройств.

Например, из документа WO2017157784 известна емкость, имеющая цилиндрическую боковую поверхность, окруженную последовательностью напечатанных машиночитаемых уникальных идентификационных кодов. Эти напечатанные уникальные идентификационные коды позволяют отслеживать и локализовывать каждую емкость в цепочке поставок. Однако эти уникальные идентификационные коды печатают на внешней стороне емкости, поэтому они могут быть удалены или повреждены, например, при обращении с емкостью или ее использовании. Кроме того, уникальные идентификационные коды покрывают часть емкости, поэтому они могут влиять на процесс визуального осмотра потребителем.

В документе US20210236736 раскрыт узел контроля вскрытия с РЧИД для шприцев. В документе WO2020260298 раскрыт адаптер для медицинского контейнера и метка РЧИД, по меньшей мере частично встроенная в указанный адаптер.

В этом контексте техническая проблема, решаемая настоящим изобретением, заключается в предоставлении медицинского инъекционного устройства, которое уменьшает вышеупомянутые недостатки путем обеспечения индивидуальной идентификации медицинского инъекционного устройства с небольшим или нулевым влиянием на визуальный осмотр, с небольшим или нулевым риском быть удаленным или поврежденным и с ограниченным влиянием на процесс изготовления.

Аспект изобретения представляет собой инъекционное устройство, содержащее медицинский контейнер, снабженный:

трубчатым цилиндром, проходящим вдоль продольной оси A и образующим резервуар для содержания лекарственного средства, причем указанный трубчатый цилиндр имеет дистальное плечо и проксимальный конец,

дистальным наконечником, выступающим в продольном направлении из дистального плеча указанного трубчатого цилиндра, причем дистальный наконечник определяет осевой канал, сообщающийся по текучей среде с резервуаром, так что лекарственное средство вытесняется через указанный дистальный наконечник,

адаптером, прикрепленным к дистальному наконечнику, причем адаптер выполнен так, чтобы позволять соединение соединителя с дистальным наконечником, и

опорным кольцом, содержащим метку радиочастотной идентификации, РЧИД, выполненную с возможностью разрешать индивидуальную идентификацию инъекционного устройства, причем метка РЧИД содержит чип РЧИД и антенну РЧИД, причем указанное опорное кольцо имеет отверстие, позволяющее устанавливать опорное кольцо вокруг дистального наконечника так, что метка РЧИД расположена между проксимальным концом адаптера и дистальным плечом цилиндра.

Таким образом, медицинское инъекционное устройство согласно изобретению позволяет идентифицировать и отслеживать медицинский контейнер без влияния на визуальный осмотр, поскольку метка РЧИД не препятствует осмотру трубчатого цилиндра и содержащегося в нем лекарственного средства.

Риски удаления или повреждения метки РЧИД исключаются или ограничиваются, поскольку метка РЧИД заблокирована между адаптером и трубчатым цилиндром. В отличие от решений, в которых метка встроена в съемную часть медицинского устройства, где метка РЧИД расположена на части, захватываемой пользователем, такой как колпачок наконечника шприца, или где метка РЧИД прикреплена к медицинскому устройству с помощью клея, метка РЧИД инъекционного устройства согласно изобретению остается прикрепленной к устройству во время и после доставки лекарства.

Предпочтительно отверстие опорного кольца представляет собой сквозное отверстие, расположенное в центре указанного опорного кольца.

Влияние на процесс изготовления также ограничено, поскольку опорное кольцо, содержащее метку РЧИД, может быть легко установлено на дистальном наконечнике путем введения дистального наконечника через центральное отверстие опорного кольца. По сравнению с решениями, заключающимися в формовании метки РЧИД в пластиковый компонент, медицинское инъекционное устройство согласно изобретению позволяет использовать существующий способ изготовления (т.е. сборку PRTC) без необходимости замены пресс-форм.

Опорное кольцо предпочтительно представляет собой кольцо в форме диска, а отверстие предпочтительно представляет собой круглое сквозное отверстие.

В одном варианте осуществления опорное кольцо имеет внутренний диаметр, который меньше наружного диаметра дистального наконечника.

Внутренний диаметр опорного кольца также может относиться к максимальному диаметру отверстия опорного кольца.

Таким образом, метка РЧИД прикреплена к дистальному наконечнику с помощью посадки с натягом.

В одном варианте осуществления опорное кольцо имеет наружный диаметр, который равен или меньше наружного диаметра адаптера, и/или колпачка наконечника, когда инъекционное устройство содержит колпачок наконечника, соединенный с адаптером для герметизации осевого канала дистального наконечника.

Это позволяет ограничить радиальный размер инъекционного устройства, чтобы не требовалось изменения упаковки. Это также ограничивает риск повреждения метки РЧИД, поскольку метка РЧИД не выступает из адаптера в радиальном направлении.

В одном варианте осуществления опорное кольцо определяет дистальную опорную поверхность, выполненную с возможностью упираться в проксимальный конец адаптера.

Предпочтительно дистальная опорная поверхность является плоской.

Это позволяет распределить нагрузку при толкании метки РЧИД в проксимальном направлении посредством проксимального конца адаптера, упирающегося в опорное кольцо. Соответственно, риск того, что метка РЧИД будет деформирована и повреждена, ограничен.

В одном варианте осуществления при установке на инъекционном устройстве опорное кольцо имеет плоскую дистальную поверхность и плоскую противоположную проксимальную поверхность и проходит в плоскости, ортогональной продольной оси A.

В одном варианте осуществления опорное кольцо прикреплено к наиболее проксимальной части дистального наконечника.

Наиболее проксимальная часть дистального наконечника соединяет дистальный наконечник с дистальным плечом цилиндра. Таким образом, эта наиболее проксимальная часть может иметь проксимально расширяющийся диаметр. Наружная поверхность наиболее проксимальной части имеет вогнутую форму.

В одном варианте осуществления опорное кольцо имеет скос, проходящий вокруг отверстия на его проксимальной поверхности.

Это позволяет разместить метку РЧИД как можно ближе к дистальному плечу цилиндра, так что нет необходимости увеличивать длину дистального наконечника, чтобы установить на него опорное кольцо.

Скос опорного кольца и наиболее проксимальной части дистального наконечника может иметь комплементарную форму.

В варианте осуществления опорное кольцо имеет внутренние радиальные ножки, образующие отверстие и выполненные с возможностью крепления опорного кольца к дистальному наконечнику.

Ножки позволяют устанавливать метку РЧИД вокруг дистального наконечника с ограниченным риском того, что метка РЧИД будет деформирована и, таким образом, повреждена во время сборки инъекционного устройства. Ножки ограничивают внутреннее напряжение в метке РЧИД. Без ножек большее количество материала опорного кольца должно деформироваться, что приводит к более высоким осевым усилиям, прикладываемым к указанному опорному кольцу во время сборки, и, следовательно, более высокому внутреннему напряжению в метке РЧИД, что может привести к повреждению метки.

Предпочтительно, дистальный наконечник содержит канавку, выполненную с возможностью приема внутреннего кольца адаптера, и длина указанной канавки составляет от 1 мм до 2 мм и предпочтительно составляет около 1,5 мм. Предпочтительно, при установке на инъекционном устройстве опорное кольцо, содержащее метку РЧИД, также принимается в канавке дистального наконечника. Эта канавка может быть цилиндрической, чтобы стабилизировать опорное кольцо. То есть отсутствует наклон, который имеет тенденцию перемещать опорное кольцо в ту или иную сторону. Кроме того, наличие опорного кольца в канавке дистального наконечника обеспечивает четкое указание на то, что опорное кольцо правильно расположено. Во время сборки это указание может представлять собой падение осевого усилия, которое толкает опорное кольцо вниз (в проксимальном направлении), и, возможно, звук, такой как «щелчок».

В одном варианте осуществления антенна РЧИД и чип РЧИД встроены, предпочтительно залиты, в опорном кольце.

Антенна и чип РЧИД соответственно защищены от внешней среды.

В варианте осуществления опорное кольцо представляет собой печатную плату, ПП, антенна РЧИД непосредственно напечатана на указанной ПП, предпочтительно на ее дистальной поверхности, а чип РЧИД приварен к антенне РЧИД.

Это ограничивает осевой размер опорного кольца и, таким образом, ограничивает длину дистального наконечника, тем самым ограничивая риск поломки этого дистального наконечника.

Предпочтительно антенна выполнена в виде одиночной петли, сложенной петли или разрезанной петли.

Под одиночной петлей подразумевается, что антенна имеет два конца, соединенные с чипом таким образом, чтобы образовывать замкнутый контур. Под сложенной петлей подразумевается, что антенна содержит две симметричные ветви, каждая из которых имеет один конец, соединенный с чипом, и свободный конец, расположенный так, что каждая ветвь образует по меньшей мере одну складку между этими двумя концами. Под разрезанной петлей подразумевается, что антенна имеет две симметричные ветви, каждая из которых имеет один конец, соединенный с чипом, и свободный конец, без образования какой-либо складки между этими двумя концами. В конфигурации сложенной петли и разрезанной петли две ветви антенны могут проходить в другой половине опорного кольца относительно продольной плоскости, включающей продольную ось A.

В варианте осуществления метка РЧИД представляет собой метку низкочастотной радиочастотной идентификации, НЧ-РЧИД, метку высокочастотной радиочастотной идентификации, ВЧ-РЧИД, или, предпочтительно, метку сверхвысокочастотной радиочастотной идентификации, СВЧ-РЧИД.

Метки СВЧ-РЧИД позволяют увеличить диапазон считывания и, таким образом, облегчить идентификацию инъекционного устройства.

Другим аспектом изобретения является способ сборки описанного выше инъекционного устройства, причем указанный способ содержит этап установки опорного кольца на дистальный наконечник перед установкой адаптера на указанный дистальный наконечник, так что опорное кольцо, содержащее метку РЧИД, расположено между проксимальным концом адаптера и дистальным концом цилиндра.

В одном варианте осуществления способ содержит этапы:

(i) насаживания отверстия опорного кольца на дистальный наконечник;

(ii) перемещения опорного кольца в проксимальном направлении относительно дистального наконечника до тех пор, пока внутренний диаметр опорного кольца не будет контактировать с наружным диаметром дистального наконечника;

(iii) проталкивания опорного кольца в проксимальном направлении для перемещения опорного кольца в канавку дистального наконечника;

(iv) крепления адаптера к дистальному наконечнику.

В одном варианте осуществления проксимальное перемещение опорного кольца относительно дистального наконечника на этапе (ii) осуществляется под действием силы тяжести.

То есть, дистальный наконечник находится в вертикальном положении, а опорное кольцо, поддерживающее метку РЧИД, перемещается вниз под действием силы тяжести.

В одном варианте осуществления этап (iii) включает в себя проталкивание опорного кольца дальше в проксимальном направлении проксимальным концом адаптера, упирающимся в опорное кольцо, до тех пор, пока адаптер не достигнет своего конечного положения относительно дистального наконечника.

Конечное положение достигается, когда внутреннее кольцо адаптера закреплено в канавке дистального наконечника.

Изобретение и обеспечиваемые им преимущества станут понятны из подробного описания, приводимого ниже со ссылкой на следующие прилагаемые чертежи:

- Фиг. 1 - вид в перспективе медицинского инъекционного устройства в соответствии с вариантом осуществления изобретения,

- Фиг. 2A и 2B - виды в поперечном сечении медицинского инъекционного устройства в соответствии с вариантом осуществления изобретения,

- Фиг. 3А - вид в перспективе метки РЧИД медицинского инъекционного устройства в соответствии с вариантом осуществления изобретения,

- Фиг. 3B - вид снизу проксимальной поверхности метки РЧИД медицинского инъекционного устройства в соответствии с вариантом осуществления изобретения,

- Фиг. 4 - вид в перспективе метки РЧИД медицинского инъекционного устройства в соответствии с вариантом осуществления изобретения,

- Фиг. 5A-5C - виды в перспективе и в частичном разрезе дискообразного кольца медицинского инъекционного устройства в соответствии с вариантом осуществления изобретения,

- Фиг. 6A-6E - виды в поперечном сечении, иллюстрирующие различные этапы сборки медицинского инъекционного устройства в соответствии с вариантом осуществления изобретения.

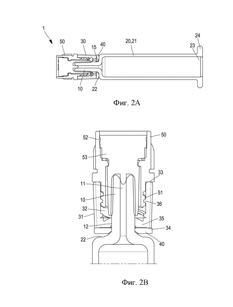
На фиг. 1, 2A и 2B показано инъекционное устройство 1 в соответствии с вариантом осуществления изобретения. Медицинское инъекционное устройство 1 содержит медицинский контейнер 20, такой как предварительно заполняемый или предварительно заполненный шприц, адаптер 30 для обеспечения соединения медицинского контейнера 20 с соединителем, таким как втулка иглы (не показана) или внутривенный катетер (не показан), и опорное кольцо, такое как дискообразное кольцо 40, содержащее метку 60 радиочастотной идентификации (РЧИД). Перед использованием, например, во время хранения или транспортировки, инъекционное устройство 1 может содержать узел 50 колпачка наконечника.

Медицинский контейнер 20 содержит трубчатый цилиндр 21, образующий резервуар для содержания лекарственного средства. Трубчатый цилиндр 21 может быть изготовлен из пластика или стеклянного материала. Как показано на фиг. 2A и 2B, цилиндр 21 имеет дистальный конец или плечо 22, снабженное дистальным наконечником 10, проходящим в продольном направлении вдоль продольной оси A, и противоположный открытый проксимальный конец 23, который может быть снабжен упором 24 для пальца. Открытый проксимальный конец 23 может принимать шток поршня (не показан) для проталкивания стопора (не показан), расположенного внутри трубчатого цилиндра 21, для вытеснения лекарственного средства, содержащегося в трубчатом цилиндре 21.

Дистальный наконечник 10 дистально выступает из дистального конца 22 трубчатого цилиндра 21. Дистальный наконечник 10 имеет осевой канал 11, сообщающийся по текучей среде с резервуаром, так что лекарственное средство вытесняется через канал 11. Дистальный наконечник 10 лишен иглы и, следовательно, должен принимать адаптер 30, позволяющий соединение дистального наконечника 10 с соединителем для доставки лекарственного средства пациенту. Как упоминалось выше, соединитель может быть втулкой иглы или внутривенным катетером. Дистальный наконечник 10 имеет проксимальную часть, выполненную с возможностью приема адаптера 30, причем эта проксимальная часть может содержать канавку 12 и/или ребра 13, 14 для закрепления адаптера 30 на ней посредством защелкивания, посадки с натягом или приклеивания. Как правило, дистальный наконечник 10 содержит два ребра 13, 14, между которыми расположена канавка 12. Дистальный наконечник 10 также содержит наиболее проксимальную часть 15, имеющую проксимально увеличивающийся диаметр, причем указанная наиболее проксимальная часть 15 соединяет дистальный наконечник 10 с дистальным плечом 22 цилиндра 21.

Адаптер 30 выполнен с возможностью позволять соединение соединителя с дистальным наконечником 10 медицинского контейнера 20 и прикреплять указанный соединитель к дистальному наконечнику 10. С этой целью адаптер 30 содержит трубчатый корпус 31, определяющий дистальный конец 33, проксимальный конец 34 и внутреннюю полость 32 для приема соединителя, причем эта внутренняя полость 32 содержит соединительный элемент, такой как внутренняя резьба 36, выполненный с возможностью зацепления с соответствующим соединительным элементом соединителя, таким как внешняя резьба или внешние крылья втулки иглы. Перед использованием эта внутренняя резьба 36 может входить в зацепление с внешней резьбой 51 узла 50 колпачка наконечника, как показано на фиг. 2B.

Адаптер 30 дополнительно содержит внутреннее кольцо 35, выступающее внутрь из внутренней стенки трубчатого корпуса 31. Внутреннее кольцо 35 выполнено с возможностью зацепления с проксимальной частью дистального наконечника 10 так, чтобы прикреплять адаптер 30 к дистальному наконечнику 10, например, путем приклеивания, защелкивания или силы трения. Например, внутреннее кольцо 35 может иметь упругие ножки, которые входят в зацепление с канавкой 12 дистального наконечника 10.

Метка 60 РЧИД выполнена с возможностью позволять индивидуальную идентификацию и отслеживание инъекционного устройства 1. С этой целью, как показано на фиг. 5A-5C, метка 60 РЧИД содержит чип 61 РЧИД, который имеет блок хранения, содержащий уникальный идентификатор устройства (UDI), и антенну 62 РЧИД. Чип 61 и антенна 62 РЧИД поддерживаются опорой, причем указанная опора выполнена в виде опорного кольца 40, такого как дискообразное кольцо.

Опорное кольцо 40 установлено вокруг дистального наконечника 10, на проксимальной части или предпочтительно на наиболее проксимальной части 15 дистального наконечника 10 и расположено между проксимальным концом 34 адаптера 30 и дистальным плечом 22 трубчатого цилиндра 21 так, что предотвращается удаление опорного кольца 40 во время транспортировки, хранения или использования инъекционного устройства 1.

Как видно на фиг. 3A, дискообразное опорное кольцо 40 образует центральное сквозное отверстие 41, позволяющее вставлять дистальный наконечник 10. Дискообразное опорное кольцо 40 может представлять собой полностью замкнутое кольцо (фиг. 5A, 5C) или разрезное кольцо (фиг. 5B). В случае разрезного кольца чип 61 РЧИД предпочтительно расположен диаметрально напротив разреза 42. Таким образом, антенна 62 РЧИД может быть симметричной относительно продольной плоскости, содержащей продольную ось A, чтобы максимизировать производительность.

Опорное кольцо 40 может иметь круглые наружный и внутренний края 43, 44. Как показано, например, на фиг. 3B, внутренний край 44 определяет внутренний диаметр d, который может быть меньше наружного диаметра дистального наконечника 10, так что метка 60 РЧИД прикреплена к дистальному наконечнику 10 предпочтительно с помощью посадки с натягом. Когда дискообразное кольцо 40 находится в канавке 12 дистального наконечника 10, внутренний диаметр d может быть меньше на величину от 0,05 мм до 0,4 мм наружного диаметра дистального наконечника 10. Когда дискообразное кольцо 40 находится над канавкой 12, где натяг максимальный, внутренний диаметр d может быть меньше на величину от 0,1 мм до 0,5 мм наружного диаметра дистального наконечника 10.

Следует также отметить, что внутренний край 44 опорного кольца 40 может содержать скос 49, расположенный на проксимальной стороне, причем этот скос 49 облегчает установку опорного кольца 40 на дистальный наконечник 10. Скос 49 также позволяет расположить опорное кольцо 40 как можно дальше в проксимальном направлении, то есть как можно ближе к цилиндру 21, так что опорное кольцо 40 не занимает слишком много осевого размера дистального наконечника 10. Чтобы дополнительно уменьшить осевой размер, взятый опорным кольцом 40 вдоль дистального наконечника 10, дискообразное кольцо 40 является плоским, то есть содержит дистальную поверхность 45 и противоположную проксимальную поверхность 46, которые предпочтительно ортогональны продольной оси A. Осевой размер w опорного кольца 40 может составлять от 0,5 мм до 1,5 мм.

Предполагается, что дистальная поверхность 45 дискообразной опоры также служит опорной поверхностью, выполненной с возможностью упираться в ближний конец 34 адаптера 30, чтобы опорное кольцо 40 толкалось в проксимальном направлении указанным адаптером 30 во время сборки инъекционного устройства 1. Наличие плоской дистальной поверхности 45 также позволяет распределять нагрузку на дискообразное кольцо 40, тем самым снижая риски повреждения метки 60 РЧИД во время сборки.

Как показано на фиг. 4, чтобы облегчить вставку дистального наконечника 10 через центральное отверстие 41, дискообразное кольцо 40 может иметь выступающие внутрь ножки 47, выполненные с возможностью незначительной деформации, когда метка 60 РЧИД скользит по дистальному наконечнику 10 во время сборки инъекционного устройства 1. Ножки 47 равномерно распределены в окружном направлении и могут быть разделены радиальными полостями 48. Эти ножки 47 также ограничивают деформацию чипа 61 и антенны 62 РЧИД во время сборки. Таким образом, риски повреждения ограничены.

Как показано на фиг. 3B, дискообразное кольцо 40 имеет наружный диаметр D, который равен или меньше наружного диаметра узла 50 колпачка наконечника (если таковой имеется), или цилиндра 21, или предпочтительно адаптера 30, более конкретно проксимального конца 34 адаптера 30, как показано на фиг. 2B. Предпочтительно наружный диаметр D опорного кольца 40 максимально приближен к наружному диаметру адаптера 30.

Метка 60 РЧИД может представлять собой метку РЧИД низкой частоты (около 30-300 кГц, предпочтительно 125-135 кГц и, более конкретно, 124 кГц, 125 кГц или 134 кГц) (НЧ-РЧИД), предпочтительно метку РЧИД высокой частоты (около 3-30 МГц) (ВЧ-РЧИД) или, более предпочтительно, метку РЧИД сверхвысокой частоты (около 400-1000 МГц) (СВЧ-РЧИД). Считыватель РЧИД может, например, считывать метку НЧ-РЧИД на расстоянии примерно до 10 см, метку ВЧ-РЧИД на расстоянии примерно одного метра и метку СВЧ-РЧИД на расстоянии примерно двенадцать метров. В одном варианте осуществления изобретения метка 60 РЧИД может представлять собой метку высокочастотной ближней бесконтактной связи (ВЧ-NFC) Частота обычно составляет около 13,56 МГц. В этом варианте осуществления считыватель NFC может, например, считывать метку ВЧ-NFC на расстоянии до нескольких сантиметров. ВЧ-NFC отличается от ВЧ-РЧИД тем, что может считываться смартфоном с функцией NFC. Метка 60 РЧИД может быть даже меткой Bluetooth.

Как показано на фиг. 5A-5C, антенна 62 может быть в форме одной петли (фиг. 5A), сложенной петли (фиг. 5B) или разрезанной петли (фиг. 5C). Антенна 62 в форме одной петли имеет два конца 63, соединенные, например, сваркой с чипом 61, и, таким образом, образует замкнутый контур. Антенна 62 в форме сложенной петли содержит две симметричные ветви 62a, 62b. Каждая из этих ветвей 62a, 62b имеет один конец 63a, 63b, соединенный, например, сваркой, с чипом 61, и свободный конец 64a, 64b, расположенный так, что ветвь 62a, 62b образует по меньшей мере одну складку 65 между этими двумя концами. Антенна 62 в форме разрезанной петли имеет две симметричные ветви 62a, 62b, каждая из этих ветвей 62a, 62b имеет один конец 63a, 63b, соединенный, например, сваркой, с чипом 61 и свободный конец 64a, 64b. Ветви 62a, 62b не образуют никакой складки 65 между этими двумя концами. В антенне 62 в форме сложенной петли и антенне 62 в форме разрезанной петли две ветви 62a, 62b проходят в другой половине дискообразного кольца 40 относительно продольной плоскости, включающей продольную ось A. В антенне 62 в форме сложенной петли и разрезанной петли опорное кольцо 40 40 может быть разрезным кольцом, а чип 61 и разрез 42, разделяющий кольцо 40, предпочтительно диаметрально противоположны.

В одном варианте осуществления опора, образованная дискообразным кольцом 40, заключает в себе чип 61 и антенну 62 РЧИД, чтобы защитить их от внешней среды. Например, чип 61 и антенна 62 РЧИД залиты с дискообразной опорой. В другом варианте осуществления опора, образованная дискообразным кольцом 40, представляет собой печатную плату (ПП), причем антенна 62 РЧИД непосредственно напечатана на этой ПП, предпочтительно на ее дистальной поверхности, а чип 61 РЧИД приварен к антенне 62.

Метка 60 РЧИД может содержать мокрую вкладку, сухую вкладку или чувствительную к давлению этикетку, прикрепленную к дискообразному кольцу 40.

Следует отметить, что дискообразное кольцо 40 предпочтительно выполнено из жесткого материала, такого как, например, полипропилен (ПП), полиэтилен (ПЭ), полиэтилентерефталат (ПЭТ), полистирол (ПС) или поликарбонат (ПК), тем самым ограничивая риски повреждения чипа 61 и антенны 62 РЧИД, когда опорное кольцо 40 установлено на дистальном наконечнике 10. Для предотвращения повреждений от высоких температур также используются термостойкие материалы, такие как керамика, нейлон или политетрафторэтилен (ПТФЭ), такие как Teflon®.

Как показано на фиг. 2B, узел 50 колпачка наконечника может содержать наружный колпачок 52, образующий полость для приема внутреннего колпачка 53. Наружный колпачок 52 выполнен из жесткого материала, в то время как внутренний колпачок 53 выполнен из упругого, более мягкого материала, чем наружный колпачок 52. Внутренний колпачок 53 предназначен для герметизации канала 11 дистального наконечника 10 медицинского контейнера. Наружный колпачок 52 имеет внешнюю резьбу 51, входящую в зацепление с внутренней резьбой 36 адаптера 30 так, чтобы прикреплять узел 50 колпачка наконечника к адаптеру 30 и к медицинскому контейнеру 20.

Способ сборки инъекционного устройства 1 согласно изобретению описан ниже со ссылкой на фиг. 6A-6E.

Опорное кольцо 40 сначала устанавливают на дистальный наконечник 10 инъекционного устройства 1 путем введения указанного дистального наконечника 10 в отверстие 41 дискообразного кольца 40 (фиг. 6A). Дискообразное кольцо 40 перемещается вниз в проксимальном направлении, предпочтительно под действием силы тяжести, до тех пор, пока его внутренний край 44 не войдет в контакт с внешней поверхностью дистального наконечника 10 (фиг. 6B). На этом этапе дискообразное кольцо 40 может быть заблокировано дистальным ребром 13 на дистальном конце канавки 12. Узел 50 колпачка наконечника и адаптер 30, которые уже соединены друг с другом посредством зацепления их резьб, затем устанавливают на дистальный наконечник 10, вставляя дистальный наконечник 10 через внутреннее кольцо 35 (фиг. 6C) адаптера 30. Проксимальный конец 34 адаптера 30 примыкает к дистальной поверхности 45 дискообразного кольца 40 (фиг. 6D), так что адаптер 30 толкает дискообразное кольцо 40 дальше в проксимальном направлении. Дискообразное кольцо 40 может слегка деформироваться, чтобы выходить за пределы дистального ребра 13, а затем скользит вдоль канавки 12 и двигается в направлении цилиндра 21 до тех пор, пока адаптер 30 не достигнет своего конечного положения, при этом адаптер 30 прикреплен к дистальному наконечнику 10, то есть когда внутреннее кольцо 35 адаптера 30 правильно помещается в канавку 12 дистального наконечника 10 (фиг. 6E). Дискообразное кольцо 40, содержащее метку 60 РЧИД, теперь заблокировано между адаптером 30 и цилиндром 21 и входит в зацепление с наиболее проксимальной частью 15 дистального наконечника 10. Кроме того, дискообразное кольцо 40 не может вращаться вокруг дистального наконечника 10 из-за посадки с натягом и, таким образом, остается неподвижным относительно дистального наконечника 10.

Похожие патенты RU2839035C2

название год авторы номер документа
Крышка для медицинского инъекционного устройства, способ ее изготовления и медицинское инъекционное устройство 2021
  • Ривье Седрик
  • Эврар Николя
  • Жуффрей Себастьян
  • Леббран Альфред
RU2827670C1
КОЛПАЧОК НАКОНЕЧНИКА МЕДИЦИНСКОГО ИНЪЕКЦИОННОГО УСТРОЙСТВА 2020
  • Ривье Седрик
RU2809606C2
АДАПТЕР ДЛЯ МЕДИЦИНСКОГО КОНТЕЙНЕРА, МЕДИЦИНСКИЙ КОНТЕЙНЕР, СОДЕРЖАЩИЙ УКАЗАННЫЙ АДАПТЕР, И СПОСОБ ИЗГОТОВЛЕНИЯ ЭТОГО МЕДИЦИНСКОГО КОНТЕЙНЕРА 2020
  • Ривье Седрик
  • Делёй Никола
  • Жуффрей Себастьян
RU2815469C2
КОЛПАЧОК НАКОНЕЧНИКА МЕДИЦИНСКОГО ИНЪЕКЦИОННОГО УСТРОЙСТВА 2020
  • Эврар Николя
RU2809570C2
ПЛАСТИКОВЫЙ ФЛАНЕЦ ДЛЯ МЕДИЦИНСКОГО КОНТЕЙНЕРА, МЕДИЦИНСКИЙ КОНТЕЙНЕР, ВКЛЮЧАЮЩИЙ ЭТОТ ПЛАСТИКОВЫЙ ФЛАНЕЦ, И СПОСОБ ИЗГОТОВЛЕНИЯ ЭТОГО МЕДИЦИНСКОГО КОНТЕЙНЕРА 2020
  • Ривье Седрик
RU2818830C2
Медицинский контейнер, содержащий метку RFID для удаленной идентификации этого медицинского контейнера 2021
  • Ривье Седрик
  • Эврар Николя
RU2841042C1
ИНТЕРФЕЙС МЕЖДУ НАСАДКОЙ И ВТУЛКОЙ ДЛЯ УСТРОЙСТВА, ПРЕДНАЗНАЧЕННОГО ДЛЯ ИНТРАДЕРМАЛЬНЫХ ИНЪЕКЦИЙ 2018
  • Цуккелли, Жереми
RU2775935C2
Переходник для устройства доставки лекарственных средств и устройство доставки лекарственных средств 2016
  • Флип Марк
  • Мий Фредди
RU2713371C2
АДАПТЕР И УСТРОЙСТВО ДЛЯ ПОДАЧИ ЛЕКАРСТВЕННОГО СРЕДСТВА 2010
  • Боззар Мишель
  • Гийяр Бенуа
RU2536825C1
СИСТЕМА СБОРА И СТАБИЛИЗАЦИИ БИОЛОГИЧЕСКИХ ЖИДКОСТЕЙ 2019
  • Эделхаузер, Адам
  • Уилкинсон, Брэдли, М.
RU2752601C1

Иллюстрации к изобретению RU 2 839 035 C2

Реферат патента 2025 года МЕДИЦИНСКОЕ ИНЪЕКЦИОННОЕ УСТРОЙСТВО И СПОСОБ СБОРКИ ТАКОГО ИНЪЕКЦИОННОГО УСТРОЙСТВА

Группа изобретений относится к медицинской технике. Инъекционное устройство содержит медицинский контейнер, включающий трубчатый цилиндр, проходящий вдоль продольной оси, образующий резервуар для содержания лекарственного средства и имеющий дистальное плечо и проксимальный конец. Дистальный наконечник выступает в продольном направлении из дистального плеча трубчатого цилиндра и определяет осевой канал, сообщающийся по текучей среде с резервуаром, так что лекарственное средство вытесняется через дистальный наконечник. Адаптер прикреплен к дистальному наконечнику и выполнен с возможностью соединения соединителя с дистальным наконечником. Опорное кольцо содержит метку радиочастотной идентификации для индивидуальной идентификации инъекционного устройства, содержащую чип РЧИД и антенну РЧИД. Опорное кольцо имеет отверстие для установки опорного кольца вокруг дистального наконечника так, что метка расположена между проксимальным концом адаптера и дистальным плечом цилиндра. Раскрыт способ сборки инъекционного устройства. Технический результат состоит в обеспечении индивидуальной идентификации медицинского инъекционного устройства с минимальным влиянием на визуальный осмотр и минимальным риском удаления или повреждения. 2 н. и 13 з.п. ф-лы, 6 ил.

Формула изобретения RU 2 839 035 C2

1. Инъекционное устройство, содержащее медицинский контейнер, включающий:

трубчатый цилиндр, проходящий вдоль продольной оси, образующий резервуар для содержания лекарственного средства и имеющий дистальное плечо и проксимальный конец,

дистальный наконечник, выступающий в продольном направлении из дистального плеча трубчатого цилиндра и определяющий осевой канал, сообщающийся по текучей среде с резервуаром, так что лекарственное средство вытесняется через дистальный наконечник,

адаптер, прикрепленный к дистальному наконечнику, выполненный с возможностью соединения соединителя с дистальным наконечником, и

опорное кольцо, содержащее метку радиочастотной идентификации для индивидуальной идентификации инъекционного устройства, содержащую чип РЧИД и антенну РЧИД, при этом опорное кольцо имеет отверстие для установки опорного кольца вокруг дистального наконечника так, что метка расположена между проксимальным концом адаптера и дистальным плечом цилиндра.

2. Инъекционное устройство по п. 1, отличающееся тем, что внутренний диаметр отверстия опорного кольца меньше наружного диаметра дистального наконечника.

3. Инъекционное устройство по любому из пп. 1 или 2, отличающееся тем, что наружный диаметр опорного кольца равен или меньше наружного диаметра адаптера.

4. Инъекционное устройство по любому из пп. 1-3, отличающееся тем, что опорное кольцо определяет дистальную опорную поверхность, выполненную с возможностью упираться в проксимальный конец адаптера.

5. Инъекционное устройство по любому из пп. 1-4, отличающееся тем, что опорное кольцо имеет плоскую дистальную поверхность и плоскую противоположную проксимальную поверхность и проходит в плоскости, ортогональной продольной оси.

6. Инъекционное устройство по любому из пп. 1-5, отличающееся тем, что опорное кольцо прикреплено к наиболее проксимальной части дистального наконечника.

7. Инъекционное устройство по любому из пп. 1-6, отличающееся тем, что опорное кольцо имеет скос, проходящий вокруг отверстия на его проксимальной поверхности.

8. Инъекционное устройство по любому из пп. 1-7, отличающееся тем, что опорное кольцо имеет внутренние радиальные ножки, образующие отверстие и выполненные с возможностью крепления опорного кольца к дистальному наконечнику.

9. Инъекционное устройство по любому из пп. 1-8, отличающееся тем, что антенна РЧИД и чип РЧИД встроены или залиты в опорное кольцо.

10. Инъекционное устройство по любому из пп. 1-8, в котором опорное кольцо представляет собой печатную плату, антенна РЧИД напечатана на указанной печатной плате, а чип РЧИД приварен к антенне РЧИД.

11. Инъекционное устройство по любому из пп. 1-10, отличающееся тем, что метка радиочастотной идентификации представляет собой метку низкочастотной радиочастотной идентификации, метку высокочастотной радиочастотной идентификации или метку сверхвысокочастотной радиочастотной идентификации.

12. Способ сборки инъекционного устройства по любому из пп. 1-11, характеризующийся тем, что опорное кольцо устанавливают на дистальный наконечник перед установкой адаптера на указанный дистальный наконечник, так что опорное кольцо, содержащее метку радиочастотной идентификации, расположено между проксимальным концом адаптера и дистальным концом цилиндра.

13. Способ по п. 12, отличающийся тем, что:

(i) насаживают отверстия опорного кольца на дистальный наконечник;

(ii) перемещают опорное кольцо в проксимальном направлении относительно дистального наконечника до контакта внутреннего диаметра опорного кольца с наружным диаметром дистального наконечника;

(iii) проталкивают опорное кольцо в проксимальном направлении для перемещения в канавку дистального наконечника; и

(iv) прикрепляют адаптер к дистальному наконечнику.

14. Способ по п. 13, отличающийся тем, что проксимальное перемещение опорного кольца относительно дистального наконечника на этапе (ii) осуществляют под действием силы тяжести.

15. Способ по любому из пп. 13 или 14, отличающийся тем, что этап (iii) содержит проталкивание опорного кольца далее в проксимальном направлении проксимальным концом адаптера, упирающимся в опорное кольцо, до конечного положения адаптера относительно дистального наконечника.

Документы, цитированные в отчете о поиске Патент 2025 года RU2839035C2

US 20210236736 A, 05.08.2021
US 20190217018 A1, 18.07.2019
US 20170172701 A1, 22.06.2017
US 20140276213 A1, 18.09.2014
WO 2020260298 A1, 30.12.2020
RU 2015101579 A, 20.08.2016.

RU 2 839 035 C2

Авторы

Эврар Николя

Леббран Альфред

Даты

2025-04-25Публикация

2022-09-30Подача