ОБЛАСТЬ ТЕХНИКИ
[0001] Настоящая заявка относится к технической области устройств для формирования изображений, в частности к блоку лазерного сканирования и устройству для формирования изображений.
ПРЕДПОСЫЛКИ СОЗДАНИЯ ИЗОБРЕТЕНИЯ
[0002] Блок лазерного сканирования (далее в данном документе называемый LSU) широко используется в устройстве для формирования изображений, таком как лазерный принтер, и его главный эффект заключается в излучении лазерного света на фоточувствительный узел лазерного принтера для формирования скрытого электростатического изображения на фоточувствительном узле. LSU в основном содержит: устройство излучения луча света для излучения луча света; отклоняющее устройство для отклонения луча света, излучаемого устройством излучения луча света, в оптическую систему сканирования; и оптические системы сканирования, предусмотренные между отклоняющим устройством и фоточувствительным узлом, где каждая оптическая система сканирования использует луч света, отклоненный отклоняющим устройством, для выполнения сканирования на поверхности для сканирования фоточувствительного узла. Когда фоточувствительный узел сканируется с помощью луча света из LSU, на поверхности для сканирования фоточувствительного узла формируется скрытое электростатическое изображение, и скрытое электростатическое изображение может быть преобразовано в фактическое изображение путем использования носителя, такого как угольный порошок.
[0003] В настоящее время лазерные принтеры развиваются в направлении достижения высокого качества и высокой точности. Качество LSU, являющегося ключевым компонентом лазерного принтера, непосредственно влияет на точность изображения принтера. Из-за ошибок установки внутренних компонентов LSU и конструкции формы изгиба оптической линзы скрытое электростатическое изображение линии сканирования, формируемое LSU на поверхности фоточувствительного узла, представляет собой не прямую линию, а изогнутую прямую линию с выступом или углублением в его центре. Следовательно, это будет влиять на качество и точность изображения.
[0004] Существующее техническое решение заключается в предоставлении механизма регулировки изгиба на последнем отражающем зеркале LSU, чтобы регулировать степень изгиба отражающего зеркала, тем самым корректируя степень изгиба линии сканирования.
[0005] Особенно в цветном LSU, поскольку внутреннее пространство LSU ограничено, могут быть различия в углах установки отражающих зеркал для четырех оптических путей KCMY. В то же время из-за ошибок установки внутренних компонентов LSU и конструкции формы изгиба оптической линзы, когда отражающие зеркала для четырех оптических путей KCMY используют один и тот же механизм регулировки изгиба, давление, оказываемое механизмом регулировки изгиба на отражающие зеркала, может быть разным, так что трудно регулировать степень изгиба, чтобы гарантировать то, что величины деформации отражающих зеркал для четырех оптических путей KCMY будут одинаковыми.
[0006] Следовательно, существует необходимость в техническом решении для решения вышеупомянутых проблем.
СУЩНОСТЬ ИЗОБРЕТЕНИЯ
[0007] Чтобы решить существующие технические проблемы предшествующего уровня техники, целью настоящего изобретения является предоставление блока лазерного сканирования для решения технических проблем, рассмотренных выше.
[0008] Для достижения цели в настоящем изобретении приняты следующие технические решения.
[0009] Блок лазерного сканирования, содержащий:
множество устройств излучения лазерных лучей для излучения множества лазерных лучей;
отклоняющее устройство, выполненное с возможностью отклонения множества лазерных лучей, излучаемых множеством устройств излучения лазерных лучей, для выполнения сканирования на множестве поверхностей, подлежащих сканированию; и
множество оптических систем сканирования для направления множества лазерных лучей от отклоняющего устройства на множество поверхностей, подлежащих сканированию, причем каждая оптическая система сканирования содержит по меньшей мере один оптический элемент, где
один оптический элемент в одной из оптических систем сканирования обозначен как основной оптический элемент, а каждый оптический элемент в остальных оптических системах сканирования обозначен как вспомогательный оптический элемент,
как основной оптический элемент, так и вспомогательный оптический элемент способны направлять лазерные лучи, отклоненные отклоняющим устройством, к поверхностям, подлежащим сканированию, и каждый из основного оптического элемента и вспомогательного оптического элемента снабжен несущим компонентом для поддержания участка вблизи концевой части каждого из основного оптического элемента и вспомогательного оптического элемента в направлении его длины, прижимным компонентом, взаимодействующим с несущим компонентом для прижатия каждого из основного оптического элемента и вспомогательного оптического элемента к несущему компоненту, и механизмом регулировки изгиба для регулировки степени изгиба каждого из основного оптического элемента и вспомогательного оптического элемента, причем несущий компонент содержит опорный компонент для поддержки основного оптического элемента или вспомогательного оптического элемента, и
разность углов установки между основным оптическим элементом и каждым вспомогательным оптическим элементом составляет θn, минимальное расстояние от точки действия механизма регулировки изгиба на основном оптическом элементе до центральной точки соответствующего опорного компонента составляет Sk, и минимальное расстояние от точки действия механизма регулировки изгиба на каждом вспомогательном оптическом элементе до центральной точки соответствующего опорного компонента составляет Sn,
.
[0010] Предпочтительно
.
[0011] Предпочтительно Sk = Sn.
[0012] Предпочтительно
.
[0013] Предпочтительно
.
[0014] Предпочтительно количество опорных компонентов составляет два, и механизм регулировки изгиба расположен снаружи двух опорных компонентов на основном оптическом элементе или вспомогательном оптическом элементе; или механизм регулировки изгиба расположен между двумя опорными компонентами на основном оптическом элементе или вспомогательном оптическом элементе.
[0015] Предпочтительно как основной оптический элемент, так и вспомогательный оптический элемент представляют собой отражающие зеркала, выполненные с возможностью отражения лазерных лучей.
[0016] Предпочтительно основной оптический элемент и вспомогательный оптический элемент соответствуют друг другу по форме и конструкции.
[0017] Предпочтительно механизм регулировки изгиба содержит регулировочную пружину для прижатия основного оптического элемента или вспомогательного оптического элемента, регулировочная пружина снабжена второй действующей частью для действия на основном оптическом элементе или вспомогательном оптическом элементе, и вторая действующая часть имеет точку действия для действия на основном оптическом элементе или вспомогательном оптическом элементе.
[0018] Предпочтительно механизм регулировки изгиба содержит регулировочный винт для регулировки давления регулировочной пружины и установочный компонент для установки регулировочного винта.
[0019] В настоящем изобретении также предоставлено устройство для формирования изображений, содержащее описанный выше блок лазерного сканирования.
[0020] Для блока лазерного сканирования в настоящем изобретении благодаря проектированию положений механизма регулировки изгиба на множестве оптических элементов и угла установки оптических элементов сложность регулировки механизма регулировки изгиба оптических элементов в блоке лазерного сканирования была уменьшена, так что оптические элементы имеют одинаковую величину деформации при регулировке изгиба и прикладывают по существу одинаковую силу при использовании одного и того же механизма регулировки изгиба, то есть величина регулировки регулировочного винта в основном одинакова, что уменьшает разницу между величинами регулировки соответствующих регулировочных винтов и повышает точность коррекции изгиба.
КРАТКОЕ ОПИСАНИЕ ГРАФИЧЕСКИХ МАТЕРИАЛОВ
[0021] Для того, чтобы более четко проиллюстрировать технические решения в вариантах осуществления настоящей заявки, для прилагаемых графических материалов, необходимых для вариантов осуществления, будет приведено краткое описание. Разумеется, в прилагаемых графических материалах в нижеследующем описании представлены лишь некоторые варианты осуществления настоящей заявки, и специалисты в данной области техники могут также получать другие графические материалы на основании этих графических материалов без творческих усилий.
[0022] На фиг. 1 представлен вид в поперечном разрезе устройства для формирования изображений в настоящем изобретении.
[0023] На фиг. 2 представлена схема компонентов блока лазерного сканирования в направлении вспомогательного сканирования в настоящем изобретении.
[0024] На фиг. 3 представлено схематическое изображение компоновки оптических путей блока лазерного сканирования в направлении главного сканирования в настоящем изобретении.
[0025] На фиг. 4 представлена первая схема состояния изгиба линии сканирования в настоящем изобретении.
[0026] На фиг. 5 представлена вторая схема состояния изгиба линии сканирования в настоящем изобретении.
[0027] На фиг. 6 представлено структурное схематическое изображение второго отражающего зеркала в настоящем изобретении.
[0028] На фиг. 7 представлен вид в разрезе прижимного компонента по фиг. 6, который выполнен вдоль направления A-A.
[0029] На фиг. 8 представлен вид в разрезе механизма регулировки изгиба по фиг. 6, который выполнен вдоль направления B-B.
[0030] На фиг. 9 представлено схематическое изображение положения I второго отражающего зеркала для установки механизма регулировки изгиба в настоящем изобретении.
[0031] На фиг. 10 представлено схематическое изображение положения II второго отражающего зеркала для установки механизма регулировки изгиба в настоящем изобретении.
[0032] На фиг. 11 представлено схематическое изображение силы, прикладываемой к поперечному сечению второго отражающего зеркала в настоящем изобретении.
[0033] На фиг. 12 представлено первое структурное схематическое изображение второго отражающего зеркала, когда оно подвергается воздействию силы, находящейся снаружи двух опорных компонентов, в настоящем изобретении.
[0034] На фиг. 13 представлено второе структурное схематическое изображение второго отражающего зеркала, когда оно подвергается воздействию силы, находящейся снаружи двух опорных компонентов, в настоящем изобретении.
[0035] На фиг. 14 представлено первое структурное схематическое изображение второго отражающего зеркала, когда оно подвергается воздействию силы, находящейся между двумя опорными компонентами, в настоящем изобретении.
[0036] На фиг. 15 представлено второе структурное схематическое изображение второго отражающего зеркала, когда оно подвергается воздействию силы, находящейся между двумя опорными компонентами, в настоящем изобретении.
ОПИСАНИЕ ВАРИАНТОВ ОСУЩЕСТВЛЕНИЯ
[0037] Настоящее изобретение подробно описано далее в настоящем документе со ссылкой на прилагаемые графические материалы. Разумеется, описанные варианты осуществления являются лишь некоторыми, а не всеми, вариантами осуществления настоящего изобретения. Основываясь на вариантах осуществления настоящего изобретения, все другие варианты осуществления, полученные специалистами в данной области техники на основе вариантов осуществления настоящего изобретения без творческих усилий, входят в объем правовой охраны настоящего изобретения.
[0038] Следует отметить, что такие термины, как «первый», «второй» и т. д. используются только для описания и не могут пониматься как указывающие или подразумевающие относительную важность или неявно указывающие на количество указанных технических признаков. Следовательно, признаки, определенные с помощью терминов «первый» и «второй», могут явно или неявно включать по меньшей мере один из этих признаков. В описании настоящего изобретения «множество» означает по меньшей мере два, например два, три и т. д., если конкретно не определено иное.
[0039] В настоящей заявке, если не указано или не определено иное, термины «устанавливать», «соединять» и «фиксировать» следует понимать в более широком смысле, например, это может быть стационарное соединение, разъемное соединение или встроенное соединение; или это может быть механическое соединение, а также может быть электрическое соединение или связь друг с другом; или это может быть прямое соединение или непрямое соединение через промежуточное средство; или это может быть внутренняя связь двух элементов или отношения взаимодействия двух элементов, если не указано иное. Специалисты в данной области техники могут понимать конкретные значения приведенных выше в настоящей заявке терминов, исходя из конкретных обстоятельств.
[0040] В настоящем изобретении, если не указано или не определено иное, формулировка «множество» включает число два как таковое, и то, что первый признак находится «на/выше» или «под/ниже» второго признака может означать, что первый признак находится в прямом контакте со вторым признаком, или первый признак находится в непрямом контакте со вторым признаком через промежуточное средство. Кроме того, то, что первый признак находится «над», «выше» или «на» втором признаке, может означать, что первый признак находится прямо или под углом выше второго признака, или может просто означать, что горизонтальная высота первого признака больше, чем горизонтальная высота второго признака. То, что первый признак находится «под», «ниже» или «внизу» второго признака, может означать, что первый признак находится прямо или под углом ниже второго признака, или может просто означать, что горизонтальная высота первого признака меньше, чем горизонтальная высота второго признака.
[0041] В приведенном выше описании описание, относящееся к терминам «вариант осуществления», «некоторые варианты осуществления», «пример», «конкретный пример», или «некоторые примеры», означает, что конкретные признаки, конструкции, материалы или характеристики, описанные в связи с вариантом осуществления или примером, включены в по меньшей мере один вариант осуществления или пример настоящей заявки. В техническом описании настоящей заявки схематические выражения вышеуказанных терминов не обязательно относятся к одному и тому же варианту осуществления или примеру. Кроме того, описанные выше конкретные признаки, конструкции, материалы или характеристики могут быть объединены подходящим образом в любом одном или более вариантах осуществления или примерах. Кроме того, специалисты в данной области техники могут включать и комбинировать разные варианты осуществления или примеры, описанные в техническом описании, а также признаки разных вариантов осуществления или примеров без противоречия между ними.
[0042] На фиг. 1 показано общее структурное схематическое изображение блока лазерного сканирования в настоящем изобретении.
[0043] Блок лазерного сканирования предусмотрен в устройстве для формирования изображений и выполнен с возможностью выполнения сканирования заряженного светочувствительного узла в устройстве для формирования изображений для формирования скрытого электростатического изображения.
[0044] Как показано на фиг. 1, устройство 600 для формирования изображений на примере устройства 600 для формирования цветных изображений содержит блок 100 цветного лазерного сканирования (т. е. LSU, в котором компоновка оптических путей LSU не ограничена, а линзы и отражающие зеркала, расположенные на разных оптических путях, и их количество и положение, также могут быть разными), узел 200 формирования изображений, передаточную ленту 300 и узел 400 термозакрепления. Устройство 600 для формирования цветных изображений обычно снабжено четырьмя съемно установленными узлами 200 формирования изображений (такими как проявочный картридж), а именно узлами 200 формирования изображений черного (K), пурпурного (M), голубого (C) и желтого (Y) цветов соответственно. Передаточная лента 300 содержит первый передаточный валик 310 и второй передаточный валик 320. Принцип работы передаточной ленты 300 заключается в следующем: угольный порошок хранится внутри узла 200 формирования изображений, а узел 200 формирования изображений снабжен фоточувствительным узлом 210; блок 100 лазерного сканирования излучает множество лазерных лучей, и каждый лазерный луч сканирует фоточувствительный узел 210 внутри узла 200 формирования изображений, соответствующий одному цвету, чтобы сформировать скрытое электростатическое изображение на поверхности фоточувствительного узла 210; зарядный валик 230 предусмотрен в устройстве 600 для формирования изображений и расположен в положении, которое является касательным к фоточувствительному узлу 210, и отвечает за зарядку поверхности фоточувствительного узла 210, чтобы поддерживать разность потенциалов фоточувствительного узла 210; узел 200 формирования изображений дополнительно снабжен проявочным валиком 220, который отвечает за прикрепление угольного порошка к поверхности фоточувствительного узла 210 для преобразования скрытого электростатического изображения в изображение; первый передаточный валик 310 отвечает за перенос изображения с поверхности фоточувствительного узла 210 на передаточную ленту 300, второй передаточный валик 320 отвечает за перенос изображения с передаточной ленты 300 на бумагу, и изображение на бумаге нагревают и закрепляют на бумаге с помощью узла 400 термозакрепления; бумага P транспортируется от валика 610 для подачи бумаги к валику 620 для транспортировки бумаги, затем от валика 620 для транспортировки бумаги ко второму передаточному валику 320, затем к узлу 400 термозакрепления и, наконец, выгружается валиком 630 для выгрузки бумаги, тем самым завершая процесс печати.
[0045] Конкретная конструкция и режим работы устройства 600 для формирования изображений известны из уровня техники и не будут повторяться здесь. В настоящей заявке раскрыты только конструкция и процесс работы блока 100 лазерного сканирования. Разумеется, устройство 600 для формирования изображений не ограничивается вышеуказанной конструкцией.
[0046] Далее основное внимание будет уделено конструкции и принципу работы блока 100 лазерного сканирования, но не в качестве ограничения.
[0047] Со ссылкой на фиг. 2, блок 100 лазерного сканирования снабжен оптической системой сканирования, соответствующей каждому фоточувствительному узлу 210. Направление, параллельное поверхности, подлежащей сканированию, фоточувствительного узла 210, определено как направление главного сканирования, и направление, перпендикулярное поверхности, подлежащей сканированию, фоточувствительного узла 210, определено как направление вспомогательного сканирования.
[0048] Как показано на фиг. 2 и 3, блок 100 лазерного сканирования имеет устройство 160 излучения лазерных лучей для излучения лазерных лучей, коллимирующую линзу 170 и цилиндрическую линзу 180 для направления лазерных лучей, излучаемых устройством 160 излучения лазерных лучей, на отклоняющее устройство 110, причем отклоняющее устройство 110 имеет множество отражающих поверхностей для отклонения лазерных лучей, и оптическую систему сканирования для направления лазерных лучей от отклоняющего устройства 110 на множество поверхностей, подлежащих сканированию. Предпочтительно оптическая система сканирования содержит первую сканирующую линзу 120 и вторую сканирующую линзу 130, которые фокусируют лазерные лучи, отклоненные отклоняющим устройством 110, а также первое отражающее зеркало 140 и второе отражающее зеркало 150, которые отражают сфокусированные лазерные лучи в направлении фоточувствительного узла 210, при этом первое отражающее зеркало 140 и второе отражающее зеркало 150 выполнены с возможностью принимать направление главного сканирования, в котором лазерный луч выполняет сканирование, в качестве направления длины.
[0049] В частности, в этом варианте осуществления устройство 600 для формирования изображений снабжено четырьмя узлами 200 формирования изображений, то есть внутри устройства 600 для формирования изображений предусмотрены четыре фоточувствительных узла 210. Следовательно, в блоке 100 лазерного сканирования количество каждого из устройства 160 излучения лазерных лучей, коллимирующей линзы 170, цилиндрической линзы 180, второй сканирующей линзы 130, первого отражающего зеркала 140 и второго отражающего зеркала 150 составляет четыре, и количество первых сканирующих линз 120 составляет два. В процессе работы блока 100 лазерного сканирования данный блок 100 лазерного сканирования излучает четыре лазерных луча 101A, 101B, 101C, 101D четырьмя устройствами 160A, 160B, 160C, 160D излучения лазерных лучей; четыре лазерных луча фокусируются коллимирующими линзами 170A, 170B, 170C, 170D и цилиндрическими линзами 180A, 180B, 180C, 180D на отражающие поверхности отклоняющего устройства 110 соответственно, а затем отклоняются отклоняющим устройством 110. После отклонения отклоняющим устройством 110 лазерные лучи соответственно фокусируются первыми сканирующими линзами 120А и 120В, отражаются первыми отражающими зеркалами 140А, 140В, 140С, 140D, фокусируются вторыми сканирующими линзами 130А, 130В, 130С, 130D, а затем отражаются на фоточувствительные узлы 210A, 210B, 210C, 210D вторыми отражающими зеркалами 150A, 150B, 150C, 150D; поверхности, подлежащие сканированию, фоточувствительного узла 210 подвергаются воздействию, за счет чего формируется скрытое электростатическое изображение на фоточувствительном узле 210. При этом после отклонения отклоняющим устройством 110 прямые линии 102A, 102B, 102C, 102D, перпендикулярные падающим лазерным лучам 101A, 101B, 101C, 101D, определяются как центры оптических путей соответственно.
[0050] Как показано на фиг. 3, 4 и 5, оптический путь падает под углом на первую сканирующую линзу 120 после отклонения отклоняющим устройством 110. Поскольку первая сканирующая линза 120 выполнена таким образом, что имеет дугообразную форму в направлении главного сканирования, существует разница в падающих оптических путях между крайним положением и средним положением первой сканирующей линзы 120 в направлении вспомогательного сканирования, что приводит к разным преломляющим способностям первой сканирующей линзы 120 для оптических путей и в конечном итоге приводит к тому, что линия L сканирования не может образовывать прямую линию, а имеет изогнутую форму. В соответствии с разными направлениями падения оптических путей и разным количеством случаев отклонения оптических путей отражающими зеркалами состояние изгиба линии сканирования может демонстрировать два состояния, как показано на фиг. 4 и 5. Однако в цветном принтере необходимо, чтобы четыре линии K/M/C/Y сканирования имели одинаковую степень изгиба и были как можно более прямыми. Следовательно, блоку 100 лазерного сканирования необходимо регулировать второе отражающее зеркало 150, чтобы сделать линии сканирования по существу прямыми.
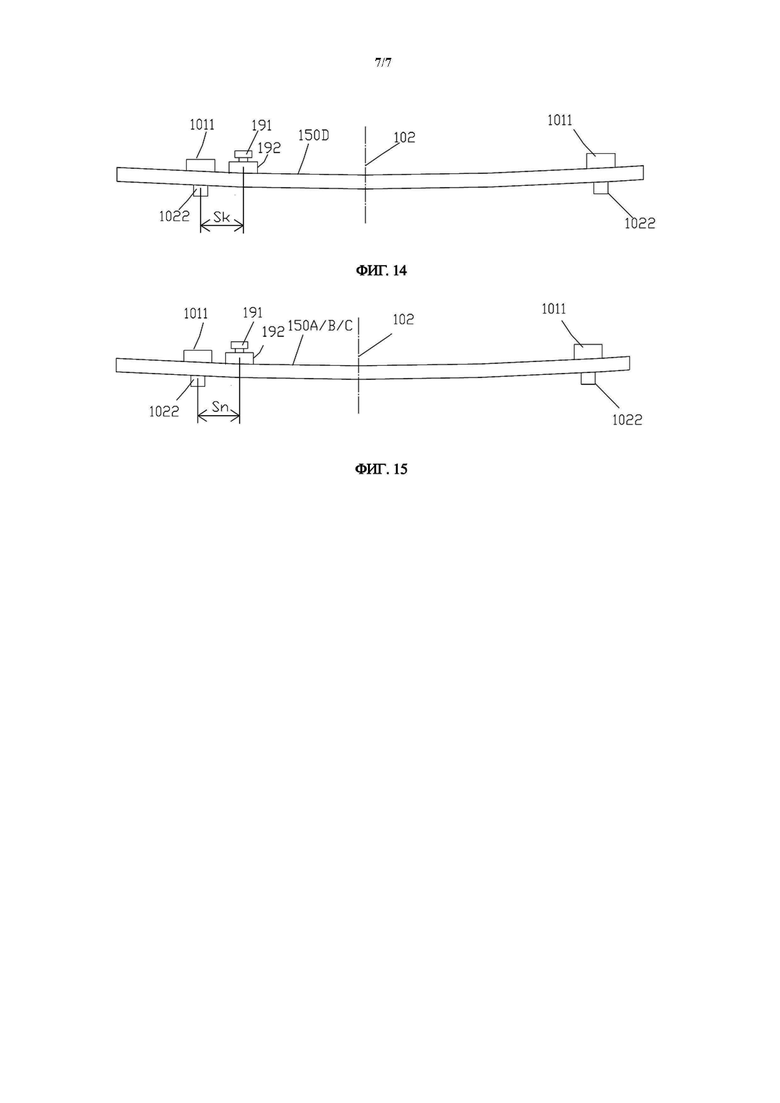
[0051] Далее основное внимание будет уделено конструкции и рабочему состоянию второго отражающего зеркала 150.
[0052] Со ссылкой на фиг. 6–8, блок 100 лазерного сканирования снабжен монтажной рамой 103 лазерного сканирования, выполненной с возможностью установки устройства 160 излучения лазерных лучей, коллимирующей линзы 170, цилиндрической линзы 180, отклоняющего устройства 110, первой сканирующей линзы 120, второй сканирующей линзы 130, первого отражающего зеркала 140 и второго отражающего зеркала 150. Несущий компонент для установки второго отражающего зеркала 150 предусмотрен в монтажной раме 103 лазерного сканирования, и поперечное сечение второго отражающего зеркала 150 имеет прямоугольную форму с отражающей поверхностью 150a, которая отражает лазерный луч, и прилегающими к ней поверхностями 150b. Для обеспечения возможности отклонения лазерного луча на фоточувствительный узел 210 вторым отражающим зеркалом 150 данное второе отражающее зеркало 150 расположено наклонно на несущем компоненте. В частности, в этом варианте осуществления несущий компонент содержит опорный компонент 1022 и опорный конец 1021, и два конца второго отражающего зеркала 150 соответственно опираются на несущие компоненты, причем каждый несущий компонент состоит из опорного компонента 1022 и опорного конца 1021. Предпочтительно опорный компонент 1022 является по существу трапециевидным и имеет наклонную поверхность 1022а. Когда второе отражающее зеркало 150 установлено, участки вблизи двух концевых частей отражающей поверхности 150а второго отражающего зеркала 150 в направлении длины зеркала размещены на наклонных поверхностях 1022а двух опорных компонентов 1022, и поверхность 150b, прилегающая к отражающей поверхности 150а, размещена на двух опорных концах 1021 и упирается в вершины 1021а опорных концов 1021, так что для второго отражающего зеркала 150 достигается расположение его нижней части. Таким путем в двух точках в направлении длины нижняя часть второго отражающего зеркала 150 поддерживается двумя несущими компонентами и расположена наклонно.
[0053] Кроме того, каждое из вторых отражающих зеркал 150 установлено посредством несущего компонента. В частности, все участки вблизи двух концов каждого из четырех вторых отражающих зеркал 150 в направлении длины установлены посредством двух несущих компонентов.
[0054] Со ссылкой на фиг. 6–8, прижимные компоненты 101 предусмотрены в верхней части второго отражающего зеркала 150 в положениях, противоположных двум несущим компонентам соответственно. Соответственно, когда второе отражающее зеркало 150 установлено на несущих компонентах, оно дополнительно прижимается прижимным компонентом 101 в направлении несущего компонента, то есть второе отражающее зеркало 150 зажато между прижимным компонентом 101 и несущим компонентом при их взаимодействии с закреплением тем самым второго отражающего зеркала 150. В частности, в этом варианте осуществления прижимной компонент 101 содержит фиксирующий винт 1032 и фиксирующую пружину 1011, которая закрепляется фиксирующим винтом 1032. Соответственно, количество как прижимных компонентов 101, так и несущих компонентов составляет два. Фиксирующая пружина 1011 прижимного компонента 101 закрепляется на монтажной раме 103 лазерного сканирования фиксирующим винтом 1032, и фиксирующая пружина 1011 снабжена первой действующей частью 1011a выступающей формы, выполненной с возможностью прижатия задней поверхности отражающей поверхности 150а второго отражающего зеркала 150. Опорные концы 1021 и опорные компоненты 1022 предусмотрены непосредственно под положением, где фиксирующая пружина 1011 контактирует с отражающим зеркалом 150, и как опорный конец 1021, так и опорный компонент 1022 составляют единое целое с монтажной рамой 103 лазерного сканирования. Опорный компонент 1022 выполнен таким образом, что обращен точно к положению, в котором фиксирующая пружина 1011 прикладывает давление ко второму отражающему зеркалу 150, и центр опорного компонента 1022 совмещен с направлением давления фиксирующей пружины 1011 в направлении ширины второго отражающего зеркала 150, так что прижимной компонент 101 прижимает второе отражающее зеркало 150 в направлении опорного компонента 1022.
[0055] Как показано на фиг. 8–9, для регулировки второго отражающего зеркала 150 блок 100 лазерного сканирования дополнительно снабжен механизмом 190 регулировки изгиба, который действует на второе отражающее зеркало 150 и может регулироваться таким образом, чтобы регулировать степень изгиба второго отражающего зеркала 150.
[0056] Механизм 190 регулировки изгиба также предусмотрен в верхней части второго отражающего зеркала 150, аналогично прижимному компоненту 101; и механизм 190 регулировки изгиба расположен на той же стороне, что и прижимной компонент 101. В частности, в этом варианте осуществления механизм 190 регулировки изгиба содержит регулировочный винт 191, регулировочную пружину 192 и установочный компонент 193. Предпочтительно установочный компонент 193 представляет собой многосегментный изогнутый металлический лист, и регулировочный винт 191 установлен на установочном компоненте 193. Регулировочная пружина 192 снабжена второй действующей частью 192a, которая имеет точку действия для воздействия на второе отражающее зеркало 150, то есть точку действия механизма 190 регулировки изгиба. Установочный компонент 193 и регулировочная пружина 192 закреплены вместе на монтажной раме 103 лазерного сканирования посредством фиксирующего винта 1031, и установочный компонент 193 установлен над регулировочной пружиной 192. Вторая действующая часть 192а регулировочной пружины 192 обращена ко второму отражающему зеркалу 150 и может прикладывать давление ко второму отражающему зеркалу 150. За счет регулировки глубины ввинчивания регулировочного винта 191 данный регулировочный винт 191 на установочном компоненте 193 может прикладывать давление к регулировочной пружине 192, чтобы регулировать давление регулировочной пружины 192 на второе отражающее зеркало 150, тем самым регулируя степень изгиба второго отражающего зеркала 150 для регулировки линий сканирования.
[0057] Кроме того, как показано на фиг. 9 и 10, механизм 190 регулировки изгиба может быть установлен на стороне, близкой к центру оптического пути 102 относительно одной из фиксирующих пружин 1011, или может также быть установлен на стороне, удаленной от центра оптического пути 102 относительно одной из фиксирующих пружин 1011, чтобы обеспечить регулировку изгиба в разных направлениях. То есть механизм 190 регулировки изгиба может быть предусмотрен между двумя опорными компонентами 1022 или может быть расположен снаружи одного из двух опорных компонентов 1022.
[0058] Поскольку, когда блок 100 цветного лазерного сканирования снабжен четырьмя вторыми отражающими зеркалами 150, углы установки четырех вторых отражающих зеркал 150 могут быть разными, и давление пружины на отражающее зеркало также может быть разным, когда четыре вторых отражающих зеркала 150 регулируются тем же механизмом 190 регулировки изгиба. Следовательно, чтобы сделать более удобной регулировку четырех вторых отражающих зеркал 150, предусмотренных в блоке 100 лазерного сканирования, посредством механизма 190 регулировки изгиба и уменьшить сложность регулировки между четырьмя механизмами 190 регулировки изгиба, в этом варианте осуществления один из четырех вторых отражающих зеркал 150 (оптических элементов) обозначен как основной оптический элемент, а остальные три обозначены как вспомогательные оптические элементы. Разность углов установки между основным оптическим элементом и любым вспомогательным оптическим элементом составляет θn, минимальное расстояние от точки действия второй действующей части 192a механизма 190 регулировки изгиба на основном оптическом элементе до центральной точки опорного компонента 1022 составляет Sk, тогда как на любом вспомогательном оптическом элементе минимальное расстояние от точки действия второй действующей части 192a механизма 190 регулировки изгиба до центральной точки опорного компонента 1022 составляет Sn, тогда Sn удовлетворяет условию:
≤Sn≤
.
[0059] В частности, как показано на фиг. 11, в этом варианте осуществления с углом установки поверхности второго отражающего зеркала 150D (основного оптического элемента) в конце оптического пути K в блоке 100 лазерного сканирования в качестве базового в случае, если угол установки поверхности другого второго отражающего зеркала 150A, 150B, 150C (вспомогательного оптического элемента) на конце блока 100 лазерного сканирования на другом оптическом пути отличается от угла установки второго отражающего зеркала 150D (т. е. K) на θn (где n представляет собой C, M, Y), давление, прикладываемое регулировочной пружиной 192 вертикально к поверхности второго отражающего зеркала 150D в конце оптического пути K, равно F, когда оптический путь K подвергается регулировке изгиба, и давление, прикладываемое регулировочной пружиной 192 вертикально к поверхности другого второго отражающего зеркала 150A, 150B или 150C другого оптического пути C, M или Y, равно Fn, когда другой оптический путь (C, M или Y) подвергается регулировке изгиба, и регулировочная пружина 192 оказывает по существу такое же усилие. Как показано на фиг. 12 и 13, механизм 190 регулировки изгиба расположен снаружи опорного компонента 1022. Когда минимальное расстояние от точки действия усилия, оказываемого механизмом 190 регулировки изгиба второго отражающего зеркала 150D (основного оптического элемента) в конце оптического пути K на второе отражающее зеркало 150D, до центральной точки опорного компонента 1022 (центра опорного компонента 1022 вдоль направления длины отражающего зеркала) равно Sk, минимальное расстояние от точки действия усилия, оказываемого механизмом 190 регулировки изгиба второго отражающего зеркала 150A, 150B или 150C в конце оптического пути (C, M или Y) на второе отражающее зеркало 150A, 150B или 150C, до центральной точки опорного компонента 1022 (центра опорного компонента 1022 вдоль направления длины отражающего зеркала) равно Sn (n = C, M, Y). Чтобы сделать величину деформации каждого второго отражающего зеркала 150 одинаковой, используется по существу одинаковое усилие, и в то же время, чтобы избежать расширения объема LSU, соотношение между Sn и Sk ограничивается следующим образом:
≤Sn≤
.
[0060] В этот момент механизм 190 регулировки изгиба на каждом втором отражающем зеркале 150 выполняет регулировку по существу с одинаковым отклонением, так что деформация каждого второго отражающего зеркала 150 является одинаковой, за счет чего облегчается регулировка четырех вторых отражающих зеркал 150, предусмотренных в блоке 100 лазерного сканирования.
[0061] Кроме того, во избежание увеличения объема блока 100 лазерного сканирования, θn ограничивается следующим образом: 0°≤ θn ≤40°.
[0062] Кроме того, чтобы уменьшить сложность настройки положения механизма 190 регулировки изгиба на втором отражающем зеркале 150, оно ограничивается следующим образом: Sk = Sn и 0°≤ θn ≤40°.
[0063] Кроме того, чтобы избежать увеличения длины второго отражающего зеркала 150 и, таким образом, увеличения стоимости, а также во избежание увеличения объема LSU, отношение Sn к Sk ограничивается следующим образом: 0,6≤
≤1,4.
[0064] Кроме того, во избежание увеличения длины второго отражающего зеркала 150, Sk ограничивается следующим образом: 15 мм≤Sk≤25 мм.
[0065] На фиг. 14 и 15 показаны варианты осуществления, в которых механизм 190 регулировки изгиба, предусмотренный на втором отражающем зеркале 150, расположен между двумя опорными компонентами 1022, которые аналогичны вариантам осуществления, показанным на фиг. 12 и 13, за исключением того, что механизм 190 регулировки изгиба предусмотрен в другом положении второго отражающего зеркала 150, и его описание не будет повторяться здесь.
[0066] Как показано на фиг. 12 и 15, из-за конструкции оптического пути положения механизмов 190 регулировки изгиба на вторых отражающих зеркалах 150 на четырех оптических путях не все находятся на одной стороне опорного компонента 1022. В частности, механизм 190 регулировки изгиба для по меньшей мере одного оптического пути расположен снаружи опорного компонента 1022, а механизм 190 регулировки изгиба для по меньшей мере одного оптического пути предусмотрен в положении между двумя опорными компонентами 1022. В частности, механизм 190 регулировки изгиба второго отражающего зеркала 150D на оптическом пути K предусмотрен снаружи опорного компонента 1022, в то время как механизм 190 регулировки изгиба по меньшей мере одного второго отражающего зеркала 150A, 150B или 150C на оптическом пути C, M или Y предусмотрен в положении между двумя опорными компонентами 1022.
[0067] Кроме того, отражающее зеркало, снабженное механизмом 190 регулировки изгиба, не ограничивается вторым отражающим зеркалом на оптическом пути и предпочтительно является последним отражающим зеркалом в оптической системе сканирования вдоль направления распространения оптического пути.
[0068] Принцип работы заключается в следующем.
[0069] В настоящем изобретении, когда необходимо регулировать степень изгиба четырех линий сканирования в блоке 100 лазерного сканирования, фиксирующие винты 1031 могут регулироваться с помощью механизмов 190 регулировки изгиба на четырех вторых отражающих зеркалах 150, за счет чего достигается одновременная регулировка степени изгиба четырех линий сканирования.
[0070] В блоке лазерного сканирования в настоящем изобретении благодаря проектированию положений механизма регулировки изгиба на множестве вторых отражающих зеркал и углов установки вторых отражающих зеркал сложность регулировки вторых отражающих зеркал в блоке лазерного сканирования была уменьшена, так что отражающие зеркала имеют одинаковую величину деформации при регулировке изгиба и прикладывают по существу одинаковое усилие при использовании одной и той же конструкции регулировки изгиба, тем самым повышая точность коррекции изгиба и уменьшая сложность коррекции.
[0071] Вышеизложенное представляет собой лишь некоторые варианты осуществления настоящего изобретения. Для специалистов в данной области техники также могут быть внесены различные изменения и улучшения без отступления от идеи изобретения в настоящем изобретении, все из которых входят в объем правовой охраны настоящего изобретения.
Изобретение относится к области устройств для формирования изображений. Блок лазерного сканирования содержит множество устройств излучения лазерных лучей, отклоняющее устройство и множество оптических систем сканирования, которые содержат основной оптический элемент и вспомогательные оптические элементы. Каждый из основного оптического элемента и вспомогательных оптических элементов снабжен несущим компонентом для поддержания каждого из основного оптического элемента и вспомогательных оптических элементов, прижимным компонентом, взаимодействующим с несущим компонентом для прижатия каждого из основного оптического элемента и вспомогательного оптического элемента, и механизмом регулировки изгиба для регулировки степени изгиба каждого из основного оптического элемента и вспомогательного оптического элемента, при этом несущий компонент снабжен опорным компонентом. Разность углов установки между основным оптическим элементом и вспомогательным оптическим элементом составляет θn, минимальное расстояние от точки действия механизма регулировки изгиба на основном оптическом элементе до центральной точки опорного компонента составляет Sk, и минимальное расстояние от точки действия механизма регулировки изгиба на вспомогательном оптическом элементе до центральной точки опорного компонента составляет Sn, где
. Технический результат - упрощение регулировки и повышение точности коррекции изгиба. 2 н. и 8 з.п. ф-лы, 15 ил.
1. Блок лазерного сканирования, содержащий:
множество устройств излучения лазерных лучей для излучения множества лазерных лучей;
отклоняющее устройство, выполненное с возможностью отклонения множества лазерных лучей, излучаемых множеством устройств излучения лазерных лучей, для выполнения сканирования на множестве поверхностей, подлежащих сканированию; и
множество оптических систем сканирования для направления множества лазерных лучей от отклоняющего устройства на множество поверхностей, подлежащих сканированию, причем каждая оптическая система сканирования содержит по меньшей мере один оптический элемент, при этом
один оптический элемент в одной из оптических систем сканирования обозначен как основной оптический элемент, а каждый оптический элемент в остальных оптических системах сканирования обозначен как вспомогательный оптический элемент,
как основной оптический элемент, так и вспомогательный оптический элемент способны направлять лазерные лучи, отклоненные отклоняющим устройством, к поверхностям, подлежащим сканированию, и каждый из основного оптического элемента и вспомогательного оптического элемента снабжен несущим компонентом для поддержания участка вблизи концевой части каждого из основного оптического элемента и вспомогательного оптического элемента в направлении его длины, прижимным компонентом, взаимодействующим с несущим компонентом для прижатия каждого из основного оптического элемента и вспомогательного оптического элемента к несущему компоненту, и механизмом регулировки изгиба для регулировки степени изгиба каждого из основного оптического элемента и вспомогательного оптического элемента, причем несущий компонент содержит опорный компонент для поддержки основного оптического элемента или вспомогательного оптического элемента, и
разность углов установки между основным оптическим элементом и каждым вспомогательным оптическим элементом составляет
, минимальное расстояние от точки действия механизма регулировки изгиба на основном оптическом элементе до центральной точки соответствующего опорного компонента составляет Sk, и минимальное расстояние от точки действия механизма регулировки изгиба на каждом вспомогательном оптическом элементе до центральной точки соответствующего опорного компонента составляет Sn,
.
2. Блок лазерного сканирования по п. 1, отличающийся тем, что 


.
3. Блок лазерного сканирования по п. 2, отличающийся тем, что Sk=Sn.
4. Блок лазерного сканирования по п. 1, отличающийся тем, что
.
5. Блок лазерного сканирования по п. 1, отличающийся тем, что 15 мм≤Sk≤25 мм.
6. Блок лазерного сканирования по любому из пп. 1-5, отличающийся тем, что количество опорных компонентов составляет два и механизм регулировки изгиба расположен снаружи двух опорных компонентов на основном оптическом элементе или вспомогательном оптическом элементе или механизм регулировки изгиба расположен между двумя опорными компонентами на основном оптическом элементе или вспомогательном оптическом элементе.
7. Блок лазерного сканирования по любому из пп. 1-5, отличающийся тем, что как основной оптический элемент, так и вспомогательный оптический элемент представляют собой отражающие зеркала, выполненные с возможностью отражения лазерных лучей.
8. Блок лазерного сканирования по любому из пп. 1-5, отличающийся тем, что механизм регулировки изгиба содержит регулировочную пружину для прижатия основного оптического элемента или вспомогательного оптического элемента, регулировочная пружина снабжена второй действующей частью для действия на основном оптическом элементе или вспомогательном оптическом элементе и вторая действующая часть имеет точку действия для действия на основном оптическом элементе или вспомогательном оптическом элементе.
9. Блок лазерного сканирования по п. 8, отличающийся тем, что механизм регулировки изгиба содержит регулировочный винт для регулировки давления регулировочной пружины и установочный компонент для установки регулировочного винта.
10. Устройство для формирования изображений, содержащее блок лазерного сканирования по любому из пп. 1-9.
| US 2004032632 A1, 19.02.2004 | |||
| JPH 05346547 A, 27.12.1993 | |||
| US 2005062836 A1, 24.03.2005. |
Авторы
Даты
2025-04-28—Публикация
2024-10-31—Подача