Область техники
Изобретение относится к всасывающей головке, выполненной с возможностью применения в пылесосе и осуществления действия по очистке на поверхности, при этом всасывающая головка содержит кожух, который включает в себя соединительную область, выполненную с возможностью обеспечения соединения кожуха с источником всасывания воздуха пылесоса, и две щетки по существу в параллельном расположении в кожухе, при этом каждая из щеток выполнена с возможностью вращения вокруг оси вращения и взаимодействия с поверхностью, подлежащей очистке.
Кроме того, изобретение относится к беспроводному пылесосу, содержащему упомянутую всасывающую головку.
УРОВЕНЬ ТЕХНИКИ
Пылесосы известны тем, что удаляют грязь с поверхности, которая должна быть очищена. Термин "грязь", используемый в настоящем тексте, следует понимать как охватывающий любое загрязнение, которое может присутствовать на поверхности и которое может быть удалено под воздействием действия пылесоса, возможно, в сочетании с другим действием очистки, таким как мытье. Практические примеры в этом отношении включают пыль и мелкие частицы любого вида, а также влажные типы загрязнений, такие как пролитые напитки. Практическим примером поверхности, подлежащей очистке, является пол, причем пол может быть любого рода, таким как деревянный полом, ковровое покрытие, плиточный пол и т.п.
Как правило, пылесос имеет головку пылесоса или всасывающую головку, которая является частью пылесоса, в которой должен происходить фактический процесс улавливания грязи с поверхности, подлежащей очистке, и которая, следовательно, должна находиться на этой поверхности или по меньшей мере близко к ней. Кроме того, пылесос обычно содержит корпусную часть, включающую в себя область накопления грязи, и устройство, выполненное с возможностью воздействия на всасывающую головку таким образом, что во время работы пылесоса во всасывающей головке преобладает всасывающая сила. Всасывающая сила служит для способствования переносу грязи, собранной с поверхности во время работы пылесоса, к области накопления грязи, при этом грязь принуждена к прохождению через выпускное отверстие в кожухе всасывающей головки. Всасывающая сила также может выполнять функцию в фактическом процессе сбора грязи с поверхности. С другой стороны, всасывающая головка может быть оснащена по меньшей мере одним выполненным с возможностью перемещения компонентом для взаимодействия с поверхностью для сбора грязи, таким как по меньшей мере одна выполненная с возможностью вращения щетка, которая может служить в качестве ворошителя грязи и которая, в частности, может быть выполнена с возможностью способствования вытеснению грязи с поверхности и ее направления к выпускному отверстию.
В WO 2011/083373 А1 раскрыто чистящее устройство для удаления частиц с поверхности, содержащее распылительные средства для распыления капель рабочей текучей среды, выполненную с возможностью вращения щетку, имеющую гибкие щеточные элементы, впускное отверстие для приема загрязненного воздуха, такого как воздух, насыщенный частицами, и блок очистки. Блок очистки подходит для отделения по меньшей мере части капель рабочей текучей среды от воздуха. Во время работы выполненная с возможностью вращения щетка смачивается рабочей текучей средой. Щетка имеет такой размер и вращается с такой скоростью вращения, что капли рабочей текучей среды выбрасываются в виде тумана капель из гибких щеточных элементов в коалесцирующее пространство устройства. Загрязненный воздух, принимаемый впускным отверстием, может приниматься в коалесцирующее пространство с образованием коалесцированных частиц капель, выброшенных из щеточных элементов, и частиц в загрязненном воздухе, причем коалесцированные частицы могут передаваться из коалесцирующего пространства в блок очистки.
В WO 2012/107876 А1 раскрыто чистящее устройство, содержащее головку, имеющую открытую сторону для обращения к поверхностям, подлежащим очистке, и по меньшей мере одну щетку для контакта с поверхностями, подлежащими очистке, которая размещена с возможностью вращения в головке. Эта по меньшей мере одна щетка снабжена множеством волосков щетки, при этом указанные волоски щетки могут являться чрезвычайно мягкими и гибкими. В таком случае очищающее действие в отношении поверхности осуществляют не путем оттирания поверхности, а путем попеременного введения волосков щетки в контакт с поверхностью во время вращения щетки. В частности, во время одного оборота щетки волоски щетки удаляют частицы и/или капли жидкости с загрязненной поверхности и отбрасывают частицы и/или капли, когда они достигают положения, в котором они не контактируют с поверхностью, и в котором они могут быть полностью вытянуты. В головке чистящего устройства, в котором расположена щетка, имеются средства для приема частиц и/или капель и для возможного переноса частиц и/или капель в пространство, предназначенное для их сбора. Чистящее устройство может быть снабжено средствами для создания всасывающей силы в головке, чтобы направлять частицы и/или капли в желаемом направлении после их высвобождения из волосков щетки. Кроме того, чистящее устройство может быть выполнено с возможностью подачи чистящей жидкости на вращающуюся щетку для обеспечения прилипания частиц к волоскам щетки и/или достижения дополнительного чистящего эффекта на очищаемой поверхности.
В WO 2017/071727 А1 раскрыта головка пылесоса, содержащая кожух, имеющий зону вакуумной экстракции, и первый и второй ролики, выполненные с возможностью размещения на поверхности, подлежащей очистке, при этом каждый из первого и второго роликов выполнен с возможностью захвата грязи с поверхности и переноса грязи в зону вакуумной экстракции в кожухе головки пылесоса при вращении и перемещении по поверхности во время работы. Зона вакуумной экстракции образована между выпускным отверстием и первым и вторым роликами. Когда головка пылесоса используется в пылесосе, и пылесос работает, генерируется воздушный поток, проходящий через зону вакуумной экстракции к выпускному отверстию. Головка пылесоса также может содержать устройство выдачи жидкости для выдачи жидкости на поверхность, подлежащую очистке, при этом головка пылесоса также может содержать устройство выдачи жидкости для выдачи жидкости по меньшей мере на один из первого и второго роликов. Следовательно, возможно увлажнять поверхность, подлежащую очистке, для способствования удалению мусора с этой поверхности.
US 6030465 А раскрывает экстрактор для очистки ковра или аналогичных поверхности или материала. Экстрактор включает в себя кожух, ручку, систему подачи очищающей жидкости и систему восстановления очищающей жидкости. Система подачи очистительной жидкости включает в себя резервуар для подачи очистительной жидкости, первый и второй выровненные ворошители и самотечный питатель или насос для подачи очистительной жидкости из питающего резервуара для очистки. Система рекуперации чистящей жидкости включает в себя рекуперационное сопло, вакуумный генератор и бак рекуперации грязной чистящей жидкости. Экстрактор дополнительно включает в себя коллектор для приема очистительной жидкости из насоса и направления очистительной жидкости в ниппель, образованный между первым и вторым ворошителями. Приводной узел обеспечивает противовращение ворошителей таким образом, что относительное вращение ворошителей в зажиме находится в целом на удалении от коллектора и в направлении очищаемого ковра.
РАСКРЫТИЕ СУЩНОСТИ ИЗОБРЕТЕНИЯ
В целом, задача настоящего изобретения заключается в обеспечении мер, направленных на достижение хороших результатов действия пылесоса, выполняемого на поверхности. Кроме того, задача настоящего изобретения состоит в обеспечении мер, направленных на предотвращение загрязнения всасывающей головки.
С учетом вышеизложенного, изобретение обеспечивает всасывающую головку, выполненную с возможностью применения в пылесосе и осуществления действия по очистке на поверхности, при этом всасывающая головка содержит: кожух, который включает в себя соединительную область, выполненную с возможностью обеспечения соединения кожуха с источником всасывания воздуха пылесоса, две щетки по существу в параллельном расположении в кожухе, при этом каждая из щеток выполнена с возможностью вращения вокруг оси вращения и взаимодействия с поверхностью, подлежащей очистке, и смачивающее устройство, которое расположено и выполнено с возможностью обеспечения прямой подачи жидкости по меньшей мере из одного положения подачи жидкости по меньшей мере к одной области поверхности, подлежащей очистке, при этом по меньшей мере одно положение подачи жидкости находится в области между щетками и на уровне осей вращения щеток или ближе к уровню поверхности.
Из приведенного выше определения всасывающей головки в соответствии с настоящим изобретением следует, что настоящее изобретение включает в себя оснащение всасывающей головки смачивающим устройством, которое расположено и выполнено с возможностью обеспечения прямой подачи жидкости по меньшей мере из одного положения подачи жидкости по меньшей мере к одной области поверхности, подлежащей очистке, и что по меньшей мере одно положение подачи жидкости выбрано таким образом, чтобы находиться в области между щетками и на уровне осей вращения щеток или ближе к уровню поверхности. Таким образом, очищаемая поверхность смачивается контролируемым образом, при этом щетки смачиваются косвенным образом через контакт с поверхностью, так что нет необходимости в прямой подаче жидкости к щеткам, хотя это не исключено в контексте изобретения. Поскольку всасывающая головка обычно перемещается вперед и назад по поверхности, подлежащей очистке пользователем, наличие подачи жидкости в положении, которое находится между щетками, является достаточным и эффективным для обеспечения влажного состояния обеих щеток. За счет наличия по меньшей мере одного положения подачи жидкости на уровне осей вращения щеток или ближе к уровню поверхности достигается то, что нижняя сторона всасывающей головки может быть эффективно очищена прозрачной жидкостью. Целесообразно, если прямая подача жидкости по меньшей мере на одну область поверхности, подлежащей очистке, включает непрерывный или прерывистый поток жидкости или распыление жидкости, направленный по меньшей мере из одного положения подачи жидкости на всасывающей головке к по меньшей мере одной области. Смачивающее устройство может быть выполнено более или менее в качестве дополнения к существующей конструкции всасывающей головки, а также смачивающее устройство может быть выполнено более встроенным образом. Практическим примером жидкости является вода или смесь воды и чистящего средства.
В контексте изобретения по меньшей мере одно положение подачи жидкости может находиться на нижней части поверхности всасывающей головки, которая расположена и выполнена с возможностью обращена к поверхности, подлежащей очистке, на расстоянии по меньшей мере 2 мм и не более 6 мм от поверхности. Таким образом, может быть получен очищающий эффект на участке нижней поверхности, исходя из того, что участок нижней поверхности не подвергается воздействию грязи 11, отбрасываемой щетками 20, и возможности того, что жидкость преодолевает расстояние за счет поверхностного натяжения. Поддержание чистоты нижней части поверхности -это способ предотвращение загрязнения всасывающей головки и, таким образом, также полезно для оптимизации результатов очистки поверхности, подлежащей очистке, поскольку не может быть никакого загрязнения чистой поверхностной части всасывающей головки на поверхности.
В практическом варианте осуществления всасывающей головки согласно изобретению смачивающее устройство расположено и выполнено с возможностью обеспечения прямой подачи жидкости по меньшей мере из двух положений подачи жидкости, распределенных по всасывающей головке в направлении, в котором проходят оси вращения щеток. Наличие упомянутого распределения положений подачи жидкости является фактором, обеспечивающим достаточное увлажнение щеток без каких-либо сухих или почти сухих областей, которые могут сделать очищающее действие менее эффективным.
В соответствии с обеспечивающим преимущество вариантом всасывающая головка содержит удлиненный промежуточный компонент, который расположен в области между щетками и который необязательно содержит два участка, выполненных с возможностью покрытия участков щеток. Практично, если в местоположении его верхней стороны удлиненный промежуточный компонент подвешен к участку кожуха всасывающей головки. Покрытие как можно большего количества щеток, предпочтительно на очень близком расстоянии, является предпочтительным, когда речь идет об эффективном задействовании силы всасывания во всасывающей головке. Удлиненный промежуточный компонент может составлять единое целое с кожухом или может быть выполнен в виде отдельного компонента, который может быть соединен с возможностью разъединения с другим компонентом кожуха, например, для обеспечения возможности ремонта или очистки. С одной стороны, наличие удлиненного промежуточного компонента во всасывающей головке отключает известный вариант, согласно которому одна щетка смачивает другую щетку во время работы, но с другой стороны, удлиненный промежуточный компонент может выполнять функцию, способствующую подаче жидкости, а также предотвращающую загрязнение внутренних поверхностей всасывающей головки. В частности, по меньшей мере одно положение подачи жидкости может находиться на участке нижней поверхности удлиненного промежуточного компонента, который расположен и выполнен с возможностью обращения к поверхности, подлежащей очистке. Когда эта часть нижней поверхности удлиненного промежуточного компонента расположена так, чтобы быть близкой к поверхности, подлежащей очистке, то есть когда эта часть нижней поверхности расположена и выполнена с возможностью быть обращенной к поверхности, подлежащей очистке, на расстоянии по меньшей мере 2 мм и не более 6 мм от поверхности, как было предложено ранее, вышеописанный очищающий эффект реализуется на этой части нижней поверхности.
Целесообразно, если смачивающее устройство содержит систему каналов, выполненную с возможностью переноса жидкости и выпуска жидкости по меньшей мере в одном положении подачи жидкости. В случае, если всасывающая головка содержит упомянутый выше удлиненный промежуточный компонент, система каналов может содержать по меньшей мере один канал, проходящий через удлиненный промежуточный компонент. В частности, когда смачивающее устройство расположено и выполнено с возможностью обеспечения прямой подачи жидкости из двух или более положений для подачи жидкости на две или более областей поверхности, подлежащей очистке, может быть обеспечено преимущество, если вышеупомянутая система каналов содержит по меньшей мере один основной канали по меньшей мере один ответвленный канал, который соединен с указанным по меньшей мере одним основным каналом и который проходит от по меньшей мере одного основного канала к по меньшей мере одному положению для подачи жидкости. В таком случае основной канал может служить своего рода буфером и/или распределителем жидкости. Для управления потоком жидкости из по меньшей мере одного основного канала в по меньшей мере один ответвленный канал может быть полезно, если ограниченный проход для жидкости присутствует на границе раздела по меньшей мере одного основного канала и по меньшей мере одного ответвленного канала. В варианте осуществления всасывающей головки, в котором вариант, в котором всасывающая головка содержит удлиненный промежуточный компонент и в котором по меньшей мере один канал системы каналов проходит через удлиненный промежуточный компонент, объединен с вариантом, в котором система каналов содержит по меньшей мере один основной канал и по меньшей мере один ответвленный канал, по меньшей мере один ответвленный канал обычно может представлять собой по меньшей мере один канал, проходящий через удлиненный промежуточный компонент.
В обеспечивающем преимущество варианте осуществления всасывающая головка содержит ограничительный элемент, сообщающийся по текучей среде по меньшей мере с одним основным каналом и по меньшей мере одним ответвленным каналом, причем ограничительный элемент снабжен по меньшей мере одним ограничительным отверстием, выполненным с возможностью обеспечения прохождения жидкости в направлении от по меньшей мере одного основного канала к по меньшей мере одному ответвленному каналу. В этом варианте осуществления ограничительный элемент или узел компонентов, в который включен ограничительный элемент, может быть съемно расположен в всасывающей головке. Это обеспечивает возможность легкой очистки ограничительного элемента во избежание засорения по меньшей мере одного ограничительного отверстия ограничительного элемента.
Смачивающее устройство может быть использовано для других целей, помимо подачи жидкости по меньшей мере к одной области поверхности, подлежащей очистке. Например, в предположении, что всасывающая головка содержит по меньшей мере одно колесо, которое расположено с возможностью вращения на всасывающей головке и с возможностью контакта с поверхностью, подлежащей очистке, смачивающее устройство дополнительно расположено и выполнено с возможностью обеспечения прямой подачи жидкости к указанному по меньшей мере одному колесу. Заметным преимуществом этого варианта является то, что очистка по меньшей мере одного колеса может осуществляться автоматически, без необходимости действий со стороны пользователя и без необходимости использования внешних инструментов для очистки или инструментов для демонтажа компонентов всасывающей головки. Таким образом, обеспечивается очень надежный способ поддержания чистоты по меньшей мере одного колеса всасывающей головки, в результате чего исключается ситуация, в которой по меньшей мере одно колесо может оказывать влияние на результат очистки. В частности, смачивающее устройство может быть расположено и выполнено с возможностью обеспечения прямой подачи жидкости к указанному по меньшей мере одному колесу в положении поверхности качения по меньшей мере одного колеса снаружи по меньшей мере одного колеса. В этом случае по меньшей мере одно колесо может быть просто обычной конструкции и состоять из одного или более обычных материалов, таких как пластик и резина, и по меньшей мере одно колесо может быть установлено во всасывающей головке любым подходящим известным способом. Вращательное движение колеса может быть использовано с преимуществом, когда речь заходит о распределении жидкости по всей поверхности качения колеса. Дополнительная мера, направленная на поддержание по меньшей мере одного колеса в чистоте, включает в себя размещение по меньшей мере одного колеса таким образом, чтобы вращающиеся щетки могли взаимодействовать с колесом во время работы всасывающей головки. Дополнительным эффектом этой меры может быть то, что части щеток, которые находятся рядом с колесом, в некоторой степени смачиваются колесом. В любом случае может быть так, что по меньшей мере одно колесо расположено в области между щетками.
В контексте настоящего изобретения щетки могут быть щетками любого типа, подходящими при использовании для сбора грязи с поверхности, подлежащей очистке, при этом щетки могут быть выбраны одинаковыми или разными. Конструкция каждой из щеток специально может быть такой, чтобы она служила в качестве ворошителя, например, для ворошения частиц грязи, которые могут присутствовать на поверхности. В практическом варианте осуществления всасывающей головки согласно изобретению по меньшей мере одна из щеток содержит стержневой элемент и гибкие микроволокнистые элементы, расположенные на стержневом элементе. В такой щетке линейная массовая плотность ниже 150 г на 10 км может быть применима к микроволокнистым элементам или по меньшей мере их концевым участкам, так что микроволокнистые элементы действительно могут быть очень гибкими. Линейная массовая плотность, как упомянуто, может быть даже ниже 10 г на 10 км, 5 г на 10 км или 1 г на 10 км. Такие микроволокнистые элементы могут быть размещены на стержневом элементе в плотном расположении, чтобы очень эффективно взаимодействовать с поверхностью, подлежащей очистке, во время работы всасывающей головки. Кроме того, может быть целесообразным, если такие микроволокнистые элементы расположены на стержневом элементе пучками.
Практично, если рабочая форма обеих щеток представляет собой в целом форму цилиндра, имеющего круговую периферию, другими словами, если рабочая форма щеток представляет собой в целом форму ролика, который может представлять собой удлиненный ролик.
Изобретение также относится к пылесосу, в частности к беспроводному пылесосу, содержащему всасывающую головку, как определено и описано выше, которая оснащена смачивающим устройством, которое расположено и выполнено с возможностью обеспечения прямой подачи жидкости по меньшей мере из одного положения подачи жидкости по меньшей мере к одной области поверхности, подлежащей очистке. Практично, если такой пылесос содержит резервуар, выполненный с возможностью приема жидкости, содержания жидкости и выпуска жидкости к смачивающему устройству всасывающей головки. В качестве преимущества, резервуар расположен с возможностью съема на пылесосе таким образом, что пользователю легко перенести резервуар в место, где резервуар может быть заполнен жидкостью.
Вышеописанные и другие аспекты настоящего изобретения будут очевидны и разъяснены со ссылкой на следующее подробное описание практического варианта осуществления всасывающей головки, содержащей кожух и две щетки, расположенные в кожухе, и дополнительно содержащей смачивающее устройство, которое расположено и выполнено с возможностью обеспечения прямой подачи жидкости из по меньшей мере одного положения подачи жидкости по меньшей мере к одной области поверхности, подлежащей очистке.
КРАТКОЕ ОПИСАНИЕ ЧЕРТЕЖЕЙ
Далее изобретение описано более подробно со ссылкой на чертежи, на которых одинаковые или схожие детали обозначены одинаковыми ссылочными обозначениями, и на которых:
на ФИГ. 1 схематически показаны компоненты пылесоса для влажной очистки согласно одному варианту осуществления изобретения и участок пола, имеющий поверхность, подлежащую очистке;
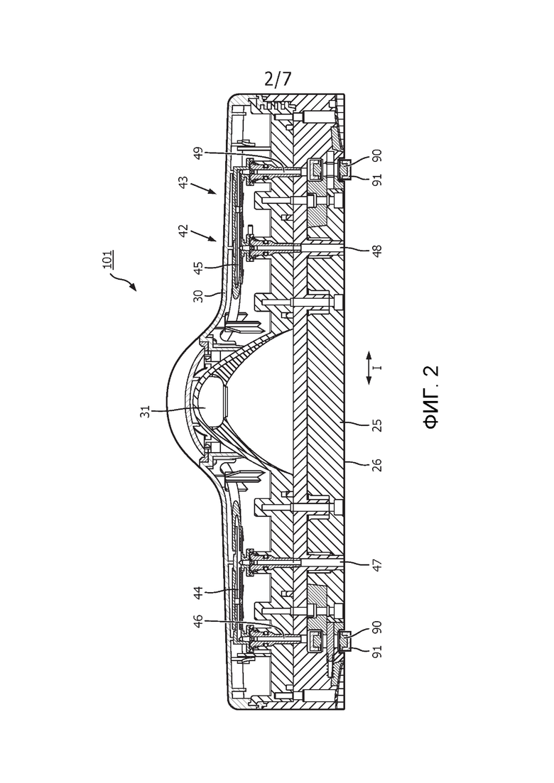
на фиг. 2 схематически показан вид в продольном разрезе всасывающей головки согласно одному варианту осуществления настоящего изобретения, выполненный в положении между двумя щетками, которые включены в всасывающую головку;
на Фиг. 3 показана увеличенная деталь по Фиг. 2,
на Фиг. 4 схематически показан вид в перспективе сверху части всасывающей головки, на Фиг. 5 и 6 схематически показаны виды в разрезе всасывающей головки, взятые в различных продольных положениях на всасывающей головке;
на фиг. 7 показана увеличенная деталь по фиг. 6, и
на Фиг. 8 проиллюстрирована необязательная конфигурация системы каналов смачивающего устройства, которое включено во всасывающую головку.
ОСУЩЕСТВЛЕНИЕ ИЗОБРЕТЕНИЯ
На Фиг. 1 проиллюстрирована конструкция пылесоса 100 для влажной очистки согласно одному варианту осуществления изобретения. Конкретный пылесос, представленный на Фиг. 1 и описанный ниже, является лишь одним из примеров множества типов пылесосов, которые могут быть использованы в пределах объема изобретения. В этом отношении следует отметить, что изобретение относится не только к пылесосам для влажной чистки, но и к другим типам пылесосов, таким как пылесосы для влажной/сухой чистки, имеющие функцию сухой чистки помимо функции влажной чистки.
Пылесос 100 для влажной очистки выполнен с возможностью использования с целью воздействия влажной очисткой на поверхность 10, такой как поверхность пола. На Фиг. 1 показан пылесос 100 в нормальной рабочей ориентации относительно подлежащей очистке поверхности 10. Использование в настоящем тексте термина, имеющего аспект ориентации, следует понимать в отношении этой нормальной рабочей ориентации пылесоса 100 относительно поверхности 10, подлежащей очистке, при этом предполагается, что поверхность 10 находится в нижнем положении, а пылесос 100 расположен на поверхности 10.
На стороне, которая должна быть обращена к поверхности 10 во время работы пылесоса 100, пылесос 100 содержит всасывающую головку 101, содержащую две щетки 20, которые выполнены с возможностью взаимодействия с поверхностью 10 во время работы пылесоса 100. Далее предполагается, что каждая из щеток 20 выполнена в виде ролика, выполненного с возможностью вращения вокруг оси 21 вращения, определяемой центральной продольной осью ролика, а каждая из щеток 20 содержит стержневой элемент 22 и гибкие микроволокнистые элементы 23, расположенные на стержневом элементе 22, что не меняет того факта, что возможны и другие варианты осуществления щеток 20. Щетки 20 могут быть идентичными, но это не обязательно в контексте настоящего изобретения. Как обозначено на Фиг. 1 посредством изогнутых стрелок, изображенных в месте расположения щеток 20, щетки 20 расположены с возможностью вращения в противоположных направлениях относительно друг друга вокруг их соответствующих осей 21 вращения. Всасывающая головка 101 содержит кожух 30, выполненный с возможностью частичного покрытия щеток 20. Кожух 30 может быть выполнен, например, из пластикового материала.
Кроме всасывающей головки 101 пылесос 100 содержит корпусную часть 102, выполненную с возможностью ее удерживания пользователем пылесоса 100. Предпочтительно, всасывающая головка 101 и корпусная часть 102 выполнены с возможностью отсоединения друг от друга. Корпусная часть 102 может иметь любую подходящую форму. Контур корпусной части 102, как показано на ФИГ. 1, имеет только схематический характер. Практично, если корпусная часть 102 содержит рукоятку, так что пользователь может легко захватывать корпусную часть 102 и перемещать пылесос 100 по подлежащей очистке поверхности 10 по мере необходимости.
Для приведения в действие щеток 20 во время работы пылесоса 100 пылесос 100 снабжен подходящим электрическим приводным механизмом (не показан). С целью питания приводного механизма и, возможно, также других компонентов пылесоса 100 пылесос 100 может быть подключен к электрической сети и/или может быть снабжен подходящим аккумуляторным устройством. Предпочтительно, пылесос 100 представляет собой беспроводное устройство, содержащее перезаряжаемую аккумуляторную батарею, и в этом случае может быть дополнительно целесообразным, если пылесос 100 является частью комплекта, включающего в себя помимо пылесоса 100 зарядную док-станцию. Такой комплект также может включать в себя промывочный лоток, который может быть использован для очистки щеток 20. В случае, когда пылесос 100 не снабжен батареей, для приема и удержания пылесоса 100, пока пылесос 100 не работает, может быть предусмотрена простая док-станция, которая не имеет функции зарядки.
Корпусная часть 102 пылесоса 100 включает в себя резервуар 40 для жидкости, который служит для содержания жидкости, такой как вода или смесь воды и чистящего средства, и механизм 41 подачи жидкости, который служит для подачи жидкости в смачивающее устройство 42 всасывающей головки 101 во время работы пылесоса 100. Механизм 41 подачи жидкости может содержать, например, насосное устройство любого подходящего типа или может быть выполнен с возможностью вытеснения жидкости по желанию под действием силы тяжести. В показанном примере смачивающее устройство 42 всасывающей головки 101 выполнено с возможностью обеспечения как прямой подачи жидкости к областям поверхности 10, подлежащей очистке, так и прямой подачи жидкости к двум колесам 90 всасывающей головки 101 (см. Фиг. 2, 3, 5 и 6), как будет объяснено ниже более подробно. Кроме того, в показанном примере всасывающая головка 101 содержит удлиненный промежуточный компонент 25, который расположен в области 24 между щетками 20 и который содержит два участка вогнутой криволинейности, выполненных с возможностью покрытия участков щеток 20, а смачивающее устройство 42 содержит систему 43 каналов, которая частично расположена в удлиненном промежуточном компоненте 25 и выполнена с возможностью переноса жидкости и выпуска жидкости в области поверхности 10 и к двум колесам 90. На Фиг. 1 резервуар 40 для жидкости, механизм 41 подачи жидкости и смачивающее устройство 42 всасывающей головки 101 обозначены пунктирными линиями. Практично, если резервуар 40 для жидкости соединен с возможностью разъединения с корпусной частью 102 таким образом, что пользователю предоставляется возможность отделения резервуара 40 для жидкости от корпусной части 102, когда требуется перенести резервуар 40 для жидкости в место, где резервуар 40 для жидкости должен быть заполнен жидкостью.
Корпусная часть 102 пылесоса 100 дополнительно включает в себя резервуар 50 для грязи, который служит для размещения в нем и накопления влажной грязи 11, собираемой с поверхности 10 щетками 20 во время работы пылесоса 100. Резервуар 50 для грязи может быть выполнен множеством способов, обычно применяемым для накопления влажной грязи из поступающей грязи 11, собираемой с поверхности 10, таким как, например, использование циклонного устройства или устройства типа "труба в чашке". Корпусная часть 102 включает в себя вакуумный механизм 60, выполненный с возможностью создания разрежения, которое является функциональным для обеспечения переноса грязи 11 из области, в которой щетки 20 расположены, к резервуару 50 для грязи в корпусной части 102, через выпускное отверстие 31 в поверхности 32 кожуха 30, обращенной к щеткам 20, и всасывающий канал 51, проходящий от выпускного отверстия 31 к резервуару 50 для грязи. Как можно наблюдать на виде части всасывающей головки 101 на Фиг. 4, кожух 30 включает в себя соединительную область 33, которая выполнена с возможностью обеспечения соединения кожуха 30 с узлом всасывающего канала 51, резервуаром 50 для грязи и вакуумным механизмом 60 в корпусной части 102 пылесоса 100. Выпускное отверстие 31 сообщается по текучей среде с этой соединительной областью 33.
Ниже перечислены основные аспекты работы пылесоса 100 для влажной очистки. Во время работы щетки 20 приводятся во вращение, а механизм 41 подачи жидкости активируется для подачи жидкости к смачивающему устройству 42 всасывающей головки 101, чтобы жидкость могла выходить на очищаемую поверхность 10 и на два колеса 90. Любые пятна, которые могут присутствовать на области поверхности 10, которая находится в пределах досягаемости щеток 20, отделяются под воздействием жидкости и ворошения щетками 20, а частицы грязи и пыль, которые могут присутствовать на области поверхности 10, удаляются вместе с жидкостью и транспортируются в резервуар 50 для грязи, проходя через выпускное отверстие 31 и всасывающий канал 51 в этом процессе. Грязь 11 собирается с поверхности 10 концевыми участками микроволокнистых элементов 23 щеток 20 и отбрасывается от концевых участков при вращении щеток 20 в положении, когда концевые участки выходят из контакта с поверхностью 10.
Как проиллюстрировано на Фиг. 1, пылесос 100 может быть оснащен пользовательским интерфейсом 70, причем пользовательский интерфейс 70 может включать в себя, например, кнопку 71 вкл/выкл. Пылесос 100 также может содержать систему 80 управления, включающую в себя микроконтроллер, который запрограммирован на приведение щеток 20 в движение и активацию как механизма 41 подачи жидкости, так и вакуумного механизма 60 в ответ на ввод, полученный от пользователя через пользовательский интерфейс 70 с этой целью.
Фиг. 2-8 служат для иллюстрации аспектов всасывающей головки 101 согласно одному варианту осуществления настоящего изобретения, в частности аспектов смачивающего устройства 42 всасывающей головки 101. Из Фиг. 2 и 4 видно, что система 43 каналов смачивающего устройства 42 содержит два основных канала 44, 45, которые расположены в разных половинах всасывающей головки 101, если смотреть в продольном направлении
являющемся направлением, в котором проходят оси 21 вращения щеток 20, и которые выполнены с возможностью соединения с механизмом 41 подачи жидкости. Кроме того, система 43 каналов содержит четыре отводных канала 46, 47, 48, 49, а именно, как показано слева направо на Фиг. 2, i) отводной канал 46, который соединен с первым 44 из основных каналов 44, 45, который выполнен с возможностью выпуска жидкости к одному из колес 90, и который проходит от первого 44 из основных каналов 44, 45 к колесу 90, ii) отводной канал 47, который также соединен с первым 44 из основных каналов 44, 45, в продольном положении более или менее между колесом 90 и выпускным отверстием 31, который выполнен с возможностью выпуска жидкости в первую область поверхности 10, подлежащей очистке, и который проходит от первого 44 из основных каналов 44, 45 до поверхности 10, iii) отводной канал 48, который соединен со вторым 45 из основных каналов 44, 45, в продольном положении более или менее между другим колесом 90 и выпускным отверстием 31, которое выполнено с возможностью выпуска жидкости во вторую область подлежащей очистке поверхности 10, и которое проходит от второго 45 из основных каналов 44, 45 к поверхности 10, и iv) отводной канал 49, который также соединен со вторым 45 из основных каналов 44, 45, который выполнен с возможностью выпуска жидкости к другому колесу 90, и который проходит от второго 45 из основных каналов 44, 45 к колесу 90.
Отводные каналы 47, 48, которые выполнены с возможностью выпуска жидкости на подлежащую очистке поверхность 10, расположены с возможностью частичного прохождения через удлиненный промежуточный компонент 25, а местоположения подачи жидкости, в которых жидкость выпускается на поверхность 10, находятся на нижней стороне удлиненного промежуточного компонента 25, т.е. на участке 26 нижней поверхности удлиненного промежуточного компонента 25, который расположен и выполнен с возможностью обращения к поверхности 10, подлежащей очистке. В этом отношении следует отметить, что в целом в контексте настоящего изобретения положения подачи жидкости, в которых жидкость выпускается на поверхность 10, находятся на уровне осей 21 вращения щеток 20 или ближе к уровню поверхности, то есть на уровне осей 21 вращения щеток 20 или на более низком уровне.
Выпуск жидкости на поверхность 10 в положениях подачи жидкости, которые распределены вдоль щеток 20 в продольном направлении 1, является фактором, обеспечивающим достаточное увлажнение щеток 20 без каких-либо сухих или почти сухих областей, которые могут сделать чистящее действие менее эффективным. Выпуск жидкости к колесам 90 во время работы всасывающей головки 101 приводит к сохранению колес 90 влажными и чистыми, чтобы избежать любого негативного влияния на результаты действия по очистке поверхности 10, вытекающего из того факта, что поверхность 10 контактирует с колесами 90. Из Фиг. 2 и 3 видно, что положение, в котором жидкость выпускается в колесо 90, является положением прямо над колесом, так что жидкость может быть принята колесом 90 в положении его поверхности 91 качения.
На фиг. 5 показан еще один обеспечивающий преимущество аспект конструкции всасывающей головки 101 согласно варианту осуществления изобретения, заключающийся в том, что каждое из двух колес 90 расположено таким образом, чтобы контактировать со щетками 20, особенно с микроволокнистыми элементами 23 щеток 20. Во-первых, это способствует поддержанию колес 90 в чистоте. Во-вторых, это способствует осознанию того, что щетки 20 смачиваются по их длине, то есть по их размеру в продольном направлении 1.
На Фиг. 6 проиллюстрирован обеспечивающий преимущество вариант по меньшей мере одного положения подачи жидкости для выпуска жидкости на подлежащую очистке поверхность 10, находящуюся на участке нижней поверхности всасывающей головки 101, который расположен и выполнен с возможностью обращения к поверхности 10 на расстоянии по меньшей мере 2 мм и не более 6 мм от поверхности 10. Благодаря наличию небольшого пространства между поверхностью 10 и участком нижней поверхности всасывающей головки 101 достигается эффективное поддержание в чистоте участка нижней поверхности всасывающей головки 101. Является практичным, если участок нижней поверхности всасывающей головки 101, который расположен и выполнен с возможностью обращения к поверхности 10 на относительно небольшом расстоянии от упомянутой поверхности 10, содержит участок 26 нижней поверхности удлиненного промежуточного компонента 25.
На основании вышеизложенного обеспечивается обзор обеспечивающих преимущество аспектов небольшого пространства между поверхностью 10, подлежащей очистке, и участком нижней поверхности всасывающей головки 101:
- Жидкость под участком нижней поверхности соединяется с поверхностью 10 и очищает участок нижней поверхности за счет поверхностного натяжения, захватывая мелкие частицы грязи, которые могут прилипать к участку нижней поверхности.
- Поток чистой жидкости из различных местоположений, в которых жидкость выпускается, оказывает прямое очищающее действие на участок нижней поверхности, особенно на нижнюю сторону удлиненного промежуточного компонента 25.
- Перемещение всасывающей головки 101 приводит к тому, что область под участком нижней поверхности находится в постоянном взаимодействии с щетками 20.
Следует также отметить, что обеспечено преимущество, если поверхность 32 кожуха 30, обращенная к щеткам 20, расположена таким образом, чтобы покрывать щетки 20 только на минимальном расстоянии, поскольку в этом случае сила всасывания эффективно задействуется в всасывающей головке 101, в результате чего скорость воздуха вдоль поверхности 32 может быть относительно высокой, что также способствует поддержанию чистоты поверхности 32, помимо того, что практически нет места, где может накапливаться грязь.
Для того, чтобы способствовать равномерному распределению жидкости по соответствующим отводным каналам 46, 47, 48, 49, целесообразно, чтобы на границе раздела основных каналов 44, 45 и соответствующих отводных каналов 46, 47, 48, 49 присутствовал ограниченный отвод жидкости 27, как лучше всего можно увидеть из фиг.7. Дело в том, что ограниченные каналы 27 для жидкости служат для предотвращения дренирования основных каналов 44, 45 в положении отводного канала 47, 48, который появляется первым, если смотреть в направлении вниз по потоку, что препятствует подаче жидкости в другой отводной канал 46, 49. Следовательно, на основании наличия ограниченных проходов 27 для жидкости реализуется управляемое извлечение жидкости из основных каналов 44, 45 в положениях, в которых отводные канал 46, 47, 48, 49 соединены с основными каналами 44, 45.
На Фиг. 8 проиллюстрирован вариант, в соответствии с которым основной канал 44 имеет более или менее такие размеры, чтобы служить буфером для жидкости 15, и в соответствии с которым ограничительный элемент 28 применяется в положении, в котором соответствующие отводные каналы 46, 47 соединены с основным каналом 44. В показанном примере ограничительный элемент 28 содержит полосу, которая снабжена двумя ограничительными отверстиями. Ограничительные отверстия имеют такие размеры, чтобы реализовывать ограниченные проходы 27 для жидкости, которые выполнены с возможностью создания потока капель жидкости 15, а не непрерывного потока. Предпочтительно, ограничительный элемент 28 или узел компонентов, в котором содержится ограничительный элемент 28, съемно расположен в всасывающей головке 101, так что ограничительный элемент 28 или весь узел может время от времени быть удален пользователем для целей очистки. Очистка ограничительного элемента 28 и, возможно, также прилегающих компонентов на регулярной основе может быть особенно полезна для предотвращения засорения ограничительных отверстий и, таким образом, затруднения подачи жидкости 15 к колесам 90 и подлежащей очистке поверхности 10.
Хотя как вариант прямой подачи жидкости 15 по меньшей мере к одной области поверхности 10, подлежащей очистке, так и вариант прямой подачи жидкости 15 к указанному по меньшей мере одному колесу 90 проиллюстрированы и объяснены в контексте одного варианта осуществления всасывающей головки 101 согласно изобретению, следует понимать, что варианты могут применяться независимо. Кроме того, следует отметить, что в дополнение или в качестве альтернативы варианту прямой подачи жидкости 15 к указанному по меньшей мере одному колесу 90 в контексте настоящего изобретения возможен вариант прямой подачи жидкости 15 в положение во всасывающей головке 101, такое как положение на одной или обеих щетках 20. Вообще говоря, смачивающее устройство 42 может быть реализовано любым подходящим способом. Например, смачивающее устройство 42 может быть выполнено с возможностью временного прекращения подачи жидкости к указанному по меньшей мере одному колесу 90, если это необходимо. Это может быть полезно с учетом ситуации, в которой тип поверхности 10, подлежащей очистке, требует большего, чем среднее количество жидкости, это может позволить пользователю время от времени вручную инициировать действие по очистке по меньшей мере одного колеса 90 и т.д.
Когда всасывающая головка 101 содержит удлиненный промежуточный элемент 25, покрывающий участок щеток 20 с нижней стороны всасывающей головки 101, как в случае показанного варианта осуществления всасывающей головки 101, может быть полезным использование удлиненного промежуточного элемента 25 для размещения в нем по меньшей мере участка одного или более каналов системы 43 каналов смачивающего устройства 42, но это не является существенным в контексте изобретения.
Специалисту в данной области техники будет понятно, что объем изобретения не ограничен примерами, описанными выше, а что возможны его некоторые изменения и модификации без выхода за рамки объема изобретения, определенного в прилагаемой формуле изобретения. Подразумевается, что настоящее изобретение следует толковать как включающее в себя все такие изменения и модификации, поскольку они входят в объем формулы изобретения или ее эквивалентов. Несмотря на то, что изобретение подробно проиллюстрировано и описано на фигурах и в описании, такие иллюстрацию и описание следует рассматривать только как иллюстративные или приведенные для примера, а не ограничивающее. Изобретение не ограничено раскрытыми вариантами осуществления. Чертежи являются схематичными, причем детали, которые не требуются для понимания изобретения, могут быть опущены, и необязательно изображены с соблюдением масштаба.
Вариации раскрытых вариантов осуществления могут быть поняты и реализованы специалистами в данной области техники при осуществлении заявленного изобретения на практике на основании изучения чертежей, текста описания и прилагаемой формулы изобретения. В пунктах формулы изобретения слово «содержащий» не исключает другие этапы или элементы, а грамматические средства выражения единственного числа не исключают наличие множества. Никакие ссылочные обозначения в формуле изобретения не должны рассматриваться как ограничивающие объем изобретения.
Элементы и аспекты, рассмотренные для конкретного варианта осуществления или в отношении него, могут быть подходящим образом объединены с элементами и аспектами других вариантов осуществления, если явно не указано иное. Таким образом, сам факт того, что определенные меры изложены во отличающихся друг от друга зависимых пунктах формулы изобретения, не означает, что сочетание этих мер не может быть использовано для получения преимущества.
Термины «содержать» и «включать в себя», используемые в настоящем тексте, специалисту в данной области техники следует понимать как охватывающий термин «состоять из». Следовательно, термин «содержать» или «включать в себя» в отношении одного варианта осуществления может означать «состоять из», а в другом варианте осуществления может означать «содержать/иметь/быть оснащенным по меньшей мере определенными признаками и необязательно одним или более другими признаками».
Основные аспекты изобретения кратко изложены ниже. В контексте вакуумной очистки предусмотрена всасывающая головка 101, которая относится к типу, содержащему: кожух 30, который выполнен с возможностью соединения с источником 60 всасывания воздуха пылесоса 100, и две щетки 20 по существу в параллельном расположении в кожухе 30, при этом каждая из щеток 20 выполнена с возможностью вращения вокруг оси 21 вращения и взаимодействия с поверхностью 10, подлежащей очистке. Всасывающая головка 101 дополнительно оснащена смачивающим устройством 42, которое выполнено с возможностью обеспечения прямой подачи жидкости 15 по меньшей мере из одного положения подачи жидкости по меньшей мере к одной области поверхности 10, подлежащей очистке, при этом по меньшей мере одно положение подачи жидкости находится в области 24 между щетками 20 и на уровне осей 21 вращения щеток 20 или ближе к уровню поверхности.
| название | год | авторы | номер документа |
|---|---|---|---|
| ВСАСЫВАЮЩАЯ ГОЛОВКА И БЕСПРОВОДНОЙ ПЫЛЕСОС, СОДЕРЖАЩИЙ ВСАСЫВАЮЩУЮ ГОЛОВКУ | 2022 |
|
RU2839926C1 |
| ВСАСЫВАЮЩАЯ ГОЛОВКА ДЛЯ ПРИМЕНЕНИЯ В ПЫЛЕСОСЕ | 2022 |
|
RU2824487C1 |
| ВОРОШИТЕЛЬ, ВСАСЫВАЮЩАЯ ГОЛОВКА С ТАКИМ ВОРОШИТЕЛЕМ, ПЫЛЕСОС С ТАКИМ ВОРОШИТЕЛЕМ И ПЫЛЕСОС С ТАКОЙ ВСАСЫВАЮЩЕЙ ГОЛОВКОЙ | 2021 |
|
RU2839619C1 |
| ГОЛОВКА ПЫЛЕСОСА | 2011 |
|
RU2543417C2 |
| ГОЛОВКА ПЫЛЕСОСА | 2011 |
|
RU2549056C2 |
| ПЫЛЕСОС ДЛЯ ВЛАЖНОЙ УБОРКИ И ЧИСТЯЩАЯ ГОЛОВКА ДЛЯ НЕГО | 2022 |
|
RU2840262C1 |
| ПЫЛЕСОС И ВСАСЫВАЮЩАЯ НАСАДКА ДЛЯ ПЫЛЕСОСА | 2013 |
|
RU2540612C2 |
| ДВУСТОРОННЕЕ ВСАСЫВАЮЩЕЕ СОПЛО ДЛЯ ПЫЛЕСОСА | 2007 |
|
RU2362478C2 |
| ПЫЛЕСОС ПО МЕНЬШЕЙ МЕРЕ С ОДНИМ ВСАСЫВАЮЩИМ АГРЕГАТОМ | 2010 |
|
RU2564208C2 |
| ПЫЛЕСОС | 2011 |
|
RU2542570C2 |
Предложена группа изобретений, включающая всасывающую головку для пылесоса и беспроводной пылесос, содержащий всасывающую головку. Техническим результатом является повышение качества действий пылесоса, выполняемых на поверхности и предотвращение загрязнения всасывающей головки. Всасывающая головка содержит кожух, включающий в себя соединительную область, выполненную с возможностью обеспечения соединения кожуха с источником всасывания воздуха пылесосом, две щетки, расположенные параллельно в кожухе. Каждая из щеток выполнена с возможностью вращения вокруг оси вращения и взаимодействия с поверхностью, подлежащей очистке. Также содержит смачивающее устройство, которое расположено и выполнено с возможностью обеспечения прямой подачи жидкости по меньшей мере из одного положения подачи жидкости по меньшей мере к одной области поверхности, подлежащей очистке. По меньшей мере одно положение подачи жидкости находится в области между щетками и на уровне осей вращения щеток или ближе к уровню поверхности. 2 н. и 13 з.п. ф-лы, 8 ил.
1. Всасывающая головка (101), выполненная с возможностью применения в пылесосе (100) и осуществления действия по очистке на поверхности (10) и содержащая:
кожух (30), включающий в себя соединительную область (33), выполненную с возможностью обеспечения соединения кожуха (30) с источником (60) всасывания воздуха пылесоса (100),
две щетки (20), расположенные параллельно в кожухе (30), причем каждая из щеток (20) выполнена с возможностью вращения вокруг оси (21) вращения и взаимодействия с поверхностью (10), подлежащей очистке, и
смачивающее устройство (42), которое расположено и выполнено с возможностью обеспечения прямой подачи жидкости (15) по меньшей мере из одного положения подачи жидкости по меньшей мере к одной области поверхности (10), подлежащей очистке, при этом по меньшей мере одно положение подачи жидкости находится в области (24) между щетками (20) и на уровне осей (21) вращения щеток (20) или ближе к уровню поверхности.
2. Всасывающая головка (101) по п. 1, в которой по меньшей мере одно положение подачи жидкости находится на нижней части поверхности всасывающей головки (101), которая расположена и выполнена с возможностью обращения к поверхности (10), подлежащей очистке, на расстоянии по меньшей мере 2 мм и не более 6 мм от поверхности (10).
3. Всасывающая головка (101) по п. 1 или 2, в которой смачивающее устройство (42) расположено и выполнено с возможностью обеспечения прямой подачи жидкости (15) по меньшей мере из двух положений подачи жидкости, распределенных по всасывающей головке (101) в направлении
в котором проходят оси (21) вращения щеток (20).
4. Всасывающая головка (101) по пп. 1-3, содержащая промежуточный компонент (25), который расположен в области (24) между щетками (20) и который при необходимости содержит два участка, выполненных с возможностью покрытия участков щеток (20).
5. Всасывающая головка (101) по п. 4, в которой промежуточный компонент (25) в положении его верхней стороны подвешен к участку кожуха (30).
6. Всасывающая головка (101) по п. 4 или 5, в которой по меньшей мере одно положение подачи жидкости находится на участке (26) нижней поверхности промежуточного компонента (25), который расположен и выполнен с возможностью обращения к поверхности (10), подлежащей очистке.
7. Всасывающая головка (101) по пп. 1-6, в которой смачивающее устройство (42) содержит систему (43) каналов, выполненную с возможностью переноса жидкости (15) и выпуска жидкости (15) по меньшей мере в одном положении подачи жидкости.
8. Всасывающая головка (101) по пп. 6, 7, в которой система (43) каналов содержит по меньшей мере один канал (47, 48), проходящий через промежуточный компонент (25).
9. Всасывающая головка (101) по п. 7 или 8, в которой система (43) каналов содержит по меньшей мере один основной канал (44, 45) и по меньшей мере один ответвленный канал (47, 48), который соединен с указанным по меньшей мере одним основным каналом (44, 45) и который проходит от по меньшей мере одного основного канала (44, 45) в направлении по меньшей мере одного положения подачи жидкости.
10. Всасывающая головка (101) по п. 9, содержащая ограничительный элемент (28), сообщающийся по текучей среде по меньшей мере с одним основным каналом (44, 45), и по меньшей мере один ответвленный канал (47, 48), причем ограничительный элемент (28) снабжен ограничительным отверстием, выполненным с возможностью обеспечения возможности прохождения жидкости (15) в направлении от по меньшей мере одного основного канала (44, 45) к по меньшей мере одному ответвленному каналу (47, 48), и при этом ограничительный элемент (28) или узел компонентов, в который включен ограничительный элемент (28), расположен съемно во всасывающей головке (101).
11. Всасывающая головка (101) по любому из пп. 1-10, содержащая по меньшей мере одно колесо (90), которое расположено с возможностью вращения на всасывающей головке (101) и которое выполнено с возможностью контакта с поверхностью (10), подлежащей очистке, при этом смачивающее устройство (42) дополнительно расположено и выполнено с возможностью обеспечения прямой подачи жидкости (15) к указанному по меньшей мере одному колесу (90).
12. Всасывающая головка (101) по п. 11, в которой смачивающее устройство (42) расположено и выполнено с возможностью обеспечения прямой подачи жидкости (15) к указанному по меньшей мере одному колесу (90) в положении поверхности (91) качения по меньшей мере одного колеса (90) снаружи по меньшей мере одного колеса (90).
13. Всасывающая головка (101) по п. 11 или 12, в которой по меньшей мере одно колесо (90) расположено таким образом, что обеспечена возможность взаимодействия вращающихся щеток (20) с колесом (90) во время работы всасывающей головки (101).
14. Всасывающая головка (101) по любому из пп. 11-13, в которой по меньшей мере одно колесо (90) расположено в области (24) между щетками (20).
15. Беспроводной пылесос (100), содержащий всасывающую головку (101) по любому из пп. 1-14.
| УСТРОЙСТВО ДЛЯ ОЧИСТКИ, ВЫПОЛНЕННОЕ С РАСПЫЛИТЕЛЬНЫМИ СРЕДСТВАМИ И С ВРАЩАЮЩЕЙСЯ ЩЕТКОЙ | 2010 |
|
RU2543427C2 |
| ЧИСТЯЩЕЕ УСТРОЙСТВО ДЛЯ ЧИСТКИ ПОВЕРХНОСТИ, СОДЕРЖАЩЕЕ ЩЕТКУ И ЭЛЕМЕНТ СКРЕБКА | 2012 |
|
RU2603600C2 |
| МАШИНА ДЛЯ ЧИСТКИ ПОВЕРХНОСТЕЙ И СПОСОБ ЕЕ ЭКСПЛУАТАЦИИ | 2015 |
|
RU2660523C1 |
| US 6030465 A, 29.02.2000 | |||
| US 9414733 B2, 16.08.2016 | |||
| US 10349796 B2, 16.07.2017 | |||
| US 10433696 B2, 08.10.2019. | |||
Авторы
Даты
2025-05-14—Публикация
2022-03-11—Подача