Настоящее изобретение относится к машиностроению, преимущественно транспортному, конкретно к стабилизаторам поперечной (боковой) устойчивости (наклона) железнодорожных, главным образом пассажирских, вагонов, а также безрельсовых транспортных средств (например, грузовых автомобилей).
Известны торсионные узлы стабилизаторов поперечной устойчивости (поперечного наклона) железнодорожных, главным образом пассажирских, вагонов, а также безрельсовых транспортных средств, в которых немаловажную роль играют общая компоновка и конструкции тяг с их шарнирными узлами.
Примерами могут служить разработанные и внедренные за последние 3…4 года при непосредственном участии заявителя инновационные решения как в отношении стабилизаторов в целом, так и в части его компонентов [1. RU 2770029 С1, МПК B61F 5/24, F16C 11/06, 14.04.2022; 2. RU 2743467 С1, МПК B61F 5/24, B60G 21/05, 18.02.2021; 3. RU 2763301 С1, МПК F16C 11/06, B61F 5/24, 28.12.2021; 4. RU 2777561 С1, МПК B61F 5/24, B60G 21/04, 08.08.2022, 5. RU 2788958 С1, МПК B61F 5/24, F16C 11/06. 26.01.2023; 6. RU 135614 S, МКПО 12-17, 02.03.2023].
Среди зарубежных стабилизаторов-аналогов можно назвать устройство по источнику информации [7. Solutions. - URL: https://www.ferrabyrne.co.uk/solutions/ (дата выкладки 25.02.2020, дата обращения 20.09.2024)].
Каждому из аналогов присущи те или другие преимущества и недостатки, по большей мере освещенные в описаниях к патентам.
Не следует и забывать о реализации основных принципов конструирования, среди которых принципы универсальности и взаимозаменяемости изделий.
Наиболее близким к заявляемому устройству аналогом (прототипом) по назначению и совокупности существенных конструктивных признаков является универсальная тяга торсионного стабилизатора поперечной устойчивости кузова транспортного средства, содержащая стержень с головками на его концах, по центру которых выполнены круглые ступенчатые сквозные асимметричные отверстия с осями, перпендикулярными продольной оси стержня и параллельными друг другу, при этом в упомянутые отверстия встроены шарнирные узлы, а торцы этих отверстий снабжены крышками с болтовым соединением с использованием глухих резьбовых отверстий, равномерно распределенных по окружностям, соосным упомянутым центральным отверстиям [8. RU 218044 U1, МПК B61F 5/24, опубл. 04.05.2023 «Тяга торсионного стабилизатора», патентообладатель Павлов С.В.].
В прототипе, как и во всех известных аналогах, тяги выполнены прямыми, преимущественно круглого и/или шестигранного поперечных сечений, сборными и установлены по бортам транспортного средства, с двухплоскостным, в том числе поперечным, отклонением от вертикали (поперечной - в частности, в компенсацию модуля ненулевой разности поперечных удаленностей B1 и В2 упомянутых шарниров от продольной вертикальной плоскости транспортного средства). При этом головки стержня выполнены «однослойными» (см. далее сравнение с заявляемым устройством).
Однако при всех своих положительных качествах прототипу, с учетом особенностей практического применения в составе торсионных стабилизаторов поперечной устойчивости вагонов транспортных средств (в том числе применительно к железнодорожным вагонам), свойственны следующие недостатки.
Во-первых, из-за ненулевой разности упомянутых величин B1 и В2 мест крепления шарниров тяги не достигнуты высокая компактность размещения стабилизатора на транспортном средстве и рациональное динамическое распределение усилий в нем (а значит, с учетом возросших угловых отклонений пальцев от их исходной ориентации повышенные износ и шум в шарнирах).
Во-вторых, тяги (а значит, и их заготовки) универсальны только своей пригодностью для любого из бортов транспортного средства - левого и правого (с их монтажом в той или иной позиции с разностью в 180° поворотом в горизонтальной плоскости), а при смене знака упомянутой разности (B1-В2) такие тяги не универсальны в смысле их применения на транспортном средстве с такой разностью величин B1 и В2.
В-третьих, сборность конструкции тяги (здесь речь идет о средней ее части, т.е. без учета шарниров) не лучшим образом отражается на ее прочностных возможностях в условиях больших нагрузок (тяговых и крутильных), надежности и сроке службы, является вынужденной мерой в условиях требования регулировки длины тяги и допустимости сборной конструкции. В частности, озабоченность вызывают резьбовые соединения, склонные к смятию резьбы.
Все перечисленное в отдельности и в совокупности определяет недостаточно высокие технико-эксплуатационные характеристики и возможности (ТЭХиВ) прототипа.
Проблема (задача), на решение которой направлено заявляемое изобретение (устройство), - разработать (спроектировать, предложить) тяги для транспортных средств с разнознаковыми разностями (В1-В2) поперечных габаритов по шарнирным узлам тяг, а также обеспечивающих повышенные показатели прочности, надежности и срока службы.
Планируемый технический результат использования - улучшение ТЭХиВ и возможностей торсионного стабилизатора, конкретно - тяг и торсионного стабилизатора в целом (частичная унификация, универсальность как возможность быстрого изготовления тяг для транспортных средств с разнознаковыми разностями (В1-В2) поперечных габаритов по шарнирным узлам тяг, а также обеспечение повышенных показателей прочности, надежности и срока службы).
Решение обозначенной проблемы (задачи) достигается тем, что в универсальной тяге торсионного стабилизатора поперечной устойчивости кузова транспортного средства, содержащей стержень с головками на его концах, по центру которых выполнены круглые ступенчатые сквозные асимметричные отверстия с осями, перпендикулярными продольной оси стержня и параллельными друг другу, при этом в упомянутые отверстия встроены шарнирные узлы, а торцы этих отверстий снабжены крышками с болтовым соединением с использованием глухих резьбовых отверстий, равномерно распределенных по окружностям, соосным упомянутым центральным отверстиям, согласно заявляемому изобретению, стержень изогнут в средней своей части в плоскости, проходящей через оси упомянутых центральных отверстий в головках, с взаимной параллельностью смещенных таким образом его концов на величину «b» в пределах установленного модуля разности поперечных удаленностей B1 и B2 упомянутых шарниров от продольной вертикальной плоскости транспортного средства:
b=|В1-В2|,
а головки стержня выполнены двухслойными, где внутренние слои представляют собой цилиндрические втулки-вставыши с упомянутыми центральными отверстиями, при этом втулки-вставыши установлены в наружных слоях головок по технологии тепловой посадки, с возможностью их установочной ориентации плюс/минус 180° относительно внешних слоев головок.
На решение поставленной задачи направлены и частные совокупности существенных признаков устройства в рамках основной совокупности его признаков, сформулированной в предыдущем абзаце и далее в формуле изобретения, а именно:
- отверстия крепления крышек могут быть выполнены во внутренних слоях головок, то есть во втулках-вставышах (это улучшит качество болтового соединения в варианте монтажа втулки-вставыша с предварительным нагревом наружного «слоя» головки, во избежание остаточных термических деформаций);
- отверстия крепления крышек могут быть выполнены в наружных слоях головок (это альтернатива предыдущему, для улучшения качества болтового соединения в варианте монтажа втулки-вставыша с предварительным охлаждением последней);
- втулки-вставыши могут быть установлены в наружных слоях головок с предварительным охлаждением втулок, например жидким азотом (это дает дополнительные преимущества: изменить температуру меньшей по массе и габаритам детали, каковой является втулка-вставыш, проще и быстрее, а если отверстия крепления торцевых крышек выполнены в наружных «слоях» головки, то это способствует сохранности геометрии этих отверстий);
- втулки-вставыши могут быть установлены в наружных слоях головок с предварительным нагревом наружных слоев головок, например индукционным (это альтернатива предыдущему, дающая возможность использования доступного оборудования с индукционной установкой, особенно при проблематичности поставок жидкого азота или иного средства охлаждения);
- стержень тяги может быть выполнен цельнометаллическим, с прямоугольным поперечным сечением и сглаженными ребрами (это существенно повышает прочность изделия-заготовки, а значит и конечного продукта - тяги, как при ее работе на растяжение/сжатие, так и на кручение);
- на стержне тяги может быть предусмотрена четырехугольная поперечная выборка под хомут проволочного поводка взаимосвязи тяги с рамой транспортного средства (это дополнительно расширяет ТЭВ стабилизатора, позволяя использовать страховочный тросовый поводок с компактным утапливанием его конца в теле тяги, повышает компактность).
Среди массива известных устройств не обнаружены такие, совокупность существенных признаков которых совпадала бы с заявленной совокупностью признаков. В то же время, именно за счет последней достигается новый технический результат, что обусловливает наличие у заявляемого устройства первого квалификационного признака - «мировой уровень новизны».
Совокупность отличительных существенных признаков заявляемого устройства не является простой суммой известных технических результатов применения порознь известных компонентов системы. Имеет место эмерджентность - «сверхэффект» (в патентоведческом значении этого термина), который не был очевидным для специалиста из достигнутого уровня техники (разумеется, до рассмотрения заявляемого технического решения). Это убедительно демонстрирует изобретательский уровень разработки как второй из триады квалификационных признаков изобретения.
Третий квалификационный признак - промышленная применимость - также неоспорим и вытекает из огромного мирового опыта проектирования, производства и эксплуатации механических подвесных устройств в транспортной отрасли.
Подробнее сущность изобретения (на примере стабилизатора по проекту ПРС.108 для железнодорожного вагона как приоритетного объекта внедрения) раскрывается в приведенном ниже описании, иллюстрированном фигурами 1-10, где позициями обозначены:
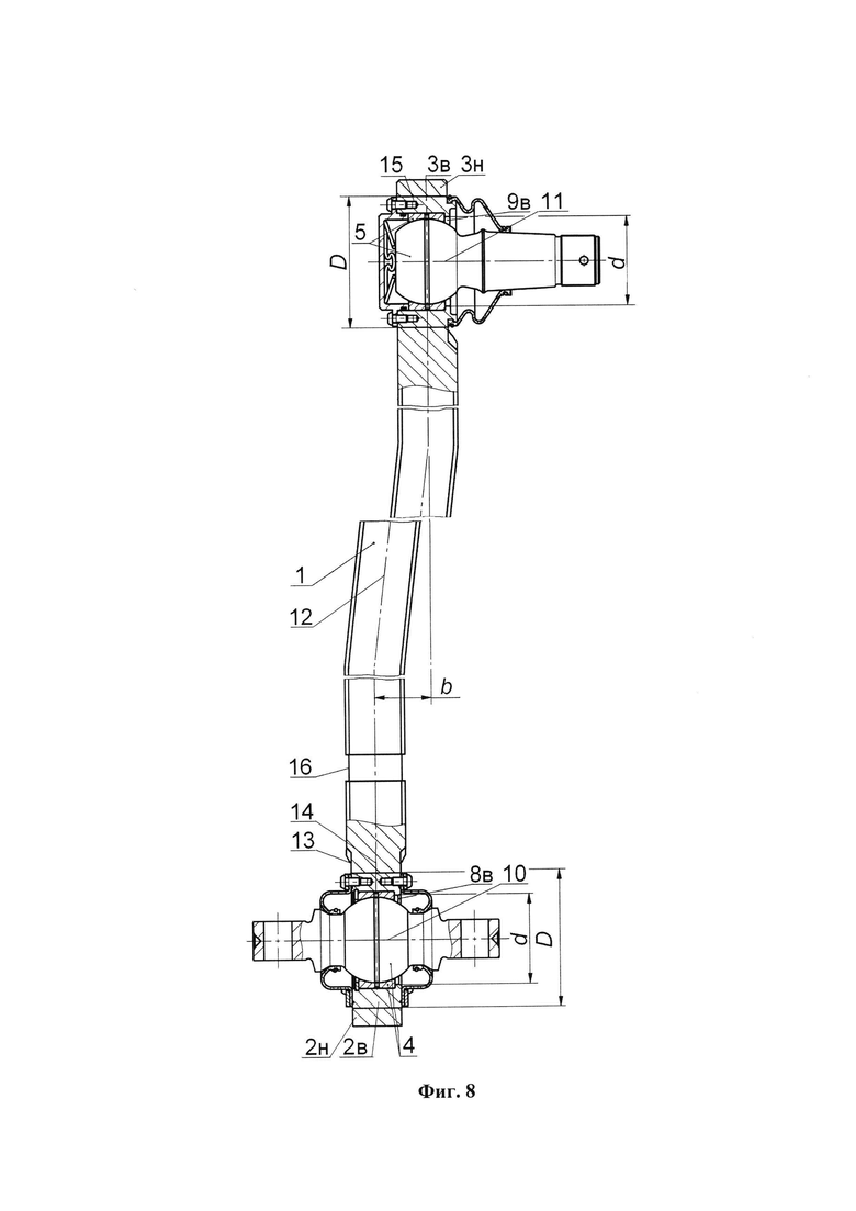
1 - стержень тяги; 2, 3 - головки стержня (с функцией корпусов сферических шарниров); 2в, 3в - втулки-вставыши (объекты теплового монтажа) в головках 2 и 3 соответственно; 4, 5 - сферические шарниры тяги; 6 - рычаг; 7 - рама транспортного средства (здесь конкретно рама колесной тележки); 8н, 9н - центральные сквозные круглые отверстия («наружные») в головках под втулки-вставыши; 8в, 9в - центральные сквозные круглые отверстия («внутренние) во втулках-вставышах под шарнирные узлы; 10, 11 - оси отверстий 8 и 9 (8н, 9н, 8в, 9в); 12 - продольная ось стержня; 13-15 - глухие резьбовые отверстия («фланцевые») в торцах головок стержня тяги (либо во внутренних «слоях» головок, т.е. во втулках-вставышах, как показано в примере, либо в наружных «слоях»); 16 - поперечная выборка в стержне; 17 - торсион стабилизатора; 18 - рама транспортного средства (здесь конкретно рама кузова транспортного средства); 19л, 19п - соответственно левая и правая тяги стабилизатора.
Символами обозначены:
b - взаимное смещение концов стержня 1;
В1, В2 - поперечные удаленности (расстояния) шарниров 4, 5 от продольной вертикальной плоскости транспортного средства (вагона);
D - диаметр сквозного круглого отверстия 8, 9 в каждой из головок стержня под втулку-вставыш с тепловой посадкой, т.е. для формирования двухслойных головок стержня;
d - минимальный диаметр ступенчатых отверстий во втулках-вставышах и в головках тяги в целом;
А и Б - варианты ориентации втулки-вставыша в гнезде (различие в 180° поворота оси);
t° - технология теплового монтажа (сборки) двух деталей системы «вал-отверстие» с тугой посадкой.
На фиг. 1 представлена схема компоновки торсионного стабилизатора по варианту компоновки К1 (торсион установлен на раме кузова) и положительной величиной b, вид спереди;
На фиг. 2 - схема компоновки торсионного стабилизатора по варианту компоновки К1 (торсион установлен на раме кузова) и отрицательной величиной b, вид спереди;
На фиг. 3 - схема компоновки торсионного стабилизатора по варианту компоновки К2 (торсион установлен на раме колесной тележки) и положительной величиной b, вид спереди;
На фиг. 4 - схема компоновки торсионного стабилизатора по варианту компоновки К2 (торсион установлен на раме колесной тележки) и отрицательной величиной b, вид спереди;
На фиг. 5 - заготовка стержня тяги на стадии подготовки теплового монтажа втулок-вставышей в головки, вид спереди;
На фиг. 6 - то же, вид сбоку.
На фиг. 7 - схема монтажа (сборки) втулок-вставышей в головках стержня по технологии тепловой посадки с вариантами А и Б ориентации втулок-вставышей, на примере одной из головок, виды спереди;
На фиг. 8 - продольный разрез тяги в сборе, вид спереди;
На фиг. 9 - тяга в сборе, вид сбоку;
На фиг. 10 - тяга в сборе, общий вид.
Универсальная тяга торсионного стабилизатора поперечной устойчивости кузова транспортного средства (на примере железнодорожного вагона) содержит стержень 1 с головками 2 и 3 на его концах, по центру которых выполнены круглые ступенчатые сквозные асимметричные отверстия 8 и 9 с наименьшим диаметром d и с осями 10 и 11 соответственно. Оси 10 и 11 перпендикулярны продольной оси 12 стержня 1 и параллельны друг другу (см. фиг. 5, 6, 8). При этом в отверстия 8 и 9 (конкретно - 8в и 9в, о чем подробнее далее по тексту) встроены шарнирные узлы 4 и 5 соответственно бортового расположения (т.е. слева справа по бортам), взаимосвязи тяги соответственно со свободным концом рычага 6 торсионного стабилизатора и с рамой (7 или 18 в зависимости компоновки стабилизатора) транспортного средства (см. фиг. 1-4).
Торцы этих отверстий снабжены крышками (см. фиг. 8-10) с болтовым соединением с использованием глухих резьбовых отверстий 13-15, равномерно распределенных по окружностям, соосным центральным отверстиям 8 и 9.
Стержень 1 изогнут (см. фиг. 5, 8, 10) в средней своей части в плоскости, проходящей через оси 10 и 11 центральных отверстий 8 и 9 в головках 2 и 3, с взаимной параллельностью смещенных таким образом его концов на величину «b» в пределах установленного модуля разности поперечных удаленностей B1 и B2 упомянутых шарниров от продольной вертикальной плоскости транспортного средства (см. фиг. 1-4):
b=|В1-В2|.
Разумеется, для обеих тяг 19л, 19п.
Головки 2 и 3 стержня 1 выполнены двухслойными, где внутренние слои (2в и 3в) представляют собой цилиндрические втулки-вставыши с упомянутыми центральными отверстиями 8в и 9в соответственно. Втулки-вставыши 2в и 3в установлены в наружных слоях 2н и 3н головок 2 и 3 соответственно, со сквозными посадочными отверстиями 8н и 9н соответственно, диаметром D, Причем по технологии тепловой посадки с натягом (прессовая посадка), в рассматриваемых ниже частных примерах (дополнительных признаках).
Допустимо и употребление термина «гильза» вместо или наряду с термином «головка-вставыш», но не в условиях требования единства терминологии.
Предусмотрена возможность установочной ориентации втулок-вставышей 2в и 3в (как несимметричных изделий из-за асимметричной конфигурации ступенчатых отверстий 8в и 9в) плюс/минус 180° относительно наружных слоев 2н и 3н головок 2 и 3 (см. схему монтажа на фиг. 7).
Далее описаны дополнительные признаки, не обязательные для выполнения, но рекомендуемые как рациональные.
Отверстия 13-15 крепления крышек могут быть выполнены во внутренних слоях 2в и 3в головок 2 и 3, то есть во втулках-вставышах 2в и 3в (как это показано в приведенном примере выполнения устройства), или (как альтернатива) - в наружных слоях головок 2 и 3.
Втулки-вставыши 2в и 3в могут быть установлены в наружных слоях головок 2 и 3 с предварительным охлаждением втулок-вставышей 2в и 3в, например жидким азотом (LN2), или (как альтернатива) - с предварительным нагревом наружных слоев 2н и 3н головок 2 и 3, например индукционным (в индукционной печи).
Стержень 1 может быть выполнен цельнометаллическим, с прямоугольным поперечным сечением и сглаженными ребрами (см. фиг. 5, 6, 8, 10).
На стержне 1 может быть предусмотрена четырехугольная поперечная выборка 16 (см. фиг. 5, 6, 8, 10) под хомут проволочного поводка взаимосвязи тяги (19л и 19п) с рамой (7 или 18 в зависимости от компоновки стабилизатора) транспортного средства (последний не показан). В общем же случае выборка 16 может быть иной формы, например круглой.
Заявляемую универсальную тягу используют следующим образом.
Собственно принцип действия торсионного стабилизатора в целом не отличается от аналогов и хорошо известен специалистам в области транспорта и рельсового, и безрельсового. В сжатом виде происходит следующее (на примере компоновки К1 (см. фиг. 1, 2).
При боковых наклонах кузова торсионный вал 17 поворачивается вокруг своей оси и одновременно упруго закручивается (последнее явление не к чему, но с ним приходится считаться), создавая усилие на рычагах 6, препятствующее этому боковому наклону и стремящееся вернуть кузов с его рамой 7 в исходное положение, в основном за счет поворота левого и правого рычагов 6 с перемещением тяг 19л и 19п в разные стороны. В случае бокового смещения (относа) кузова (его рамы 7) осуществляется упругий его наклон в сторону, противоположную относу. При этом на рычагах 6 возникают разнонаправленные усилия, которые через тяги 19 соответственно действуют на кузов и наклоняют его в противоположную сторону относа. Суммарная сила этих двух сил стремится вернуть кузов (его раму 7) в положение равновесия. Максимальный нормированный угол наклона, не должен превышать для составов скоростных и высокоскоростных 1,0…1,5 градусов.
Однако под углом зрения заявляемого изобретения актуальный интерес представляют особенности технологического перехода (т.е. на стадии изготовления) промежуточного изделия, названного здесь «изделием-заготовкой тяги» (см. фиг. 5, 6), в конечный продукт - тягу 19 по вариантам (опциям) А или Б (см. фиг. 7) на выбор: для какого подвижного состава в данном случае предназначен стабилизатор, по базовому габаритному показателю (B1-B2).
Поскольку упомянутое выше изделие-заготовка (см. фиг. 5, 6) тяги (см. фиг. 8-10) включает в себя большую часть операций по изготовлению вариантов А и Б (см. фиг. 7), она универсальна для этих вариантов, что обусловливает целесообразность его включения в перечень производимой продукции предприятием-изготовителем, с общим пакетом чертежно-конструкторской документации (как изделие внутреннего пользования, в таком виде не поставляемого заказчику.
Финишная доводка изделия-заготовки тяги по фиг. 5, 6 в конечный вариант конструкции А или Б (см. фиг. 8-10) будет заключаться лишь в установке втулок-вставышей 2в и 3в посадочные отверстия 8н и 9н диаметром D с натягом (прессовая посадка в системе «вал-отверстие») по вариантам А или Б в зависимости от знака величины b (см. фиг. 1-4), ситуации (заказа), с разницей в их поперечной ориентации на 180°.
Это показано на схеме монтажа фиг. 7. Монтаж втулок-вставышей 2в и 3в на примере одной из них, а именно 2в, осуществляют известным в технологии способом тепловой посадки (t°). При этом в принципе не исключается использование пресса, но рекомендуется либо предварительное охлаждение втулки-вставыша 2в, например жидким азотом (LN2), либо, наоборот, предварительным нагревом наружного слоя 2н головки 2 стержня 1. Выбор конкретного способа зависит от спектра производственных условий, включая доступность оборудования и расходных материалов.
А далее, разумеется, производят монтаж шарниров 4, 5 в головках 2, 3.
В этом смысле заявляемое изделие-заготовка универсальна для тяг А и Б.
При этих условиях последние становятся «адресными» для вариантов А и Б.
Далее о влиянии дополнительного признака в отношении стержня тяги «цельнометаллический стержень 1 плюс прямоугольный его профиль и выполнение головок 2 и 3 заодно целое с центральной частью стержня 1»: такая конструкция выдерживает большие знакопеременные продольные и крутильные нагрузки (свойственные условиям работы подвижных составов согласно Техническому заданию). Соответственно, обеспечение заданных запасов прочности, показателей надежности и срока службы конечных изделий реализуются при большей простоте конструкции и в меньших массогабаритных показателях, уже на стадии изделия-заготовки. Отсутствие резьбовых соединений снимает распространенную проблему смятия резьбы.
Конструктивная организация прямоугольной (при прямоугольном сечении стержня 1) выборки (канавки-гнезда) 16 под хомут крепления страховочного тросика тяги характеризуется максимальной компактностью и надежностью в условиях вероятных деструктивных внешних механических воздействий. При прямоугольности и стержня 1 и выборки 16 получается лучшее распределение напряжений от крутящих моментов на стержне тяги, чем при разной конфигурации поперечных сечений тяги 1 и выборки 16.
Во всем этом и заключается причинно-следственная связь между конструктивными особенностями и техническим результатом использования устройства.
Таким образом, предложено техническое решение, решающее поставленную проблему (задачу). Технический результат использования заключается в улучшении ТЭХиВ и возможностей торсионного стабилизатора, конкретно тяг и торсионного стабилизатора в целом (частичная унификация, универсальность как возможность быстрого изготовления тяг для транспортных средств с разнознаковыми разностями поперечных габаритов по шарнирным узлам тяг, а также обеспечение повышенных показателей прочности, надежности и срока службы).
| название | год | авторы | номер документа |
|---|---|---|---|
| Изделие-заготовка тяги торсионного стабилизатора поперечной устойчивости кузова транспортного средства | 2024 |
|
RU2839606C1 |
| Торсионный стабилизатор "ПРС.107" поперечной устойчивости кузова | 2024 |
|
RU2840114C1 |
| ШАРНИРНЫЙ НАКОНЕЧНИК ТЯГИ ТОРСИОННОГО СТАБИЛИЗАТОРА БОКОВОГО НАКЛОНА КУЗОВА ВАГОНА | 2022 |
|
RU2788958C1 |
| УСТРОЙСТВО ВЗАИМОСВЯЗИ ПАСПОРТНОЙ ТАБЛИЧКИ И ИЗДЕЛИЯ, СНАБЖЕННОГО ГРАНЕНОЙ ГАЙКОЙ | 2022 |
|
RU2789559C1 |
| КОНТРОВОЧНОЕ УСТРОЙСТВО БОЛТОВОГО СОЕДИНЕНИЯ ФЛАНЦЕВЫХ ДЕТАЛЕЙ | 2024 |
|
RU2837822C1 |
| Тяга торсионного стабилизатора вагона | 2020 |
|
RU2743601C1 |
| КОМПЛЕКТ ИЗ ТЯГИ ТОРСИОННОГО СТАБИЛИЗАТОРА ПОПЕРЕЧНОГО НАКЛОНА КУЗОВА ВАГОНА И ПОВОДКА ПРОДОЛЬНОЙ ВЗАИМОСВЯЗИ РАМЫ И КОЛЕСНОЙ ТЕЛЕЖКИ ВАГОНА | 2022 |
|
RU2772848C1 |
| Наконечник тяги торсионного стабилизатора поперечной устойчивости кузова транспортного средства | 2020 |
|
RU2738872C1 |
| ШАРНИРНЫЙ УЗЕЛ | 2024 |
|
RU2823699C1 |
| Болтовое соединение для крепления цилиндрического тела в полуцилиндрическом гнезде опорной детали | 2022 |
|
RU2782732C1 |
Изобретение относится к машиностроению. Универсальная тяга торсионного стабилизатора поперечной устойчивости кузова транспортного средства содержит стержень с головками на его концах. По центру головок выполнены круглые ступенчатые сквозные асимметричные отверстия с осями, перпендикулярными продольной оси стержня и параллельными друг другу. В отверстия встроены шарнирные узлы. Торцы отверстий снабжены крышками с болтовым соединением с использованием глухих резьбовых отверстий. Резьбовые отверстия равномерно распределены по окружностям и соосны центральным отверстиям. Стержень изогнут в средней своей части в плоскости, проходящей через оси центральных отверстий в головках, с взаимной параллельностью смещенных таким образом его концов на величину «b» в пределах установленного модуля разности поперечных удаленностей шарниров от продольной вертикальной плоскости транспортного средства. Головки стержня выполнены двухслойными. Внутренние слои головок представляют собой цилиндрические втулки-вставыши с центральными отверстиями. Втулки-вставыши установлены в наружных слоях головок по технологии тепловой посадки, с возможностью их установочной ориентации плюс/минус 180° относительно внешних слоев головок. Достигается улучшение технико-эксплуатационных характеристик и возможностей тяг и торсионных стабилизаторов. 6 з.п. ф-лы, 10 ил.
1. Универсальная тяга торсионного стабилизатора поперечной устойчивости кузова транспортного средства, содержащая стержень с головками на его концах, по центру которых выполнены круглые ступенчатые сквозные асимметричные отверстия с осями, перпендикулярными продольной оси стержня и параллельными друг другу, при этом в упомянутые отверстия встроены шарнирные узлы, а торцы этих отверстий снабжены крышками с болтовым соединением с использованием глухих резьбовых отверстий, равномерно распределенных по окружностям, соосным упомянутым центральным отверстиям, отличающаяся тем, что стержень изогнут в средней своей части в плоскости, проходящей через оси упомянутых центральных отверстий в головках, с взаимной параллельностью смещенных таким образом его концов на величину «b» в пределах установленного модуля разности поперечных удаленностей В1 и В2 упомянутых шарниров от продольной вертикальной плоскости транспортного средства:
b=|B1-В2|,
а головки стержня выполнены двухслойными, где внутренние слои представляют собой цилиндрические втулки-вставыши с упомянутыми центральными отверстиями, при этом втулки-вставыши установлены в наружных слоях головок по технологии тепловой посадки, с возможностью их установочной ориентации плюс/минус 180° относительно внешних слоев головок.
2. Универсальная тяга по п. 1, отличающаяся тем, что отверстия крепления крышек выполнены во внутренних слоях головок, то есть во втулках-вставышах.
3. Универсальная тяга по п. 1, отличающаяся тем, что отверстия крепления крышек выполнены в наружных слоях головок.
4. Универсальная тяга по п. 1, отличающаяся тем, что втулки-вставыши установлены в наружных слоях головок с предварительным охлаждением втулок, например, жидким азотом.
5. Универсальная тяга по п. 1, отличающаяся тем, что втулки-вставыши установлены в наружных слоях головок с предварительным нагревом наружных слоев головок, например, индукционным.
6. Универсальная тяга по п. 1, отличающаяся тем, что ее стержень выполнен цельнометаллическим, с прямоугольным поперечным сечением и сглаженными ребрами.
7. Универсальная тяга по п. 1, отличающаяся тем, что на ее стержне предусмотрена четырехугольная поперечная выборка под хомут проволочного поводка взаимосвязи тяги с рамой транспортного средства.
| ОРГЭНЕРГОСТРОЙ» | 0 |
|
SU218044A1 |
| КОМПЛЕКТ ИЗ ТЯГИ ТОРСИОННОГО СТАБИЛИЗАТОРА ПОПЕРЕЧНОГО НАКЛОНА КУЗОВА ВАГОНА И ПОВОДКА ПРОДОЛЬНОЙ ВЗАИМОСВЯЗИ РАМЫ И КОЛЕСНОЙ ТЕЛЕЖКИ ВАГОНА | 2022 |
|
RU2772848C1 |
| 0 |
|
SU153438A1 | |
| Торсионный узел стабилизатора бокового наклона кузова вагона | 2020 |
|
RU2743467C1 |
| CN 106828529 A, 13.06.2017 | |||
| CN 206141565 U, 03.05.2017 | |||
| CN 106184270 A, 07.12.2016. | |||
Авторы
Даты
2025-05-19—Публикация
2024-11-11—Подача