Изобретение относится к электротехнике, к электродвигателям и к механизмам его использования.
Электродвигатели конструкции статор-ротор на одной оси имеют ряд недостатков. А именно, масса статора в механической работе на вращение не участвует, через статор электродвигатель теряет половину силы электромагнитных полей, направленных на вращение ротора. В тяговом варианте электродвигатели работают с дополнительным понижающим редуктором.
Технический результат, работа представленного электродвигателя Андронова II, на основе конструкции электродвигателя, состоящей из шести роторов на своих валах, установленных на осях X,Y,Z, X',Y',Z'. Патент РФ 2664560.
Описание конструкции двигателя
Фиг. 1. Показана основополагающая конструкция
1) Вал ротора
2) Ротор
3) Основание ротора
4) Шестерня вала ротора
5) Рабочая сторона ротора
Фиг. 2. Показан блок центрирующий, синхронизирующий валы роторов
6) Шестерни промежуточные (синхронизирующие)
7) Валы промежуточных шестерен
8) Вершины кубического блока
9) Центр скрепления валов
10) Корпус блока
11) Отверстия центрирующие валы роторов
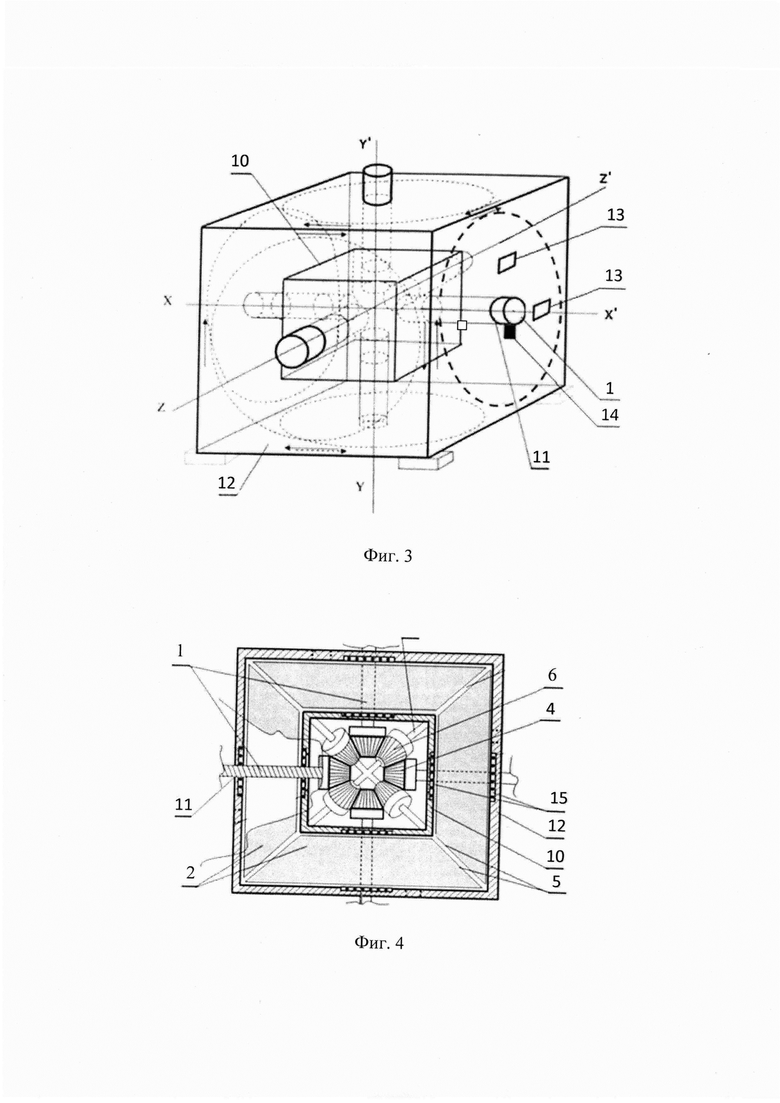
Фиг. 3. Показано центрирование валов роторов в корпусе электродвигателя и навесное оборудование
12) Корпус электродвигателя
13) Окна для электрощеток
14) Датчик положения роторов
Фиг. 4. Двигатель в разрезе
15) Подшипники валов ротора
Фиг. 5 и Фиг. 6. Устройство ротора
16) Одна из сторон корпуса электродвигателя
17) Опорное кольцо электромагнитных сегментов
18) Стойки между электромагнитными сегментами
19) Электромагнитные сегменты
20) Электрощетка
21) Электрощетка
22) Разрезное на 8 частей токосъемное кольцо
23) Цельное токосъемное кольцо
24) Электрощетка
Фиг. 7. Электромагнитные сегменты в роторе
Фиг. 8. Электромагнитный сегмент
25) Медные катушки
Фиг. 9. Рабочая зона электромагнитных сегментов
26) Рабочая зона электромагнитных сегментов
Фиг. 10. Показаны формы полярности электромагнитных полей в рабочих зонах электромагнитных сегментов роторов в корпусе электродвигателя по роторам
27) Электроэнергия, не меняющая полярность электромагнитного поля
28) Электроэнергия, меняющая полярность электромагнитного поля
Фиг. 11. Блочная электросхема
29) ЭБУ - электрический блок управления
30) Регулятор скорости
Фиг. 12. Электроцепи, связывающие электрощетки с токосъемными кольцами, а кольца с электромагнитными сегментами
Фиг. 13. Картограмма, показывающая позиции электромагнитных сегментов под действием электромагнитных полей
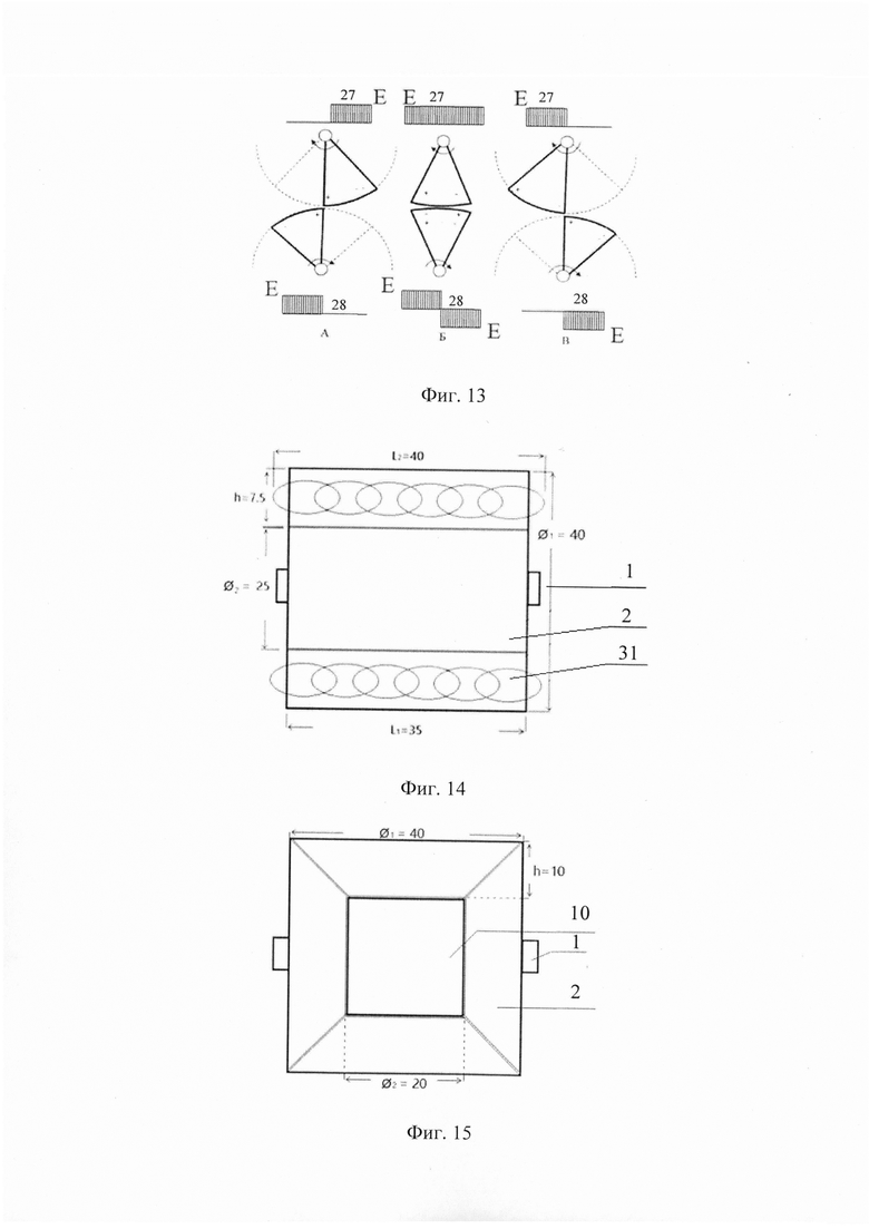
Фиг. 14. Показан электродвигатель статор-ротор без внешнего корпуса с размерами
31) Статор
Фиг. 15. Эл. двигатель ротор-ротор без внешнего корпуса с размерами
Фиг. 16. Показан результат действий электродвигателя статор-ротор
32) Электродвигатель статор-ротор
33) Редуктор
34) Нагрузка
Фиг.17. Показывает результат действий электродвигателя ротор-ротор
35) Электродвигатель ротор-ротор
Спецификация обозначения буквами
С - статор
Р - ротор
S - сила электромагнитного поля
Е - величина электроэнергии
F - частота генерации электроэнергии
Q - потери электромагнитных и механических трений
ω - скорость вращения
М - величина производительности
C1…С8 - внутренние номера электросегментов в роторах.
Основы работы электродвигателя на вращение валов 1, с роторами 2, расположенными на осях X,Y,Z, X',Y',Z', фиг. 1, электромагнитными сегментами 19 фиг. 8, установленными в роторах фиг. 7, в окна, образованные основанием ротора 3, стойками 18 и скрепленные кольцом 17.
Действия сегментов роторов, находящихся в рабочей зоне электромагнитных полей 26 фиг. 9.
Электромагнитные сегменты в позиции А фиг. 13, электроэнергия в катушках 25 фиг. 8, образует магнитные поля в сегментах с противоположными значениями, сегменты под воздействием магнитных полей с роторами продвигаются в позицию Б.
Совершено вращение роторов на 1/16 оборота. В позиции Б в одном электросегменте, посредством электропитания, меняется полярность магнитного поля на противоположное значение, магнитные поля передвигают сегменты с роторами в позицию В на 1/16 оборота, действия электромагнитных полей повернули ротора с валами. 1/16+1/6, на 1/8 оборота в противоположные стороны.
Конструктивно и физически под воздействием магнитных полей вращение роторов происходит без ста тора.
В электродвигателе все ротора равно одинаковые. Электрическая часть роторов подключена к электрическим цепям 27, 24, 28, исходящих от ЭБУ 29 фиг. 11. Электроэнергия с 27 линии с неменяющейся значением полярности через электрощетку 20 фиг. 5, фиг. 6, фиг. 12 через ламели 3 токосъемного кольца 22 поступает на катушки 25 электросегментов фиг.8 с внутренними номерами в роторе С3 и С7. Электролиния 24 через электрощетку на токосъемное кольцо 23, постоянно подключена с электросегментами. Электроэнергия с 28 линии, с меняющейся полярностью, через электрощетку 21 поступает на ламели 5 токосъемного кольца 22, далее на электросегменты С5 и С1 и происходят действия электромагнитных полей в роторах на вращение, согласно картограмме фиг.13, повернув ротора на 1/8 оборота вместе с токосъемными кольцами. Электроэнергия на щетках 20 и 21 переходит на следующие ламели 4 и 6 токосъемного кольца 22. Электроэнергия поступает на электросегменты С4, С8 и С6, С2, ротора продолжают вращение. Для полного оборота роторов электромагнитные сегменты получают электроэнергию восемь раз с линий 27 и 28 постоянной и меняющейся полярностью, что соответствует частоте генерации F=8 Гц на один оборот. Своевременное переключение полярности электроэнергии на линии 28 контролирует датчик положения ротора 14 фиг. 3. ЭБУ 29 работает на принципе широтно-импульсной модуляции электроэнергии с меняющейся скважностью от 0 до 100%. Фиг. 11.
На фиг. 10 показаны рабочие зоны магнитных нолей с меняющейся полярностью от линии 28 и неменяющейся полярностью от линии 27, на видимых сторонах роторов, стоящих на осях X,Y,Z, на осях X',Y',Z' - зеркально. Конфигурация магнитных полей электросегментов в роторах фиг.10 соответствует картограмме фиг.13.
Блок корпус 10 фиг.2 центрирующий валы роторов 1 фиг.5 по осям X,Y,Z и X',Y',Z' фиг.1, и синхронизирующий вращение роторов 2 фиг.1 с шестернями валов роторов 4 фиг.1 промежуточными шестернями 6 фиг.2 на своих валах 7 фиг.2, установленных в блоке с направлением от вершин 8 к центру 9, где скреплены между собой. Шестерни 6 вращаются вокруг своих осей и сочлены зубьями с шестернями 4 валов роторов фиг.4 следующим образом, одна шестерня ротора с двумя шестернями промежуточными с угловым обхватом зубьями по окружности 180° - 180°. Одна шестерня промежуточная с тремя шестернями валов роторов с угловым обхватом зубьями по окружности 120°-120°-120°, конический угол всех шестерен 32°. Допускается принудительная смазка шестерен через вершины корпуса двигателя 12 фиг.9, в вершины корпуса блока 10 фиг.2. Электродвигатель не противоречит работе на валах роторов, от одного до шести включительно. При одновременной и равной М на шести валах роторов, динамическая нагрузка на зубья всех шестерен в блоке 10 равна нулю.
В конструкции двигателя электрощетки, износ которых зависит от скорости вращения роторов и величины электроэнергии через них. Скорость вращения на истирание в восемь раз меньше, да и электроэнергия меньше.
На фиг. 14 показан электродвигатель статор-ротор без внешнего корпуса размером 40x40x40, с площадью электромагнитных полей на вращение ротора, для сравнения с двигателем ротор-ротор фиг. 15 без внешнего корпуса размером 40x40x40, где площадь рабочих сторон 5. роторов 2. фиг. 1 с электросегментами, воспроизводящие магнитные поля на вращение роторов.
Площадь магнитных полей двигателя ста тор-ротор равна L1 × D2 × π=25×35×3,14-2747
Площадь магнитных полей электросегментов шести роторов двигателя равна
где
- работа электросегментов в роторах, поочередно, через один.
Данные при Блоке 10, равном 1/8 объема двигателя 2747 и 2826
Площади электромагнитных полей, действующих на вращение, на фиг. 14 и на фиг. 15 равны.
Электродвигателя конструкции статор-ротор, скорость вращения вала ротора при 1 Гц (IF) электроэнергии 1Е равно одному обороту (Iω)
На фиг. 16 показана работа электродвигателя статор-ротор 32 от электроэнергии 1E8F с потерей половины силы магнитных полей в механически неподвижном статоре на вращение ротора с валом (1/2 S), совершив восемь оборотов (8 ω)
В тяговом варианте с редуктором 33 понижающий 8 ω до 1 ω, и повышающий восьмикратно силу (8S) на вращение в нагрузку 34, величина производительности 1/2 М.
На фиг.17 показан электродвигатель ротор-ротор 35 от электроэнергии 1E8F.
Силы S магнитных полей вращают роторы в противоположные стороны фиг.9 и полностью реализованы на вращение валов роторов. Электродвигатель в тяговом варианте работает без редуктора на основании: роторы с валами под воздействием электроэнергии 1E1F совершает 1/8 оборота. Электроэнергия 1E8F повернет роторы с валами на один оборот (1ω), при этом получает восьмикратную силу магнитного поля (8S) на вращение. Результат в нагрузку 34 равен производительности 1М.
На фиг.16 и фиг.17 показаны результаты производительности электродвигателей при равных Q - потери электромагнитных и механических трений.
Конструкция электродвигателя, состоящая из роторов, с конусом рабочих сторон роторов в 90° фиг.5, фиг.7, вращаются на своих осях X,Y,Z и X',Y',Z' с постановочным углом осей 90°. Электромагнитные поля сегментов 19, действующие на вращение роторов в противоположные стороны в зонах 26 фиг.9, фиг.10, условно параллельные. Вне зоны 26, магнитные поля сегментов роторов находятся под углом 90°.
Магнитные поля, независимо от полярности под углом 90° нейтральны, и не создают электрических противотоков.
К данной конструкции двигателя практических доказательств отсутствия противо ЭДС нет.
| название | год | авторы | номер документа |
|---|---|---|---|
| Электродвигатель Андронова | 2017 |
|
RU2664560C2 |
| СПОСОБ СЛАБОВИБРАЦИОННОГО СЛУЧАЙНОГО СМЕЩЕНИЯ ГРУЗОВ | 2013 |
|
RU2541579C2 |
| РЕВЕРСИВНАЯ ЭЛЕКТРОМЕХАНИЧЕСКАЯ ПЕРЕДАЧА | 2018 |
|
RU2671128C1 |
| БЕСКОНТАКТНЫЙ ДАТЧИК СКОРОСТИ ВРАЩЕНИЯ И ПОЛОЖЕНИЯ РОТОРА | 2012 |
|
RU2488122C1 |
| ЭЛЕКТРОДВИГАТЕЛЬ ПОСТОЯННОГО ТОКА С ЧАСТИЧНОЙ ПРОТИВО-ЭДС | 2020 |
|
RU2749049C1 |
| МНОГОФУНКЦИОНАЛЬНЫЙ КОМПЛЕКС ЭЛЕКТРОПРИВОДОВ НА БАЗЕ ПЛАНЕТАРНОГО ЦИКЛОИДАЛЬНОГО РЕДУКТОРА - МКЭ ПЦР | 2008 |
|
RU2452883C2 |
| Электродвигатель | 1984 |
|
SU1321382A3 |
| ЭЛЕКТРИЧЕСКАЯ МАШИНА (ВАРИАНТЫ) | 2005 |
|
RU2286641C1 |
| ЭЛЕКТРОДВИГАТЕЛЬ КНБК В ВИДЕ ТРУБЫ В ТРУБЕ | 2012 |
|
RU2616956C2 |
| ЭЛЕКТРОМАГНИТНЫЙ ДВИГАТЕЛЬ | 2012 |
|
RU2506689C2 |
Изобретение относится к области электротехники. Электродвигатель включает корпус в виде кубической конструкции, в которой с каждой стороны корпуса на валах смонтированы роторы. Каждый из роторов выполнен в виде усеченного конуса, образованного из восьми рабочих электромагнитных сегментов в виде трапеций, размещенных широким основанием от центра корпуса и последовательно связанных друг с другом. Внутри корпуса размещен дополнительный блок-корпус, центрирующий и синхронизирующий вращение роторов, а роторы связаны друг с другом посредством зубчатых конических шестерен, установленных на своих валах внутри блока-корпуса и выполненных с возможностью свободного вращения вокруг них. Электродвигатель снабжен датчиком положения и электронным блоком управления, выполненным с возможностью подачи электроэнергии постоянной и меняющейся полярности к электромагнитным сегментам роторов по сигналу датчика положения через щетки и размещенные на валах каждого из роторов и связанные с катушками электромагнитных сегментов через цельное и разрезное на 8 частей токосъемные кольца. 17 ил.
Электродвигатель, включающий корпус в виде кубической конструкции, в которой с каждой стороны корпуса на валах смонтированы роторы, каждый из которых выполнен в виде усеченного конуса, образованного из восьми рабочих электромагнитных сегментов в виде трапеций, размещенных широким основанием от центра корпуса и последовательно связанных друг с другом, причем внутри корпуса размещен дополнительный блок-корпус, центрирующий и синхронизирующий вращение роторов, а роторы связаны друг с другом посредством зубчатых конических шестерен, установленных на своих валах внутри блока-корпуса и выполненных с возможностью свободного вращения вокруг них, отличающийся тем, что электродвигатель снабжен датчиком положения и электронным блоком управления, выполненным с возможностью подачи электроэнергии постоянной и меняющейся полярности к электромагнитным сегментам роторов по сигналу датчика положения через щетки и размещенные на валах каждого из роторов и связанные с катушками электромагнитных сегментов через цельное и разрезное на 8 частей токосъемные кольца.
| Электродвигатель Андронова | 2017 |
|
RU2664560C2 |
| US 6232671 B1, 15.05.2001 | |||
| US 8853977 B1, 07.10.2014 | |||
| US 4498015 A1, 05.02.1985 | |||
| Электродвигатель с электромагнитным подвесом ротора | 1983 |
|
SU1163422A1 |
Авторы
Даты
2025-06-02—Публикация
2024-04-16—Подача