СПОСОБ КОНТРОЛЯ ПРОЦЕССА ПРОИЗВОДСТВА СТАЛИ Российский патент 2022 года по МПК C21C5/28 C21C5/52 F27D19/00 

Описание патента на изобретение RU2782109C1

Изобретение относится к способу контроля процесса производства стали и к компьютерной программе, которая включает команды, позволяющие осуществить указанный способ.

Сталь может быть произведена двумя различными способами. Первый способ заключается в получении горячего металла из доменной печи и затем указанный горячий металл превращается в сталь путем обезуглероживания в кислородном конвертере. Второй способ заключается в плавлении лома черного металла в дуговой сталеплавильной печи (EAF - ДСП) для непосредственного производства стали.

Согласно первому способу, горячий металл из доменной печи выливают в ковш для горячего металла, который затем выливают в конвертер (или BOF, то есть конверторную печь), в который предварительно загружен металлический лом. Кислород вдувают в конвертер, например, через кислородную фурму, чтобы обеспечить обезуглероживание горячего металла и его превращение в жидкую сталь. Шлак, называемый конвертерным шлаком, является побочным продуктом такой реакции.

В реакции обезуглероживания выделяется энергия, поэтому для регулирования температуры полученной жидкой стали обычно добавляют металлический лом. Кроме того, могут загружаться дополнительные минеральные добавки, такие как известь, доломит, известняк, и другие, для того чтобы регулировать химический состав и температуру полученной жидкой стали. Указанные минеральные добавки также могут быть использованы для контроля химического состава шлака, поскольку состав шлака оказывает влияние на равновесие между жидкой сталью и шлаком и, таким образом, на стимулирование реакций, происходящих в жидкой стали.

Таким образом, количество загруженного горячего металла, каждого типа лома и минеральных добавок определяют количество, температуру и конечный состав полученной жидкой стали.

Согласно второму способу, различные типы лома, такие как лом, появляющиеся из остатков процесса производства стали, или металлические отходы, появляющиеся в результате утилизации стальных продуктов, можно загружать в печь ДСП. Электрическая дуга, создаваемая электродами, используется для расплавления указанного металлического лома и превращения его в жидкую сталь. Кроме того, в печь ДСП вдувается кислород для того, чтобы удалить примеси, внесенные с ломом. Минеральные добавки, такие как известь или доломит, также можно загружать, для того чтобы регулировать состав жидкой стали или шлака, как в конвертере.

Каждый вид металлических отходов и других материалов имеет различные свойства, которые оказывают влияние на конечные характеристики жидкой стали, и поэтому их соответствующие количества, загружаемые в печь ДСП, необходимо контролировать с целью достижения заданных характеристик жидкой стали.

В документе IN2015KO00582 описана технологическая модель для печи BOF, в которой количество минеральных потоков, добавленных в горячий металл, и количество вдуваемого кислорода рассчитывается на основе анализа шлака, состава горячего металла, заданной основности и % MgO в шлаке. В этом способе учитывается только процентное содержание флюса и кислорода для контроля производства стали, в то время как игнорируются металлические отходы, горячий металл или другие возможно загружаемые материалы. Это снижает точность моделирования и ограничивает возможности достижения заданного состава стали оптимальным способом согласно техническим условиям завода.

Таким образом, существует потребность в способе, обеспечивающем контроль процесса производства стали эффективным и точным путем.

Указанная проблема решается с помощью способа согласно изобретению, причем указанный способ включает в себя следующие этапы:

a) определение по меньшей мере одного набора заданных характеристик TCSY получаемой жидкой стали,

b) определение по меньшей мере двух заданных характеристик шлака STX, причем каждое из заданных характеристик шлака характеризует свойства шлака,

c) вычисление, для каждой заданной характеристики шлака STX, количества AMYX материалов, которое будет загружено в аппарат для производства стали, что позволяет получить по меньшей мере один определенный набор заданных характеристик TCSY, с учетом соответствующих свойств каждого материала PMn, причем указанное количество AMYX материалов включает в себя отдельное количество aYXMn каждого из загружаемых материалов Mn,

d) выбор количества AMYX материалов.

Кроме того, способ по изобретению может включать следующие необязательные признаки, которые рассматриваются отдельно или в соответствии со всевозможными техническими комбинациями:

- коэффициент n больше или равен 2;

- заданные характеристики TCSY получаемой жидкой стали и/или по меньшей мере две заданные характеристики шлака STX определяются с использованием метода сеточного разбиения,

- метод сеточного разбиеная не имеет постоянного шага,

- заданные характеристики TCSY включают в себя по меньшей мере температуру жидкой стали в конце процесса производства стали, состав жидкой стали в конце процесса производств стали или массу жидкой стали в конце процесса производства стали,

- каждая из заданных характеристик шлака STX содержит по меньшей мере характеристику основности шлака, содержание железа в шлаке или содержание оксида марганца в шлаке,

- загружаемые материалы Mn выбирают из горячего металла, металлического лома, минеральных добавок и кислорода,

- загружаемые материалы Mn включают в себя несколько видов металлического лома с различными свойствами,

- соответствующие свойства PMn материалов выбирают из вида металлического лома, плотности металлического лома, состава материала, температуры материала, максимальной массы материала, минимальной массы материала,

- вычисление на этапе c) проводят с использованием по меньшей мере одной модели,

- по меньшей мере одну модель выбирают из группы, состоящей из физической модели, статистической модели, термодинамической модели,

- по меньшей мере одна модель включает в себя уравнение, характеризующее массовый баланс и тепловой баланс процесса производств стали,

- дополнительно способ включает в себя этап c’) расчета функции ограничений fc(AMYX) для каждого вычисленного количества AMYX материалов, причем результат вычисления на этапе c) основан на расчете указанной функции ограничений,

- расчет функции ограничений включает в себя присвоение весовых коэффициентов kn каждому отдельному количеству aYXMn материала и суммирование взвешенного отдельного количества aYXMn материала для каждого количества AMYX материалов, и результатом этапа вычисления является количество AMYX материалов с наименьшей расчетной функцией ограничений,

- весовые коэффициенты kn представляют собой степень доступности каждого материала Mn,

- кроме того, способ включает этап c”) расчета функции количественной оценки fs(AMYX) для каждого вычисленного количества AMYX, материалов, при этом этап выбора d) основан на указанном расчете функции количественной оценки,

- расчет функции количественной оценки включает в себя использование коэффициентов количественной оценки qi для каждого вычисленного количества AMYX материалов, причем указанные коэффициенты количественной оценки qi зависят от значений определенных заданных характеристик стали TCSY и заданных характеристик шлака STX, для которых были вычислены количества AMYX материалов, и затем этап выбора заключается в выборе количества AMYX материалов с наименьшей расчетной функцией количественной оценки,

- аппарат для производства стали представляет собой конвертер или конвертерную печь, при этом процесс производства стали включает в себя по меньшей мере один этап кислородной продувки внутри аппарата для производства стали, и вычисленное количество AMYX материалов представляет собой количество aYXMn каждого материала, которое должно загружаться в аппарат для производства стали от начала процесса производств стали до конца единственного или первого этапа продувки,

- аппарат для производства стали представляет собой дуговую сталеплавильную печь,

- аппарат для производства стали является аппаратом внепечной металлургии.

Кроме того, изобретение относится к компьютерной программе, включающей команды, которые при их исполнении процессором, приводят к реализации способа по любому из ранее указанных вариантов осуществления изобретения.

Прочие характеристики и преимущества изобретения будут вполне ясны из его описания, которое изложено ниже путем указания и которое никоим образом не ограничено, со ссылкой на прилагаемые фигуры, в которых:

- Фигура 1 иллюстрирует процесс производства стали в конвертере,

- Фигура 2 представляет собой блок-схему способа согласно изобретению, для контроля процесса производств стали.

Элементы на фигурах являются иллюстративными и могут быть выполнены не в масштабе.

С помощью способа согласно изобретению возможно точное определение количества каждого материала, загружаемого в аппарат для производства стали, и оптимизация процесса производств стали с точки зрения достижения заданных характеристик стали, потребления материалов и экономии энергии.

Фигура 1 иллюстрирует различные этапы процесса производства стали в специальном аппарате для производства стали, называемом конвертером 1. На этапе a) в конвертер 1 загружается первый материал M1, например, металлический лом. Конвертер 1 находится в наклонном положении для облегчения загрузки материала. На этапе b) второй материал M2, такой как горячий металл, заливается в конвертер, находящийся еще в наклонном положении. На этапе c) конвертер 1 перемещается в стандартное вертикальное положение, и в конвертер вводится трубка 2 для введения третьего материала M3, которым может быть кислород. Кислород можно вводить другим путем, не через трубку, например, с помощью дутьевой фурмы, расположенной, например, в донной части конвертера (здесь не показано). Этап введения кислорода называется этапом дутья, в процессе может быть один или несколько указанных этапов дутья. Затем на этапе d) в конвертер загружают четвертый M4 и пятый материал M5, такой как известь и доломит или другие минеральные добавки. Все загруженные в конвертер материалы нагреваются и плавятся для образования ванны, состоящей из жидкой стали 3 в процессе производства и слоя шлака 4, который является неизбежным и необходимым побочным продуктом процесса производства стали, состоящим исключительно из примесей, которые будут удалены из жидкой стали для достижения заданного конечного состава стали. Как показано, различные типы материалов могут быть загружены в аппарат для производства стали, причем они могут быть загружены в различных конфигурациях и/или с помощью различного оборудования. Кроме ранее указанных компонентов, этими материалами также могут быть передельный чугун, песок, легирующие добавки, такие как ферросилиций FeSi или ферромарганец FeMn.

Каждый материал Mn, который должен загружаться, имеет присущие ему характеристики PMn. Указанные характеристики материала могут быть выбраны следующих характеристик: состав материала, температура материала, тип материала, плотность материала, максимальная масса материала, имеющегося в распоряжении, или минимальная масса.

Способ производства стали может быть любого типа из известных процессов производства стали, таких как конвертерный или процесс производств стали BOF (с основной кислородной печью), процесс ДСП (с дуговой сталеплавильной печью) или любого типа из вторичной металлургической переработки, таких как обработка в ковше, конвертерная обработка AOD, поскольку во всех этих процессах конечным продуктом является жидкая сталь.

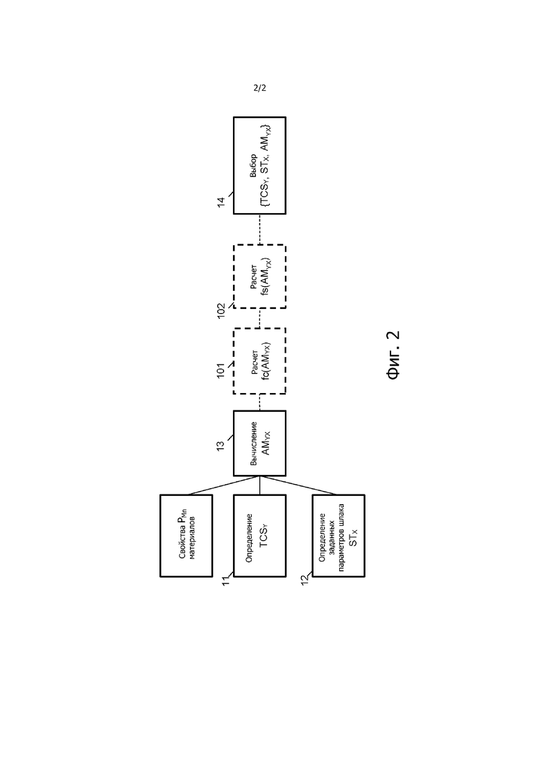
Фигура 2 иллюстрирует блок-схему способа согласно изобретению. На первом этапе 11 определяется по меньшей мере один набор заданных характеристик TCSY жидкой стали 3, которая должна быть получена. Они представляют собой характеристики, которые должна иметь жидкая сталь в конце процесса производства стали. Конец процесса производства - это когда жидкая сталь выливается из аппарата для производства стали. Предпочтительно характеристики включают в себя по меньшей мере температуру жидкой стали в конце процесса производства стали, состав жидкой стали в конце процесса производства стали или массу жидкой стали в конце процесса производства стали. Обычно эти характеристики определяются в соответствии с конечным твердым стальным продуктом, который должен быть произведен, а именно его составом и микроструктурой, а также в соответствии с ожиданиями на последующем этапе литья. В случае существования более одного набора заданных характеристик TCSY жидкой стали 3, возможны различные способы их определения. В предпочтительном варианте определяется диапазон значений для каждой характеристики из указанного набора и заданное число значений, выбираемых в указанном диапазоне. Это называется сеточным разбиением. В качестве примера, для характеристического содержания углерода в стали заданный диапазон значений составляет между 400 и 600 миллионных долей (м.д.) и число значений, выбираемых в этом диапазоне, равно пяти. Тогда содержание углерода будет определено как 400, 450, 500, 550 и 600 м.д. в различных наборах заданных характеристик стали. В этом примере шаг между двумя выбранными значениями одинаковый, однако в случае необходимости также может быть установлен более короткий шаг для значений вблизи границ диапазона.

На втором этапе 12 определяются по меньшей мере две заданные характеристики шлака STX. Каждая из указанных заданных характеристик шлака содержит значение типичной характеристики шлака, такой как его основность, содержание железа и/или содержание оксида магния MgO в шлаке. Основность шлака может быть рассчитана как отношение %CaO к %SiO2. Основность шлака является важной характеристикой для регулирования удаления примесей из жидкой стали, таких как фосфор или сера. Для определения заданных характеристик шлака может быть использован метод сеточного разбиения, описанный для определения заданных характеристик стали.

Кроме того, важным является содержание MgO и FeO в шлаке. Шлак содержит растворенные соединения кальция и кислотные соединения, которые вызывают растворение MgO из огнеупорных кирпичей облицовки аппарата в шлак. MgO растворяется в шлаке в зависимости от содержания FeO, основности и температуры. Чем меньше основность шлака, тем выше потребность в MgO для шлака. Увеличение содержания FeO и температуры также повышает потребность в MgO для шлака.

На третьем этапе 13 рассчитывается количество AMYX материалов для каждой комбинации заданных характеристик шлака STX и заданных характеристик стали TCSY, с учетом соответствующих свойств материалов PMn. Указанное количество AMYX материалов включает в себя отдельное количество aYXMn каждого материала Mn, которое должно загружаться. Предпочтительно указанный расчет проводится с использованием одной или нескольких моделей. Эти модели основаны на системе уравнений, которые описывают характер изменения элементов внутри аппарата для производства стали. Они могут быть различных типов:

Балансы масс элементов: они обеспечивают условие, что количество каждого химического элемента, поступающего в аппарат будет соответствовать количеству этого же элемента на выходе. Эти балансы обеспечивают условие: что было введено - выходит из аппарата. Для каждого элемента “elmt” соответствующий баланс массы элемента можно записать в виде:

где:

- IOMn - коэффициент, который равен +1, если рассматриваемый материал является входящим (например, горячий металл, металлические отходы...), и -1, если материал является выходящим (например, монооксид углерода, который удаляется из аппарата для производства стали в газообразном виде);

- YMn - выход материала, привязанный к каждому материалу, значения выхода находятся между 0 и 1. “1” означает, что 100 % количества материала достигает ванны внутри аппарата. Действительно, некоторые материалы могут быть слишком активными или летучими и выходить вместе с дымом, покидающим аппарат, даже не достигая ванны внутри аппарата;

- aYXMn - отдельное количество каждого загружаемого материала Mn (это значение должно рассчитываться);

- wMn,comp - содержание материала Mn в соединении “comp” (например, CaO);

- wcomp,elmt - содержание соединения “comp” в элементе “elmt” (например, Ca является элементом соединения CaO).

Тепловой баланс. Этот баланс обеспечивает равенство энергии, поступающей в систему и выходящей из системы. Это обеспечивает условие, что указанные количества будут сопоставимы с достижением конечной температуры стали, если это потребуется. Энергия материала может быть вычислена в отдельном модуле и сохранена в коэффициенте (HMn) энтальпии, который выражен в МДж/кг. Энергия зависит от состава, температуры и состояния рассматриваемых материалов (твердый, жидкий металл…). Также может быть введено значение энтальпии из справочника, если для ее определения используется внешнее вычисление. Кроме энергии, которая переносится материалами, часть энергии теряется путем термического излучения. Это называется тепловыми потерями. Эти потери можно статистически предварительно оценивать на основе таких параметров, как время ожидания аппарата между двумя нагревами или конечной температуры стали.

Тепловой баланс может быть выражен в виде:

где:

- ThermalLosses - тепловые потери;

- IOMn - коэффициент, который равен +1, если рассматриваемый материал является входящим (например, горячий металл, металлические отходы...), и -1, если материал является выходящим (например, монооксид углерода, который удаляется из аппарата для производства стали в газообразном виде);

- YMn - выход материала, привязанный к каждому материалу, значения выхода находятся между 0 и 1. “1” означает, что 100 % количества материала достигает ванны внутри аппарата. Действительно, некоторые материалы могут быть слишком активными или летучими и выходить вместе с дымом, покидающим аппарат, даже не достигая ванны внутри аппарата;

- aYXMn - отдельное количество каждого загружаемого материала Mn (это значение должно рассчитываться);

- HMn - коэффициент энтальпии рассматриваемого материала Mn .

Технологические весовые ограничения: они обеспечивают, чтобы предполагаемые количества находились в заданных допустимых пределах.

Технологические ограничения по содержанию: они обеспечивают, чтобы предполагаемые количества были совместимы с заданными диапазонами при анализе продукции (стали и шлака).

Статистические предварительные оценки: они описывают некоторые физические закономерности, которые не могут быть определены посредством непосредственного соотношения. Они используется, чтобы “приблизительно определить” некоторые конечные параметры, если известны некоторые другие параметры. Типичными статистическими зависимостями являются полилинейные регрессии или нейронные сети.

Затем полную систему уравнений, полученную таким образом, решают с помощью решающей программы, такой как линейная решающая программа SIMPLEX, для каждой комбинации заданных характеристик шлака STX и заданных характеристик стали TCSY. Когда может быть получено решение, выход представляет собой количество AMYX материалов, включающее в себя отдельное количество aYXMn каждого загружаемого материала Mn.

Возможен случай получения нескольких решений для системы уравнений для данной комбинации {TCSY, STX}. В таком случае, на необязательном этапе 101 рассчитывается функция fC(AMYX) ограничений для каждого вычисленного количества AMYX материалов, и проводится выбор на основе этой рассчитанной функции ограничений. Под ограничениями можно понимать стоимость энергии или степень доступности каждого материала. В качестве примера, расчет указанной функции ограничений включает в себя применение весового коэффициента kn для количества aYXMn каждого отдельного материала и суммирование взвешенных количеств aYXMn отдельных материалов для каждого количества AMYX материалов. Весовые коэффициенты kn могут характеризовать степень доступности каждого материала Mn или могут быть выбраны в зависимости от собственной стратегии предприятия, для которого может быть предпочтительным использование одного материала по сравнению с другим. Указанные коэффициенты kn также могут характеризовать стоимость каждого материала Mn. Единственным оставшимся решением является количество aYXMn материала с наименьшей рассчитанной функцией ограничений.

На четвертом этапе 14 выбирают одно из ранее вычисленного количества AMYX материалов вместе с ассоциированной с ним комбинацией заданных характеристик стали TCSY и заданных характеристик шлака STX.

На необязательном этапе 102 рассчитывается функция количественной оценки fS(AMYX). Эта функция количественной оценки учитывает комбинацию заданных характеристик стали TCSY и заданных характеристик шлака STX, исходя из которых вычислено количество AMYX материалов. Указанная функция количественной оценки может содержать коэффициенты qi «бонус/малюс», применяемые для данных заданных характеристик стали TCSY и заданных характеристик шлака STX. В качестве примера, если содержание углерода определяется как 400, 450, 500, 550 и 600 м.д. в различных определенных наборах заданных характеристик стали, однако на предприятии отдают предпочтение содержанию 450 м.д. и обычно предпочитают избегать 600 м.д., тогда можно использовать коэффициент q равный +5 для количества AMYX материалов, рассчитанного для заданных характеристик стали STX, включающих содержание углерода 600 м.д., и коэффициент равный -5 для количества AMYX материалов, рассчитанного для заданных характеристик стали STX, включающих содержание углерода 450 м.д. Кроме того, коэффициенты qi могут быть определена в соответствии с вязкостью шлака, насыщению извести в шлаке или по любому другому подходящему параметру, характеризующему шлак или свойства стали, независимо от того, входят ли они в набор заданных характеристик стали TCSY или заданных характеристик шлака STX, или могут быть рассчитаны, или смоделированы.

Затем этап отбора 14 заключается в выборе количества AMYX материалов с наименьшей рассчитанной функцией количественной оценки, которая может быть выражена как:

или может включать рассчитанную функцию ограничений:

После выбора количества AYXMn материалов информация может быть отправлена дежурному оператору процесса производств стали, например, через человеко-машинный интерфейс, или информация также может быть отправлена в дежурное средство автоматической загрузки аппарата для производства стали различными материалами Mn.

Все указанные этапы могут быть переведены в последовательность команд, и этот способ может быть выполнен с помощью компьютерной программы, включающей указанные команды.

Когда процесс производства стали осуществляется в конвертере, как описано ранее в связи с фигурой 1, процесс производства стали включает в себя по меньшей мере один этап продувки. В варианте осуществления изобретения, рассчитанное количество AMYX материалов представляет собой количество каждого материала aYXMn, который должен загружаться в аппарат для производства стали от начала процесса производства стали до окончания единственного или первого этапа продувки.

Пример результатов, полученных способом согласно изобретению, приведен ниже. В этом примере процесс производства стали осуществляется в конвертере. Доступные материалы и их соответствующие свойства приведены в таблице 1. Среди этих свойств указаны: состав по некоторым химическим элементам, минимальная загружаемая масса (Wmin) и температура. Весовые коэффициенты kn ассоциированы с каждым материалом в соответствии с стратегией предприятия. Были определены восемь заданных характеристик стали, которые приведены в таблице 2. Среди этих характеристик указаны: конечный состав по некоторым элементам, выраженный в м.д., конечное содержание кислорода в полученной жидкой стали, выраженное в м.д., и конечная температура полученной жидкой стали. Во всех таблицах проценты указаны по массе. Определены шесть заданных характеристик шлака, которые включают основность шлака и содержание MgO. Указанные заданные характеристики шлака приведены в таблице 3.

Таблица 3

Основность % MgO ST1 3 3 ST2 3 5 ST3 3 7 ST4 4 3 ST5 4 5 ST6 4 7 ST7 5 3 ST8 5 5 ST9 5 7

Затем были определены уравнения теплового баланса и массового элементного баланса, которые описаны ранее, и решены с использованием линейной решающей программы SIMPLEX, для каждой комбинации заданных значений шлака STX и заданных характеристик стали TCSY. Результатом такого решения является количество AMYX материалов, что служит основой для расчета функции количественной оценки согласно формуле . Результаты расчета такой глобальной функции показаны в таблице 4. Символ «NO» означает, что отсутствует возможное решение для данной комбинации, то есть, невозможно достичь заданных характеристик стали при этих заданных характеристиках шлака с использованием доступных материалов.

Выбранное количество A24Mn является одним, полученным из комбинации между значениями TCS2 и ST4, подробности приведены в таблице 5.

Таблица 5

Mn A24Mn Горячий металл (в кг) 850 Лом 1 (в кг) 209,1 Лом 2 (в кг) 0 Оборотный лом 0 Передельный чугун (в кг) 7,8 O2 (в нм3) 46,9 Известь (в кг) 47,5 Доломит (в кг) 7,2 Песок (в кг) 6,3 Руда (в кг) 11,9 FeSi 0

Используя способ согласно изобретению, можно точно контролировать процесс производства стали путем вычисления количества каждого материала, который должен загружаться в аппарат для производства стали с учетом соответствующих свойств указанных материалов, а также с учетом всех химических и термических взаимодействий между этими материалами во время процесса производства стали. Используя способ согласно изобретению, можно достичь заданных характеристик стали, причем это осуществляется оптимальным образом, с учетом особенностей каждого предприятия (доступные материалы, конкретные составы каждого материала, внутренняя стратегия, такая как рециклинг побочных продуктов, потребление местных продуктов…).

Таблица 2

C Fe Mn P S Ni Cu Cr Al O (м.д.) T(°C) TCSy 1 459,0 997 388,5 536,2 85,0 186,7 170,0 529,5 170,0 0,0 475 1600 TCSy 2 459,0 997 388,5 536,2 85,0 186,7 170,0 529,5 170,0 0,0 475 1620 TCSy 3 459,0 997 388,5 536,2 85,0 186,7 170,0 529,5 170,0 0,0 550 1660 TCSy 4 459,0 997 388,5 536,2 85,0 186,7 170,0 529,5 170,0 0,0 550 1720 TCSy 5 459,0 997 388,5 536,2 85,0 186,7 170,0 529,5 170,0 0,0 925 1660 TCSy 6 459,0 997 388,5 536,2 85,0 186,7 170,0 529,5 170,0 0,0 925 1720 TCSy 7 459,0 997 388,5 536,2 85,0 186,7 170,0 529,5 170,0 0,0 1150 1600 TCSy 8 459,0 997 388,5 536,2 85,0 186,7 170,0 529,5 170,0 0,0 1150 1720

Таблица 4

TCS1 TCS2 TCS3 TCS4 TCS5 TCS6 TCS7 TCS8 ST1 NO 322 328 353 331 365 NO NO ST2 NO 322 329 359 333 502 NO NO ST3 NO 323 331 366 335 NO NO NO ST4 NO 319 323 335 325 339 NO 343 ST5 NO 320 324 338 326 343 NO 347 ST6 NO 320 324 340 325 346 NO 352 ST7 NO 321 322 331 323 328 NO 336 ST8 NO 321 322 332 323 330 NO 338 ST9 NO 322 322 334 324 331 NO 341

Похожие патенты RU2782109C1

название год авторы номер документа
СПОСОБ ПРОИЗВОДСТВА СТАЛИ В КОНВЕРТЕРЕ 2006
  • Енин Александр Васильевич
  • Бодяев Юрий Алексеевич
  • Авраменко Виталий Алексеевич
  • Филиппов Юрий Михайлович
  • Парфилов Олег Валентинович
  • Снегирев Юрий Борисович
RU2341563C2
СПОСОБ ПЕРЕРАБОТКИ В КИСЛОРОДНОМ КОНВЕРТЕРЕ НИЗКОКРЕМНИСТОГО ВАНАДИЙСОДЕРЖАЩЕГО МЕТАЛЛИЧЕСКОГО РАСПЛАВА 2014
  • Смирнов Леонид Андреевич
  • Ровнушкин Виктор Аркадьевич
  • Смирнов Андрей Леонидович
RU2566230C2
Способ выплавки стали в кислородном конвертере 2015
  • Сергеев Дмитрий Станиславович
  • Бигеев Вахит Абдрашитович
  • Колесников Юрий Алексеевич
  • Дудчук Игорь Анатольевич
RU2608008C1
СПОСОБ ВЫПЛАВКИ СТАЛИ В КИСЛОРОДНОМ КОНВЕРТЕРЕ 1990
  • Ганошенко Владимир Иванович[Ua]
  • Иванов Евгений Анатольевич[Ua]
  • Поживанов Михаил Александрович[Ua]
  • Мельник Сергей Григорьевич[Ua]
  • Конопля Виктор Григорьевич[Ua]
  • Плохих Петр Андреевич[Ua]
  • Гнедаш Александр Васильевич[Ua]
  • Бузун Игорь Леонидович[Ua]
  • Сапелкин Николай Николаевич[Ua]
  • Ромадыкин Сергей Дмитриевич[Ua]
  • Бусько Михаил Викторович[Ua]
RU2034037C1
УСТРОЙСТВО ОЦЕНКИ СОСТОЯНИЯ ПЕЧИ, СПОСОБ ОЦЕНКИ СОСТОЯНИЯ ПЕЧИ И СПОСОБ ПРОИЗВОДСТВА ЖИДКОЙ СТАЛИ 2022
  • Касэ, Хирото
  • Сугино, Томохиро
  • Кавабата, Рё
  • Кимура, Юки
RU2833841C2
СПОСОБ ВЫПЛАВКИ СТАЛИ В КИСЛОРОДНОМ КОНВЕРТЕРЕ 2014
  • Харитонов Олег Юрьевич
RU2594996C2
СПОСОБ ВЫПЛАВКИ СТАЛИ В КИСЛОРОДНОМ КОНВЕРТЕРЕ С ВЕРХНЕЙ ПРОДУВКОЙ 2007
  • Косырев Анатолий Иванович
  • Шишимиров Матвей Владимирович
  • Якушев Алексей Михайлович
RU2353661C2
СПОСОБ РАФИНИРОВАНИЯ ЖИДКОГО ЧУГУНА 2021
  • Огасавара Футоси
  • Нэгиси Хидэмицу
  • Накасэ Кэндзи
  • Амано Сёта
  • Мураками Юми
  • Рэй
  • Хаттори Юдай
  • Кавабата Рё
  • Кикути Наоки
RU2818100C1
СПОСОБ ПЕРЕДЕЛА НИЗКОМАРГАНЦОВИСТОГО ЧУГУНА В КОНВЕРТЕРЕ С ПРЕДВАРИТЕЛЬНЫМ НАГРЕВОМ ЛОМА 2008
  • Шахпазов Евгений Христофорович
  • Пак Юрий Алексеевич
  • Глухих Марина Владиславовна
  • Дейнеко Андрей Дмитриевич
  • Левада Антон Григорьевич
  • Ваганов Евгений Юрьевич
  • Валитов Валерий Галиевич
RU2380429C1
СПОСОБ ПРОИЗВОДСТВА СТАЛИ В КИСЛОРОДНОМ КОНВЕРТЕРЕ 2007
  • Машинский Валентин Михайлович
  • Лаврик Александр Никитович
  • Галиуллин Тахир Рахимзянович
  • Соколов Валерий Васильевич
  • Комшуков Валерий Павлович
  • Буймов Владимир Афанасьевич
  • Ермолаев Анатолий Иванович
  • Янак Борис Ефимович
  • Щипанов Алексей Иванович
RU2347819C2

Иллюстрации к изобретению RU 2 782 109 C1

Реферат патента 2022 года СПОСОБ КОНТРОЛЯ ПРОЦЕССА ПРОИЗВОДСТВА СТАЛИ

Изобретение относится к металлургии и может быть использовано для контроля процесса производства стали. Загружают в аппарат для производства стали материалы Mn, каждый из которых имеет соответствующие свойства PMn для получения стали и шлака, причем коэффициент n больше или равен 2. Определяют по меньшей мере один набор заданных характеристик TCSY производимой жидкой стали, определяют по меньшей мере две заданные характеристики шлака STX,, вычисляют для каждой заданной характеристики шлака STX количество AMYX материалов, которое должно быть загружено, позволяющее получить указанный по меньшей мере один определенный набор заданных характеристик TCSY, с учетом соответствующих свойств каждого материала PMn, причем указанное количество AMYX материалов включает в себя отдельное количество aYXMn каждого из загружаемых материалов Mn. Изобретение позволяет при производстве стали учитывать в составе шихты, помимо флюса и кислорода, количество и свойства металлических отходов и горячего металла, что обеспечивает точность моделирования процесса и расширяет возможности достижения заданного состава стали. 2 н. и 18 з.п. ф-лы, 2 ил., 5 табл., 1 пр.

Формула изобретения RU 2 782 109 C1

1. Способ контроля процесса производства стали в аппарате для производства стали, в котором материалы Mn, каждый из которых имеет соответствующие свойства PMn, загружают в указанный аппарат для производства стали, с тем чтобы получить жидкую сталь и шлак, причем коэффициент n больше или равен 2, содержащий этапы, на которых:

а) определяют (11) по меньшей мере один набор заданных характеристик TCSY производимой жидкой стали,

b) определяют (12) по меньшей мере две заданные характеристики шлака STX, причем каждая из указанных заданных характеристик шлака содержит параметры, характеризующие свойства шлака,

с) вычисляют (13) для каждой заданной характеристики шлака STX количество AMYX материалов, которое должно быть загружено в аппарат для производства стали, позволяющее получить указанный по меньшей мере один определенный набор заданных характеристик TCSY, с учетом соответствующих свойств каждого материала PMn, причем указанное количество AMYX материалов включает в себя отдельное количество aYXMn каждого из загружаемых материалов Mn,

d) выбирают (14) количество AMYX материалов.

2. Способ по п. 1, в котором указанные заданные характеристики TCSY производимой жидкой стали и/или указанные по меньшей мере две заданные характеристики шлака STX определяют с использованием метода сеточного разбиения.

3. Способ по п. 2, в котором метод сеточного разбиения не имеет постоянного шага.

4. Способ по любому из предшествующих пунктов, в котором указанные заданные характеристики TCSY включают в себя по меньшей мере температуру жидкой стали в конце процесса производства стали, состав жидкой стали в конце процесса производства стали или массу жидкой стали в конце процесса производства стали.

5. Способ по любому из предшествующих пунктов, в котором каждая из заданных характеристик STX шлака включает, по меньшей мере, параметр, характеризующий основность шлака, содержание железа в шлаке или содержание оксида марганца в шлаке.

6. Способ по любому из предшествующих пунктов, в котором загружаемые материалы Mn выбирают среди горячего металла, металлического лома, минеральных добавок и кислорода.

7. Способ по п. 6, в котором загружаемые материалы Mn включают в себя несколько видов металлического лома с различными свойствами.

8. Способ по любому из предшествующих пунктов, в котором указанные соответствующие свойства PMn материалов выбирают из вида металлического лома, плотности металлического лома, состава материала, температуры материала, максимальной массы материала, минимальной массы материала.

9. Способ по любому из предшествующих пунктов, в котором вычисление на этапе c) выполняют с использованием по меньшей мере одной модели.

10. Способ по п. 9, в котором указанную по меньшей мере одну модель выбирают из группы, состоящей из физической модели, статистической модели, термодинамической модели.

11. Способ по п. 9 или 10, в котором указанная по меньшей мере одна модель содержит уравнение, характеризующее массовый баланс и тепловой баланс процесса производства стали.

12. Способ по любому из предшествующих пунктов, который также содержит этап c’), на котором рассчитывают (101) функцию ограничений fc(AMYX) для каждого вычисленного количества AMYX материалов, при этом указанный результат вычисления на этапе c) основан на расчете указанной функции ограничений.

13. Способ по п. 12, в котором указанный расчет (101) функции ограничений включает присвоение весовых коэффициентов kn количеству aYXMn каждого отдельного материала и суммирование указанных взвешенных количеств aYXMn отдельных материалов для каждого количества AMYX материалов, при этом результатом этапа вычисления (13) является указанное количество AMYX материалов с наименьшей рассчитанной функцией ограничений.

14. Способ по п. 14, в котором весовые коэффициенты kn характеризуют степень доступности каждого материала Mn.

15. Способ по любому из предшествующих пунктов, который также включает этап c”), на котором рассчитывают (102) функцию fs(AMYX) количественной оценки для каждого вычисленного количества AMYX материалов, и указанный этап d) выбора основан на указанном расчете функции количественной оценки.

16. Способ по п. 15, в котором указанный расчет (102) функции количественной оценки включает применение коэффициента qi количественной оценки к каждому вычисленному количеству AMYX материалов, причем указанный коэффициент qi количественной оценки зависит от параметров указанных определенных заданных характеристик TCSY стали и заданных характеристик STX шлака, для которых было вычислено указанное количество AMYX материалов, и на указанном этапе выбора (14) выбирают количество AMYX материалов с наименьшей расчетной функцией количественной оценки.

17. Способ по любому из предшествующих пунктов, в котором аппарат для производства стали представляет собой конвертер или конвертерную печь, причем процесс производства стали включает в себя по меньшей мере один этап кислородной продувки внутри аппарата для производства стали, и вычисленное количество AMYX материалов представляет собой количество каждого материала aYXMn, которое должно быть загружено в аппарат для производства стали от начала процесса производства стали до конца единственного или первого этапа продувки.

18. Способ по любому из пп. 1-16, в котором аппарат для производства стали представляет собой дуговую сталеплавильную печь.

19. Способ по любому из пп. 1-16, в котором аппарат для производства стали представляет собой аппарат внепечной металлургии.

20. Машиночитаемый носитель информации с сохраненной компьютерной программой, содержащей команды, которые при исполнении их процессором, осуществляют способ по любому из предшествующих пунктов.

Документы, цитированные в отчете о поиске Патент 2022 года RU2782109C1

Приспособление для суммирования отрезков прямых линий 1923
  • Иванцов Г.П.
SU2010A1
CN 107502698 A, 22.12.2017
CA 942507 A, 26.02.1974
CN 106119458 B, 16.11.2016
СПОСОБ УПРАВЛЕНИЯ ВЫПЛАВКОЙ СТАЛИ В ДУГОВОЙ СТАЛЕПЛАВИЛЬНОЙ ПЕЧИ 2014
  • Меркер Эдуард Эдгарович
  • Черменёв Евгений Александрович
  • Грачёва Ирина Юрьевна
RU2567425C1
УСТРОЙСТВО ДЛЯ ИЗМЕРЕНИЯ И РЕГУЛИРОВАНИЯ ПОДАЧИ ЗАГРУЗОЧНОГО МАТЕРИАЛА ИЛИ МЕТАЛЛОЛОМА В ЭЛЕКТРИЧЕСКУЮ ДУГОВУЮ ПЕЧЬ И СООТВЕТСТВУЮЩИЙ СПОСОБ 2006
  • Арджента Паоло
  • Реали Сильвио
  • Лодати Клаудио
  • Бьянчи Ферри Мауро
RU2417346C2

RU 2 782 109 C1

Авторы

Вагнер, Дамьен

Юбер, Жан-Кристоф

Даты

2022-10-21Публикация

2019-04-17Подача