Изобретение относится к подъемному оборудованию и может быть использовано при проведении монтажа и ремонта паровых турбин, и может быть использовано для подъема верхней половины цилиндра высокого давления паровой турбины.
Известен способ подъема верхней половины корпуса цилиндра турбины при помощи устройства, состоящего из крюка, траверсы, строп, соединенных с винтовыми стяжками (талрепами) («Турбинные установки ТЭС и АЭС. Устройство, эксплуатация и ремонт» Зарубина Н.В., Карницкий Н.Б., стр. 375, рис. 19.3, 2020 год). Недостатком такого решения является сложность контроля перекосов и смещений верхней половины цилиндра относительно нижней, а также невозможность использования такого способа в малых по высоте помещениях станции, а при изменении высоты расположения траверсы существует риск задеваний и повреждений регулирующих клапанов, расположенных на верхней половине корпуса цилиндра.
Технической проблемой, на решение которой направлено изобретение, является перекос и смещение при подъеме верхней половины крупногабаритного узла турбины относительно нижней, сложность подъема крупногабаритных узлов турбины в стесненных помещениях.
Техническим результатом заявленного изобретения является обеспечение подъема крупногабаритного узла турбины без перекосов и повреждаемости узла турбины, а также возможность осуществлять подъем таких узлов в малых помещениях станции без повреждений.
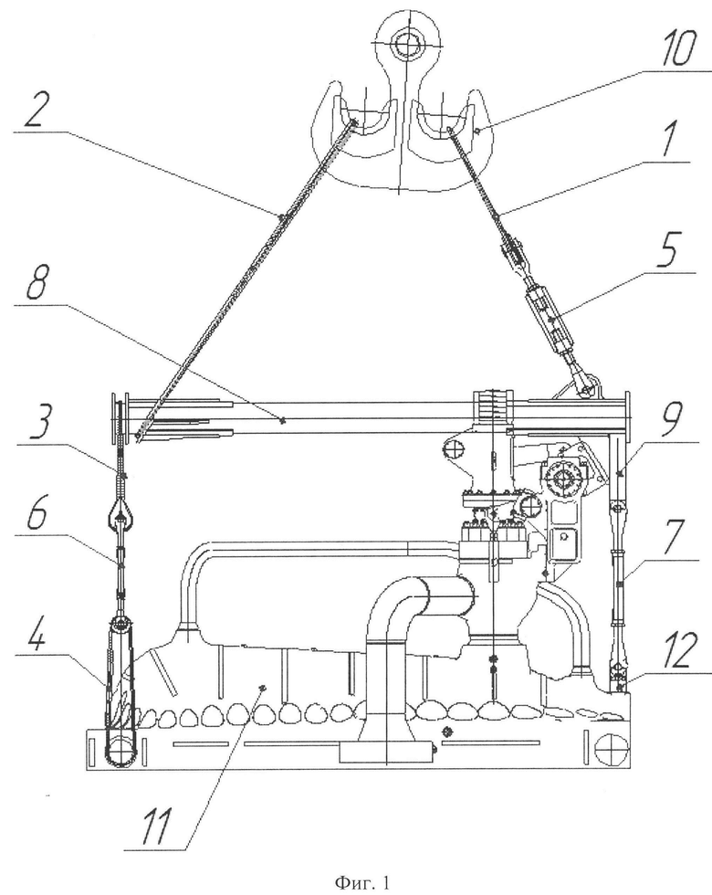
Технический результат достигается заявленным способом подъема крупногабаритных узлов паровой турбины, заключающийся в том, что соединяют винтовую стяжку 5 с катушкой и стропом 1 с одной стороны и с ухом траверсы 8 с другой стороны, закрепляют крепежными деталями, соединяют винтовую стяжку 6 с катушкой и стропом 4, закрепленным с приливом 11 крупногабаритного узла турбины, и со стропом 3, соединенным с траверсой 8, закрепляют крепежными деталями, один конец стропа 1 и 2 закрепляют на крюке 10, а второй конец стропа 2 закрепляют на траверсе 8. Новым в заявленном способе является то, что соединяют винтовую стяжку 7 с ухом 12 крупногабаритного узла турбины с одной стороны и с другой стороны с упором 9, жестко соединенным с траверсой 8 и закрепляют крепежными деталями.
Использование винтовых стяжек обеспечивает подъем корпуса цилиндра в устойчивом горизонтальном положении, а жесткое соединение винтовой стяжки с траверсой и корпусом уменьшает колебания крупногабаритного узла турбины в воздухе и исключает его повреждение. Кроме того, заявленный способ позволяет осуществлять подъем в малых помещениях станции.
По результатам патентно-информационного поиска не было обнаружено других способов подъема и устройств, содержащих отличительный признак заявленного изобретения, что позволяет сделать вывод о соответствии критерию «новизна».
В ходе дополнительного анализа признаков заявленного изобретения не выявлены решения, имеющие признаки, совпадающие с его отличительными признаками, и не подтверждена известность влияния отличительных признаков на технический результат, достигаемый заявленным изобретением. Таким образом, изобретение признается не следующим для специалиста явным образом из уровня техники и соответствует критерию «изобретательский уровень».
Сущность заявленного изобретения поясняется примером реализации, в котором в качестве крупногабаритного узла турбины приводится верхняя половина корпуса цилиндра паровой турбины и показана на следующих фигурах:
фиг.1 - общий вид заявленного устройства, собранного для поднятия корпуса верхней половины цилиндра;
фиг. 2 - вид спереди заявленного устройства со стороны регулирующих клапанов на корпусе верхней половины цилиндра;
фиг. 3 - общий вид винтовой стяжки, используемой в заявленном устройстве.
На чертежах позициями обозначены:
1, 2, 3, 4 - стропы;
5, 6, 7 - винтовые стяжки;
8 - траверса;
9 - упор;
10 - крюк;
11 - корпус верхней половины цилиндра турбины;
12 - ухо, закрепленное на корпусе цилиндра;
13 - шплинты винтовой стяжки;
14 - оси винтовой стяжки.
Заявленное изобретение реализуется с помощью устройства для подъема верхней половины корпуса 11 цилиндра паровой турбины, которое содержит строп 1, соединенный одним концом с крюком 10, а другим с винтовой стяжкой 5, собранной с катушкой. Винтовая стяжка 5 соединена с ухом траверсы 8. Строп 2 соединен одним концом с крюком 10, а другим с траверсой 8. Строп 3 соединен с траверсой 8 и другим концом с винтовой стяжкой 6, собранной с другого конца с катушкой и соединенной со стропом 4, который в свою очередь соединен с приливом корпуса 11 цилиндра паровой турбины. Винтовая стяжка 7 соединена с упором 9 жестко соединенным с траверсой 8, а другим концом с ухом 12, закрепленным на корпусе 11 верхней половины цилиндра. Винтовые стяжки закрепляются крепежными деталями, такими как шплинты 13 и оси 14.
Осуществление заявленного изобретения показано на примере и содержит следующие операции:
1. Извлекают из винтовой стяжки 5 шплинты 13 и оси 14 (фиг.3), собирают винтовую стяжку 5 с катушкой и стропом 1, вставляют ось 14 и застопоривают шплинтом 13. Устанавливают винтовую стяжку 5 со стропом 1 на ухо траверсы 8, вставляют ось 14 и застопоривают шплинтом 13. Выставляют винтовую стяжку 5 в требуемое среднее положение согласно конструкторской документации.
2. Извлекают из винтовой стяжки 6 шплинты 13 и оси 14, собирают винтовую стяжку 6 с катушкой и стропом 4, вставляют ось 14 и застопоривают шплинтом 13. Строп 4 соединяют с приливом корпуса 11 цилиндра паровой турбины. Собирают винтовую стяжку 6 со стропом 3, вставляют ось 14 и застопоривают шплинтом 13. Строп 3 соединяют с траверсой 8.
3. Извлекают из винтовой стяжки 7 шплинты 13 и оси 14, собирают винтовую стяжку 7 с ухом 12 корпуса цилиндра, вставляют ось 14 и застопоривают шплинтом 13. Собирают винтовую стяжку 7 с упором 9, жестко соединенным с траверсой 8, вставляют ось 14 и застопоривают шплинтом 13.
4. Соединяют строп 2 с траверсой 8 и подвешивают на крюк 10 вместе со стропом 1.
По окончании сборки устройства проводят статическое испытание устройства.
Заявленное устройство изготовлено и испытано и применяется для ряда паровых турбин АО «УТЗ», например турбины Р-50-12,8/0,8, что позволяет сделать вывод о соответствии критерию «промышленная применимость».
Таким образом, изобретение решает указанную техническую проблему и уменьшает риск возникновения аварийных ситуаций при монтаже и ремонте цилиндра турбины, исключив повреждаемость узлов турбины.
| название | год | авторы | номер документа |
|---|---|---|---|
| ТРАВЕРСА, МЕХАНИЗМ ВЫРАВНИВАНИЯ БАЛАНСИРОВКИ НЕСУЩЕЙ БАЛКИ ТРАВЕРСЫ, ТАКЕЛАЖНОЕ УСТРОЙСТВО НЕСУЩЕЙ БАЛКИ ТРАВЕРСЫ, ГРУЗОФИКСИРУЮЩЕЕ СРЕДСТВО ТАКЕЛАЖНОГО УСТРОЙСТВА НЕСУЩЕЙ БАЛКИ ТРАВЕРСЫ, ОПОРНЫЙ СТАПЕЛЬ НЕСУЩЕЙ БАЛКИ ТРАВЕРСЫ, СПОСОБ РАВНОВЕСНОЙ НАСТРОЙКИ ТРАВЕРСЫ НА ОПОРНЫХ СТАПЕЛЯХ, СПОСОБ ПЕРЕМЕЩЕНИЯ ТРАВЕРСОЙ ИЗДЕЛИЯ | 2008 |
|
RU2376237C1 |
| Универсальное устройство для подъёма рабочего колеса паровой турбины | 2024 |
|
RU2831998C1 |
| Траверса для подъема и монтажа крупногабаритных цилиндрических обечаек | 2024 |
|
RU2836490C1 |
| ТРАВЕРСА ГОРИЗОНТАЛЬНОЙ СТЫКОВКИ, БЛОК ЗАДАНИЯ НАГРУЗКИ МЕХАНИЗМА БАЛАНСИРОВКИ ТРАВЕРСЫ, БЛОК КОМПЕНСАЦИИ ВЕКТОРА НАГРУЗКИ МЕХАНИЗМА БАЛАНСИРОВКИ ТРАВЕРСЫ, СПОСОБ НАСТРОЙКИ БАЛАНСИРОВКИ ТРАВЕРСЫ | 2008 |
|
RU2374164C1 |
| УСТРОЙСТВО ДЛЯ ПОДРЫВА ЦЕНТРОВЫХ | 1995 |
|
RU2109597C1 |
| ЗАХВАТНОЕ УСТРОЙСТВО ДЛЯ МОНТАЖА ДЛИННОМЕРНЫХ | 1968 |
|
SU217622A1 |
| Захватное устройство для монтажа длинномерных изделий | 1985 |
|
SU1402534A1 |
| СПОСОБ КАНТОВАНИЯ КРУПНОГАБАРИТНЫХ ЦИЛИНДРИЧЕСКИХ ГРУЗОВ | 2020 |
|
RU2742665C1 |
| ТРАВЕРСА ДЛЯ ПЕРЕНОСОВ И ПРОВЕДЕНИЯ МОНТАЖНО-СТЫКОВОЧНЫХ РАБОТ КРУПНОГАБАРИТНЫХ ИЗДЕЛИЙ | 2006 |
|
RU2323870C1 |
| ТРАВЕРСА | 2017 |
|
RU2661671C1 |
Изобретение относится к подъемному оборудованию и может быть использовано при проведении монтажа и ремонта паровых турбин. Для подъема крупногабаритных узлов паровой турбины соединяют винтовую стяжку (5) с катушкой и стропом (1) с одной стороны и с ухом траверсы (8) с другой стороны, закрепляют крепежными деталями, соединяют винтовую стяжку (6) с катушкой и стропом (4), закрепленным с приливом (11) крупногабаритного узла турбины, и со стропом (3), соединенным с траверсой (8), закрепляют крепежными деталями, один конец стропа (1) и (2) закрепляют на крюке (10), а второй конец стропа (2) закрепляют на траверсе (8). Винтовую стяжку соединяют (7) с ухом (12) крупногабаритного узла турбины с одной стороны и с другой стороны с упором (9), жестко соединенным с траверсой (8) и закрепляют крепежными деталями. Достигается обеспечение подъема крупногабаритного узла турбины без перекосов и повреждаемости узла турбины, а также возможность осуществлять подъем таких узлов в малых помещениях станции без повреждений. 3 ил.
Способ подъема крупногабаритных узлов паровой турбины, заключающийся в том, что соединяют винтовую стяжку (5) с катушкой и стропом (1) с одной стороны и с ухом траверсы (8) с другой стороны, закрепляют крепежными деталями, соединяют винтовую стяжку (6) с катушкой и стропом (4), закрепленным с приливом (11) крупногабаритного узла турбины, и со стропом (3), соединенным с траверсой (8), закрепляют крепежными деталями, один конец стропа (1) и (2) закрепляют на крюке (10), а второй конец стропа (2) закрепляют на траверсе (8) отличающийся тем, что соединяют винтовую стяжку (7) с ухом (12) крупногабаритного узла турбины с одной стороны и с другой стороны с упором (9), жестко соединенным с траверсой (8) и закрепляют крепежными деталями.
| СПОСОБ КАНТОВАНИЯ КРУПНОГАБАРИТНЫХ ЦИЛИНДРИЧЕСКИХ ГРУЗОВ | 2020 |
|
RU2742665C1 |
| ГРУЗОЗАХВАТНОЕ УСТРОЙСТВО ДЛЯ ПОДЪЕМА И ТРАНСПОРТИРОВАНИЯ МОБИЛЬНЫХ МАШИН И КРУПНОГАБАРИТНЫХ ШТУЧНЫХ ГРУЗОВ | 2012 |
|
RU2489343C1 |
| KR 1020130022924 A, 07.03.2013 | |||
| ТРАВЕРСА ГОРИЗОНТАЛЬНОЙ СТЫКОВКИ, БЛОК ЗАДАНИЯ НАГРУЗКИ МЕХАНИЗМА БАЛАНСИРОВКИ ТРАВЕРСЫ, БЛОК КОМПЕНСАЦИИ ВЕКТОРА НАГРУЗКИ МЕХАНИЗМА БАЛАНСИРОВКИ ТРАВЕРСЫ, СПОСОБ НАСТРОЙКИ БАЛАНСИРОВКИ ТРАВЕРСЫ | 2008 |
|
RU2374164C1 |
Авторы
Даты
2024-08-13—Публикация
2024-02-28—Подача