Изобретение относится к железнодорожному транспорту и касается устройств для смены поглощающего аппарата с тяговым хомутом автосцепного оборудования подвижной единицы железнодорожного состава.
Известно устройство по патенту №2081767 на изобретение «Устройство для снятия поглощающего аппарата с железнодорожного транспортного средства» (Бюлл. №17 от 20.06.97). Оно содержит смонтированный на тележке подъемник, несущий механизм сжатия поглощающего аппарата, включающий в себя корпус, связанный с силовым цилиндром и гидроусилителем, захватный узел клиновидных сегментов упомянутого аппарата и ложементы под него, установленные на корпусе, упомянутый захват узел выполнен в виде двух Г-образных рычагов, установленных поворотно относительно корпуса и соединенных между собой посредством прикрепленной к ним пружины, и снабжен механизмом фиксации положения рычагов, свободные концы вертикальных плеч которых выполнены с профилированными вырезами, обращенными навстречу друг другу для охватывания клиновидных сегментов, и устройство снабжено скобой, установленной на корпусе в месте изгиба рычагов и выполненной с двумя прорезами, размеры которых не менее хода упомянутой пружины, при этом упомянутые рычаги размещены в упомянутых прорезях с возможностью перемещения. Механизм фиксации положения рычагов включает в себя платформу, прикрепленную к корпусу посредством пружин сжатия, и пальцев, жестко прикрепленных к корпусу с возможностью перемещения к платформе или жестко прикрепленных к платформе и с возможностью перемещения - к корпусу, фрикционную накладку, прикрепленную к платформе, и хомут, охватывающий выполненные клиновидными горизонтальные плечи рычагов и установленные с возможностью перемещения вдоль упомянутых плеч рычагов и взаимодействия с фрикционной накладкой.
Недостатки данного устройства состоят в следующем.
Функционирование механизма сжатия обеспечивается двумя независимыми приводами: приводом подъемника и приводом для смещения хомута через его тягу (последний, по-видимому, реализуется ручными манипуляциями оператора), что обуславливает аппаратурную избыточность или необходимость участия человека в выполнении технологических переходов цикла снятия от охвата рычагами нажимного конуса и соприкосновения последних с торцами подпружиненных клиновидных сегментов до фиксации рычагов при их расклинивании. При этом конструкция рычагов неоправданно сложна: компоновка в двух плоскостях имеет вертикальные и горизонтальные плечи, завязана на помещение последних в узкие щели выравнивающей скобы (здесь сложности при сборке, жесткие требования к их размерам, неизбежны силы трения и т.д.); кроме того, каждый рычаг шарнирно закреплен в одной точке, и это соединение должно иметь две степени свободны, т.е. в реальной конструкции с учетом значительных сил воздействия рычагов с поглощающим аппаратом оно выливается в силовой узел. Все это снижает надежность устройства.
Конфигурация вертикальной части рычагов с профилированными вырезами не обеспечивает достаточной площади соприкосновения с сегментами, более того она ограничивает работоспособность механизма сжатия. На первый взгляд представляется, что вырезы дают возможность увеличить площадь соприкосновения, и чем больше глубина выреза, тем площадь больше. Но для этого надо иметь большую ширину рычагов, а она лимитируется зазором между нажимным конусом поглощающего аппарата и боковой стенкой ниши в хребтовой балке, тем более, что при движении захвата вверх до охвата вырезами нажимного конуса рычаги должны еще и раздвигаться. Это обстоятельство особенно критично при съеме аппаратов, например, типа Ш-2 В с уширенными полосами хомутов или Ш6-ТО4. В этих случаях устройство становится неработоспособным.
Близким по совокупности существенных признаков к предлагаемому является устройство по патенту №2392138 (Бюл. №17_ от 26.06.2010) на изобретение «Устройство для смены поглощающего аппарата», принятое прототипом предлагаемого.
Оно содержит силовую платформу, к которой с одной стороны посредством подъемника закреплена тележка, а с другой - шарнирно закреплены ступицы двух одноплечих рычагов со встречно направленными захватными выемками, силовой цилиндр с гидроусилителем и плунжером, расположенным параллельно силовой платформе и несущим на свободном конце упор, имеющий возможность взаимодействовать с упомянутым хомутом, и механизм фиксации, при этом, по обе стороны от плунжера на уровне начала его хода в поперечной ему плоскости расположены одноплечие рычаги, выполненные в виде пластин с плоскими боковыми гранями, причем, на поверхностях одной грани упомянутые захватные выемки выполнены вдоль внутренних ребер, а на другой в основании рычагов оборудован механизм фиксации в виде симметрично скошенных к внешним граням заплечиков - плоских ступенек с возможностью совместного взаимодействия с упорной плитой упомянутого аппарата, внешняя грань каждого рычага снабжена кулачком двуклиновой конфигурации с возможностью взаимодействия с боковой стенкой ниши хребтовой балки, причем, расстояние между концами рычагов в начальном их положении и вершинами кулачков в конечном положении выбрано соизмеримым ее поперечному размеру.
Такое построение позволило повысить надежность работы устройства и безопасность обслуживания за счет введения самоуправляемого захвата клиновидных сегментов с автоматической фиксацией положения рычагов.
Однако в связи с ростом доли использования на подвижном составе поглощающих аппаратов типа РТ-120, РТ-130 возникла проблема их смены, вызванная конструктивными особенностями фрикционного узла данных поглощающих аппаратов, а именно: для осуществления сжатия поглощающего аппарата необходимо произвести одновременное утапливание всех трех фрикционных клиньев, что является конструктивно невозможным при использовании поворотных рычагов прототипа, так как последними осуществляется захват лишь двух из трех фрикционных клиньев.
Целью изобретения является обеспечение возможности демонтажа-монтажа поглощающих аппаратов типа РТ - 120, РТ - 130 с сохранением функции самоуправляемого захвата всех трех клиновидных сегментов с последующим их утапливанием.
Указанная цель достигается тем, что устройство для смены поглощающего аппарата в составе тягового хомута, клиновидных сегментов, упорного конуса и плиты, размещенных в нише хребтовой балки железнодорожного вагона, содержащее ложемент, к которому закреплены с нижней стороны посредством подъемника тележка, а на торцах силовая пластина и опорное ребро, к первой из которых поворотно закреплены ступицы двух одноплечих рычагов, имеющих встречно направленные захватные выемки, гидроцилиндр, состоящий из корпуса и поршня в сборе, расположенный параллельно основанию ложемента, при этом последний снабжен на свободном конце упором, имеющим возможность взаимодействовать с тяговым хомутом, и механизм фиксации, оборудованный упомянутыми рычагами, расположенными по обе стороны от корпуса гидроцилиндра, с плоскими внешними гранями, при этом расстояние между их свободными концами выбрано соизмеримым с поперечным размером ниши хребтовой балки, отличающееся тем, что механизм фиксации снабжен П-образной балочкой, на концах которой закреплены фиксаторы со скошенными гранями с возможностью заклинивания ими одноплечих рычагов в рабочем положении, тыльные грани последних снабжены упорными пятками, поверхности которых выполнены с возможностью взаимодействия с торцевыми и наклонными поверхностями выступающих частей клиновидных сегментов поглощающего аппарата, на внутренней верхней части одноплечих рычагов предусмотрены захватные выемки Сообразной формы, плоские донышки которых снабжены фасками для обеспечения возможности охвата выступающей части одного из трех зубьев на боковой поверхности упорного конуса поглощающего аппарата, нижние и средние части внутренних поверхностей одноплечих рычагов выполнены с возможностью обвода нижней полосы тягового хомута, при этом конфигурации тыльных поверхностей одноплечих рычагов выполнены с возможностью одновременной передачи усилий утапливания всех трех клиновидных сегментов, а конфигурации внешних и фронтальных поверхностей - с возможностью размещения поглощающих аппаратов соответствующего класса в нише хребтовой балки; а также тем, что силовая пластина и опорное ребро закреплены перпендикулярно основанию на торцах ложемента, при этом на силовой пластине смонтированы одноплечие рычаги и возвратный механизм, агрегатированный с упомянутым упором, опорными роликов и возвратными пружинами.
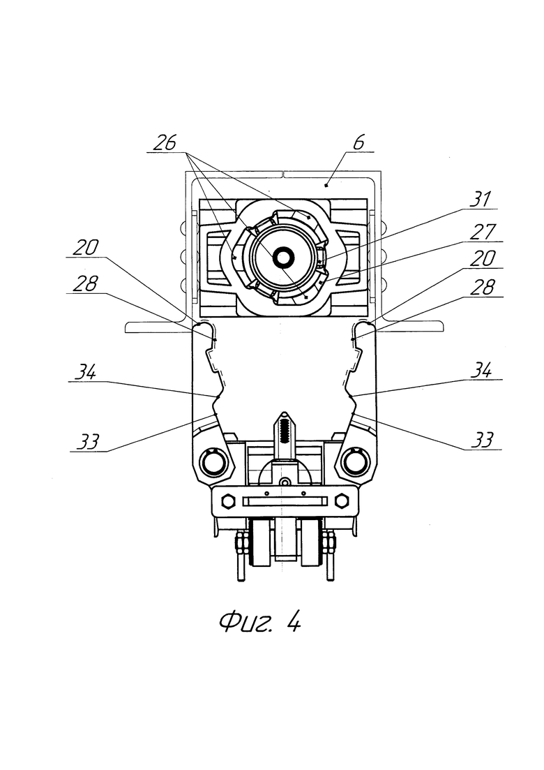
На фиг. 1 изображена функциональная схема устройства смены поглощающего аппарата, на фиг. 2 и 3 - конструкция механизма сжатия - в аксонометрии: виды спереди и сзади (трубопроводы, штуцеры, подъемник, тележка и др. не показаны), на фиг. 4, 5 и 6 показаны соответственно начальное и конечное положения поворотных рычагов в процессе захвата.
Устройство для смены поглощающего аппарата 1, имеющего тяговый хомут 2, клиновидные сегменты 3, упорный конус 4 и плиту 5, размещенных в нише 6 хребтовой балки 7 железнодорожного вагона, и содержащее ложемент 8, к которому закреплены с нижней стороны посредством подъемника 9 тележка 10 и на переднем торце перпендикулярно ориентированная силовая пластина 11, а на заднем - опорное ребро 12, при этом на силовой пластине 11 смонтированы поворотные ступицы 13 двух одноплечих рычагов 14, имеющих встречно направленные захватные выемки 15, гидроцилиндр 16 в сборе с опорными роликами, возвратными пружинами и поршнем 17, ориентированным параллельно основанию ложемента 8 и снабженным на свободном конце упором 18 с возможностью взаимодействия последнего с тяговым хомутом 2, и механизм фиксации, оборудованный упомянутыми рычагами 14, расположенными по обе стороны от гидроцилиндра 16 в сборе, с плоскими внешними 19 гранями, при этом расстояние между их свободными концами 20 выбрано соизмеримым с поперечным размером ниши 6 хребтовой балки 7, причем, механизм фиксации снабжен П-образной балочкой 21, на концах которой закреплены фиксаторы 22 со скошенными гранями 23 с возможностью заклинивания ими одноплечих рычагов 14 в рабочем положении, тыльные 24 грани последних снабжены упорными пятками 25, грани которых выполнены с возможностью взаимодействия с торцевыми 26 и наклонными 27 поверхностями выступающих частей клиновидных сегментов 3 поглощающего аппарата 1, на внутренней 28 верхней части одноплечих рычагов 14 предусмотрены захватные 15 выемки С-образной формы, плоские донышки 29 которых снабжены фасками 30 с возможностью охвата выступающей части одного из трех зубьев 31 на боковой 32 поверхности упорного конуса 4 поглощающего аппарата 1, нижние 33 и средние 34 части внутренних 28 граней одноплечих рычагов 14 выполнены с возможностью обвода нижней полосы тягового хомута 2, при этом конфигурации тыльных 24 граней одноплечих рычагов 14 выполнены с возможностью одновременной передачи усилий утапливания клиновидных сегментов 3, а конфигурации внешних 19 и фронтальных 35 граней - с возможностью размещения поглощающих аппаратов соответствующего класса в нише 6 хребтовой балки 7.
Корпус гидроцилиндра 16 выполнен из заготовки квадратного сечения, чем обеспечивается его точное базирование на ложементе 8 и технологичность сборки всего механизма сжатия. Упор 18 имеет на передней поверхности поперечную насечку для надежного сцепления с серьгой тягового хомута 2.
Устройство работает следующим образом. Автоматическое действие двух одноплечих рычагов 14 и механизма фиксации основано на захвате клиновидных сегментов 3 поглощающего аппарата 1 при подъеме ложемента 8 и взаимодействии с предохранительными планками вертикальных стенок в нише 6 хребтовой балки 7 с плоскими внешними 19 гранями двух одноплечих рычагов 14, а также с упорной плитой 5 в момент поджатая механизма сжатия к нижней полосе тягового хомута 2.
С помощью тележки 10 и подъемника 9 рычаги 14 заводят снизу под вагоном в просвет между упорной плитой 5 и клиновидными сегментами 3 поглощающего аппарата 1. Подъемом ложемента 8 рычаги 14 достигают начального своего положения в нише 6 хребтовой балки 7 (кромок ниши 36 в посадочном гнезде, фиг. 4). Далее происходит окончательный подъем ложемента 8 с контролем того, чтобы упор 18 поршня 17 вошел в отверстие серьги тягового хомута 2, при этом: внешние грани 19 взаимодействуют с предохранительными планками 37 (фиг. 5), заставляя рычаги 14 осуществить встречные повороты вокруг осей в ступицах 13; внутренними верхними частями 28, а затем и захватными выемками 15 войти в касание с поверхностью упорного конуса 4 и охватить ее. Тем самым происходит захват, т.е. максимально возможное по площади соприкосновение тыльных граней 24 и упорных пяток 25 рычагов 14 к торцевым поверхностям 26 клиновидных сегментов 3. При этом другие, противоположные, фронтальные грани 35 совмещаются с упорной плитой 5 (фиг. 1), а нижние части внешних граней 19 по всей их длине входят в контакт с предохранительными планками 37, фиксируя конечное положение рычагов 14 (фиг. 6). Данная фиксация рычагов 14 обусловлена завершающим движением вверх ложемента 8, а для обеспечения силовой фиксации в рабочем положении используется П-образная балочка 21, на концах которой закреплены фиксаторы 22 со скошенными гранями 23, обеспечивающими возможность заклинивания ими рычагов 14, в результате чего развиваются крутящие моменты относительно осей рычагов 14 в ступицах 13, действующие на них встречно-поворотно и прижимающие рычаги 14 к поверхности упорного конуса 4, тем самым надежно фиксируя последние в этом положении (фиг. 6).
Поворотом ручки запорного крана 38 в положение «Открыто» подают жидкость под давлением из гидроусилителя в полость гидроцилиндра 16. Поршень 17, воспринимая это давление, развивает усилие, и упор 18 поршня 17, перемещаясь справа - налево, тянет хомут 2, который своей правой частью воздействует на корпус поглощающего аппарата 1, перемещает его и тем самым выжимает его клиновидные сегменты 3. При этом происходит упор в тыльные грани 24 рычагов 14 поглощающего аппарата 1, тем самым обеспечивая возможность сжатия поглощающего аппарата 1. Последний, освобождаясь от усилия распора, отходит от упорных угольников хребтовой балки 7. Далее ложемент 8 опускают посредством подъемника 9 и при помощи тележки 10 поглощающий аппарат передают на следующую ремонтную позицию.
В данном устройстве достигнуты следующие преимущества: захват всех трех клиновидных сегментов с последующим их утапливанием производится в одном цикле, чем создается возможность расширенного применения перспективных поглощающих аппаратов, особенно типа РТ-130; силовое воздействие выполняется неотрывно после фиксации захвата поворотными рычагами П-образной балочкой; конструкция поворотных рычагов имеет большую площадь сечения, особенно в концевой части, чем увеличены их прочность и ресурс. При этом сохранены возможности независимого гидроусилителя: его включение и выключение производит оператор при эксплуатации в необходимые моменты, а именно, после завершения фиксации рычагов в конечном их положении оператор открывает запорный кран, при завершении сжатия поглощающего аппарата закрывает его, и далее после опускания снятого аппарата для роспуска его открывает запорный кран. Такая последовательность функционирования устройства и действия оператора обеспечивают надежную и безопасную смену поглощающих аппаратов.
| название | год | авторы | номер документа |
|---|---|---|---|
| УСТРОЙСТВО ДЛЯ СМЕНЫ ПОГЛОЩАЮЩЕГО АППАРАТА | 2008 |
|
RU2392138C2 |
| УСТРОЙСТВО ДЛЯ СМЕНЫ ПОГЛОЩАЮЩЕГО АППАРАТА | 2008 |
|
RU2381926C1 |
| УСТРОЙСТВО ДЛЯ СНЯТИЯ ПОГЛОЩАЮЩЕГО АППАРАТА С ЖЕЛЕЗНОДОРОЖНОГО ТРАНСПОРТНОГО СРЕДСТВА | 1994 |
|
RU2081767C1 |
| УСТРОЙСТВО ДЛЯ СМЕНЫ ПОГЛОЩАЮЩЕГО АППАРАТА | 2008 |
|
RU2376169C1 |
| Амортизационное устройство рельсового транспортного средства | 1990 |
|
SU1754534A1 |
| КОРПУС ФРИКЦИОННОГО ПОГЛОЩАЮЩЕГО АППАРАТА, ИМЕЮЩИЙ СЪЕМНУЮ ТОРЦЕВУЮ СТЕНКУ | 2005 |
|
RU2413642C2 |
| Устройство для снятия поглощающего аппарата с железнодорожного транспортного средства | 1988 |
|
SU1532381A1 |
| СПОСОБ РАБОТЫ ПОГЛОЩАЮЩЕГО АППАРАТА ГРУЗОВОГО ЖЕЛЕЗНОДОРОЖНОГО ВАГОНА | 2009 |
|
RU2444456C2 |
| Устройство для снятия поглощающего аппарата с железнодорожного транспортного средства | 1989 |
|
SU1620348A2 |
| Приспособление для обеспечения сжатия поглощающего аппарата в случае обрыва тяговой полосы с использованием механизма сжатия автономного гидровыжимного устройства | 2016 |
|
RU2634067C1 |
Изобретение относится к железнодорожному транспорту, в частности к устройствам для ремонта подвижного состава. Устройство для смены поглощающего аппарата содержит ложемент с перпендикулярно ориентированными силовой пластиной и опорным ребром, подъемник, гидроцилиндр, взаимодействующий с серьгой тягового хомута посредством упора. Устройство дополнено механизмом фиксации, оборудованным двумя одноплечими поворотными рычагами с плоскими внешними гранями и П-образной балочкой, на концах которой закреплены фиксаторы со скошенными гранями с возможностью заклинивания ими одноплечих рычагов в рабочем положении, тыльные грани последних снабжены упорными пятками с возможностью взаимодействия с торцевыми и наклонными поверхностями выступающих частей клиновидных сегментов поглощающего аппарата, на внутренней поверхности верхней части одноплечих рычагов предусмотрены захватные выемки С-образной формы с возможностью охвата выступающей части одного из трех зубьев на боковой поверхности упорного конуса поглощающего аппарата. Конфигурации тыльных поверхностей одноплечих рычагов выполнены с возможностью одновременной передачи усилий утапливания всех трех клиновидных сегментов, а конфигурации внешних и фронтальных поверхностей – с возможностью размещения поглощающих аппаратов соответствующего класса в нише хребтовой балки. Гидроцилиндр смонтирован в сборе с возвратным механизмом перпендикулярно к силовой пластине, на которой закреплены упомянутые рычаги через их поворотные ступицы. В результате обеспечивается возможность демонтажа-монтажа поглощающих аппаратов с сохранением функции самоуправляемого захвата всех трех клиновидных сегментов с последующим их утапливанием. 1 з.п. ф-лы, 6 ил.
1. Устройство для смены поглощающего аппарата в составе тягового хомута, клиновидных сегментов, упорного конуса и плиты, размещенных в нише хребтовой балки железнодорожного вагона, содержащее ложемент, к которому закреплены с нижней стороны посредством подъемника тележка, а на торцах силовая пластина и опорное ребро, к первой из которых поворотно закреплены ступицы двух одноплечих рычагов, имеющих встречно-направленные захватные выемки, гидроцилиндр, состоящий из корпуса и поршня в сборе, расположенного параллельно основанию ложемента, при этом последний снабжен на свободном конце упором, имеющим возможность взаимодействовать с тяговым хомутом, и механизм фиксации, оборудованный упомянутыми рычагами, расположенными по обе стороны от корпуса гидроцилиндра, с плоскими внешними гранями, при этом расстояние между их свободными концами выбрано соизмеримым с поперечным размером ниши хребтовой балки, отличающееся тем, что механизм фиксации снабжен П-образной балочкой, на концах которой закреплены фиксаторы со скошенными гранями с возможностью заклинивания ими одноплечих рычагов в рабочем положении, тыльные грани последних снабжены упорными пятками, поверхности которых выполнены с возможностью взаимодействия с торцевыми и наклонными поверхностями выступающих частей клиновидных сегментов поглощающего аппарата, на внутренней верхней части одноплечих рычагов предусмотрены захватные выемки С-образной формы, плоские донышки которых снабжены фасками для обеспечения возможности охвата выступающей части одного из трех зубьев на боковой поверхности упорного конуса поглощающего аппарата, нижние и средние части внутренних поверхностей одноплечих рычагов выполнены с возможностью обвода нижней полосы тягового хомута, при этом конфигурации тыльных поверхностей одноплечих рычагов выполнены с возможностью одновременной передачи усилий утапливания всех трех клиновидных сегментов, а конфигурации внешних и фронтальных поверхностей - с возможностью размещения поглощающих аппаратов соответствующего класса в нише хребтовой балки.
2. Устройство по п. 1, отличающееся тем, что силовая пластина и опорное ребро закреплены перпендикулярно основанию на торцах ложемента, при этом на силовой пластине смонтированы одноплечие рычаги и возвратный механизм, агрегатированный с упомянутым упором, опорными роликами и возвратными пружинами.
| УСТРОЙСТВО ДЛЯ СМЕНЫ ПОГЛОЩАЮЩЕГО АППАРАТА | 2008 |
|
RU2392138C2 |
| УСТРОЙСТВО ДЛЯ СМЕНЫ ПОГЛОЩАЮЩЕГО АППАРАТА | 2008 |
|
RU2381926C1 |
| Устройство для смены поглощающих аппаратов автосцепки | 1990 |
|
SU1751008A1 |
| US 3534942 A, 20.10.1970. | |||
Авторы
Даты
2024-12-23—Публикация
2024-05-21—Подача