Способ выделения целевых фрагментов ДНК из многокомпонентной смеси Российский патент 2025 года по МПК C12Q1/68 

Описание патента на изобретение RU2832884C1

Изобретение относится к области биотехнологии и может быть использовано для выделения фрагментов ДНК заданной длины из многокомпонентной жидкой фазы, содержащей смесь разных по длине фрагментов нуклеиновых кислот, в присутствии биологического матрикса на основе плазмы крови для дальнейшего лабораторного исследования, которое может включать в себя постановку полимеразно-цепной реакции и/или определение нуклеотидной последовательности методом секвенирования ДНК. Фрагменты нуклеиновых кислот, полученные с помощью описываемого изобретения, можно использовать для молекулярно-генетического анализа биомаркеров плазмы крови, ассоциированных как с физиологическими, так и - в большей степени - с патологическими состояниями организма человека, такими как онкологические заболевания (Kim Y.J., et al. A method for early diagnosis of lung cancer from tumor originated DNA fragments using plasma cfDNA methylome and fragmentome profiles. Mol Cell Probes. 2022; 66: 101873, Foda Z.H., et al. Detecting liver cancer using cell-free DNA fragmentomes. Cancer Discov. 2022: CD-22-0659).

Фрагментация геномной ДНК происходит в клетках в результате направленных катаболических процессов, приводящих к секреции продуктов распада нуклеиновых кислот в системный кровоток. Присутствие фрагментов геномной ДНК в плазме крови в настоящее время представляет собой хорошо известное биологическое явление. Фрагменты геномной ДНК в плазме крови, которые находятся вне источника своего происхождения, называются свободноциркулирующей внеклеточной ДНК или сцДНК. Обычно длина фрагментов ДНК варьирует от 100 до 800 п.о. (пар оснований) (Rumore P.M., Steinman CR. Endogenous circulating DNA in systemic lupus erythematosus. Occurrence as multimeric complexes bound to histone. J Clin Invest. 1990; 86(1): 69-74). В зависимости от наличия патологического процесса в организме человека концентрация сцДНК в плазме крови может варьироваться в широких пределах от 1 до 1380 нг/мл (Chen Е., et al. Cell-free DNA concentration and fragment size as a biomarker for prostate cancer. Sci Rep.2021; 11(1): 5040). В условиях онкологического заболевания сцДНК образуется в результате опухоль-ассоциированного клеточного апоптоза. Такая сцДНК представлена на электрофореграммах двумя пиками, соответствующими фрагментам ДНК с длиной 166 и 320 п.о., что свидетельствует о наличии мононуклеосомной и динуклеосомной ДНК (Mouliere F., et al. Circulating tumor-derived DNA is shorter than somatic DNA in plasma. Proc Natl Acad Sci USA. 2015; 112(11): 3178-9). Такой размер фрагментов обусловлен способом упаковки гетерохроматина (макромолекулярный комплекс ДНК и гистоновых белков) эукариот: на каждую нуклеосому приходится «виток» ДНК длиной около 166 п.о. Считается, что эпигенетическое состояние хроматина («открытый» или «закрытый» хроматин) в участках межнуклеосомных линкеров, а также аномальная активность нуклеаз вносят основной вклад в появление конкретного профиля фрагментации геномной ДНК, который отражает динамику стабильности генома в целом и может указывать на наличие патологических состояний организма человека, в том числе на онкологические заболевания (Snyder M.W., et al. Cell-free DNA Comprises an In Vivo Nucleosome Footprint that Informs Its Tissues-Of-Origin. Cell. 2016; 164(1-2): 57-68).

Совокупность участков ДНК в составе сцДНК называют фрагментомом (Mathios D., et al. Detection and characterization of lung cancer using cell-free DNA fragmentomes. Nat Commun. 2021. 12(1): 5060). Молекулярно-генетический анализ фрагментома сцДНК плазмы крови позволяет определить опухоль-ассоциированные точковые мутации, аномальное метилирование и фрагментацию ДНК (Kustanovich A., et al. Life and death of circulating cell-free DNA. Cancer Biol Ther. 2019; 20(8): 1057-1067, Joosse S.A. and Pantel K. Circulating DNA and Liquid Biopsies in the Management of Patients with Cancer. Cancer Res. 2022; 82(12):2213-2215).

Из предшествующего уровня техники известны несколько близких аналогов заявляемого способа, описание сути которых представлено ниже.

На российском рынке среди коммерчески доступных продуктов (формулы изобретений не найдены в открытых источниках), с помощью которых достигается похожий технический результат, есть «Набор для выделения циркулирующей нуклеиновой кислоты (ДНК/РНК) на парамагнитных частицах SileksMagNA-Direct из плазмы, сыворотки, мочи и других биологических образцов» производства ООО «Силекс», Россия (https://sileks.com/ru/products/free-circulating-nucleic-acid-dna-rna-isolation-sileksmagna-direct.html), «Набор реагентов для выделения свободноциркулирующей ДНК из плазмы крови (ДНК-Плазма-M-RT) по ТУ 21.20.23-010-97638376-2017)» производства ООО «Тест-Ген» и коммерческий набор реагентов NucleoSnap® cfDNA от компании Takara Bio, Япония (https://www.takarabio.com/). Последний предназначен для выделения фрагментов ДНК длиной от 50 до 1000 п.о. из образцов плазмы крови или мочи человека на колонке с кварцевой мембраной. Два этапа промывки направлены на удаление примесей, после чего связавшуюся ДНК элюируют с колонки.

В описаниях изобретений, защищенных патентным законодательством, были найдены по меньшей мере восемь аналогов.

1. Набор реактивов для выделения ДНК, RU2650865C1 (https://patenton.ru/patent/RU2650865C1). предназначен для манипуляций с твердыми биологическими объектами (что следует из описания изобретения), тогда как заявляемый способ ориентирован на выделение фрагментов ДНК из жидкой фазы.

2. Способ выделения ДНК, RU2485178 (http://allpatents.ru/patent/2485178.html), предназначен для манипуляций с твердыми биологическими объектами (костная ткань, роговые ткани) и отличается сорбцией ДНК на парамагнитных наночастицах, модифицированных хитозаном. Эти признаки отличают заявляемый способ, в котором используются парамагнитные частицы с иными сорбционными свойствами для выделения фрагментов ДНК из жидкой фазы.

3. Способ выделения коротких РНК из биологических жидкостей, RU2558292C1 (https://yandex.ru/patents/doc/RU2558292C1_20150727). Способ включает в себя обработку образца денатурирующим буферным раствором, сорбцию коротких РНК, в том числе и микроРНК, на стекловолоконном сорбенте производства «Biosilica» в присутствии хаотропного агента, с последующей отмывкой сорбента от несвязавшихся биополимеров и химических реагентов и элюцией РНК.

4. Способ выделения циркулирующих ДНК из плазмы или сыворотки крови на колонках со стекловолокнистым сорбентом производства ООО «БиоСилика», RU2603098C1 (https://vandex.ru/patents/doc/RU2603098C1_20161120). Способ включает стадию денатурации в присутствии гуанидин-изотиоционата и стадию дополнительного осаждения нецелевых биополимеров при добавлении равного объема буферного раствора, содержащего 1 М ацетата натрия (рН 6,0) и 0,5-2,5% октановой кислоты. Отличие заявляемого способа от аналога заключается в использовании процедуры двухстадийного выделения фрагментов ДНК и селекции их по длине на парамагнитных частицах с разными сорбционными свойствами, а также иной химической композицией лизирующего и промывочных буферов.

5. Набор для выделения ДНК, RU2753768C1 (https://patenton.ru/patent/RU2753768C1) отличает то, что используется ДНК-аффинный пептид на основе термического полилизина с молекулярной массой 10-30 кДа. Это позволяет сконцентрировать короткие фрагменты ДНК длиной 100 п.о. и ниже из всего объема образца и отделить ДНК от избытка белков с последующим осаждением комплекса ДНК-пептид путем центрифугирования. Отсутствует стадия инкубации образца с протеолитическим ферментом, которая используется в большинстве коммерческих наборов реагентов для выделения ДНК. Вместе с тем ферментативный гидролиз белковых примесей и термическое воздействие на биологический матрикс могут повышать эффективность экстракции ДНК, связанной с белками. В описании примера выделение ДНК проводили из осадка белых клеток крови, что указывает скорее на выделение геномной ДНК, чем на выделение не связанных с клетками фрагментов ДНК, циркулирующих в плазме крови.

6. Способ выделения внеклеточных дезоксирибонуклеиновых кислот из крови, RU2372405C1 (https://patenton.ru/patent/RU2372405C1), предполагает выделение как несвязанной, так и связанной с поверхностью клеток крови внеклеточной ДНК. Клетки крови лизируют в присутствии Nonidet Р-40 или тритона Х-100 (конечная концентрация детергента 0,5-1,5%) с последующим отделением ядерной фракции центрифугированием. Способ включает дополнительную стадию гидролиза РНК в образце. Внеклеточную ДНК выделяли далее с помощью коммерческого набора «Biosilica» (аналог по п. 3, см. выше). Принципиальное отличие заявляемого способа от аналога заключается в типе биологического матрикса: для выделения фрагментов ДНК используют биологический матрикс на основе плазмы крови, которая лишена форменных элементов крови, что исключает контаминацию образца фрагментами ДНК, связанными с поверхностью форменных элементов крови, и контаминацию геномной ДНК. Также заявляемый способ отличается от аналога по химической композиции лизирующего и промывочных буферов.

7. В патенте RU2232768C2 (доступен по ссылке https://ru.espacenet.com/publicationDetails/biblio?CC=RU&NR=2232768C2&KC=C2&FT=D& ND=4&date=20040720&DB=EPODOC& locale=ru_RU) описан способ выделения ДНК на кремнийсодержащем сорбенте в присутствии хаотропного агента. В качестве сорбента используют мелкодисперсное мешированное стекло, предварительно обработанное 3,5-7,0% раствором плавиковой кислоты в течение 2-6 ч. Промывку сорбента проводят дважды раствором, содержащим хаотропный агент, а затем дважды раствором, содержащим 25% изопропанола. Элюцию ДНК осуществляют раствором, содержащим 5-50 мМ ионов бикарбоната (рН 8,0-10,0). Способ позволяет выделять фрагменты ДНК размером более 50 п.о. Отличие аналога от заявляемого способа следует из химической композиции лизирующего и промывочных буферов, температурного режима и времени инкубации, а также использования других сорбентов.

8. Экспресс-метод выделения внеклеточных нуклеиновых кислот раскрыт в международном патенте WO2013045432A1 (доступен по ссылке https://ru.espacenet.com/publicationDetails/biblio?DB=EPODOC&II=0&ND=3&adiacent=true &locale-ru_RU&FT=D&date=20130404&CC=WO&NR=2013045432A1&KC=A1). Способ включает этапы последовательного изменения рН среды: в слабокислой среде (рН≤6,5) проходит связывание нуклеиновых кислот с сорбентом, тогда как градиентная элюция нуклеиновых кислот в условиях рН≥8 до ≤14 позволяет получать образцы, содержащие нуклеиновые кислоты с разной длиной фрагментов. Аналог отличается от заявляемого способа тем, что разделение фрагментов ДНК по длине протекает в буферных растворах с разным уровнем рН, тогда как в заявляемом способе используется определенная концентрация полимерного соединения, например, полиэтиленгликоля и нейтральной натриевой соли.

Ближайший аналог

Ближайшим аналогом заявляемого способа выделения фрагментов ДНК следует считать техническое решение, раскрытое в международном патенте WO2021148393A1, который доступен по ссылке https://ru.espacenet.com/publicationDetails/biblio?DB=EPODOC&II=0&ND=3&adjacent=true&locale=ru_RU&FT=D&date=20210729&CC=WO&NR=2021148393А1&KC=А1. В патенте описан способ выделения внеклеточной ДНК, включающий добавление к биологическому образцу в жидкой фазе твердофазного сорбента на основе магнитных микросфер, покрытых диоксидом кремния. Протокол выделения предусматривает выделение фрагментов ДНК длиной от 50 до 400 п. о из образца плазмы крови объемом от 0,5 до 4 мл. Процессы лизиса биологического матрикса и связывания фрагментов ДНК на поверхности микросфер протекают в буфере, содержащем детергент (неионный сурфактант типа Тритон Х-100, п. 4 формулы), хаотропный агент (гуанидин-изотиоционат или перхлорат натрия, п. 5 формулы) и 2-пропанол. По п. 7 формулы объемное соотношение плазмы к лизирующему буферу составляет 1:4-1:2,5). По п. 9 формулы концентрация гуанидин-изотиоционата составляет 1,5-2,5 М, а содержание 2-пропанола - 15-25%. Как альтернатива заявлена обработка образца плазмы крови раствором додецилсульфата натрия и протеиназой К (с инкубацией при температуре 55-65°С в течение 20-30 мин, п. 15 формулы). Согласно пп. 17-18 формулы, промывочный буфер может содержать 50% этиловый спирт, гуанидин-изотиоционат и Тритон Х-100 или 80% этиловый спирт, 10 мМ Трис-HCl и 1 мМ ЭДТА. Для разделения фрагментов ДНК по длине используют специальную комбинацию химических реактивов и магнитных микросфер: 1,5-2,5 М гуанидин-изотиоционата; 20-30% w/v Тритон Х-100; 15-25% v/v 2-пропанол и 25-10% v/v плазмы крови (п. 25 формулы).

Заявляемый способ отличается от ближайшего аналога сорбцией фрагментов ДНК в присутствии гуанидин-изотиоционата в финальной концентрации до 3 М и использованием парамагнитных частиц на основе парамагнитного ядра, покрытого силикатными функциональными группами разветвленного строения при 65°С в течение 10 минут, трехкратной промывкой парамагнитных частиц разными буферными растворами и последующей элюцией фрагментов ДНК с сорбента при 85°С в течение 5 мин. Далее фрагменты ДНК осаждают на парамагнитных частицах с поверхностными карбоксильными группами в присутствии гелеобразного раствора полиэтиленгликоля (молекулярная масса от 7000 до 9000) с концентрацией до 20% и солей натрия в высокой концентрации до 3 М при 55°С в течение 5 мин, осуществляют трехкратную промывку парамагнитных частиц и последующую элюцию фрагментов ДНК с сорбента при 85°С в течение 5 мин. Использование частиц с поверхностными карбоксильными группами позволяет провести обогащение образца целевыми фрагментами ДНК длиной 100-400 п.о.

Первым преимуществом заявляемого способа является возможность получения нуклеиновых кислот, свободных от компонентов биологического матрикса, которые представляют собой всю совокупность фрагментов ДНК (1-я стадия выделения), а затем -нуклеиновых кислот, представленных целевыми фрагментами ДНК длиной 100-400 п.о. (2-я стадия выделения), свободных от примесей высокомолекулярных нуклеиновых кислот. Вторым преимуществом заявляемого способа является пригодность выделяемых нуклеиновых кислот для последующего молекулярно-генетического анализа (полимеразно-цепная реакция и подготовка ДНК-библиотек для секвенирования).

Перечень иллюстраций

Фиг. 1. Электрофореграмма распределения фрагментов ДНК, выделенных из модельного образца с добавлением ДНК-стандарта №2 (100-700 п.о.). Анализ был выполнен методом капиллярного электрофореза с использованием Agilent 2200 Таре Station (Agilent Technologies, США). По оси X приведены линейные размеры фрагментов ДНК, п.о., по оси Y приведены значения интенсивности выходного сигнала флуоресценции (нормализованные флюоресцентные единицы).

Фиг. 2. Электрофореграмма пробы, полученной в результате выделения. Анализ выполняли при помощи набора Agilent High Sensitivity DNA Assay (Agilent Technologies, США) на оборудовании Agilent 2100 Bioanalyzer (Agilent Technologies, США). По оси Y приведены значения интенсивности выходного сигнала флуоресценции (FU), по оси X приведены значения длин фрагментов ДНК, п.о.

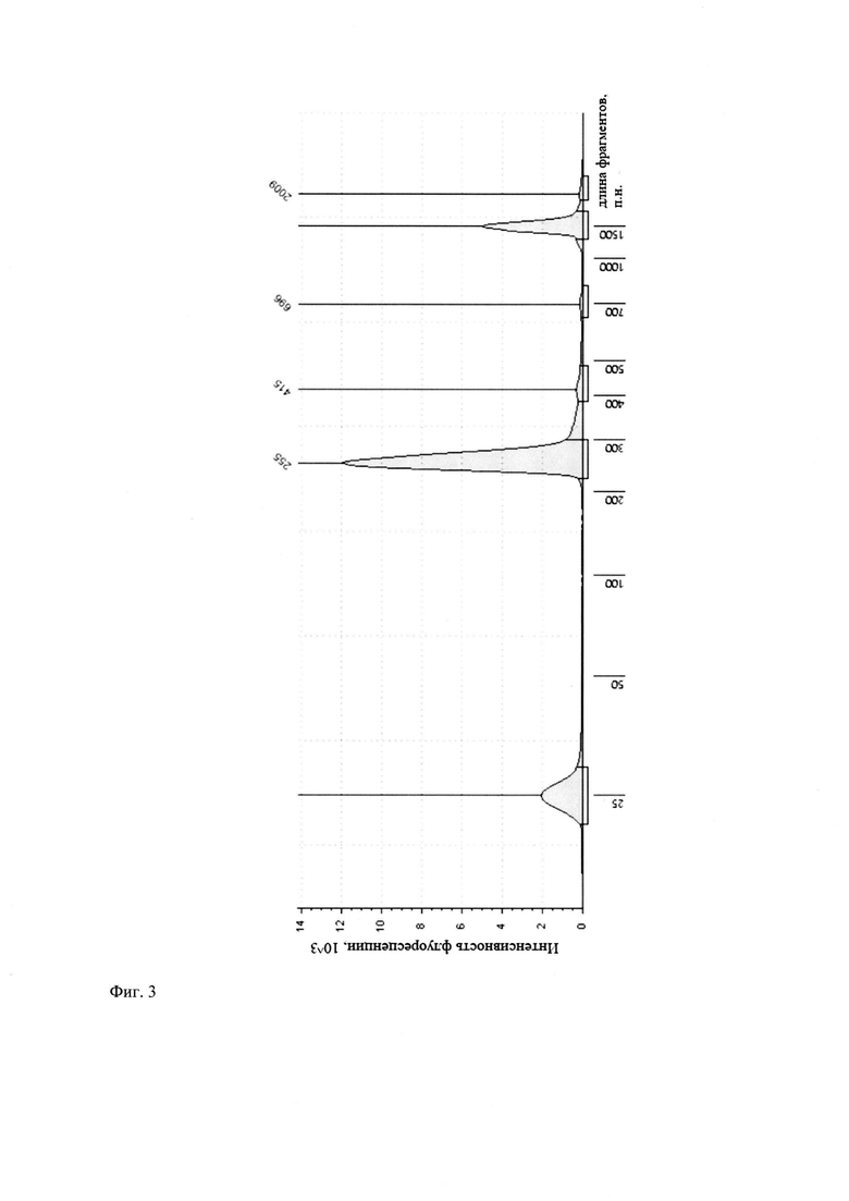
Фиг. 3. Электрофореграмма пробы, полученной в результате выделения. Анализ выполняли на оборудовании Agilent 2200 Таре Station (Agilent Technologies, США). По оси Y приведены значения интенсивности выходного сигнала флуоресценции (FU), по оси X приведены значения длин фрагментов ДНК, п.о.

Фиг. 4. Контрольная электрофореграмма полученных ДНК-библиотек. Анализ выполняли на оборудовании Agilent 2200 Таре Station (Agilent Technologies, США).

Фиг. 5. Контрольная электрофореграмма образца, полученного в ходе ПЦР с использованием пары специфичных праймеров на Alu-повтор. Анализ выполняли на оборудовании Agilent 2200 Таре Station (Agilent Technologies, США)

Описание сущности изобретения

Задача изобретения состояла в разработке способа препаративного выделения всей смеси фрагментов ДНК из многокомпонентной жидкой фазы, содержащей смесь разных фрагментов ДНК в присутствии биологического матрикса на основе плазмы крови, на первой стадии и селективного выделения фрагментов ДНК заданной длины на второй стадии, а также в демонстрации пригодности выделенной ДНК для постановки полимеразно-цепной реакции и подготовки ДНК-библиотек.

Поставленная задача решается тем, что заявляемый способ выделения фрагментов ДНК осуществляется посредством использования: а) двух типов парамагнитных частиц с разными сорбционными свойствами; б) магнитного штатива для пробирок; в) комбинации лизирующего, двух связывающих и трех промывочных буферов с определенной химической композицией; г) специально адаптированного температурного и временного режимов химического воздействия.

Достигаемый технический результат заключается в создании способа для выделения целевых фрагментов ДНК длиной от 100 до 400 п.о. из многокомпонентной жидкой фазы, содержащей смесь фрагментов ДНК в присутствии биологического матрикса на основе плазмы крови, который включает выделение фрагментов ДНК (лизис биологического матрикса лизирующим буфером, связывание фрагментов ДНК на магнитном сорбенте №1 на основе парамагнитного ядра, покрытого силикатными функциональными группами разветвленного строения; серию стадий, включающих в себя промывки связавшихся фрагментов ДНК тремя промывочными буферами; элюцию связавшихся фрагментов ДНК элюирующим буфером) и затем выделение фрагментов ДНК (селективное связывание фрагментов на магнитном сорбенте №2 с твердым парамагнитным ядром, поверхность которого функционализирована карбоксильными группами, последующие промывки связавшихся фрагментов ДНК и элюцию связавшихся фрагментов ДНК элюирующим буфером).

Раскрытие изобретения

Способ выделения фрагментов ДНК заданной длины из многокомпонентной жидкой фазы, содержащей смесь разных по длине фрагментов ДНК, в присутствии биологического матрикса на основе плазмы крови, осуществляется посредством двух стадий:

- 1-я стадия - сорбция фрагментов ДНК на парамагнитных частицах (тип I), покрытых силикатными группами разветвленного строения;

- 2-я стадия - селективная сорбция целевых фрагментов ДНК длиной от 100 до 400 п.о. на парамагнитных частицах (тип II), покрытых карбоксильными группами, основанная на твердофазной обратимой иммобилизации фрагментов ДНК в растворе в присутствии гелеобразующего агента - полиэтиленгликоля (ПЭГ) с молекулярной массой от 7000 до 9000 и натриевой соли.

Осуществление способа позволяет получить образец, содержащий целевые фрагменты ДНК длиной от 100 до 400 п.о. Фрагменты ДНК в данном диапазоне длин имеют важное значение для разработки методов малоинвазивной диагностики онкологических заболеваний по мутационному, метиломному и фрагментомному профилю ДНК.

Материалы и реактивы, используемые для выделения фрагментов ДНК, представлены в таблице 1.

1-я стадия. Лизирующий буфер и образец плазмы крови, содержащий фрагменты ДНК, смешивали в объемном отношении 1:1 с последующим термостатированием при 56°С в течение 10-30 мин в присутствии или в отсутствие ферментативного протеолитического препарата в финальной концентрации 0,5-0,6 мг/мл. Затем в пробирку добавляли около 2 мкг магнитного сорбента №1 в связывающем буфере №1 до финальной концентрации натриевой соли 200 мМ с последующим термостатированием при 65°С в течение 10 мин. Далее на магнитном штативе осаждали парамагнитные частицы и отбирали супернатант, после чего следовала серия промывок сорбированных фрагментов ДНК на парамагнитных частицах тремя разными промывочными буферами, в состав которых входили спирты. Элюцию связавшихся фрагментов ДНК осуществляли при 85°С в течение 5 мин буфером с добавлением солей натрия в объеме 100 мкл.

2-я стадия. К образцу объемом 100 мкл, полученному при осуществлении способа по 1-й стадии, добавляли около 1 мкг магнитного сорбента №2 и до 5 объемов связывающего буфера №2 с последующим термостатированием при 55°С в течение 5 мин. Далее на магнитном штативе осаждали парамагнитные частицы на стенке пробирки и отбирали супернатант, после чего следовала серия промывок сорбированных фрагментов ДНК на парамагнитных частицах двумя разными промывочными буферами, в состав которых входили спирты. Элюцию связавшихся фрагментов ДНК осуществляли при 85°С в течение 5 мин буфером с добавлением солей натрия в объеме 100 мкл.

Применение изобретения

Применение способа можно продемонстрировать следующими примерами.

Пример 1

Выделение фрагментов ДНК заданной длины из многокомпонентной жидкой фазы (без добавления биологического матрикса)

Цель данного эксперимента состояла в демонстрации эффективности селекции фрагментов ДНК по длинам из модельных образцов, содержащих смесь фрагментов ДНК разной длины, при использовании магнитных частиц типа II в отсутствие биологического матрикса. Были приготовлены три партии модельных образцов. Каждый модельный образец объемом 100 мкл содержал дистиллированную воду и лабораторные ДНК-стандарты (приготовлены на основе смешивания разных образцов фрагментированной ДНК). Первая партия модельных образцов содержала стандарт №1 (фрагменты ДНК длиной 100-300 п.о.), вторая партия - стандарт №2 (фрагменты ДНК длиной 100-700 п.о.), третья партия - стандарт №3 (фрагменты ДНК длиной 100-1000 п.о.).

Далее эксперимент выполняли по следующему протоколу.

1. Для приготовления суспензии сорбента в отдельной пробирке смешивали 20 мкл предварительно ресуспендированного магнитного сорбента №2 и 500 мкл связывающего буфера №2, после чего суспензию переносили в модельный образец.

2. Пробирку помещали в термостат и инкубировали при 55°С в течение 5 мин.

3. По окончании инкубации осаждали капли жидкости на настольной микроцентрифуге, после чего помещали пробирку в магнитный штатив на 2 мин.

4. С помощью ручного дозатора отбирали надосадочную жидкость, не касаясь магнитных частиц.

5. Добавляли промывочный буфер №2 в пробирку с магнитным сорбентом №2,

перемешивали и осаждали капли жидкости, и снова помещали на магнитный штатив на 2 мин.

6. С помощью ручного дозатора отбирали надосадочную жидкость, не касаясь магнитных частиц.

7. Добавляли промывочный буфер №3 в пробирку с магнитным сорбентом №2, перемешивали и осаждали капли жидкости, снова помещали на магнитный штатив на 2 мин.

8. С помощью ручного дозатора отбирали надосадочную жидкость, не касаясь магнитных частиц, после чего инкубировали пробирки с открытой крышкой при комнатной температуре в течение 5 мин.

9. Добавляли в пробирку 100 мкл элюирующего буфера, аккуратно перемешивали так, чтобы на стенках пробирок не оставался магнитный сорбент.

10. Пробирку помещали в закрытый термостат и инкубировали при 85°С в течение 5 мин.

11. По окончании инкубации пробирки помещали в магнитный штатив на 2 мин и отбирали ручным дозатором надосадочную жидкость в новые пробирки.

Результаты оценки концентрации выделенной ДНК приведены в таблице 2, из которой видно, что эффективность выделения фрагментов ДНК достигала примерно 87%. Пример электрофореграммы распределения выделенной ДНК по длинам с использованием модельных образцов, содержащих ДНК-стандарт №2 (100-700 п.о.), приведен на Фиг. 1. Из Фиг. 1 следует, что образцы были обогащены выделенными фрагментами ДНК длиной 151 и 320 п.о., что в целом соответствует профилю распределения фрагментов мононуклеосомной и динуклеосомной ДНК в образцах плазмы крови соответственно. Также из Фиг. 1 видно, что основная фракция выделенных фрагментов ДНК распределена в интервале длин от 100 до 400 п.о.

Пример 2

Выделение фрагментов ДНК заданной длины из многокомпонентной жидкой фазы, содержащей биологический матрикс на основе плазмы крови.

Забор и начальная пробоподготовка образцов, содержащих плазму крови от условно здоровых субъектов, были выполнены по следующему протоколу

Забор периферической венозной крови осуществляли в пробирки типа PAXgene Blood ccfDNA Kit (QIAGEN, США) или Cell-Free DNA BCT (Streck, США) со стабилизатором, который препятствует клеточному лизису и контаминации образца внутриклеточной ДНК. Далее содержимое пробирок перемешивали плавными движениями, избегая встряхивания. Хранили пробирки в холодильной камере при температуре от +4°С до +10°С не более семи дней с момента забора крови. Пробирки с кровью центрифугировали в горизонтальном роторе при 1300 g в течение 20 мин. Далее отбирали надосадочную жидкость (плазму) в новую пробирку, не задевая промежуточный лейкоцитарный слой белого цвета, и повторно центрифугировали при 2000-2500 g в течение 15 мин. Отобранную надосадочную жидкость переносили в криопробирки для последующего хранения в морозильной камере при -80°С не более 3 мес.

Способ выделения фрагментов ДНК заданной длины из многокомпонентной жидкой фазы, содержащей смесь фрагментов ДНК, и биологический матрикс на основе плазмы крови, был осуществлен по нижеописанному протоколу.

Для выделения использовали магнитные сорбенты двух типов. Характеристики основных свойств парамагнитных частиц (тип I): микрогранулы силикагеля, содержащие парамагнитные нанокристаллы магнетита/маггемита; средний размер частиц - 1,8 мкм. Характеристики основных свойств парамагнитных частиц (тип II): парамагнитные микросферы с карбоксилированной поверхностью; средний размер частиц - 1,4 мкм. Могут быть использованы аналогичные типы парамагнитных частиц, поверхность которых функционализирована либо силикатными группами разветвленного строения, либо карбоксильными группами.

Двухстадийный способ выделения фрагментов ДНК тестировали на модельных образцах, содержащих известную концентрацию экзогенной ДНК и биологический матрикс на основе плазмы крови. Таким образом, в модельных образцах можно имитировать наличие фрагментов ДНК в диапазоне концентраций сцДНК плазмы крови субъектов с онкологическим заболеванием (Chen Е., et al. Cell-free DNA concentration and fragment size as a biomarker for prostate cancer. Sci Rep.2021; 11(1): 5040). В качестве экзогенной ДНК использовали образец ДНК-ампликонов с ориентировочной длиной фрагментов в интервале от 100 до 400 п.о.).

В первом случае выделение фрагментов ДНК выполняли из модельных образцов, содержащих ДНК-ампликон в конечной концентрации 1,5 нг/мкл.

Во втором случае выделение фрагментов ДНК выполняли из модельных образцов, содержащих ДНК-ампликон в конечной концентрации 0,32 нг/мкл.

1-я стадия

1. Образец плазмы крови объемом 2 мл аликвотировали по 500 мкл в 4 пробирки объемом 1,5 мл; к образцам плазмы добавляли ДНК-амликоны для приготовления модельных образцов.

2. В каждую пробирку с модельным образцом добавляли 500 мкл лизирующего буфера (альтернативно в каждую пробирку дополнительно добавляли 440 мкл лизирующего буфера и 60 мкл раствора протеиназы К в качестве ферментативного протеолитического препарата).

3. После перемешивания на вортексе в течение 5 с пробирки инкубировали в закрытом термостате при 56°С в течение 10-30 мин.

4. Для приготовления суспензии сорбента (из расчета на 500 мкл плазмы крови) в отдельной пробирке смешивали 30 мкл предварительно ресуспендированного магнитного сорбента №1 и 50 мкл связывающего буфера №1.

5. По окончании инкубации пробирки охлаждали при комнатной температуре в течение 2 мин, затем в каждую из них добавляли суспензию магнитного сорбента №1 в связывающем буфере №1 объемом 80 мкл, перемешивали и осаждали капли жидкости на настольной микроцентрифуге.

6. Пробирки инкубировали в закрытом термостате при 65°С в течение 10 мин.

7. По окончании инкубации осаждали капли жидкости на настольной микроцентрифуге, после чего помещали пробирки в магнитный штатив на 2 мин.

8. С помощью ручного дозатора отбирали надосадочную жидкость, не касаясь магнитных частиц.

9. Добавляли промывочный буфер №1 в пробирки с магнитным сорбентом №1, перемешивали и осаждали капли жидкости, снова помещали на магнитный штатив на 2 мин.

10. С помощью ручного дозатора отбирали надосадочную жидкость, не касаясь магнитных частиц.

11. Добавляли промывочный буфер №2 в пробирки с магнитным сорбентом №1, перемешивали и осаждали капли жидкости, снова помещали на магнитный штатив на 2 мин.

12. С помощью ручного дозатора отбирали надосадочную жидкость, не касаясь магнитных частиц.

13. Добавляли промывочный буфер №3 в пробирки с магнитным сорбентом №1, перемешивали и осаждали капли жидкости, снова помещали на магнитный штатив на 2 мин.

14. С помощью ручного дозатора отбирали надосадочную жидкость, не касаясь магнитных частиц, после чего инкубировали пробирки с открытой крышкой при комнатной температуре в течение 5 мин.

15. Добавляли в каждую пробирку по 100 мкл элюирующего буфера, аккуратно перемешивали - так, чтобы на стенках пробирок не оставался магнитный сорбент.

16. Пробирки помещали в закрытый термостат и инкубировали при 85°С в течение 5 мин.

17. По окончании инкубации пробирки помещали в магнитный штатив на 2 мин и отбирали ручным дозатором надосадочную жидкость в новые пробирки.

2-я стадия

1. Для приготовления суспензии сорбента (из расчета на одну пробирку с выделенной ДНК на 1-й стадии) в отдельной пробирке смешивали 20 мкл предварительно ресуспендированного магнитного сорбента №2 и 500 мкл связывающего буфера №2, после чего переносили в пробирку с выделенной ДНК.

2. Пробирку помещали в термостат и инкубировали при 55°С в течение 5 мин.

3. По окончании инкубации осаждали капли жидкости на настольной микроцентрифуге, после чего помещали пробирку в магнитный штатив на 2 мин.

4. С помощью ручного дозатора отбирали надосадочную жидкость, не касаясь магнитных частиц.

5. Добавляли промывочный буфер №2 в пробирку с магнитным сорбентом №2, перемешивали и осаждали капли жидкости, снова помещали на магнитный штатив на 2 мин.

6. С помощью ручного дозатора отбирали надосадочную жидкость, не касаясь магнитных частиц.

7. Добавляли промывочный буфер №3 в пробирку с магнитным сорбентом №2, перемешивали и осаждали капли жидкости, снова помещали на магнитный штатив на 2 мин.

8. С помощью ручного дозатора отбирали надосадочную жидкость, не касаясь магнитных частиц, после чего инкубировали пробирки с открытой крышкой при комнатной температуре в течение 5 мин.

9. Добавляли в пробирку 100 мкл элюирующего буфера, аккуратно перемешивали - так, чтобы на стенках пробирок не оставался магнитный сорбент.

10. Пробирку помещали в закрытый термостат и инкубировали при 85°С в течение 5 мин.

11. По окончании инкубации пробирки помещали в магнитный штатив на 2 мин и отбирали ручным дозатором надосадочную жидкость в новые пробирки.

Типовая электрофореграмма пробы, полученной в результате выделения фрагментов ДНК из модельных образцов, содержащих ДНК-ампликон в конечной концентрации 1,5 нг/мкл, приведена на Фиг. 2.

Типовая электрофореграмма пробы, полученной в результате выделения фрагментов ДНК из модельных образцов, содержащих ДНК-ампликон в конечной концентрации 0,32 нг/мкл, приведена на Фиг. 3.

Таким образом, осуществление способа позволило выделить из модельного образца, содержащего биологический матрикс на основе плазмы крови, фрагменты ДНК заданной длины.

Пример 3

Приготовление ДНК-библиотек для геномного секвенирования

Показатели чистоты ДНК являются одними из ключевых показателей пригодности выделяемой ДНК из многокомпонентной жидкой фазы, содержащей биологический матрикс, для дальнейшего лабораторного исследования.

Для демонстрации примера осуществления заявляемого способа проводили выделение ДНК из многокомпонентной жидкой фазы, содержащей биологический матрикс на основе плазмы крови, полученной от условно здорового субъекта.

Способ выделения фрагментов ДНК заданной длины из многокомпонентной жидкой фазы, содержащей смесь фрагментов ДНК и биологический матрикс на основе плазмы крови, описан в Примере 2.

По результатам измерения концентраций было установлено, что соотношения средних показателей поглощения образцов с выделенной ДНК на различных длинах волн А260280 и А260230 составили 1,5 и 1,3 соответственно, что говорит о предварительной пригодности фрагментов ДНК, выделенных заявляемым способом, для дальнейших лабораторных исследований.

В Примере 3 ДНК, выделенную из плазмы крови условно здорового субъекта при осуществлении заявляемого способа, использовали далее для подготовки ДНК-библиотек для геномного секвенирования при помощи набора реагентов NEBNEXT ULTRA II DNA LIBRARY PREP KIT FOR ILLUMINA (New England Biolabs Inc., США) в соответствии с протоколом, описанным ниже.

Была приготовлена смесь End Prep Master Mix - согласно исходным данным, указанным в Таблице 3.

Протокол программы инкубации для термоциклера приведен в Таблице 4.

Лигирование адаптеров осуществляли по следующему протоколу.

1. Достать из набора реагентов из холодильника и перед началом работы прогреть буферы Ligation Enhancer и USER Enzyme до комнатной температуры.

2. Измерить концентрацию ДНК после инкубации на флуориметре Qubit 4 (Thermo Fisher Scientific Inc., США) с помощью красителя QuDye dsDNA HS Assay Kit.

3. Развести растворы адаптеров согласно Таблице 5. В данном примере разведение составляло 1:10, т.к. входное количество ДНК составляло 22,85 нг (50 мкл ДНК * 0,457 нг/мкл=22,85 нг).

Смесь End Prep Reaction Mixture была приготовлена в порядке и объеме, указанных в Таблице 6.

4. Взять дозатор с объемом 100 мкл или 200 мкл и выставить значение отбираемого объема на 80 мкл. Перемешать Adapter Master Mix пипетированием вверх и вниз в количестве 10 раз. Воспользоваться мини-центрифугой/вортексом для осаждения капель.

5. Поместить образец в инкубатор, инкубировать в течение 15 мин при 20°C с отключенным нагревом крышки амплификатора.

6. После инкубации добавить по 3 мкл USER Enzyme в образец.

7. Перемешать образец и инкубировать в течение 15 мин при 37°C с включенным нагревом крышки при температуре ≥47°С.

8. Достать из холодильника магнитные частицы SPRIselect и перемешать.

9. Добавить по 87 мкл SPRIselect к образцу и хорошо перемешать пипетированием с помощью дозатора. Воспользоваться мини-центрифугой/вортексом для осаждения капель. Не допускать осаждения магнитных частиц на дно пробирки.

10. Поместить смесь в термостат, инкубировать в течение 5 мин при комнатной температуре.

11. Поместить пробирку на магнитный штатив и дождаться полного осаждения магнитных частиц (смесь должна стать прозрачной), затем отобрать и утилизировать надосадочную жидкость.

12. Аккуратно добавить 200 мкл свежеприготовленного 80% раствора этилового спирта к осадку, не убирая образец с магнитного штатива и не допуская его ресуспендирования.

13. Инкубировать в течение 30 с при комнатной температуре. Аккуратно отобрать спиртовой раствор (надосадочную жидкость), не задевая примагниченные частицы. Надосадочную жидкость утилизировать. Повторить промывку.

14. Убедиться, что вся жидкость была отобрана после второй промывки.

15. При необходимости центрифугировать пробирку для сброса капель, затем установить ее на магнитный штатив и отобрать остатки 80% этилового спирта.

16. Просушить частицы в пробирке с открытой крышкой от остатков спирта в течение не более 5 мин, не допуская растрескивания магнитных частиц.

17. Добавить элюирующий буфер (17 мкл 0,1 × ТЕ из набора NEBNEXT ULTRA II DNA LIBRARY PREP KIT FOR ILLUMINA (New England Biolabs Inc., США) или 10 ммоль Tris-HCl).

18. Перемешать смесь пипетированием с помощью дозатора и поставить в штатив без магнита инкубироваться в течение 2 мин при комнатной температуре.

19. Поместить пробирку на магнитный штатив и дождаться полного осаждения магнитных частиц (раствор должен стать прозрачным).

20. Отобрать 15 мкл элюата в новую пробирку для последующей амплификации.

Амплификацию адаптер-лигированной ДНК осуществляли по следующему протоколу.

1. Разнести компоненты для амплификации, указанные в Таблице 7, в пробирку из п. 20,

2. Запрограммировать термоциклер под протокол амплификации, указанный в Таблице 8.

3. Поставить пробирку в термоциклер и запустить программу.

Пост-амплификационную очистку осуществляли по следующему протоколу.

1. Достать магнитные частицы SPRIselect из холодильника и прогреть до комнатной температуры, тщательно ресуспендировать магнитные частицы.

2. Добавить 45 мкл ресуспендированных магнитных частиц в пробирку для проведения ПЦР-реакции. Перемешать пипетированием с помощью механического дозатора вверх и вниз в количестве 10 раз. Убедиться в однородности суспензии. Воспользоваться мини-центрифугой/вортексом для осаждения капель.

3. Инкубировать образцы в течение 5 минут при комнатной температуре.

4. Добавить 200 мкл свежеприготовленного 80% раствора этанола к магнитным частицам. Инкубировать в течение 30 с при комнатной температуре,

5. Аккуратно отобрать спиртовой раствор (надосадочную жидкость), не задевая примагниченные частицы. Надосадочную жидкость утилизировать. Повторить промывку.

6. Просушить магнитные частицы в открытой пробирке в течение 5 мин, не снимая ее с магнитного штатива. Не допускать пересыхания частиц.

7. Добавить к образцам ДНК по 33 мкл элюирующего буфера 0,1 × ТЕ из набора NEBNEXT ULTRA II DNA LIBRARY PREP KIT FOR ILLUMINA (New England Biolabs Inc., США).

8. Перемешать пипетированием с помощью дозатора. Воспользоваться мини-центрифугой/вортексом для осаждения капель.

9. Поместить пробирки в штатив без магнита, открыть крышки и выдержать в течение 2 минут при комнатной температуре.

10. Поместить образцы в магнитный штатив и дождаться полного осаждения магнитных частиц (раствор должен стать прозрачным). Затем отобрать 30 мкл образца и перенести в новую пробирку.

Контроль качества выделенной ДНК проводили путем оценки длин фрагментов выделенной ДНК с помощью набора реагентов High Sensitivity D1000 ScreenTape Assay (Agilent Technologies, Inc.) на системе автоматического электрофореза 4200 Таре Station.

На Фиг. 4 представлены результаты оценки длины фрагментов ДНК в составе подготовленных ДНК-библиотек (на электрофореграмме регистрируется единичный пик фрагмента ДНК длиной 263 п.о.).

Таким образом, результаты эксперимента, изложенные в Примере 3, подтверждают валидность заявляемого способа в выделении ДНК, которая пригодна для проведения молекулярно-генетического исследования, а именно для подготовки ДНК-библиотек с целью последующего секвенирования ДНК.

Пример 4

Полимеразно-цепная реакция (ПЦР) на Alu-повторы

Для демонстрации примера осуществления заявляемого способа проводили выделение ДНК из многокомпонентной жидкой фазы, содержащей биологический матрикс на основе плазмы крови, полученной от условно здорового субъекта.

Способ выделения фрагментов ДНК заданной длины из многокомпонентной жидкой фазы, содержащей смесь фрагментов ДНК, и биологический матрикс на основе плазмы крови, описан в Примере 2.

В Примере 4 ДНК, выделенную из образца плазмы крови условно здорового субъекта при осуществлении заявляемого способа, использовали далее для постановки ПЦР.

Alu-повторы относят к группе ретро-элементов, которые представлены в достаточно большом количестве в ДНК человека (Bennett Е.А., et al. Active Alu retrotransposons in the human genome. Genome Research. 2008; 18, 1875-1883). Следовательно, они могут быть амплифицированы в ходе ПЦР при помощи специфических праймеров.

Перед постановкой ПЦР измеряли концентрацию фрагментов ДНК на флуориметре Qubit 4 (Thermo Fisher Scientific Inc., США).

Расчет количества реагентов, необходимых для постановки ПЦР, указан в Таблице 9.

Дальнейшие операции осуществляли по следующему протоколу.

1. Реагенты перед смешиванием прогреть при комнатной температуре, препарат HS Taq полимеразы поместить на лед.

2. Аликвоты, содержащие фрагменты ДНК и ПЦР-смесь, смешать в пробирке объемом 0,2 мл (Таблица 9).

3. Запрограммировать амплификатор, используя температурный режим из Таблицы 10.

4. Тщательно перемешать ПЦР-смесь на вортексе, осадить капли в течение 3-5 секунд, поставить образцы в амплификатор и запустить программу.

5. После выполнения программы амплификации необходимо оценить длину фрагментов выделенной ДНК с помощью набора реагентов High Sensitivity D1000 ScreenTape Assay (Agilent Technologies, Inc.) на системе автоматического электрофореза 4200 Таре Station, используя инструкцию к набору.

На Фиг. 5 представлена контрольная электрофореграмма образца, полученного в ходе ПЦР с использованием пары специфичных праймеров на Alu-повтор. Из Фиг. 5 видно, что в образце присутствуют фрагменты ДНК длиной 286 п.о.

Таким образом, результаты эксперимента, изложенные в Примере 4, подтверждают валидность заявляемого способа в выделении ДНК, которая пригодна для проведения молекулярно-генетического исследования, а именно для постановки полимеразно-цепной реакции.

В целом Примеры 3 и 4 демонстрируют пригодность выделенной при осуществлении заявляемого способа ДНК для выполнения дальнейшего лабораторного исследования.

Похожие патенты RU2832884C1

название год авторы номер документа
Способ определения кариотипа плода беременной женщины на основании секвенирования гибридных прочтений, состоящих из коротких фрагментов внеклеточной ДНК 2019
  • Коростин Дмитрий Олегович
  • Плахина Дарья Александровна
  • Евфратов Сергей Викторович
  • Ракитько Александр Сергеевич
  • Ильинский Валерий Владимирович
RU2717023C1
СПОСОБ ВЫДЕЛЕНИЯ ЦИРКУЛИРУЮЩИХ ДНК ИЗ ПЛАЗМЫ ИЛИ СЫВОРОТКИ КРОВИ 2015
  • Морозкин Евгений Сергеевич
  • Лактионов Павел Петрович
  • Лехнов Евгений Анатольевич
  • Запорожченко Иван Андреевич
  • Власов Валентин Викторович
RU2603098C1
СПОСОБ ВЫДЕЛЕНИЯ ТОТАЛЬНОЙ ДНК БАКТЕРИЙ ИЗ ОБРАЗЦОВ ПОЧВЫ, СПОСОБ ОЦЕНКИ БАКТЕРИАЛЬНОГО СОСТАВА ПОЧВ ПОСРЕДСТВОМ МЕТАГЕНОМНОГО СЕКВЕНИРОВАНИЯ И НАБОРЫ ДЛЯ ОСУЩЕСТВЛЕНИЯ СПОСОБОВ 2024
  • Игнатьева Дарья Игоревна
  • Волков Александр Анатольевич
  • Шварцев Алексей Анатольевич
  • Алексеев Яков Игоревич
RU2829656C1
Способ малоинвазивной диагностики рака легкого по фрагментированной свободно циркулирующей ДНК на основе методов машинного обучения 2023
  • Юдин Сергей Михайлович
  • Кескинов Антон Артурович
  • Макаров Валентин Владимирович
  • Юдин Владимир Сергеевич
  • Мешков Иван Олегович
  • Макарова Анна Сергеевна
  • Котюргин Александр Павлович
  • Ершов Павел Викторович
  • Снигирь Екатерина Андреевна
  • Махотенко Антонида Викторовна
  • Астафьева Василиса Александровна
  • Маралова Екатерина Дмитриевна
  • Фёдоров Артём Юрьевич
RU2820322C1
Набор для выделения ДНК 2020
  • Евтушенко Владимир Иванович
  • Майстренко Дмитрий Николаевич
RU2753768C1
НАБОР РЕАКТИВОВ ДЛЯ ВЫДЕЛЕНИЯ ДНК 2016
  • Викторов Денис Александрович
  • Тороповский Андрей Николаевич
  • Пименов Сергей Владимирович
  • Никитин Алексей Георгиевич
RU2650865C1
Среда и устройство для сбора, хранения и транспортировки биологических образцов, а также их применение для стабилизации внеклеточных нуклеиновых кислот 2022
  • Гра Ольга Алексеевна
  • Гра Дмитрий Вадимович
  • Селезнев Виктор Васильевич
RU2798013C1
Способ выделения ДНК из почвы 2018
  • Сазыкина Марина Александровна
  • Сазыкин Иван Сергеевич
  • Селиверстова Екатерина Юрьевна
  • Хмелевцова Людмила Евгеньевна
RU2696052C1
Технология полноэкзомного обогащения на основе гибридизации с нормализованным транскриптомом 2023
  • Белова Вера Александровна
  • Черанев Валерий Владимирович
  • Василиадис Юлия Андреевна
  • Коростин Дмитрий Олегович
  • Ребриков Денис Владимирович
RU2838569C1
СПОСОБ И НАБОР ДЛЯ ОБНАРУЖЕНИЯ БАКТЕРИЙ РОДА CAMPYLOBACTER У БОЛЬНЫХ С ВОСПАЛИТЕЛЬНЫМИ ЗАБОЛЕВАНИЯМИ КИШЕЧНИКА 2019
  • Мавзютов Айрат Радикович
  • Бижбалова Лина Олеговна
  • Матниязов Рустам Тахирович
  • Тимербулатов Махмуд Вилевич
  • Щекин Влас Сергеевич
  • Ярмухаметова Эльвина Дамировна
RU2732923C1

Иллюстрации к изобретению RU 2 832 884 C1

Реферат патента 2025 года Способ выделения целевых фрагментов ДНК из многокомпонентной смеси

Изобретение относится к биотехнологии и раскрывает способ выделения фрагментов ДНК заданной длины из многокомпонентной смеси, состоящей из разных по длине фрагментов ДНК, в присутствии биологического матрикса на основе плазмы крови. Способ включает в себя двухстадийное препаративное выделение всей совокупности фрагментов ДНК с последующей селекцией фрагментов ДНК по длине. Предложенный способ позволяет получать нуклеиновую кислоту, пригодную для постановки полимеразной цепной реакции и подготовки ДНК-библиотек для проведения геномного секвенирования, при затратах времени около двух часов. 5 ил., 10 табл., 4 пр.

Формула изобретения RU 2 832 884 C1

Способ выделения целевых фрагментов ДНК из многокомпонентной жидкой фазы, содержащей смесь разных по длине фрагментов нуклеиновых кислот, в присутствии биологического матрикса на основе плазмы крови, предусматривающий лизис биологического матрикса в присутствии лизирующего буфера при 56°С в течение 10-30 мин, содержащего 20 мМ гидрохлорид 2-амино-2-гидроксиметил-пропан-1,3-диола, 20 мМ ЭДТА, 6 М гуанидин-изотиоционата, рН 6,0-6,5, в присутствии или в отсутствие ферментативного протеолитического препарата; связывание фрагментов ДНК при 65°С в течение 10 мин на магнитном сорбенте 1, представляющем собой твердофазный носитель с твердым парамагнитным ядром, поверхность которого функционализирована силикатными группами разветвленного строения, в связывающем буфере 1, содержащем до 4 М хлорида натрия; промывку сорбированных фрагментов ДНК от продуктов распада клеточной мембраны промывочным буфером 1, содержащим 1 М перхлората лития и 50% изопропиловый спирт; промывку промывочным буфером 2 от белковых продуктов деструкции клеток, содержащим 10 мМ гидрохлорид 2-амино-2-гидроксиметил-пропан-1,3-диола и 80% этиловый спирт, рН 7,5; промывку промывочным буфером 3 для удаления избытка воды, состоящим из 80% раствора этилового спирта; элюцию связавшихся фрагментов ДНК при помощи элюирующего буфера при 85°С в течение 5 мин, содержащего соли натрия, гидрохлорид 2-амино-2-гидроксиметил-пропан-1,3-диола в концентрации 10 мМ в щелочной среде; селекцию по длине фрагментов ДНК, предусматривающей связывание целевых фрагментов ДНК на магнитном сорбенте 2, представляющем собой сорбент с твердым парамагнитным ядром, поверхность которого функционализирована карбоксильными группами, в связывающем буфере 2 при 55°С в течение 5 мин; повторную промывку промывочным буфером 2; повторную промывку промывочным буфером 3; повторную элюцию связавшихся фрагментов ДНК элюирующим буфером при 85°С в течение 5 мин.

Документы, цитированные в отчете о поиске Патент 2025 года RU2832884C1

TYUMENTSEVA A.V
et al., Silica-Coated Iron Oxide Nanoparticles for DNA Isolation for Molecular Genetic Studies in Hematology, Genet Test Mol Biomarkers, 2021, vol
Видоизменение пишущей машины для тюркско-арабского шрифта 1923
  • Мадьяров А.
  • Туганов Т.
SU25A1
Разборный с внутренней печью кипятильник 1922
  • Петухов Г.Г.
SU9A1
НОЖЕВАЯ ПОЧВООБРАБАТЫВАЮЩАЯ ФРЕЗА С ПРИСОБЛЕНИЕМ ДЛЯ ИЗВЛЕЧЕНИЯ СОРНЫХ ТРАВ И КАМНЕЙ 1922
  • Громов И.С.
SU611A1
HADDAD Y
et al., The Isolation of DNA by Polycharged Magnetic Particles: An Analysis of the Interaction by Zeta Potential and Particle Size, Int J Mol Sci,

RU 2 832 884 C1

Авторы

Юдин Сергей Михайлович

Кескинов Антон Артурович

Макаров Валентин Владимирович

Юдин Владимир Сергеевич

Козлов Иван Борисович

Макарова Анна Сергеевна

Ершов Павел Викторович

Сафонова Любовь Александровна

Куликов Павел Павлович

Снигирь Екатерина Андреевна

Махотенко Антонида Викторовна

Фёдоров Артём Юрьевич

Максютина Валентина Валерьевна

Даты

2025-01-09Публикация

2024-04-04Подача