Область техники, к которой относится изобретение
Настоящее изобретение относится к направляющему устройству для направления ударной головки и гомогенизирующему клапану, содержащему указанное направляющее устройство.
Предлагаемое здесь изобретение применимо в пищевой промышленности, в частности в молочной промышленности, или в химической, фармацевтической или косметической промышленности. Изобретение также применимо в производственных областях, где гомогенизация является этапом производственного процесса.
Рассматривается, например, производство наноструктурированных материалов на основе углерода, таких как графеновые и углеродные нанотрубки, или клеточное расщепление дрожжей, водорослей или микроорганизмов для производства внутриклеточного материала.
Уровень техники
Как известно, устройство для гомогенизации текучих сред измельчает частицы, уменьшая их размеры до минимума и делая размеры частиц однородными, тем самым уменьшая изменение распределения размеров частиц.
Указанное устройство гомогенизации в различных известных сейчас вариантах осуществления содержит насос высокого давления и гомогенизирующий клапан. Гомогенизирующий клапан содержит первую камеру, принимающую текучую среду под высоким давлением от подачи насоса, и вторую камеру, выполненную с возможностью подачи выходящей гомогенизированной текучей среды при низком давлении. Гомогенизирующее действие достигается за счет принудительного прохождения текучей среды через промежуток или зазор с уменьшенными размерами, предусмотренный между первой и второй камерой. Зазор образован проходной головкой, соединенной как одно целое с корпусом клапана, и ударной головкой, подвижной в осевом направлении относительно проходной головки.
Текучая среда, поступающая из впускного отверстия, давит на поверхность ударной головки, оказывая на нее давление, которое стремится расширить зазор.
К ударной головке приложен толкатель, выполненный с возможностью контрастирования давления текучей среды в осевом направлении. Размер зазора контролируется путем воздействия непосредственно на толкатель в зависимости от расхода клапана и рабочих значений давления.
Как уже указывалось выше, текучая среда теряет давление, проходя через зазор, и одновременно ускоряется, что позволяет фрагментировать частицы в суспензии.
Чтобы оптимизировать энергию, используемую в процессе гомогенизации, в последние годы заявитель разработал гомогенизирующие клапаны, в которых первая и вторая камеры имеют кольцевую форму. Указанные решения описаны в европейском патенте EP810025 и в итальянском патенте № 1385953 от имени заявителя.
Кольцевая конфигурация двух камер позволяет текучей среде под высоким давлением давить на кольцевую поверхность ударной головки, тем самым обеспечивая работу с зазором уменьшенных размеров с одинаковой приложенной энергией.
Один предел только что описанного решения заключается в форме и положении толкателя, воздействующего на ударную головку. Толкатель состоит из штока, закрепленного как одно целое на ударной головке и расположенного в верхней части гомогенизирующего клапана.
Под толкающим действием штока ударная головка перемещается вниз, то есть в сторону зазора.
Приведение в действие ударной головки вдали от рабочей зоны, которая является зазором, вносит допуски, которые могут привести к нежелательному механическому смещению. Чем выше смещение, тем хуже производительность гомогенизирующего клапана.
Документы JP S62 1444 A и IT PR20 090 023 A1 раскрывают направляющие устройства согласно ограничительной части пункта 1 формулы изобретения.
Раскрытие сущности изобретения
В этом контексте задачей настоящего изобретения является создание направляющего устройства для направления ударной головки и гомогенизирующего клапана, которые преодолевают проблемы предшествующего уровня техники, процитированные выше.
В частности, задачей настоящего изобретения является предложение направляющего устройства для направления ударной головки, в котором ударная головка может приводиться в действие более точным и надежным образом, избегая или по меньшей мере уменьшая риски механических смещений.
Другой задачей настоящего изобретения является предложение направляющего устройства для направления ударной головки, в котором срок службы ударной головки увеличивается по сравнению с решениями предшествующего уровня техники.
Указанная техническая задача и указанные цели по существу достигаются направляющим устройством для направления ударной головки гомогенизирующего клапана, причем направляющее устройство содержит:
твердое тело, имеющее цилиндрическую симметрию и имеющее внутреннюю полость, проходящую через твердое тело, причем указанная внутренняя полость формируется в соответствии с осью симметрии твердого тела, причем указанное твердое тело имеет множество проходов, которые выполнены с возможностью прохождения текучей среды;
втулку, установленную внутри внутренней полости твердого тела для приема ударной головки.
Согласно аспекту изобретения твердое тело выполнено из одной детали.
В соответствии с вариантом осуществления изобретения твердое тело содержит корпус и сердечник, соединенные как одно целое, причем внутренняя полость ограничена сердечником.
В частности, проходы множества проходов представляют собой сквозные отверстия, выполненные между корпусом и сердечником.
Сквозные отверстия разделены соединительными элементами, соединяющими сердечник с корпусом.
Предпочтительно, сердечник имеет по существу полую цилиндрическую форму.
Более предпочтительно, сердечник имеет кольцевой выступ на одном конце, чтобы удерживать втулку.
В частности, кольцевой выступ выступает внутрь по направлению к внутренней полости.
Согласно одному аспекту изобретения сквозные отверстия расположены вокруг сердечника.
В частности, каждое из указанных сквозных отверстий имеет дугообразное углубление.
В соответствии с другим вариантом осуществления изобретения проходы из указанного множества проходов представляют собой канавки, выполненные в твердом теле.
В частности, твердое тело содержит первый элемент и второй элемент, которые соединены как одно целое и соосны.
Второй элемент происходит из первого элемента.
Предпочтительно, канавки выполнены во втором элементе.
Согласно одному аспекту изобретения второй элемент имеет цилиндрическую симметрию.
Канавки выполнены на внешней боковой поверхности второго элемента.
В частности, направляющее устройство дополнительно содержит стопорный элемент, функционально активный на втулке для поддержания ее установленной внутри внутренней полости твердого тела. Второй элемент имеет внутреннюю кольцевую канавку для приема стопорного элемента.
Предпочтительно, стопорный элемент представляет собой кольцо Зегера.
Заявленная техническая задача и указанные цели в значительной степени достигаются с помощью гомогенизирующего клапана, содержащего:
корпус клапана, образующий сквозное отверстие, имеющее осевую протяженность относительно корпуса клапана;
шток, размещенный в указанном сквозном отверстии;
проходную головку, соединенную как одно целое с корпусом клапана;
ударную головку, соединенную как одно целое со штоком;
зазор, образованный проходной головкой и ударной головкой;
направляющее устройство в соответствии с заявленным изобретением, причем указанная ударная головка принята втулкой указанного направляющего устройства.
Предпочтительно, ударная головка выполнена из одного из следующих материалов: карбид вольфрама, керамика, нитрид бора, карбид кремния, нитрид кремния.
Краткое описание чертежей
Дополнительные характеристики и преимущества настоящего изобретения будут более полно раскрыты из неограничивающего описания предпочтительного, но не исключительного варианта осуществления направляющего устройства для направления ударной головки и гомогенизирующего клапана, содержащего указанное направляющее устройство, как проиллюстрировано на прилагаемых чертежах, на которых:
фиг. 1-3 иллюстрируют направляющее устройство для направления ударной головки в соответствии с первым вариантом осуществления изобретения на трех различных покомпонентных видах;
фиг. 4 иллюстрирует гомогенизирующий клапан, содержащий направляющее устройство с фиг. 1-3, на виде в продольном сечении;
фиг. 5 представляет собой увеличенный вид гомогенизирующего клапана с фиг. 4 в области направляющего устройства;
фиг. 6 и 7 иллюстрируют направляющее устройство для направления ударной головки согласно второму варианту осуществления изобретения на двух разных покомпонентных видах;
фиг. 8 иллюстрирует вид в поперечном сечении направляющего устройства согласно второму варианту осуществления, вставленного в гомогенизирующий клапан.
Осуществление изобретения
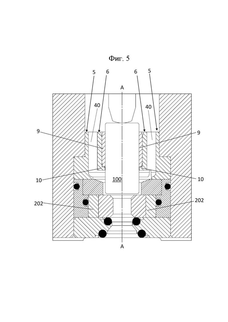
Со ссылкой на чертежи, номер 1 обозначает направляющее устройство для направления ударной головки 100 гомогенизирующего клапана 200.
В этом контексте ударная головка 100 также называется бьющей головкой.
Направляющее устройство 1 содержит твердое тело 2, имеющее цилиндрическую симметрию и имеющее внутреннюю полость 3, проходящую через твердое тело 2.
Внутренняя полость 3 формируется в соответствии с осью A-A симметрии твердого тела 2.
В частности, внутренняя полость 3 соосна с твердым телом 2.
Предпочтительно, твердое тело 2 выполнено из одной детали.
Например, твердое тело 2 выполнено из стали.
В альтернативном варианте твердое тело 2 выполнено из металлического материала.
Направляющее устройство 1 дополнительно содержит втулку 9, установленную внутри внутренней полости 3 твердого тела 2 для приема ударной головки 100.
Втулка 9 выполнена из пластикового материала.
В частности, втулка 9 изготовлена из ПТФЭ.
Твердое тело 2 имеет множество проходов 4, которые выполнены с возможностью прохождения текучей среды.
Согласно первому варианту осуществления изобретения, проиллюстрированному на фиг. 1-3, твердое тело 2 содержит корпус 5 и сердечник 6, расположенный внутри корпуса 5. Корпус 5 и сердечник 6 соединены как одно целое. Предпочтительно, корпус 5 и сердечник 6 соединены множеством соединительных элементов 7.
Внутренняя полость 3 ограничена сердечником 6.
В первом варианте осуществления проходы 4 представляют собой сквозные отверстия 40, выполненные между корпусом 5 и сердечником 6. Сквозные отверстия 40 разделены соединительными элементами 7, которые соединяют корпус 5 с сердечником 6.
Сердечник 6 имеет по существу полую цилиндрическую форму.
В частности, сердечник 6 имеет кольцевой выступ 10 на одном конце, чтобы удерживать втулку 9.
Кольцевой выступ 10 выступает внутрь по направлению к полости сердечника 6. Другими словами, кольцевой выступ 10 выступает по направлению к внутренней полости 3.
Предпочтительно, сквозные отверстия 40 расположены вокруг сердечника 6.
В частности, каждое сквозное отверстие 40 имеет дугообразное углубление.
Например, сквозных отверстий 40 четыре, и они распределены по окружности так, чтобы быть расположенными вокруг сердечника 6.
Предпочтительно, сквозные отверстия 40 имеют одинаковые размеры и форму и расположены на одинаковом расстоянии друг от друга.
В первом варианте осуществления корпус 5 содержит первую часть 15, имеющую первый внешний диаметр, и вторую часть 25, имеющую второй внешний диаметр, который меньше первого внешнего диаметра.
Предпочтительно, первая часть 15 и вторая часть 25 имеют по существу полую цилиндрическую форму.
Вторая часть 25 выполнена как одно целое и соосна с первой частью 15 в соответствии с осью A-A симметрии.
Согласно аспекту изобретения вторая часть 25 происходит из первой части 15.
В частности, твердое тело 2 содержит внешнюю поверхность 8, имеющую кольцевую ступень 8а, которая снаружи соединяет первую часть 15 со второй частью 25.
В частности, кольцевая ступень 8a образована сужением диаметра, проходящего от первой части 15 ко второй части 25.
Согласно второму варианту осуществления изобретения, проиллюстрированному на фиг. 6-7, проходы 4 представляют собой канавки 41, выполненные в твердом теле 2.
В этом контексте канавки 41 представляют собой глухие отверстия.
Во втором варианте осуществления твердое тело 2 содержит первый элемент 21 и второй элемент 22, которые соединены как одно целое и соосны.
Предпочтительно, первый элемент 21 и второй элемент 22 имеют по существу полую цилиндрическую форму.
Они соосны по оси А-А симметрии твердого тела 2.
В частности, второй элемент 22 происходит из первого элемента 21.
Первый элемент 21 имеет внешний диаметр, который больше внешнего диаметра второго элемента 22.
Предпочтительно, первый элемент 21 и второй элемент 22 соединены кольцевой ступенью 28а, которая образована сужением диаметра, проходящего от первого элемента 21 ко второму элементу 22.
Во втором варианте осуществления канавки 41 выполнены во втором элементе 22 твердого тела 2.
В частности, канавки 41 выполнены на внешней боковой поверхности второго элемента 22.
Предпочтительно, канавки 41 расположены на одинаковом расстоянии друг от друга в соответствии с окружностью второго элемента 22.
Например, количество канавок 41 – четыре.
Во втором варианте осуществления твердое тело 2 имеет внутренний кольцевой выступ 10, чтобы удерживать втулку 9 на одном конце.
Кольцевой выступ 10 твердого тела 2 выступает внутрь по направлению к полости 3.
Предпочтительно, направляющее устройство 1 дополнительно содержит стопорный элемент 30, функционально активный на другом конце втулки 9, противоположном концу, близкому к выступу 10.
Стопорный элемент 30 используется для поддержания втулки 9, установленной внутри полости 3 твердого тела 2.
Стопорный элемент 30 вставлен внутрь внутренней кольцевой канавки 23, полученной во втором элементе 22.
Предпочтительно, стопорный элемент 30 представляет собой кольцо Зегера.
Кольцо 30 Зегера представляет собой кольцевой стопорный элемент с вырезом 31, предпочтительно выполненный из эластичного материала. Например, кольцо 30 Зегера выполнено из пластика, в частности ПЭЭК.
Кольцо 30 Зегера может быть легко установлено внутри внутренней кольцевой канавки 23 из-за его упругости и наличия выреза 31. Номер 200 обозначает гомогенизирующий клапан, содержащий корпус 201 клапана, образующий сквозное отверстие, имеющее осевую протяженность относительно корпуса 201 клапана.
Гомогенизирующий клапан 200 содержит шток 203, размещенный в сквозном отверстии, образованном корпусом 201 клапана.
Гомогенизирующий клапан 200 имеет зазор, в котором подлежащая гомогенизации текучая среда ускоряется.
Зазор образован проходной головкой 202, которая соединена как одно целое с корпусом 201 клапана, и ударной головкой 100, которая соединена как одно целое со штоком 203.
Гомогенизирующий клапан 200 имеет впускное отверстие для текучей среды при высоком давлении и выпускное отверстие для гомогенизированной текучей среды при низком давлении.
Гомогенизирующий клапан 200 содержит направляющее устройство 1 в соответствии с предлагаемым изобретением.
В соответствии с одним аспектом изобретения твердое тело 2 направляющего устройства 1 имеет выемку для поддержки корпуса 201 клапана.
В частности, корпус 201 клапана толкает кольцевую ступень 8a, 28a твердого тела 2.
Ударная головка 100 принимается втулкой 9 направляющего устройства 1.
Ударная головка 100 приводится в действие штоком 203, который соединен как одно целое с ударной головкой 100.
В частности, шток 203 расположен в верхней части гомогенизирующего клапана 200.
Под толкающим действием штока 203 ударная головка 100 перемещается вниз, то есть по направлению к зазору, который принимает текучую среду из впускного отверстия и подает ее к выпускному отверстию.
Ударная головка 100, установленная внутри втулки 9, направляется к проходной головке 202.
Направляющее устройство 1 обеспечивает прохождение текучей среды благодаря проходам 4, которые представляют собой сквозные отверстия 40 или канавки 41.
Согласно аспекту изобретения ударная головка 100 изготовлена из одного из следующих материалов: карбид вольфрама, керамика, нитрид бора, карбид кремния, нитрид кремния.
Характеристики направляющего устройства для направления ударной головки и гомогенизирующего клапана, содержащего указанное направляющее устройство, в соответствии с настоящим изобретением, ясно вытекают из приведенного выше описания, как и преимущества.
В частности, направляющее устройство предназначено для направления ударной головки, охватывая ее, тем самым уменьшая допуски и смещения.
Кроме того, ударная головка может приводиться в действие более точным и надежным образом, поскольку направляющее устройство воздействует на ударную головку вблизи рабочей зоны, то есть зазора гомогенизирующего клапана. Размещение направляющего устройства вблизи рабочей зоны возможно благодаря сквозным отверстиям или канавкам, которые обеспечивают возможность прохождения текучей среды.
С заявленным изобретением срок службы ударной головки увеличивается по отношению к известным решениям.
Кроме того, поскольку ударная головка направляется направляющим устройством, она может быть изготовлена из таких материалов, как керамика, нитрид бора, карбид кремния, которые менее являются менее твердыми, чем карбид вольфрама.
| название | год | авторы | номер документа |
|---|---|---|---|
| ГОМОГЕНИЗИРУЮЩИЙ КЛАПАН, В ЧАСТНОСТИ, ДЛЯ ПРИМЕНЕНИЯ С ВОЛОКНИСТЫМИ ТЕКУЧИМИ СРЕДАМИ | 2014 |
|
RU2648482C2 |
| ТАРЕЛЬЧАТЫЙ КЛАПАН С РЕГУЛИРУЕМЫМ ГАСИТЕЛЕМ ПУЛЬСАЦИЙ И УПРУГО ПОДДЕРЖИВАЕМОЙ НАПРАВЛЯЮЩЕЙ | 2014 |
|
RU2700861C2 |
| Направляющий механизм для цилиндра и цилиндр с направляющим механизмом | 2015 |
|
RU2679292C2 |
| НАПРАВЛЯЮЩИЙ ЭЛЕМЕНТ И УСТРОЙСТВО ДЛЯ ВЫПОЛНЕНИЯ ОТВЕРСТИЯ В КОСТИ | 2011 |
|
RU2558451C2 |
| ЧИСТЯЩЕЕ УСТРОЙСТВО | 2022 |
|
RU2831445C2 |
| ГИДРО(ПНЕВМО)УСТРОЙСТВО | 2017 |
|
RU2717469C1 |
| ЦИРКУЛЯЦИОННЫЙ КЛАПАН БУРИЛЬНОЙ КОЛОННЫ | 2018 |
|
RU2682271C1 |
| ЭМУЛЬСИОННЫЙ ПЛУНЖЕРНЫЙ НАСОС И УЗЕЛ ЕГО НАСОСНОЙ ГОЛОВКИ | 2021 |
|
RU2816777C1 |
| ВЫСОКОЧАСТОТНЫЙ БУРИЛЬНЫЙ МОЛОТОК С ГИДРАВЛИЧЕСКИМ ПРИВОДОМ, ПРЕДНАЗНАЧЕННЫЙ ДЛЯ УДАРНОГО БУРЕНИЯ ТВЕРДЫХ ПОРОД | 2012 |
|
RU2607843C2 |
| ОБРАТНЫЙ КЛАПАН | 2016 |
|
RU2641146C2 |
Изобретение относится к направляющему устройству для направления ударной головки и гомогенизирующему клапану, содержащему указанное направляющее устройство. Изобретение применимо в пищевой промышленности, в частности в молочной промышленности, или в химической, фармацевтической или косметической промышленности, а также в производственных областях, где гомогенизация является этапом производственного процесса. Направляющее устройство (1) для направления ударной головки (100) гомогенизирующего клапана, причем указанное направляющее устройство (1) содержит: твердое тело (2), имеющее цилиндрическую симметрию и имеющее внутреннюю полость (3), проходящую через твердое тело (2), причем указанная внутренняя полость (3) формируется в соответствии с осью симметрии твердого тела (2), причем указанное твердое тело (2) имеет множество проходов (4), которые выполнены c возможностью прохождения текучей среды; втулку (9), установленную внутри внутренней полости (3) твердого тела (2) для приема ударной головки (100). Технический результат изобретения – создание направляющего устройства для направления ударной головки, в котором ударная головка может приводиться в действие более точным и надежным образом, избегая или по меньшей мере уменьшая риски механических смещений; увеличение срока службы ударной головки. 2 н. и 7 з.п. ф-лы, 8 ил. 
1. Направляющее устройство (1) для направления ударной головки (100) гомогенизирующего клапана (200), причем указанное направляющее устройство (1) содержит:
- твердое тело (2), имеющее цилиндрическую симметрию и имеющее внутреннюю полость (3), проходящую через твердое тело (2), причем указанная внутренняя полость (3) формируется в соответствии с осью симметрии (A-A) твердого тела (2), причем указанное твердое тело (2) имеет множество проходов (4), которые выполнены c возможностью прохождения текучей среды, и твердое тело (2) содержит корпус (5) и сердечник (6), соединенные как одно целое, причем внутренняя полость (3) ограничена сердечником (6);
- втулку (9), установленную внутри внутренней полости (3) твердого тела (2) для приема ударной головки (100),
отличающееся тем, что проходы из множества проходов (4) представляют собой сквозные отверстия (40), выполненные между корпусом (5) и сердечником (6), причем указанные сквозные отверстия (40) разделены соединительными элементами (7), соединяющими сердечник (6) с корпусом (5).
2. Направляющее устройство (1) по п.1, в котором твердое тело (2) выполнено из одной детали.
3. Направляющее устройство (1) по п.1 или 2, в котором сердечник (6) имеет по существу полую цилиндрическую форму.
4. Направляющее устройство (1) по п.3, в котором сердечник (6) имеет кольцевой выступ (10) на одном конце, чтобы удерживать указанную втулку (9).
5. Направляющее устройство (1) по п.4, в котором кольцевой выступ (10) выступает внутрь по направлению к внутренней полости (3).
6. Направляющее устройство (1) по любому из пп.1-5, в котором указанные сквозные отверстия (40) расположены вокруг сердечника (6).
7. Направляющее устройство (1) по п.6, в котором каждое из указанных сквозных отверстий (40) имеет дугообразное углубление.
8. Гомогенизирующий клапан (200), содержащий:
- корпус (201) клапана, образующий сквозное отверстие, имеющее осевую протяженность относительно корпуса (201) клапана;
- шток (203), размещенный в указанном сквозном отверстии;
- проходную головку (202), соединенную как одно целое с корпусом (201) клапана;
- ударную головку (100), соединенную как одно целое со штоком (203);
- зазор, образованный проходной головкой (202) и ударной головкой (100);
- направляющее устройство (1) по любому из предшествующих пунктов, причем указанная ударная головка (100) принята втулкой (9) указанного направляющего устройства (1).
9. Гомогенизирующий клапан (200) по п.8, в котором указанная ударная головка (100) выполнена из одного из следующих материалов: карбид вольфрама, керамика, нитрид бора, карбид кремния, нитрид кремния.
| Противопригарная краска для литейных форм и стержней | 1976 |
|
SU621444A1 |
| IT PR20090023 A1, 02.10.2010 | |||
| СПОСОБ ГОМОГЕНИЗАЦИИ И ГОМОГЕНИЗИРУЮЩЕЕ УСТРОЙСТВО С ОБРАЩЕНИЕМ ПОТОКА | 2013 |
|
RU2621768C2 |
| ГОМОГЕНИЗИРУЮЩИЙ КЛАПАН | 2011 |
|
RU2575730C2 |
| Смесительная головка высокого давления | 1977 |
|
SU656487A3 |
| Устройство для гомогенизации жидких пищевых продуктов | 1990 |
|
SU1722326A1 |
| Устройство для деформации текстильных паковок в отделочном производстве | 1987 |
|
SU1509453A1 |
Авторы
Даты
2025-02-03—Публикация
2023-08-24—Подача