НАБОРЫ ДЛЯ ГЕНОТИПИРОВАНИЯ Российский патент 2025 года по МПК C12Q1/6806 C12Q1/6874 C12Q1/6876 

Описание патента на изобретение RU2835967C2

ПЕРЕКРЕСТНАЯ ССЫЛКА НА РОДСТВЕННУЮ ЗАЯВКУ

[0001] Эта заявка испрашивает преимущество по предварительной заявке США №62/981,866, поданной 26 февраля 2020 г., содержание которой полностью включено в настоящий документ путем ссылки.

ССЫЛКА НА ПЕРЕЧЕНЬ ПОСЛЕДОВАТЕЛЬНОСТЕЙ

[0002] Перечень последовательностей, поданный через EFS-Web полностью включен в настоящий документ путем ссылки. Имя файла - ILI184BPCT_IP-1897-PCT_Sequence_Listing_ST25.txt, размер файла составляет 788 байт, а дата создания файла - 29 декабря 2020 г.

ПРЕДПОСЫЛКИ СОЗДАНИЯ ИЗОБРЕТЕНИЯ

[0003] Обнаружение специфических нуклеиновых кислот можно использовать для исследования в диагностической медицине и молекулярной биологии. Анализы с использованием генных зондов могут быть полезны, например, в определении инфекционных организмов, таких как бактерии и вирусы; при зондировании экспрессии нормальных и мутантных генов и определении мутантных генов, таких как онкогены; при типировании ткани на совместимость, предшествующем трансплантации ткани; при сопоставлении образцов ткани или крови в судебной медицине; и для изучения гомологии между генами от разных видов.

СУЩНОСТЬ ИЗОБРЕТЕНИЯ

[0004] В настоящем документе описаны генотипирующие олигонуклеотиды, которые включают специфические секции нуклеотидной последовательности, предназначенные для выполнения определенной функции в формировании кластеров, линеаризации, идентификации целевого локуса и/или секвенировании. Генотипирующие олигонуклеотиды позволяют проводить генотипирование на неструктурированных или структурированных проточных кюветах и не вовлекают дополнительных компонентов иммобилизации.

[0005] Первый аспект, описанный в настоящем документе, представляет собой набор, содержащий: проточную кювету, включающую: подложку; и первый и второй захватывающие праймеры, прикрепленные к подложке; и текучую среду зонда генотипирования, включающую: жидкий носитель; и генотипирующий олигонуклеотид в жидком носителе, генотипирующий олигонуклеотид включает: первую последовательность праймера; последовательность зонда, представляющую целевой локус генотипирования; сайт эндонуклеазы рестрикции; и вторую последовательность праймера, которая по меньшей мере частично комплементарна второму захватывающему праймеру.

[0006] Следует понимать, что любые признаки набора, описанного в настоящем документе, можно объединять любым желаемым способом и/или в любой желаемой конфигурации для получения преимуществ, раскрытых в этом описании, в том числе, например, для обеспечения генотипирования в проточной кювете.

[0007] Второй аспект, описанный в настоящем документе, представляет собой способ, включающий: введение текучей среды зонда генотипирования в проточную кювету, включающую первый и второй захватывающие праймеры, текучая среда зонда генотипирования включает множество генотипирующих олигонуклеотидов, причем каждый из генотипирующих олигонуклеотидов включает: первую последовательность праймера; последовательность зонда, представляющую соответствующий целевой локус генотипирования; сайт эндонуклеазы рестрикции; и вторую последовательность праймера, которая по меньшей мере частично комплементарна второму захватывающему праймеру; благодаря этому соответствующий генотипирующий олигонуклеотид реагирует с образованием соответствующих клональных популяций ампликонов из соответствующего генотипирующего олигонуклеотида; линеаризацию ампликонов с получением матриц зонда; секвенирование по меньшей мере одного определяющего зонд отрезка матриц зонда для определения каждой из последовательностей зонда; удаление по меньшей мере соответствующих формирующихся цепей из матриц зонда, благодаря чему на конце матриц зонда становится доступной 3' ОН-группа; гибридизацию соответствующих образцов с матрицами зонда; и выполнение соответствующих реакций генотипирования образцов на доступных 3' ОН-группах.

[0008] Следует понимать, что любые признаки способа можно комбинировать вместе любым желаемым образом. Кроме того, следует понимать, что любую комбинацию признаков способа и/или набора можно использовать вместе и/или в сочетании с любым из примеров, описанных в настоящем документе, для получения преимуществ, раскрытых в этом описании, включая, например, достижение генотипирования в проточной кювете.

КРАТКОЕ ОПИСАНИЕ ЧЕРТЕЖЕЙ

[0009] Признаки согласно примерам настоящего описания станут очевидными после ознакомления с нижеследующим подробным описанием и графическими материалами, на которых одинаковые номера позиций соответствуют подобным, хотя, возможно, неидентичным компонентам. Для краткости изложения номера позиций или признаки, имеющие ранее описанную функцию, могут быть описаны или могут не быть описаны применительно к другим графическим материалам, на которых они встречаются.

[0010] На Фиг. 1А представлено схематическое изображение примера генотипирующего олигонуклеотида, описанного в настоящем документе;

[0011] на Фиг. 1В представлено схематическое изображение другого примера генотипирующего олигонуклеотида, описанного в настоящем документе;

[0012] на Фиг. 2А показан вид сверху примера проточной кюветы;

[0013] на Фиг. 2В показано увеличенное частичное изображение в сечении примера проточного канала проточной кюветы, включая углубления, выполненные вдоль проточного канала;

[0014] на Фиг. 3А-3Н схематически изображен пример способа, описанного в настоящем документе; и

[0015] на Фиг. 4А-4Н схематически изображен другой пример способа, описанного в настоящем документе.

ПОДРОБНОЕ ОПИСАНИЕ ИЗОБРЕТЕНИЯ

[0016] В настоящем документе описаны генотипирующие олигонуклеотиды, которые включают определенные секции нуклеотидной последовательности. Каждая секция нуклеотидной последовательности генотипирующего олигонуклеотида предназначена для выполнения предусмотренной функции в формировании кластеров, линеаризации, идентификации целевого локуса и/или секвенировании.

[0017] Генотипирующие олигонуклеотиды можно использовать в неструктурированной проточной кювете, имеющей на своей поверхности захватывающие праймеры, или в структурированной проточной кювете, включающей углубления, имеющие захватывающие праймеры. В разных областях на поверхности неструктурированной проточной кюветы или в соответствующих углублениях структурированной проточной кюветы из соответствующих генотипирующих олигонуклеотидов можно генерировать моноклональные популяции (кластеры) ампликонов. Ампликоны в конкретной области или углублении могут отличаться от ампликонов в каждой из других областей или углублений, и, таким образом, каждая моноклональная популяция ампликонов может представлять уникальный целевой локус для генотипирования.

[0018] Генотипирующие олигонуклеотиды, описанные в настоящем документе, позволяют выполнять генотипирование на неструктурированных проточных кюветах или структурированных проточных кюветах и не включают дополнительных иммобилизующих компонентов, таких как твердофазные гранулы. Кроме того, генотипирующие олигонуклеотиды, описанные в настоящем документе, могут подходить для применения с любой поверхностью проточной кюветы, в которой используют клонально амплифицированные кластеры.

[0019] В настоящем документе также описаны способы получения целевого локуса генотипирования, который можно использовать с генотипирующими олигонуклеотидами. Эти способы представляют собой способы амплификации, которые позволяют генерировать фрагменты геномной ДНК (гДНК) без необходимости введения сайта расщепления и выполнения фрагментации.

[0020] Определения

[0021] Если не указано иное, следует понимать, что термины, используемые в настоящем документе, принимают свое обычное значение в соответствующей области. Ниже приведен ряд терминов, используемых в настоящем документе, и их значения.

[0022] Используемые в настоящем документе формы единственного числа подразумевают как единственные, так и множественные формы, если из контекста явно не следует иное. Используемый в настоящем документе термин «содержащий» представляет собой синоним терминов «включая», «включающий» или «отличающийся тем, что» и является включающим или не имеющим ограничительного характера, и он не исключает дополнительных неуказанных элементов или стадий способа.

[0023] Указание в настоящем описании на «один пример», «другой пример», «пример» и т.п. означает, что конкретный элемент (например, признак, конструкция, композиция, конфигурация и/или характеристика), описанный в отношении примера, включен в по меньшей мере один пример, описанный в настоящем документе, и может присутствовать или может отсутствовать в других примерах. Кроме того, следует понимать, что описанные элементы любого примера можно комбинировать любым подходящим способом с разными примерами, если из контекста явно не следует иное.

[0024] Термины «по существу» и «около», используемые по всему тексту данного описания, включая формулу изобретения, используют для описания и учета небольших колебаний, например из-за вариаций при обработке. Например, эти термины могут относиться к равным ±10% или менее от указанного значения, например равным ±5% или менее от указанного значения, например равным ±2% или менее от указанного значения, например равным ±1% или менее от указанного значения, например равным ±0,5% или менее от указанного значения, например равным ±0,2% или менее от указанного значения, например равным ±0,1% или менее, например равным ±0,05% или менее от указанного значения.

[0025] Кроме того, следует понимать, что диапазоны, приведенные в настоящем документе, включают указанный диапазон и любое значение или поддиапазон в пределах указанного диапазона, как если бы эти диапазоны были указаны явным образом. Например, диапазон, представленный границами от около 2 мм до около 300 мм, следует интерпретировать как включающий не только явно перечисленные пределы от около 2 мм до около 300 мм, но также включающий индивидуальные значения, такие как около 15 мм, 22,5 мм, 245 мм и т.д., и поддиапазоны, такие как от около 20 мм до около 225 мм и т.д.

[0026] Прикрепленный. Состояние двух компонентов, присоединенных, скрепленных, склеенных, соединенных или связанных друг с другом непосредственно или опосредованно. Например, нуклеиновая кислота может быть присоединена к функционализированному полимеру посредством ковалентной или нековалентной связи. Ковалентная связь отличается наличием пар электронов между атомами. Нековалентная связь представляет собой химическую связь, которая не включает совместное использование пар электронов, но может включать, например, водородные связи, ионные связи, вандерваальсовы силы, гидрофильные взаимодействия или гидрофобные взаимодействия. Когда два компонента прикреплены напрямую, промежуточный компонент отсутствует. Например, в некоторых примерах генотипирующего олигонуклеотида первый захватывающий праймер и последовательность зонда непосредственно ковалентно связаны друг с другом. Когда два компонента присоединены опосредованно, имеется некоторый промежуточный компонент. Например, первый захватывающий праймер и последовательность зонда в некоторых примерах генотипирующего олигонуклеотида опосредованно связаны друг с другом посредством участка индексной последовательности и участка сайта праймирования.

[0027] Нанесение. Любая соответствующая методика нанесения, которая может быть ручной или автоматизированной и в некоторых случаях приводит к модификации свойств поверхности. В общем нанесение можно выполнять с использованием методик осаждения из паровой фазы, методик нанесения покрытий, методик прививки к поверхности или т.п. Некоторые конкретные примеры включают химическое осаждение из паровой фазы (CVD), нанесение покрытия распылением (например, нанесение ультразвуковым распылением), нанесение покрытия центрифугированием, окунания или нанесения погружением, нанесение покрытия ножевым устройством, нанесение наливом, проточное нанесение покрытия, аэрозольную печать, трафаретную печать, микроконтактную печать, струйную печать или т.п.

[0028] Углубление. Дискретный вогнутый элемент на подложке или профилированной смоле, имеющий входное отверстие на поверхности, которое по меньшей мере частично окружено промежуточной (-ыми) областью (-ями) подложки или профилированной смолы. Углубления могут иметь любую из множества различных форм входного отверстия на поверхности, включая, например, круглую, эллиптическую, квадратную, многоугольную, звездообразную форму (с любым числом вершин) и т.д. Поперечное сечение углубления в перпендикулярной поверхности плоскости может быть криволинейным, квадратным, многоугольным, гиперболическим, коническим, угловым и т.д. В качестве примеров углубление может представлять собой лунку или две соединенные друг с другом лунки. Углубление может также иметь и более сложную архитектуру, включая ребра, ступенчатые элементы и т.д.

[0029] Каждый. Используемый в настоящем документе термин «каждый» применительно к совокупности элементов предназначен для обозначения отдельного элемента в данной совокупности, но не обязательно относится к каждому элементу в данной совокупности. Исключения могут возникать, если явное описание или контекст однозначно определяет иное.

[0030] Проточная кювета. Сосуд, имеющий камеру (например, проточный канал), в котором может происходить реакция, входное отверстие для подачи реагента (-ов) в камеру и выходное отверстие для удаления реагента (-ов) из камеры. В некоторых примерах камера позволяет вести обнаружение реакции, которая протекает в камере. Например, камера может включать одну или более прозрачных поверхностей, позволяющих вести оптическую детекцию массивов, оптически меченых молекул или т.п.

[0031] Геномная ДНК (гДНК). Одна или более хромосомных полимерных дезоксирибонуклеотидных молекул природного происхождения в ядре эукариотической клетки или в прокариоте, вирусе, митохондрии или хлоропласте и содержащих последовательности, которые естественным образом транскрибируются в РНК, а также последовательности, которые естественным образом не транскрибируются клеткой в РНК. гДНК эукариотической клетки содержит по меньшей мере одну центромеру, две теломеры, одну точку начала репликации и одну последовательность, которая не транскрибируется в РНК эукариотической клеткой, включая, например, интрон или промотор транскрипции. гДНК прокариотической клетки содержит по меньшей мере одну точку начала репликации и одну последовательность, которая не транскрибируется в РНК прокариотической клеткой, включая, например, промотор транскрипции. Эукариотическую геномную ДНК можно отличать от прокариотической, вирусной или органеллярной геномной ДНК, например, по наличию интронов в эукариотической геномной ДНК и отсутствию интронов в гДНК других организмов.

[0032] Генотипирующий олигонуклеотид. Одноцепочечная последовательность дезоксирибонуклеиновой кислоты, которая включает определенные секции нуклеотидной последовательности, одна из которых представляет собой последовательность зонда, представляющую целевой локус для генотипирования. Генотипирующий олигонуклеотид может выступать в качестве матрицы для генерации кластеров.

[0033] Участок индексном последовательности. Короткая цепь в диапазоне от 10 до 30 нуклеотидных оснований, которая определяет последовательность зонда в некоторых примерах генотипирующего олигонуклеотида.

[0034] Локус или локусы. Специфическое для последовательности местоположение в образце нуклеиновой кислоты. Термин может включать предварительно заданные или предполагаемые нуклеотидные последовательности, присутствие которых ожидается в молекулах выделенных нуклеиновых кислот. Эти предварительно заданные или предполагаемые нуклеотидные последовательности в настоящем документе могут называться «целевым локусом генотипирования», и они могут быть областью (-ями), представляющей (-ими) интерес для анализа. Термин предназначен для включения однонуклеотидных полиморфизмов (SNP), мутаций, вариабельного числа тандемных повторов (VNTR) и одиночных тандемных повторов (SNR), других полиморфизмов, инсерций, делеций, вариантов сплайсинга или любых других известных генетических маркеров.

[0035] Нуклеиновая кислота. Олигомерная или полимерная форма нуклеотидов любой длины и может включать дезоксирибонуклеотиды, их аналоги или их смеси. Термин может относиться к одноцепочечным или двухцепочечным олигонуклеотидам или полинуклеотидам.

[0036] Нуклеотид. Азотсодержащее гетероциклическое основание (нуклеотидное основание), сахар и одна или более фосфатных групп. Нуклеотиды представляют собой мономерные звенья нуклеотидной последовательности. В рибонуклеотидах (РНК) сахар представляет собой рибозу, а в дезоксирибонуклеотидах (ДНК) сахар представляет собой дезоксирибозу, т.е. сахар, в котором отсутствует гидроксильная группа, которая присутствует в положении 2' в рибозе. Азотсодержащее гетероциклическое основание (т.е. нуклеотидное основание) может представлять собой пуриновое основание или пиримидиновое основание. Пуриновые основания включают аденин (А) и гуанин (G), а также их модифицированные производные или аналоги. К пиримидиновым основаниям относятся цитозин (С), тимин (Т) и урацил (U), а также их модифицированные производные или аналоги. Атом С-1 дезоксирибозы связан с N-1 пиримидина или N-9 пурина. Нуклеотиды природного происхождения обычно имеют каркас, содержащий фосфодиэфирные связи. Аналог нуклеиновой кислоты может иметь любые измененные фосфатный остов, сахар или азотистое основание. Примеры аналогов нуклеиновых кислот включают, например, универсальные основания или аналоги фосфатно-сахарного остова, такие как пептидная нуклеиновая кислота (PNA).

[0037] Секция нуклеотидной последовательности. Участок генотипирующего олигонуклеотида. Каждый участок генотипирующего олигонуклеотида может быть сконструирован таким образом, чтобы он участвовал в конкретном(-ых) процессе(-ах) в способе(-ах), описанном(-ых) в настоящем документе.

[0038] Праймер. Одноцепочечная последовательность дезоксирибонуклеиновой кислоты, которая может гибридизироваться со специфической последовательностью. Одним примером праймера является «захватывающий праймер». Захватывающий праймер может присутствовать в углублениях проточной кюветы и может гибридизироваться с последовательностью праймера генотипирующего олигонуклеотида или его ампликона. Захватывающий праймер может служить отправной точкой для амплификации кластера и генерации кластера. Другим примером праймера является «праймер для секвенирования». Праймер для секвенирования может гибридизироваться с участком одноцепочечной матрицы зонда, чтобы запускать синтез по меньшей мере участка одноцепочечной матрицы зонда. В реакции амплификации случайно выбранного праймера для генерирования фрагментов гДНК, таких как целевой локус генотипирования, можно использовать другие праймеры, такие как случайно выбранные праймеры. Любой праймер может включать любую комбинацию нуклеотидов или их аналогов. Длина праймера может иметь любое число оснований и может включать различные неприродные нуклеотиды. В примере захватывающий праймер или праймер для секвенирования представляет собой короткую цепь в диапазоне от 10 до 60 нуклеотидных оснований или от 20 до 40 нуклеотидных оснований.

[0039] Участок последовательности праймирования. Сайт праймирования для секвенирования участка индексной последовательности, оба из которых включены в некоторые примеры генотипирующего олигонуклеотида.

[0040] Последовательность зонда. Специфический отрезок генотипирующего олигонуклеотида, который включает нуклеотидную последовательность, которая представляет целевой локус для генотипирования. Последовательность зонда или ее ампликон включает от 25 до 50 нуклеотидных оснований, имеющих специфический порядок, который комплементарен последовательности целевого локуса и, таким образом, может гибридизироваться с ней.

[0041] Одноцепочечная матрицы зонда. Одноцепочечная последовательность дезоксирибонуклеиновой кислоты, которая генерируется во время кластеризации. Генотипирующий олигонуклеотид служит матрицей для генерации кластеров, и, таким образом, одноцепочечные матрицы зонда представляют собой ампликоны или участки ампликонов генотипирующего олигонуклеотида.

[0042] Генотипирующие олигонуклеотиды

[0043] На Фиг. 1А и Фиг. 1В схематически изображены два разных примера генотипирующих олигонуклеотидов 10, 10'. Каждый из генотипирующих олигонуклеотидов 10, 10' включает специфические секции нуклеотидной последовательности, которые включают первую последовательность 12 праймера, последовательность 14 зонда, сайт 16 или 16' эндонуклеазы рестрикции и вторую последовательность 18 или 18' праймера.

[0044] Пример генотипирующего олигонуклеотида 10, показанный на Фиг. 1А, включает первую последовательность 12 праймера, непосредственно и ковале нтно прикрепленную к последовательности 14 зонда, которая непосредственно и ковалентно прикреплена к сайту 16 эндонуклеазы рестрикции, который непосредственно и ковалентно прикреплен ко второй последовательности 18 праймера. Пример способа, включающего эти генотипирующие олигонуклеотиды 10, показан и описан со ссылкой на Фиг. 3А-3Н.

[0045] Первая последовательность 12 праймера генотипирующего олигонуклеотида 10 может иметь одну и ту же полярность и одну и ту же последовательность, что и первый захватывающий праймер 22 (см. Фиг. 2В), который присутствует на поверхности проточной кюветы 20 (см. Фиг. 2А и Фиг. 2В). Таким образом, количество, порядок и тип нуклеотидных оснований в по меньшей мере участке первой последовательности 12 праймера зависит от количества, порядка и типа нуклеотидных оснований в первом захватывающем праймере 22. Во время кластеризации сгенерированы ампликоны генотипирующих олигонуклеотидов 10, которые включают последовательность, комплементарную первой последовательности 12 праймера (например, Р5'). Этот комплементарный участок (показан на Фиг. 3В как С12) может гибридизироваться с первым захватывающим праймером 22.

[0046] В примере первый захватывающий праймер 22 имеет универсальную последовательность для целей захвата и/или амплификации. Пример первого захватывающего праймера 22 включает праймеры Р5, примеры которых используют на поверхности коммерческих проточных кювет, продаваемых компанией Illumina Inc., для секвенирования, например, на HISEQ™, HISEQX™, MISEQ™ MISEQDX™ MINISEQ™ NEXTSEQ™ NEXTSEQDX™ NOVASEQ™ ISEQ™, GENOME ANALYZER™ и других приборных платформах. В другом примере первый захватывающий праймер 22 включает следующее:

[0047] Первая последовательность 12 праймера может иметь одну и ту же последовательность, что и первый захватывающий праймер 22. Хотя представлен пример, следует понимать, что для первой последовательности 12 праймера и первого захватывающего праймера 22 можно использовать другие последовательности. Первая последовательность 12 праймера может также быть по меньшей мере частично такой же, как и первый захватывающий праймер 22. Выражение «по меньшей мере частично такой же» означает, что в первой последовательности 12 праймера и в первом захватывающем праймере 22 достаточное количество нуклеотидных оснований является одинаковым, так что между двумя 12, 22 может происходить гибридизация. Первая последовательность 12 праймера генотипирующего олигонуклеотида 10 непосредственно прикреплена к последовательности 14 зонда. Последовательность 14 зонда представляет собой целевой локус генотипирования. Таким образом, во время генотипирования последовательность 14 зонда способна гибридизироваться с последовательностью целевого локуса.

[0048] Сайт 16 эндонуклеазы рестрикции генотипирующего олигонуклеотида 10 непосредственно прикреплен к последовательности 14 зонда. Данный сайт 16 эндонуклеазы рестрикции обеспечивает генотипирующий олигонуклеотид 10 сайтом расщепления. В примере сайт 16 эндонуклеазы рестрикции чувствителен к ферменту рестрикции, выбранному из группы, состоящей из эндонуклеазы рестрикции по 4 основаниям, эндонуклеазы рестрикции по 5 основаниям, эндонуклеазы рестрикции по 6 основаниям. Некоторые примеры эндонуклеазы рестрикции по 4 основаниям включают DpnII, FatI, MluCI, BfuCI, MboI, Sau3AI, BfaI, BstUI, PmII, Kasl и другие, которые доступны в продаже, например, от компании New England BioLabs Inc., ThermoFisher Scientific, и т.д. Некоторые примеры эндонуклеазы рестрикции по 5 основаниям включают BssKI, StyD41, MaeIII, PspGI, Ddel, Fmul, PspGI, Tfil и другие, которые доступны в продаже, например, от компании New England BioLabs Inc., ThermoFisher Scientific, и т.д. Некоторые примеры эндонуклеазы рестрикции по 6 основаниям включают AcII, Afel, Nspl, HaeII, Tatl и другие, которые доступны в продаже, например, от компании New England BioLabs Inc., ThermoFisher Scientific, и т.д. Сайт 16 эндонуклеазы рестрикции размещен таким образом, что после расщепления/переваривания ферментом рестрикции последнее основание последовательности 14 зонда является последним 3' ОН, который доступен для реакции секвенирования/генотипирования.

[0049] Вторая последовательность 18 праймера генотипирующего олигонуклеотида 10 по меньшей мере частично комплементарна второму захватывающему праймеру 24 (см. Фиг. 2В), который присутствует на поверхности проточной кюветы 20. Выражение «по меньшей мере частично комплементарен» означает, что во второй последовательности 18 праймера и во втором захватывающем праймере 24 достаточное количество нуклеотидных оснований является комплементарным, так что между двумя 18, 24 может происходить гибридизация. Таким образом, количество, порядок и тип нуклеотидных оснований во второй последовательности 18 праймера зависит от количества, порядка и типа нуклеотидных оснований во втором захватывающем праймере 24.

[0050] В примере второй захватывающий праймер 24 имеет универсальную последовательность для целей захвата и/или амплификации. Пример второго захватывающего праймера 24 включает праймеры Р7, примеры которых использованы на поверхности коммерческих проточных кювет, продаваемых компанией Illumina Inc., для секвенирования, например на HISEQ™, HISEQX™, MISEQ™, MISEQDX™, MFNISEQ™, NEXTSEQ™, NEXTSEQDX™, NOVASEQ™, ISEQ™, GENOME ANALYZER™ и других приборных платформах. В другом примере второй захватывающий праймер 24 включает следующее:

Вторая последовательность 18 праймера по меньшей мере частично комплементарна последовательности второго захватывающего праймера 24. В этом примере вторая последовательность 18 праймера может включать следующее:

Хотя был представлен пример, следует понимать, что для второй последовательности 18 праймера и второго захватывающего праймера 24 можно использовать другие последовательности.

[0051] Второй захватывающий праймер 24 на проточной кювете 20 также включает сайт расщепления (см. номер позиции 46 на Фиг. 3А). Сайт расщепления можно использовать для линеаризации мостиковых матриц зонда после формирования кластера (более подробно описан со ссылкой на Фиг. 3Е). Химический состав сайта расщепления второго захватывающего праймера 24 может отличаться от химического состава сайта 16 эндонуклеазы рестрикции нуклеотида 10 генотипирования, так что не происходит преждевременного расщепления сайта 16 эндонуклеазы рестрикции. Сайт расщепления и сайт 16 эндонуклеазы рестрикции имеют отдельные и специфические реакции расщепления. Эти реакции можно считать ортогональными в том смысле, что одна реакция не инициирует другую реакцию, не влияет на нее или иным образом не мешает ей. Примеры подходящих сайтов расщепления для второго захватывающего праймера 24 включают ферментативно расщепляемые нуклеотидные основания или химически расщепляемые нуклеотидные основания, модифицированные нуклеотидные основания или линкеры (например, прикрепленные между нуклеотидными основаниями). Ферментативно расщепляемое нуклеотидное основание может быть восприимчивым к расщеплению посредством реакции с гликозилазой и эндонуклеазой или с экзонуклеазой. Одним специфическим примером расщепляемого нуклеотидного основания является дезоксиурацил (dU), на который может быть нацелен фермент специфического для урацила вырезающего реагента (USER). В примере урацильное основание может быть встроено в положении 7-го основания от 3'-конца второго захватывающего праймера 24. Можно также применять другие сайты без оснований. Примеры химически расщепляемых нуклеотидных оснований, модифицированных нуклеотидных оснований или линкеров включают 8-оксогуанин, вицинальный диол, дисульфид, силан, азобензол, фоторасщепляемую группу, аллил-Т (нуклеотидный аналог тимина, имеющий аллильную функциональную группу), аллиловые эфиры или эфир с азидной функциональной группой.

[0052] На Фиг. 1В схематически изображен другой пример генотипирующего олигонуклеотида 10'. Пример генотипирующего олигонуклеотида 10', показанного на Фиг. 1В, включает больше секций нуклеотидных последовательностей, чем генотипирующий олигонуклеотид 10, показанный наФиг. 1А. В частности, генотипирующий олигонуклеотид 10' дополнительно содержит участок 26 индексной последовательности и участок 28 сайта праймирования. В этом примере генотипирующий олигонуклеотид 10' включает первую последовательность 12 праймера, непосредственно и ковалентно прикрепленную к участку 26 индексной последовательности, который непосредственно и ковалентно прикреплен к участку 28 сайта праймирования, который непосредственно и ковалентно прикреплен к последовательности 14 зонда, которая прикреплена ко второй последовательности 18' праймера. В этом примере сайт 16' эндонуклеазы рестрикции может быть расположен между последовательностью 14 зонда и второй последовательностью 18' праймера или может быть встроен во вторую последовательность 18' праймера. Пример способа, включающего данные генотипирующие олигонуклеотиды 10', показан и описан со ссылкой на Фиг. 4А-4Н.

[0053] Первая последовательность 12 праймера генотипирующего олигонуклеотида 10' может представлять собой любой пример, описанный в настоящем документе для генотипирующего олигонуклеотида 10.

[0054] Первая последовательность 12 праймера генотипирующего олигонуклеотида 10' непосредственно прикреплена к участку 26 индексной последовательности. Участок 26 индексной последовательности уникален для последовательности 14 зонда в генотипирующем олигонуклеотиде 10'. Таким образом, участок 26 индексной последовательности обеспечивает идентификатор или отдельный штрихкод, который можно использовать для определения последовательности целевого локуса, представленной последовательностью 14 зонда.

[0055] Участок 26 индексной последовательности непосредственно прикреплен к участку 28 сайта праймирования. Участок 28 сайта праймирования может гибридизироваться с праймером для секвенирования, который инициирует введение нуклеотидов вдоль участка 26 индексной последовательности зависимым от матрицы образом, по одному нуклеотидному основанию за раз.

[0056] Участок 28 сайта праймирования генотипирующего олигонуклеотида 10' непосредственно прикреплен к последовательности 14 зонда. Как описано в настоящем документе, во время генотипирования последовательность 14 зонда способна гибридизироваться с последовательностью целевого локуса.

[0057] В генотипирующем олигонуклеотиде 10' последовательность 14 зонда прикреплена ко второй последовательности 18' праймера. В некоторых примерах последовательность 14 зонда опосредованно прикреплена ко второй последовательности 18' праймера, а сайт 16' эндонуклеазы рестрикции расположен между двумя отрезками 14, 18'. В других примерах последовательность 14 зонда непосредственно прикреплена ко второй последовательности 18 праймера, а сайт 16' эндонуклеазы рестрикции встроен во вторую последовательность 18' праймера. В любом из этих примеров сайт 16' эндонуклеазы рестрикции может быть чувствительным к ферменту рестрикции типа IIS. Фермент рестрикции типа IIS может быть чувствительным к метилу или может не быть чувствительным к метилу. Ферменты рестрикции типа IIS представляют собой специфическую группу ферментов, которые распознают асимметричные последовательности ДНК (например, сайт 16' эндонуклеазы рестрикции) и вызывают расщепление на определенном расстоянии (например, от 1 нуклеотида до около 20 нуклеотидов) за пределами последовательности распознавания. Некоторые примеры ферментов рестрикции типа IIS, которые не являются метильными, выбраны из группы, состоящей из BvI (BseXI), BmrI, Bvel (BspMI) и т.д. Некоторые ферменты рестрикции типа IIS, которые являются чувствительными к метилу, выбраны из группы, состоящей из SfaNI, FoKI, HGAI и т.д. Хотя приведены некоторые примеры, можно использовать любой подходящий фермент рестрикции типа IIS в зависимости от последовательности распознавания сайта 16' эндонуклеазы рестрикции. Чувствительные к метилу и нечувствительные к метилу ферменты доступны в продаже, например, от компании New England BioLabs Inc., ThermoFisher Scientific, и т.п.

[0058] Когда сайт 16' эндонуклеазы рестрикции прикреплен на конце второй последовательности 18' праймера, можно использовать любой пример второй последовательности 18 праймера. Когда сайт 16' эндонуклеазы рестрикции интегрирован во вторую последовательность 18' праймера, сайт 16' эндонуклеазы рестрикции можно вводить в любом желаемом положении вдоль длины второй последовательности 18' праймера. Положение может зависеть от положения второго сайта эндонуклеазы рестрикции вдоль второго захватывающего праймера 24', заданного расстояния расщепления фермента рестрикции типа IIS, который будут использовать, а также от положения, в котором требуется расщепление вдоль генотипирующего олигонуклеотида 10' (или его ампликона). Это расщепление происходит до реакции генотипирования (во время линеаризации, как дополнительно описано в настоящем документе) и вызывает готовность генотипирующего олигонуклеотида 10' или его ампликона к анализу целевого локуса генотипирования в представляющим интерес нуклеотидном основании. Например, во время реакции генотипирования образец одноцепочечный ДНК, например целевой локус генотипирования, гибридизируется, например, с ампликоном, и для идентификации представляющего интерес нуклеотидного основания выполняют реакцию однократного секвенирования путем синтеза. Для выполнения этого анализа ампликон должен быть расщеплен в определенном положении, в котором следующее подлежащее секвенированию нуклеотидное основание комплементарно представляющему интерес нуклеотидному основанию. По существу сайт 16' эндонуклеазы рестрикции расположен таким образом, что после расщепления/переваривания ферментом рестрикции последним основанием последовательности 14 зонда является конечная 3' ОН, которая доступна для реакции секвенирования/генотипирования. В одном примере сайт 16' эндонуклеазы рестрикции может быть интегрирован в любом месте от положения 7-го основания до положения 15-го основания от 3'-конца второй последовательности 18' праймера.

[0059] В случае генотипирующего олигонуклеотида 10' вторая последовательность 18' праймера комплементарна второму захватывающему праймеру 24 (см. Фиг. 2В), который присутствует на поверхности проточной кюветы 20. По сути генотипирующий олигонуклеотид 10' может гибридизироваться со вторым захватывающим праймером 24' на проточной кювете 20.

[0060] Второй захватывающий праймер 24' может также включать второй сайт эндонуклеазы рестрикции (см. ссылку на цифровое обозначение 46' на Фиг. 4А), причем второй сайт эндонуклеазы рестрикции комплементарен сайту 16' эндонуклеазы рестрикции генотипирующего олигонуклеотида 10'. Асимметричные последовательности могут быть чувствительны к эндонуклеазам рестрикции типа IIS. Во время линеаризации выполняют расщепление в пределах некоторого заданного расстояния от гибридизированных сайтов 16', 46' эндонуклеазы рестрикции (как упомянуто выше и дополнительно описано со ссылкой на Фиг. 4F). Таким образом удаляют цепи, которые не подлежат генотипированию. Положение второго сайта 46' эндонуклеазы рестрикции может находиться в конце второго захватывающего праймера 24' или быть интегрировано в него при условии, что два сайта 16', 46' эндонуклеазы рестрикции могут гибридизироваться и образовывать сайт распознавания эндонуклеазы рестрикции типа IIS.

[0061] Любой пример генотипирующего олигонуклеотида 10, 10' можно получать с использованием процессов синтеза олигонуклеотидов.

[0062] Проточные кюветы

[0063] Генотипирующие олигонуклеотиды 10, 10' можно использовать с любой структурированной проточной кюветой 20. Хотя это не показано, следует понимать, что в примерах, описанных в настоящем документе, в альтернативном варианте осуществления можно использовать другие неструктурированные проточные кюветы (например, которые не содержат в себе углублений), в которых используют химию кластеризации, описанную в настоящем документе. При использовании неструктурированных проточных кювет кластеры можно определять с помощью программного обеспечения.

[0064] Пример структурированной проточной кюветы 20 показан на Фиг. 2А, а пример структурированного строения внутри проточной кюветы 20 показан на Фиг. 2В. Проточная кювета 20 включает подложку 30, которая по меньшей мере частично образует дорожку или проточный канал 32.

[0065] Подложка 30 может представлять собой один слой/материал. Примеры подходящих однослойных подложек включают эпоксидный силоксан, стекло, модифицированное или функционализированное стекло, пластмассы (включая акрилы, полистирол и сополимеры стирола и других материалов, полипропилен, полиэтилен, полибутилен, полиуретаны, политетрафторэтилен (например, TEFLON® от Chemours), циклические олефины / циклоолефиновые полимеры (СОР) (такие как ZEONOR® от Zeon), полиимиды и т.д.), нейлон (полиамиды), керамика/керамические оксиды, диоксид кремния, плавленый диоксид кремния или материалы на основе диоксида кремния, силикат алюминия, кремний и модифицированный кремний (например, кремний р +, легированный бором), нитрид кремния (Si3N4), оксид кремния (SiO2), пятиокись тантала (Ta2O5) или другие оксиды тантала (ТаОх), оксид гафния (HfO2), углерод, металлы, неорганические стекла или т.п.

[0066] Если подложка 30 представляет собой один слой, в одном слое образованы углубления 38 (см. Фиг. 2В).

[0067] Как показано на Фиг. 2В, подложка 30 может также представлять собой многослойную подложку 30'. Некоторые примеры многослойной подложки 30' включают стекло или кремний со слоем покрытия из оксида тантала или другой оксидной керамики на поверхности. Другие примеры многослойной подложки 30' могут включать подложку типа «кремний на изоляторе» (SOI). В примере, показанном на Фиг. 2В, многослойная подложка 30' включает нижележащую подложку 34 (например, стекло или кремний) и структурированный материал 36, расположенный на подложке 34.

[0068] Структурированный материал 36 очерчивает углубления 38, которые разделены промежуточными областями 40. Углубления 38 расположены в пределах каждого из проточных каналов 32.

[0069] Следует понимать, что для структурированного материала 36 можно использовать любой материал, который можно избирательно наносить или наносить и структурировать с образованием углублений 38 и промежуточных областей 40.

[0070] В качестве одного примера неорганический оксид можно избирательно наносить на подложку 34 посредством осаждения из паровой фазы, аэрозольной печати или струйной печати. Примеры подходящих неорганических оксидов включают оксид тантала (например, Ta2O5), оксид алюминия (например, Al2O3), оксид кремния (например, SiO2), оксид гафния (например, HfO2) и т.д.

[0071] В качестве другого примера на подложку 34 можно наносить смолу, а затем наносить рисунок. К подходящим методикам нанесения относятся химическое осаждение из паровой фазы, нанесение погружением, нанесение покрытия обмакиванием, нанесение покрытия центрифугированием, нанесение покрытия распылением, нанесение наливом, нанесение покрытия ультразвуковым распылением, нанесение с использованием ракельного ножа, аэрозольная печать, трафаретная печать, микроконтактная печать и т.д. Подходящие технологии структурирования включают фотолитографию, наноимпринтную литографию (NIL), методики штамповки, методики тиснения, методики литья, методики микротравления, методики печати и т.п. Некоторые примеры подходящих смол включают полиэдрическую олигомерную смолу на основе силсесквиоксана (например, POSS® производства Hybrid Plastics), неполиэдрическую олигомерную силсесквиоксановую эпоксидную смолу, поли(этиленгликолевую) смолу, полиэфирную смолу (например, эпоксидные смолы с раскрытием кольца), акриловую смолу, акрилатную смолу, метакрилатную смолу, аморфную фторполимерную смолу (например, CYTOP® производства Bellex) и их комбинации.

[0072] Используемый в настоящем документе термин «многогранный олигомерный силсесквиоксана относится к химической композиции, которая представляет собой гибридное промежуточное соединение (например, RSiO1,5) между кремнеземом (SiO2) и силиконом (R2SiO). Пример многогранного олигомерного силсесквиоксана описан в публикации Kehagias et al., Microelectronics Engineering 86 (2009), pp. 776-778, которая полностью включена в настоящий документ путем ссылки. В примере композиция представляет собой кремнийорганическое соединение с химической формулой [RSiO3/2]n, в которой группы R могут быть одинаковыми или разными. Примеры групп R для многогранного олигомерного силсесквиоксана включают эпокси-, азид/азидо-, тиол, поли(этиленгликоль), норборнен, тетразин, акрилаты и/или метакрилаты или дополнительно, например, алкильную, арильную, алкоксильную и/или галогеналкильную группу. Композиция смолы, описанная в настоящем документе, может содержать одну или более других каркасных или сердцевинных структур по сравнению с мономерными звеньями.

[0073] В примере подложка 30, 30' может быть произведена с использованием круглой пластины, имеющей диаметр в диапазоне от около 2 мм до около 300 мм, или из прямоугольного листа или панели, наибольший размер которой составляет до около 10 футов (- 3 метров). В примере подложку 30, 30' производят с использованием круглой пластины с диаметром в диапазоне от около 200 мм до около 300 мм. В другом примере можно использовать панель, которая представляет собой прямоугольную подложку с большей площадью поверхности, чем круглая пластина 300 мм. Пластины, панели и другие материалы крупной подложки можно разделять на отдельные подложки 30, 30' проточной кюветы. В другом примере подложка 30, 30' представляет собой кристалл, имеющий ширину в диапазоне от около 0,1 мм до около 10 мм. Хотя приведены примеры размеров, следует понимать, что для изготовления подложки 30, 30' можно использовать любые приемлемые размеры.

[0074] Проточная кювета 20 также включает проточные каналы 32. Хотя на Фиг. 2А показано несколько проточных каналов 32, следует понимать, что в проточную кювету 20 можно включать любое количество каналов 32 (например, один канал 32, четыре канала 32 и т.д.). Каждый проточный канал 32 представляет собой область, образованную между двумя соединенными компонентами (например, подложкой 30, 30' и крышкой или двумя подложками 30, 30'), которые могут содержать текучие среды, вводимые в них и удаляемые из них. Каждый проточный канал 32 может быть изолирован от каждого другого проточного канала 32 таким образом, что текучая среда, введенная в любой конкретный проточный канал 32, не протекает в какой-либо смежный проточный канал 32. Некоторые примеры текучих сред, введенных в проточные каналы 32, могут включать реакционные компоненты (например, фрагменты из библиотеки целевых локусов генотипирования полимеразы, полимеразы и т.п.), промывочные растворы и т.п.

[0075] Как указано выше, проточный канал 32 образован между подложкой 30, 30' и крышкой (не показана), или между подложкой 30, 30' и другой подложкой (не показана, но аналогична подложке 30, 30').

[0076] В примере крышка или дополнительная подложка может быть связана с по меньшей мере частью подложки 30, 30', например в некоторых промежуточных областях 40. Связь, которая образована между крышкой или дополнительной подложкой и подложкой 30, 30', может представлять собой химическую связь или механическую связь (например, с применением крепежного элемента и т.д.).

[0077] Крышка может быть из любого материала, который является прозрачным для возбуждающего света, который направлен в сторону подложки 30, 30'. В качестве примеров крышка может представлять собой стекло (например, боросиликатное стекло, плавленый кварц и т.п.), пластик или т.п. Доступным в продаже примером подходящего боросиликатного стекла является D 263® от компании Schott North America, Inc. Доступные в продаже примеры подходящих пластиковых материалов, а именно циклоолефиновых полимеров, представляют собой продукты ZEONOR® производства Zeon Chemicals L.P.

[0078] Крышка или дополнительная подложка может быть соединена с подложкой 30, 30' с помощью любого подходящего метода, такого как лазерная пайка, диффузионная пайка, анодная пайка, пайка эвтектическим сплавом, пайка плазменным активированием, пайка стеклокристаллическим припоем, или другими способами, известными в данной области. В примере для соединения крышки или дополнительной подложки с подложкой 30, 30' можно использовать разделительный слой. Разделительный слой может быть любым материалом, который будет герметично соединять по меньшей мере участок подложки 30, 30' и крышку или дополнительную подложку. В некоторых примерах разделительный слой может представлять собой поглощающий излучение материал, способствующий соединению.

[0079] В примере проточный канал 32 имеет прямоугольную конфигурацию. Длина и ширина проточного канала 32 могут быть меньше соответственно длины и ширины подложки 30, 30', так что участок поверхности подложки, окружающей проточный канал 32, доступен для прикрепления к крышке (не показана) или другому подложке 30, 30'. В некоторых случаях ширина каждого проточного канала 32 может составлять по меньшей мере около 1 мм, по меньшей мере около 2,5 мм, по меньшей мере около 5 мм, по меньшей мере около 7 мм, по меньшей мере около 10 мм или более. В некоторых случаях длина каждой дорожки/проточного канала 32 может составлять по меньшей мере около 10 мм, по меньшей мере около 25 мм, по меньшей мере около 50 мм, по меньшей мере около 100 мм или более. Ширина и/или длина каждого проточного канала 32 может быть больше, меньше вышеуказанных значений или может иметь промежуточное их значение. В другом примере проточный канал 32 имеет квадратную форму (например, 10 мм × 10 мм).

[0080] Глубина каждого проточного канала 32 может быть толщиной всего в один монослой, например, когда для нанесения разделительного слоя, который определяет стенки проточного канала, используется микроконтактная, аэрозольная или струйная печать. Глубина проточного канала 32 может быть больше, например, когда проточный канал 32 частично образован в подложке 30, 30' (например, посредством травления, литографии и т.д.), так что участок подложки и разделительный слой образуют стенки проточного канала. В других примерах глубина каждого проточного канала 32 может составлять около 1 мкм, около 10 мкм, около 50 мкм, около 100 мкм или более. В примере глубина может находиться в диапазоне от около 10 мкм до около 100 мкм. В другом примере глубина может находиться в диапазоне от около 10 мкм до около 30 мкм. В еще одном примере глубина составляет около 5 мкм или менее. Следует понимать, что глубина каждого проточного канала 32 может быть больше, меньше вышеуказанных значений или может иметь промежуточное их значение.

[0081] В частности, на Фиг. 2В показан пример строения внутри одного из проточных каналов 32 проточной кюветы 20.

[0082] Как показано на Фиг. 2В, структурированный материал 36 включает выполненные в нем углубления 38 и промежуточные области 40, разделяющие смежные углубления 38. Можно предусмотреть множество различных расположений углублений 38, включая регулярные, повторяющиеся и нерегулярные узоры. В примере углубления 38 расположены шестиугольной сеткой для обеспечения плотной упаковки и повышенной плотности. Другие расположения могут включать, например, прямоугольные расположения, треугольные расположения и т.п. В некоторых примерах расположение или узор может быть в формате х-у углублений 38, которые расположены в рядах и столбцах. В некоторых других примерах расположение или узор может представлять собой повторяющееся расположение углублений 38 и/или промежуточных областей 40. В еще других примерах расположение или узор могут представлять собой произвольное расположение углублений 38 и/или промежуточных областей 40. Структура может включать полосы, завитки, линии, треугольники, прямоугольники, круги, дуги, галочки, диагональные линии, стрелки, квадраты и/или перекрестные штриховки.

[0083] Расположение или узор углублений 38 могут характеризоваться по плотности углублений 38 (количеству углублений 38) в определенной области. Например, углубления 38 могут располагаться с плотностью около 2 миллионов на мм2. Плотность может быть скорректирована до различных плотностей, включая, например, плотность около 100 на мм2, около 1000 на мм2, около 0,1 миллиона на мм2, около 1 миллиона на мм2, около 2 миллионов на мм2, около 5 миллионов на мм2, около 10 миллионов на мм2, около 50 миллионов на мм2, или более, или менее. Кроме того, следует понимать, что плотность углублений 38 в структурированном материале 36 может находиться между одним из нижних значений и одним из верхних значений, выбранных из указанных выше диапазонов. Например, массив высокой плотности может характеризоваться наличием углублений 38, разделенных менее чем около 100 нм, массив средней плотности может характеризоваться наличием углублений 38, разделенных от около 400 нм до около 1 мкм, а массив низкой плотности может характеризоваться наличием углублений 38, разделенных более чем около 1 мкм. Хотя приведены примеры плотностей, следует понимать, что можно использовать любые подходящие значения плотности. Плотность углублений 38 может частично зависеть от глубины углублений 38. В некоторых случаях может быть желательно, чтобы расстояние между углублениями 38 было еще больше, чем в примерах, перечисленных в настоящем документе.

[0084] Расположение или рисунок углублений 38 также или в альтернативном варианте осуществления может быть охарактеризован с точки зрения среднего шага или расстояния от центра углубления 38 до центра соседнего углубления 38 (межцентровое расстояние) или от левого края одного углубления 38 до правого края соседнего углубления 38 (межкраевое расстояние). Узор может быть правильным, так что коэффициент вариации относительно среднего шага является небольшим, или узор может быть неправильным, и в этом случае коэффициент вариации может быть относительно большим. В любом случае средний шаг может составлять, например, около 50 нм, около 0,1 мкм, около 0,5 мкм, около 1 мкм, около 5 мкм, около 10 мкм, около 100 мкм или более, или менее. Средний шаг для конкретного рисунка углублений 38 может находиться в диапазоне от одного из нижних значений до одного из верхних значений, выбранных из приведенных выше диапазонов. В примере углубления 38 имеют шаг (межцентровое расстояние) около 1,5 мкм. Хотя представлены примеры средних значений шага следует понимать, что можно использовать другие средние значения шага.

[0085] Размер каждого углубления 38 может характеризоваться объемом, площадью отверстия, глубиной и/или диаметром.

[0086] Каждое углубление 38 может иметь любой объем, способный удерживать текучую среду. Минимальный или максимальный объем может быть выбран, например, так, чтобы соответствовать пропускной способности (например, мультиплексность), разрешению, нуклеотидам или реакционной способности аналита, ожидаемой при последующих применениях проточной кюветы 20. Например, объем может составлять по меньшей мере около 1×10-3 мкм3, по меньшей мере около 1×10-2 мкм3, по меньшей мере около 0,1 мкм3, по меньшей мере около 1 мкм3, по меньшей мере около 10 мкм3, по меньшей мере около 100 мкм3 или более. В альтернативном или дополнительном варианте осуществления объем может составлять не более около 1×104 мкм3, не более около 1×103 мкм3, не более около 100 мкм3, не более около 10 мкм3, не более около 1 мкм3, не более около 0,1 мкм3 или менее.

[0087] Площадь, занимаемая каждым отверстием углубления, может быть выбрана на основании критериев, аналогичных описанным выше для объема. Например, площадь для каждого отверстия углубления может составлять по меньшей мере около 1×10-3 мкм2, по меньшей мере около 1×10-2 мкм2, по меньшей мере около 0,1 мкм2, по меньшей мере около 1 мкм2, по меньшей мере около 10 мкм2, по меньшей мере около 100 мкм2 или более. В альтернативном или дополнительном варианте осуществления площадь может составлять не более около 1×103 мкм2, не более около 100 мкм2, не более около 10 мкм2, не более около 1 мкм2, не более около 0,1 мкм2, не более около 1×10-2 мкм2 или менее. Площадь, занимаемая каждым отверстием углубления, может быть больше или меньше указанных значений или находиться в промежутке между указанными выше значениями.

[0088] Глубина каждого углубления 38 может быть достаточно большой для размещения некоторого количества полимерного гидрогеля 42. В примере глубина может составлять по меньшей мере около 0,1 мкм, по меньшей мере около 0,5 мкм, по меньшей мере около 1 мкм, по меньшей мере около 10 мкм, по меньшей мере около 100 мкм или более. В альтернативном или дополнительном варианте осуществления глубина может составлять не более около 1×103 мкм, не более около 100 мкм, не более около 10 мкм или менее. В некоторых примерах глубина составляет около 0,4 мкм. Глубина каждого углубления 38 может быть больше, меньше или находится между указанными выше значениями.

[0089] В некоторых случаях диаметр или длина и ширина каждого углубления 38 могут составлять по меньшей мере около 50 нм, по меньшей мере около 0,1 мкм, по меньшей мере около 0,5 мкм, по меньшей мере около 1 мкм, по меньшей мере около 10 мкм, по меньшей мере около 100 мкм или более. В альтернативном или дополнительном варианте осуществления диаметр или длина и ширина могут составлять не более около 1×103 мкм, не более около 100 мкм, не более около 10 мкм, не более около 1 мкм, не более около 0,5 мкм, не более около 0,1 мкм или менее (например, около 50 нм). В некоторых примерах диаметр или длина и ширина составляют около 0,4 мкм. Диаметр или длина и ширина каждого углубления 38 могут быть больше, меньше или находиться в промежутке между указанными выше значениями.

[0090] В примере, показанном на Фиг. 2В, полимерный гидрогель 42 расположен внутри каждого из углублений 38. Пример полимерного гидрогеля 42 включает акриламидный сополимер, такой как поли(N-(5-азидоацетамидилпентил)акриламида и акриламида (PAZAM). PAZAM и некоторые другие формы акриламидного сополимера представлены следующей структурой (I):

где:

RA выбран из группы, состоящей из азидо, необязательно замещенного амино, необязательно замещенного алкенила, необязательно замещенного алкина, галогена, необязательно замещенного гидразона, необязательно замещенного гидразина, карбоксила, гидрокси, необязательно замещенного тетразола, необязательно замещенного тетразина, нитрилоксида, нитрона, сульфата и тиола;

RB представляет собой Н или необязательно замещенный алкил;

каждый из RC, RD и RE независимо выбран из группы, состоящей из Н и необязательно замещенного алкила;

каждый из -(CH2)р- может быть необязательно замещенным;

р представляет собой целое число в диапазоне от 1 до 50;

n представляет собой целое число в диапазоне от 1 до 50000; и

m представляет собой целое число в диапазоне от 1 до 100000.

[0091] Специалисту в данной области будет понятно, что конфигурация повторяющихся элементов n и m в структуре (I) является типичной, а мономерные субъединицы могут присутствовать в любом порядке в структуре полимера (например, случайная, блочная, структурированная форма или их комбинация).

[0092] Молекулярная масса PAZAM и других форм акриламидного сополимера может находиться в диапазоне от около 5 кДа до около 1500 кДа или от около 10 кДа до около 1000 кДа, или может составлять в конкретном примере около 312 кДа.

[0093] В некоторых примерах PAZAM и другие формы акриламидного сополимера являются линейными полимерами. В некоторых других примерах PAZAM и другие формы акриламидного сополимера представляют собой слабо сшитые полимеры.

[0094] В других примерах полимерный гидрогель 42 может представлять собой вариант структуры (I). В одном примере акриламидное звено может быть заменено N,N-диметилакриламидом В этом примере акриламидное звено в структуре (I) может быть заменено , где каждый из и RD, RE, RF представляет собой Н или алкил С1-С6 алкил, а каждый из RG и RH представляет собой С1-С6 алкил (вместо Н, как в случае с акриламидом). В этом примере q может представлять собой целое число в диапазоне от 1 до 100000. В другом примере N,N-диметилакриламид можно использовать в дополнение к акриламидному звену. В данном примере структура (I) может включать в дополнение к повторяющимся элементам пит, причем каждый из RD, RE и RF представляет собой Н или С1-С6 алкил, а каждый из RG и RH представляет собой С1-С6 алкил. В этом примере q может представлять собой целое число в диапазоне от 1 до 100000.

[0095] В качестве другого примера полимерного гидрогеля 42 повторяющийся элемент n в структуре (I) может быть заменен мономером, включающим гетероциклическую азидную группу, имеющую структуру (II):

где R1 представляет собой Н или С1-С6 алкил; R2 представляет собой Н или С1-С6 алкил; L представляет собой линкер, включающий линейную цепь из 2-20 атомов, выбранных из группы, состоящей из углерода, кислорода и азота и 10 необязательных заместителей у углерода и любых атомов азота в цепи; Е представляет собой линейную цепь, включающую от 1 до 4 атомов, выбранных из группы, состоящей из углерода, кислорода и азота и необязательных заместителей у углерода и любых атомов азота в цепи; А представляет собой N-замещенный амид, у которого к N присоединены Н или С1-С4 алкил; и Z представляет собой азотсодержащий гетероцикл. Примеры Z включают 5-10 членов кольца, присутствующих в виде одной циклической структуры или слитой структуры. Некоторые конкретные примеры Z включают пирролидинил, пиридинил или пиримидинил.

[0096] В качестве еще одного примера полимерный гидрогель 42 может включать повторяющееся звено каждой из структур (III) и (IV):

где каждый из R1a, R2a, R1b и R2b независимо выбран из водорода, необязательно замещенного алкила или необязательно замещенного фенила; каждый из R3a и R3b независимо выбран из водорода, необязательно замещенного алкила, необязательно замещенного фенила или необязательно замещенного С7-С14 аралкила; и каждый из и независимо выбран из необязательно замещенного алкиленового линкера или необязательно замещенного гетероалкиленового линкера.

[0097] Следует понимать, что для образования полимерного гидрогеля 42 можно использовать другие молекулы при условии, что они функционализированы для трансплантации к ним захватывающих праймеров 22, 24 или 22, 24'. Другие примеры подходящих полимерных слоев включают слои, имеющие коллоидную структуру, например агароза; или полимерную сетчатую структуру, например желатин; или сшитую полимерную структуру, например полиакриламидные полимеры и сополимеры, не содержащий силанов акриламид (SFA) или азидолизированный вариант SFA. Примеры подходящих полиакриламидных полимеров можно синтезировать из акриламида и акриловой кислоты или акриловой кислоты, содержащей винильную группу, или из мономеров, которые вступают в реакции фотоциклоприсоединения [2+2]. Другие примеры подходящих полимерных гидрогелей 42 включают смешанные сополимеры акриламидов и акрилатов. В описанных в настоящем документе примерах можно использовать различные архитектуры полимеров, содержащие акриловые мономеры (например, акриламиды, акрилаты и т.п.), такие как разветвленные полимеры, включая звездчатые полимеры, звездообразные или звездчатые блок-полимеры, дендримеры и т.п. Например, мономеры (например, акриламид и т.д.) могут быть встроены, либо случайным образом, либо блоком, в ветви (фрагменты) звездообразного полимера.

[0098] Для введения полимерного гидрогеля 42 в проточный канал 32 можно создавать смесь полимерного гидрогеля 42, а затем наносить ее на подложку 30, 30' (включающий углубления 38). В одном примере полимерный гидрогель 42 может присутствовать в смеси (например, с водой или с этанолом и водой). Затем смесь можно наносить на поверхности подложки (в том числе в углубления 38) с нанесением покрытия центрифугированием, или покрытия окунанием или погружением, нанесения покрытия распылением, или потока материала под положительным или отрицательным давлением, или другой подходящей методики. Такие типы методик обеспечивают нанесение сплошным слоем полимерного гидрогеля 42 на подложку 30, 30' (например, в углублениях 38 и на промежуточных областях 40, окружающих углубления 38). Для специфического нанесения полимерного гидрогеля 42 в углублениях 38, а не на промежуточные области 40, можно использовать и другие способы избирательного осаждения (например, с использованием трафарета, методик управляемой печати и т.п.).

[0099] В некоторых примерах поверхность подложки (включая часть, открытую в углублениях 38) можно активировать, а затем наносить на нее смесь (включая полимерный гидрогель 42). В одном примере силан или производное силана (например, норборненсилан) можно наносить на поверхность подложки с помощью осаждения из паровой фазы, нанесения покрытия центрифугированием или других методов осаждения. В другом примере поверхность подложки можно подвергать плазменному озолению с образованием активирующего (-их) поверхность агента (-ов) (например, групп ОН), который (-ые) можно присоединять к полимерному гидрогелю 42.

[00100] В зависимости от полимерного гидрогеля 42 нанесенная смесь может быть подвергнута процессу отверждения. В примере отверждение может происходить при температуре в диапазоне от комнатной температуры (например, от около 18°С до около 25°С) до около 95°С в течение времени в диапазоне от около 1 миллисекунды до около нескольких дней.

[00101] В некоторых примерах можно затем выполнять полировку, чтобы удалить полимерный гидрогель 42 с промежуточных областей 40 по периметру углублений 38, оставив при этом полимерный гидрогель 42 на поверхности углублений 38 по меньшей мере по существу нетронутым.

[00102] Проточная кювета 20 также включает первый и второй захватывающие праймеры 22, 24 или 22, 24'. Можно использовать любой пример захватывающих праймеров 22, 24 или 22, 24', описанных в настоящем документе. Набор захватывающих праймеров 22, 24 или 22, 24', который выбирают для конкретной проточной кюветы 20, может частично зависеть от того, какой генотипирующий олигонуклеотид 10, 10' нужно использовать с ними.

[00103] Для прививки первого и второго захватывающих праймеров 22, 24 или 22, 24' в полимерный гидрогель 42 в углублениях 38 можно реализовать процесс трансплантации. В примере первый и второй захватывающие праймеры 22, 24 или 22, 24' можно иммобилизовать в полимерный гидрогель 42 с помощью одноточечного ковалентного присоединения на 5'-концах каждого из первого и второго захватывающих праймеров 22, 24 или 22, 24' или вблизи них. В результате этого присоединения остается i) специфический для последовательности праймера участок захватывающих праймеров 22, 24 или 22, 24', свободный для отжига к его когнатной последовательности 12 праймера или скопированной последовательности C18, C18' праймера, и ii) свободная 3' гидроксильная (ОН) группа для достройки захватывающего праймера. Для присоединение первого и второго захватывающих праймеров 22, 24 или 22, 24' к полимерному гидрогелю 42 можно использовать любое подходящее ковалентное присоединение. Примеры праймеров с концевой группой, которые можно использовать, включают праймеры с концевой алкиновой группой, которые можно присоединять к азидной функциональной группе полимерного гидрогеля 42. Как упоминалось, конкретные примеры подходящих захватывающих праймеров 22, 24 включают праймеры Р5 и Р7, а конкретный пример подходящего захватывающего праймера 24' представляет собой Р7, модифицированный для включения второго сайта эндонуклеазы рестрикции.

[00104] В примере прививка может включать проточное нанесение (например, с использованием временно скрепленной или постоянно прикрепленной крышки, или дополнительного подложки), нанесение покрытия обмакиванием, нанесение покрытия распылением, нанесение наливом или другим соответствующим способом, при котором захватывающий (-ие) праймер (-ы) 22, 24 или 22, 24' будут прикрепляться к полимерному гидрогелю 42. В каждом из этих примеров методик можно использовать раствор или смесь праймера, которая может включать захватывающий(-ие) праймер(-ы) 22, 24 или 22, 24', воду, буфер и катализатор. При любом из способов прививки захватывающий(-ие) праймер(-ы) 22, 24 или 22, 24' реагируют с реакционноспособными группами полимерного гидрогеля 42 в углублениях 38 и не имеют аффинности к окружающим промежуточным областям 40. Таким образом, захватывающий(-ие) праймер(-ы) 22, 24 или 22, 24' избирательно прививают на полимерный гидрогель 42 в углублениях 38.

[00105] Способы, вовлекающие генотипирующие олигонуклеотиды

[00106] Примеры способа, описанного в настоящем документе, по существу включают введение текучей среды зонда генотипирования в проточную кювету 20, включающую отдельные углубления 38 и первый и второй захватывающие праймеры 22, 24 или 22, 24' в каждом из отдельных углублений 38, текучая среда зонда генотипирования включает множество генотипирующих олигонуклеотидов 10 или 10', посредством чего соответствующий генотипирующий олигонуклеотид 10 или 10' реагирует в по меньшей мере некоторых из отдельных углублений 38 с получением соответствующих клональных популяций ампликонов из соответствующего генотипирующего олигонуклеотида 10 или 10'; линеаризацию ампликонов с получением матриц зонда; секвенирование по меньшей мере одного определяющего зонд отрезка матриц зонда для определения каждой из последовательностей зонда; удаление по меньшей мере соответствующих формирующихся цепей из матриц зонда, благодаря чему на конце матриц зонда становится доступной 3' ОН-группа; гибридизацию соответствующих образцов с матрицами зонда; и выполнение соответствующих реакций генотипирования образцов на доступных 3' ОН-группах.

[00107] В примерах способа проточную кювету 20 можно вводить в систему (не показана), где она находится в сообщении по текучей среде с системой управления текучей средой (например, насосами, клапанами и т.п.) и находится в оптическом сообщении с системой освещения и системой обнаружения.

[00108] На Фиг. 3А-3Н в совокупности показан пример способа, вовлекающего генотипирующий олигонуклеотид 10.

[00109] НаФиг. 3А показано одно углубление 38 проточной кюветы 20, которая включает полимерный гидрогель 42 с прикрепленными к нему первым и вторым захватывающими праймерами 22, 24. Как описано в настоящем документе, второй захватывающий праймер 24 включает сайт 46 расщепления.

[00110] На Фиг. 3В текучую среду зонда генотипирования (не показана) вводят в проточную кювету 20 (например, в каждый проточный канал 32). В этом примере текучая среда зонда генотипирования включает жидкий носитель и генотипирующий олигонуклеотид 10 в жидком носителе. Жидкий носитель текучей среды зонда генотипирования может представлять собой любой подходящий буфер гибридизации, такой как буфер трис-HCl или солевой буферный раствор цитрата натрия (SSC) 0,5х. В некоторых примерах текучая среда зонда генотипирования включает множество генотипирующих олигонуклеотидов 10, где каждый генотипирующий олигонуклеотид 10 включает последовательность 14 зонда, отличную от последовательности каждого другого генотипирующего олигонуклеотида 10. С помощью этой текучей среды различные генотипирующие олигонуклеотиды 10 (каждый из которых имеет уникальную последовательность 14 зонда) можно доставлять в разные углубления 38.

[00111] Как показано на Фиг. 3В, один генотипирующий олигонуклеотид 10 высевают в углубление 38. Более конкретно, вторая последовательность 18 праймера одного генотипирующего олигонуклеотида 10 гибридизируется с одним из вторых захватывающих праймеров 24 в углублении 38.

[00112] При посеве одного генотипирующего олигонуклеотида 10 может немедленно начинаться образование кластеров. В других примерах можно выполнять отдельную гибридизацию (посев) и генерацию кластеров. Процессы, вовлеченные в образование кластеров, показаны на Фиг. 3В, Фиг. 3С, Фиг. 3D и Фиг. 3Е.

[00113] Как представлено стрелкой на Фиг. 3В, генотипирующий олигонуклеотид 10 скопирован из гибридизированных праймеров посредством удлинения 3'-конца с использованием ДНК-полимеразы. В результате получают ампликон 44А, который прикреплен к поверхности проточной кюветы посредством второго захватывающего праймера 24. Отрезки ампликона 44А, обозначенные C16, С14, С12, представляют собой комплементарные копии сайта 16 эндонуклеазы рестрикции, последовательности 14 зонда и первой последовательности 12 праймера соответственно.

[00114] Исходный генотипирующий олигонуклеотид 10 денатурируют, оставляя ампликон 44А иммобилизованным в углублении 38 посредством второго захватывающего праймера 24. Одноцепочечный ампликон 44А переворачивается и образует мостик, например, путем гибридизации копии С12 первой последовательности праймера с соседним комплементарным первым захватывающим праймером 22. Это показано на Фиг. 3С. Как показано стрелкой на Фиг. 3С, гибридизированный праймер (первый захватывающий праймер 22) затем удлиняется полимеразой (-ами) с образованием другого ампликона 44В. Отрезки СС16, СС14 ампликона 44В являются комплементарными копиями участков C16, С14 и, таким образом, имеют те же последовательности, что и исходный сайт 16 эндонуклеазы рестрикции и последовательность 14 зонда соответственно. Отрезок С24 ампликона 44В представляет собой комплементарную копию второго захватывающего праймера 24 и, таким образом, имеет ту же последовательность, что и вторая последовательность 18 праймера. Как показано на Фиг. 3С, образование ампликона 44В генерирует двухцепочечный мостик, включающий ампликоны 44А и 44В.

[00115] Затем двухцепочечный мостик денатурируется, как показано на Фиг. 3D. В результате получаются две копии (ампликоны 44А и 44В), ковалентно связанные с проточной кюветой 20. Изотермическая мостиковая амплификация или какая-либо другая форма амплификации амплифицирует иммобилизованные копии. Например, скопированные матрицы образуют петлю и гибридизируются с соседним комплементарным захватывающим праймером 22,24, а полимераза копирует скопированные матрицы с образованием двухцепочечных мостиков, которые денатурируются с образованием двух одноцепочечных цепей. Эти две цепи образуют петлю и гибридизируются с соседними комплементарными захватывающими праймерами 22, 24, а затем снова удлиняются с образованием двух новых двухцепочечных петель. Процесс повторяют на каждой копии шаблона в циклах изотермической денатурации и амплификации с получением плотных клональных кластеров двухцепочечных мостиков. Упрощенный кластер, включающий два двухцепочечных мостика, показан на Фиг. 3Е.

[00116] Следует понимать, что посев соответствующих генотипирующих олигонуклеотидов 10 в соответствующих углублениях 38 и амплификация таких генотипирующих олигонуклеотидов 10 в соответствующих углублениях 38 могут происходить в условиях, в которых скорость амплификации превышает скорость посева. Таким образом, относительно высокая скорость получения копий (ампликонов 44А, 44В) внутри углубления 38, засеянного одним генотипирующим олигонуклеотидом 10, эффективно исключает засевание этого углубления 38 вторым генотипирующим олигонуклеотидом 10 для амплификации. Таким образом, в каждом из углублений 38 может быть захвачен и амплифицирован другой генотипирующий олигонуклеотид 10 (с уникальной последовательностью 14 зонда), что позволяет одновременно анализировать на проточной кювете 20 множество разных целевых локусов генотипирования.

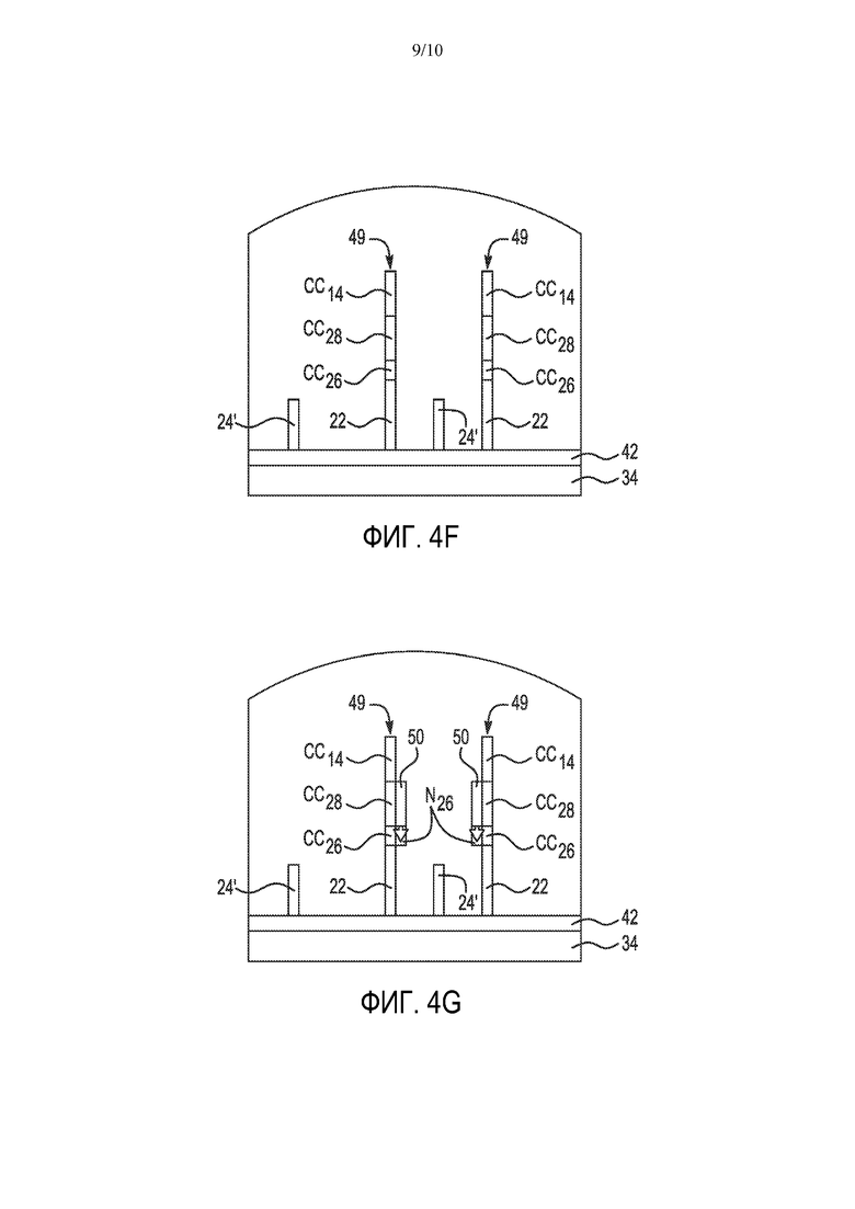
[00117] Линеаризацию мостиковых ампликонов 44А, 44В можно выполнять путем расщепления ампликонов, прикрепленных ко вторым захватывающим праймерам (например, ампликонам 44А) в соответствующих сайтах 46 расщепления вторых захватывающих праймеров 24; и денатурации расщепленных участков ампликонов (например, ампликонов 44А), прикрепленных ко вторым захватывающим праймерам 24, с получением матриц 48 зонда (Фиг. 3F).

[00118] Для запуска расщепления в проточную кювету 20, например, через входное отверстие (не показано), можно вводить расщепляющий агент. Выбранный расщепляющий агент будет зависеть от сайта расщепления 46 второго захватывающего праймера 24. В зависимости от сайта 46 расщепления химический расщепляющий агент может представлять собой химический расщепляющий агент или ферментативный расщепляющий агент. Расщепление на сайте расщепления 46 разъединяет ампликоны 44А между вторыми захватывающими праймерами 24 и остатком последовательности ампликона (которая включает отрезки C16, С14 и С12 или отрезки C16, С14 и С22 (который является комплементарной копией захватывающего праймера 22)).

[00119] В результате расщепления отрезки C16, С14 и С12 и отрезки C16, С14 и С22 больше не прикреплены к поверхности проточной кюветы посредством праймера 24 и, таким образом, могут быть удалены посредством денатурации. Денатурация может происходить при использовании любых подходящих условий. При удалении отрезков C16, С14 и С12 и отрезков C16, С14 и С22 ампликоны 44В остаются присоединенными к поверхности проточной кюветы посредством первого захватывающего праймера 22 и гибридизированными ко вторым захватывающим праймерам 24 (посредством отрезка С24). В этом примере доступный одноцепочечный участок ампликонов 44В, в частности отрезки CC16 и СС14, образуют матрицу 48 зонда. Отрезок СС14 является комплементарной копией отрезка С14 и, таким образом, имеет ту же последовательность, что и последовательность 14 зонда. Секвенирование этого участка СС14 позволяет определять/декодировать исходную последовательность 14 зонда. В некоторых случаях участок отрезка СС14 можно секвенировать для определения или декодирования исходной последовательности зонда. Отрезок CC16 представляет собой комплементарную копию отрезка C16 и, таким образом, имеет ту же последовательность, что и сайт 16 фермента рестрикции. При секвенировании двухцепочечный отрезок, включающий CC16 и N16 (Фиг. 3G), обеспечивает подложку для расщепления ферментом рестрикции.

[00120] После расщепления и денатурации каждый второй захватывающий праймер 24 может иметь 3'-фосфат на своем конце, который следует удалить перед дополнительной обработкой. 3'-фосфат можно удалять путем введения киназы, которая удаляет защитные группы второго захватывающего праймера 24, что делает его подходящим для применения в качестве праймера для секвенирования (как описано со ссылкой на Фиг. 3G).

[00121] На Фиг. 3G показано секвенирование матрицы 48 зонда, включая отрезки CC16 и СС14, причем последний из них является по меньшей мере одним определяющим зонд отрезком.

[00122] В продемонстрированном примере секвенирование матрицы 48 зонда включает использование второго захватывающего праймера 24 в качестве праймера для секвенирования и выполнение реакции достройки основания (по одному основанию за раз) вдоль матрицы 48 зонда.

[00123] В другом примере отрезок С24 и второй захватывающий праймер 24 можно денатурировать и можно добавлять отдельный праймер для секвенирования (который находится в растворе). Отдельный праймер для секвенирования может гибридизироваться с отрезком С24, и реакция достройки основания (по одному основанию за раз) будет происходить вдоль матрицы 48 зонда.

[00124] Лежащим в основе химическим процессом для секвенирования может быть полимеризация (например, катализируемая ферментом-полимеразой). В конкретном процессе на основе полимеразы ко второму захватывающему праймеру 24 зависимым от матрицы образом добавляют флуоресцентно-меченые нуклеотиды так, чтобы можно было выполнять определение порядка и типа нуклеотидов, добавляемых ко второму захватывающему праймеру 24. Это позволяет узнать последовательность определяющего зонд отрезка, например отрезка СС14, который можно использовать для декодирования исходной последовательности 14 зонда.

[00125] Для запуска первого цикла секвенирования в проточную кювету 20 и т.п. или через нее можно доставлять один или более меченых нуклеотидов, ДНК-полимеразу и т.п., причем удлинение праймера для секвенирования приводит к встраиванию меченого нуклеотида в матрице 48 зонда. Такое встраивание можно обнаруживать с помощью события визуализации. Во время события визуализации система освещения может подавать возбуждающий свет на проточную кювету 20.

[00126] В некоторых примерах флуоресцентно-меченые нуклеотиды могут дополнительно обладать свойством обратимой терминации, которое прекращает дальнейшую достройку праймера после добавления нуклеотида к матрице 48. Например, к матрице 48 можно добавлять нуклеотидный аналог, имеющий функциональную группу - обратимый терминатор, так что последующая достройка не будет происходить до тех пор, пока не будет подан агент снимающий блокировку для удаления функциональной группы. Таким образом, для примеров, в которых используют обратимую терминацию, в проточную кювету 20 можно подавать разблокирующий реагент и т.п. (после обнаружения).

[00127] Промывка (-и) может (могут) происходить между различными стадиями подачи текучей среды. Затем цикл секвенирования можно повторять п раз для достройки матрицы 48 на n нуклеотидов с образованием формирующейся цепи, включающей формирующийся отрезок N16 (комплементарный отрезку CC16) и формирующийся отрезок N14 (комплементарный отрезку СС14).

[00128] Секвенирование отрезка СС14 обеспечивает отрезок N14 формирующейся цепи, который можно использовать для декодирования исходной последовательности 14 зонда генотипирующего олигонуклеотида 10. Эта информация позволяет пользователю определить целевой локус генотипирования, который будут анализировать в конкретном углублении 38 (поскольку все матрицы 48 в углублении 38 имеют один и тот же определяющий зонд отрезок, например СС14).

[00129] Секвенирование отрезка CC16 обеспечивает отрезок N16 формирующейся цепи. Таким образом, в данном примере секвенирования также генерируют двухцепочечный отрезок, включающий как CC16, так и N16, который обеспечивает подложку для расщепления ферментом рестрикции.

[00130] После секвенирования определяющего (-их) зонд(-ы) отрезка (-ов) способ дополнительно включает удаление по меньшей мере соответствующих формирующихся цепей (которые включают отрезки N14 и N16) из матриц 48 зонда, в результате чего становится доступной 3' ОН-группа на конце матриц 48 зонда. В этом примере удаление предусматривает более чем удаление формирующихся цепей N14 и N16. В данном примере удаление включает расщепление сайтов эндонуклеазы рестрикции, например отрезков CC16 и N16; и денатурацию оставшейся формирующейся цепи, включая отрезок N14, из матриц 48 зонда.

[00131] Матрица 48 зонда включает отрезок CC16 (который имеет ту же последовательность, что и сайт 16 эндонуклеазы рестрикции), а формирующаяся цепь включает отрезок N16 (который комплементарен сайту 16 эндонуклеазы рестрикции). Этот двухцепочечный участок (отрезки CC16 и N6) создает подложку для соответствующей эндонуклеазы рестрикции (фермента рестрикции). Таким образом, при введении эндонуклеазы рестрикции сайты эндонуклеазы рестрикции, в этом примере отрезок CC16 и отрезок N16, могут расщепляться. Как упомянуто в настоящем документе, фермент рестрикции может представлять собой расщепляющую эндонуклеазу рестрикции по 4 основаниям, расщепляющую эндонуклеазу рестрикции по 5 основаниям, расщепляющую эндонуклеазу рестрикции по 6 основаниям или т.п. Фермент рестрикции расщепляет отрезки CC16, N16 на конкретных нуклеотидах, которые схематически обозначены звездочками на Фиг. 3G. В этом примере сайт эндонуклеазы рестрикции выходит из второго захватывающего праймера 24, а первый захватывающий праймер 22 имеет присоединенный к нему отрезок СС14 и формирующуюся цепь N14, гибридизированную к отрезку СС14. Затем формирующаяся цепь N14 денатурируется из отрезка СС14. Расщепление и денатурация позволяют удалить отрезок CC16 и формирующиеся цепи N14, N16 из углубления 38 и проточной кюветы 20, например, посредством этапа промывки.

[00132] Расщепление и денатурация обуславливают доступность 3' ОН на конце того, что остается от матрицы 48 зонда. Оставшаяся матрица зонда показана со ссылкой на Фиг. 3Н под номером 52. Оставшаяся матрица 52 зонда включает первый захватывающий праймер 22 и отрезок СС14, который аналогичен исходной последовательности 14 зонда, и, таким образом, в данном примере комплементарен образцу ДНК, имеющему целевой локус 54 генотипирования.

[00133] Образец денатурированных фрагментов ДНК, включая целевой локус 54 генотипирования, вводят в проточную кювету 20. Целевой локус 54 генотипирования можно включать в текучую среду библиотеки, которая включает множество целевых локусов генотипирования, по меньшей мере некоторые из которых имеют разные генотипируемые локусы. Целевые локусы генотипирования можно получать из более крупного образца ДНК с использованием любой методики подготовки библиотеки генотипирования. Некоторые методики подготовки библиотек генотипирования включают амплификацию и фрагментацию. Другие включают амплификацию без фрагментации (примеры которой описаны ниже в настоящем документе). Таким образом, в текучей среде библиотеки могут присутствовать несколько копий целевого локуса 54 генотипирования любого типа.

[00134] После введения в проточную кювету 20 целевые локусы 54 генотипирования гибридизируются с соответствующими комплементарными отрезками СС14 оставшихся матриц 52 зонда в углублении 38.

[00135] Затем можно выполнять реакцию генотипирования. В этой реакции оставшуюся матрицу 52 зонда используют в качестве праймера для секвенирования для выполнения одного цикла секвенирования, как описано в настоящем документе. Как показано на Фиг. 3Н, один меченый нуклеотид 57, который комплементарен представляющему интерес нуклеотидному основанию на целевом локусе 54 генотипирования, встраивается в оставшуюся матрицу 52 зонда.

[00136] Хотя описание, представленное в настоящем документе, относится к одному углублению 38 и, таким образом, генотипированию одного целевого локуса 54 генотипирования, следует понимать, что каждое углубление 38 включает разные матрицы 52 зонда с разными отрезками СС14. Таким образом, при использовании этого способа одновременно можно генотипировать от сотен до тысяч, до миллионов (в зависимости от количества углублений в проточной кювете 20) разных локусов.

[00137] На Фиг. 4А-4Н вместе показан другой пример способа, включающего олигонуклеотид 10' генотипирования.

[00138] На Фиг. 4А показано одно углубление 38 проточной кюветы 20, которая включает полимерный гидрогель 42 с прикрепленными к нему первым и вторым захватывающими праймерами 22,24'. Как описано в настоящем документе, второй захватывающий праймер 24' включает второй сайт 46' эндонуклеазы рестрикции.

[00139] На Фиг. 4В текучую среду зонда генотипирования (не показана) вводят в проточную кювету 20 (например, в каждый проточный канал 32). В этом примере текучая среда зонда генотипирования включает жидкий носитель и генотипирующий олигонуклеотид 10' в жидком носителе. Жидкий носитель может быть представлен любым из примеров, описанных в настоящем документе. В некоторых примерах текучая среда зонда генотипирования включает множество генотипирующих олигонуклеотидов 10', причем каждый генотипирующий олигонуклеотид 10' включает последовательность 14 зонда, отличную от каждого другого генотипирующего олигонуклеотида 10'. С помощью этой текучей среды в разные углубления 38 можно доставлять различные генотипирующие олигонуклеотиды 10' (каждый из которых имеет уникальную последовательность 14 зонда).

[00140] Как показано на Фиг. 4 В, один генотипирующий олигонуклеотид 10' засеян в углубление 38. Более конкретно, вторая последовательность 18' праймера и сайт 16' эндонуклеазы рестрикции одного генотипирующего олигонуклеотида 10' соответственно гибридизируются с одним из вторых захватывающих праймеров 24' и его сайтом 46' эндонуклеазы рестрикции в углублении 38.

[00141] При посеве одного генотипирующего олигонуклеотида 10' может быть немедленно запущена генерация кластеров. В других примерах можно выполнять отдельную гибридизацию (посев) и генерацию кластеров. Процессы, вовлеченные в образование кластеров, показаны на Фиг. 4В, Фиг. 4С, Фиг. 4D и Фиг. 4Е.

[00142] Как обозначено стрелкой на Фиг. 4В, генотипирующий олигонуклеотид 10' копируется из гибридизированных праймеров посредством достройки на 3'-конце с использованием высокоточной ДНК-полимеразы. В результате получают ампликон 44С, который прикреплен к поверхности проточной кюветы посредством второго захватывающего праймера 24'. Отрезки ампликона 44С, обозначенные С14, С28, С26, и С12, являются комплементарными копиями последовательности 14 зонда, участка 28 сайта праймирования, участка 26 индексной последовательности и первой последовательностью 12 праймера соответственно.

[00143] Исходный генотипирующий олигонуклеотид 10' денатурируется, при этом ампликон 44С остается иммобилизованным в углублении 38 посредством второго захватывающего праймера 24' и второго сайта 46' эндонуклеазы рестрикции. Одноцепочечный ампликон 44С переворачивается и образует мостик, например, путем гибридизации копии С12 первой последовательности праймера с соседним комплементарным первым захватывающим праймером 22. Это показано на Фиг. 4С.

[00144] Как обозначено стрелкой на Фиг. 4С, гибридизированный праймер затем достраивается полимеразой (-ами) с образованием другого ампликона 44D. Отрезки СС14, СС26, СС28 ампликона 44D являются комплементарными копиями отрезков С14, С26, C28 и, таким образом, имеют те же последовательности, что и исходная последовательность 14 зонда, участок 26 индексной последовательности и участок 28 сайта праймирования соответственно. Отрезок С46' ампликона 44D представляет собой комплементарную копию второго сайта 46' эндонуклеазы рестрикции и, таким образом, имеет ту же последовательность, что и сайт 16' эндонуклеазы рестрикции генотипирующего олигонуклеотида 10'. Отрезок С24' ампликона 44D представляет собой комплементарную копию второго захватывающего праймера 24' и, таким образом, имеет ту же последовательность, что и вторая последовательность 18' праймера. Как показано на Фиг. 4С, образование ампликона 44D генерирует двухцепочечный мостик, включающий ампликоны 44С и 44D, ковалентно связанные с проточной кюветой 20.

[00145] Затем двухцепочечный мостик денатурируется, как показано на Фиг. 4D. В результате получают две копии (ампликоны 44С и 44D), ковалентно связанные с проточной кюветой 20. Изотермическая мостиковая амплификация или какая-либо другая форма амплификации амплифицирует иммобилизованные копии. Например, скопированные матрицы образуют петлю и гибридизируются с соседним комплементарным захватывающим праймером 22, 24', а полимераза копирует скопированные матрицы с образованием двухцепочечных мостиков, которые денатурированы с образованием двух одноцепочечных цепей. Эти две цепи образуют петлю и гибридизируются с соседними комплементарными захватывающими праймерами 22, 24, а затем снова достраиваются с образованием двух новых двухцепочечных петель. Процесс повторяют на каждой копии шаблона в циклах изотермической денатурации и амплификации с получением плотных клональных кластеров двухцепочечных мостиков. Упрощенный кластер, включающий два двухцепочечных мостика, показан на Фиг. 4Е.

[00146] Следует понимать, что посев соответствующих генотипирующих олигонуклеотидов 10' в соответствующие углубления 38 и амплификация таких генотипирующих олигонуклеотидов 10' в соответствующих углублениях 38 могут происходить в условиях, в которых скорость амплификации превышает скорость посева. Таким образом, относительно высокая скорость получения копий (ампликонов 44C,44D) внутри углубления 38, засеянного одним генотипирующим олигонуклеотидом 10', эффективно исключает засевание этого углубления 38 вторым генотипирующим олигонуклеотидом 10' для амплификации. Таким образом, в каждом из углублений 38 можно захватывать и амплифицировать другой генотипирующий олигонуклеотид 10' (с уникальной последовательностью 14 зонда), что позволяет одновременно анализировать на проточной кювете 20 множество разных целевых локусов генотипирования.

[00147] В этом примере амплификацию можно выполнять с использованием метилированного дЦТФ (дезоксицитидинтрифосфата) для защиты сайта 16' эндонуклеазы рестрикции и комплементарных копий С46' второго сайта 46' эндонуклеазы рестрикции. Эта модификация будет полностью метилировать ампликоны 44С, 44D и оставлять захватывающие праймеры 22, 24' (включая второй сайт 46' эндонуклеазы рестрикции) полуметилированными.

[00148] Затем двухцепочечные мостики линеаризируются. Линеаризация описана со ссылкой на Фиг. 4Е и Фиг. 4F. В данном примере способа линеаризацию мостиковых ампликонов 44С, 44D можно выполнять путем расщепления участка 56 эндонуклеазы рестрикции ампликонов 44С, 44D, чтобы оставить вторые захватывающие праймеры 24' в углублениях 38; и денатурации оставшейся части ампликонов 44С, 44D с получением одноцепочечных матриц 49 зонда, включающих первые захватывающие праймеры 22 и по меньшей мере один определяющий зонд отрезок в углублениях 38. Результат процесса линеаризации показан на Фиг. 4F.

[00149] В этом примере каждый из вторых захватывающих праймеров 24' дополнительно включает второй сайт 46' эндонуклеазы рестрикции, причем второй сайт 46' эндонуклеазы рестрикции комплементарен сайту 16' эндонуклеазы рестрикции генотипирующего олигонуклеотида 10' и, следовательно, также комплементарен отрезку С46'. Как показано наФиг.4Е, двухцепочечные мостики включают гибридизированные отрезки 46', С46', которые обеспечивают соответствующие подложки для расщепления ферментом рестрикции. Более конкретно, гибридизированные отрезки С46' и 46' мостиковых ампликонов 44С, 44D образуют участок 56 эндонуклеазы рестрикции, который распознается ферментом рестрикции типа IIS. В этом примере расщепление участка 56 эндонуклеазы рестрикции осуществляют путем введения фермента рестрикции типа IIS. Фермент рестрикции типа IIS может быть чувствительным к метилу или может не быть чувствительным к метилу. Протоколы метилирования защитят сайты внутри копий С14, СС14 последовательности зонда и/или могут защитить симметричные разрывы. Фермент рестрикции типа IIS типа будет распознавать асимметричные последовательности ДНК участка 56 и расщеплять на определенном расстоянии (например, от 1 нуклеотида до около 20 нуклеотидов) за пределами участка 56. При расщеплении вторые захватывающие праймеры 24' остаются прикрепленными к проточной кювете 20, а также ампликон 44С разрезается в желаемом положении для генотипирования.

[00150] Затем оставшиеся части ампликонов 44С, 44D можно денатурировать, при этом одноцепочечные матрицы 49 зонда остаются прикрепленными к проточной кювете 20. Как показано на Фиг. 4F, одноцепочечные матрицы 49 зонда включают первые захватывающие праймеры 22 и по меньшей мере один определяющий зонд отрезок, который в этом примере полностью или частично включает отрезок СС14, а также отрезки СС28 и СС26.

[00151] Способ может дополнительно включать блокирование вторых захватывающих праймеров 24' перед секвенированием вдоль по меньшей мере одного определяющего зонд отрезка каждого из первых одноцепочечных матриц 49 зонда. Можно добавлять блокирующую группу (например, 3'-фосфат), которая прикрепляется к доступным 3'-концам вторых захватывающих праймеров 24' для предотвращения нежелательной достройки на этих праймерах 24'.

[00152] Со ссылкой на Фиг. 4F показано секвенирование по меньшей мере одного определяющего зонд отрезка одноцепочечных матриц 49 зонда. В данном примере по меньшей мере один определяющий зонд отрезок представляет собой отрезок СС26, который идентичен индексному секвенирующему участку 26.

[00153] Секвенирование по меньшей мере одного определяющего зонд отрезка включает введение праймера 50 для секвенирования, который гибридизируется с отрезком CC28, идентичным участку 28 сайта праймирования. Это праймер 50 для секвенирования обуславливает готовность к секвенированию по меньшей мере одного определяющего зонд отрезка, например СС26, одноцепочечной матрицы 49 зонда. Затем вдоль отрезка СС26 выполняют реакцию достройки оснований.

[00154] Основным химическим процессом для секвенирования может быть полимеризация (например, катализируемая ферментом полимеразой), как описано в настоящем документе со ссылкой на Фиг. 3G.

[00155] Для запуска первого цикла секвенирования один или более меченых нуклеотидов, ДНК-полимеразу и т.п. можно доставлять в проточную кювету 20 и т.п. или через нее, причем достройка праймера для секвенирования приводит к встраиванию меченого нуклеотида в формирующуюся цепь N26, образованную вдоль отрезка СС26 одноцепочечной матрицы 49 зонда. Такое встраивание можно обнаруживать с помощью события визуализации.

[00156] В некоторых примерах флуоресцентно-меченые нуклеотиды могут дополнительно обладать свойством обратимой терминации, которое прекращает дальнейшую достройку праймера после добавления нуклеотида к формирующейся цепи N26. Таким образом, для примеров, в которых используют обратимую терминацию, в проточную кювету 20 можно подавать разблокирующий реагент и т.п. (после обнаружения).

[00157] Промывка (-и) может (могут) происходить между различными стадиями подачи текучей среды. Затем цикл секвенирования можно повторять n раз для достройки одноцепочечного матрицы 49 зонда на n нуклеотидов с образованием формирующейся цепи, включающей формирующийся отрезок N26 (который комплементарен отрезку СС26, который имеет ту же последовательность, что и индексный секвенирующий участок 26).

[00158] Секвенирование формирующейся цепи N26 можно использовать для определения отрезка СС26 и, таким образом, исходного индексного секвенирующего участка 26, который является уникальным для последовательности 14 зонда (и ее комплементарной копии С14). Эта информация позволяет пользователю определять целевой локус генотипирования, который будет анализироваться в конкретном углублении 38 (поскольку все матрицы 49 в углублении 38 имеют один и тот же определяющий зонд отрезок, например СС26, и отрезок последовательности зонда, например СС14).

[00159] После секвенирования определяющего (-их) зонд отрезка (-ов) способ дополнительно включает удаление по меньшей мере соответствующих формирующихся цепей (включая отрезок N26) из одноцепочечных матриц 49 зонда. В этом примере удаление включает денатурацию праймера 50 для секвенирования и формирующейся цепи N26.

[00160] Образец фрагментов однонитевой ДНК, включая целевой локус 54 генотипирования, вводят в проточную кювету 20, как показано на Фиг. 4Н. Целевой локус 54 генотипирования можно включать в текучую среду библиотеки, которая включает множество целевых локусов генотипирования, по меньшей мере некоторые из которых имеют разные генотипируемые локусы. Целевые локусы генотипирования можно получать из более крупного образца ДНК с использованием любой методики подготовки библиотеки генотипирования. Некоторые методики подготовки библиотек генотипирования включают амплификацию и фрагментацию. Другие включают амплификацию без фрагментации, как описано ниже в настоящем документе. Таким образом, в текучей среде библиотеки могут присутствовать несколько копий целевого локуса 54 генотипирования любого типа.

[00161] После введения в проточную кювету 20 целевые локусы 54 генотипирования гибридизируются с соответствующими комплементарными отрезками СС14 одноцепочечных матриц 49 зонда в углублении 38.

[00162] Затем можно выполнять реакцию генотипирования. В этой реакции одноцепочечную матрицу 49 зонда используют в качестве праймера для секвенирования для выполнения одного цикла секвенирования, как описано в настоящем документе. Как показано на Фиг. 4Н, один меченый нуклеотид 57, который комплементарен представляющему интерес нуклеотидному основанию на целевом локусе 54 генотипирования, встроен в одноцепочечную матрицу 49 зонда.

[00163] Хотя описание, представленное в настоящем документе, относится к одному углублению 38 и, таким образом, генотипированию одного целевого локуса 54 генотипирования, следует понимать, что каждое углубление 38 включает разные одноцепочечные матрицы 49 зонда с разными отрезками СС14. Таким образом, при использовании этого способа одновременно можно генотипировать от сотен до тысяч, до миллионов (в зависимости от количества углублений в проточной кювете 20) разных локусов.

[00164] В примерах, описанных в настоящем документе, вместо блокирования вторых захватывающих праймеров 24 или 24' во время секвенирования и/или генотипирования, эти праймеры 24 или 24' можно расщеплять после реакций декодирования с использованием процесса расщепления, который не будет иметь вредного влияния на подлежащие генотипированию матрицы 48 или 49.

[00165] Методика подготовки библиотеки генотипирования

[00166] Для получения целевого локуса 54 генотипирования можно использовать любую подходящую методику подготовки библиотеки генотипирования.

[00167] Целевой локус 54 генотипирования можно получать из геномной ДНК. Геномную ДНК можно выделять из одной или более клеток, физиологических жидкостей или тканей. Для получения биологической жидкости (например, крови, пота, слез, лимфы, мочи, слюны, спермы, спинномозговой жидкости, фекалий или амниотической жидкости) можно использовать любой подходящий способ. Некоторые конкретные примеры включают буккальный мазок, смыв из ротовой полости, хирургическое удаление, аспирационную биопсию или т.п. Геномную ДНК можно также получать из одной или более клеток или тканей в первичной культуре, в размноженной клеточной линии, фиксированном архивном образце, судебно-медицинском образце или археологическом образце.

[00168] гДНК можно получать путем лизиса клетки, которая содержит ДНК. Клетка может быть лизирована в условиях, которые по существу сохраняют целостность гДНК клетки. В одном конкретном примере для лизирования клетки можно использовать термический лизис. В другом конкретном примере для лизиса клетки можно применять воздействие щелочного рН на клетку, в результате при этом возникает относительно небольшое повреждение гДНК. Для лизирования можно использовать любое из множества основных соединений, включая, например, гидроксид калия, гидроксид натрия и т.п. Кроме того, из клетки, лизированной ферментом, расщепляющим клеточную стенку, можно получать относительно неповрежденную гДНК. Клетки, не имеющие клеточной стенки в естественных условиях или вследствие ферментативного удаления, также можно лизировать путем воздействия осмотического стресса. Другие условия, которые можно использовать для лизиса клетки, включают воздействие поверхностно-активных веществ, механическое разрушение, воздействие ультразвуком, перепад давлений, например, устройство по принципу «френч-пресс» или гомогенизация Даунса. В клеточный лизат или выделенный образец гДНК можно вносить агенты, которые стабилизируют гДНК, включая, например, ингибиторы нуклеазы, хелатирующие агенты, соли, буферы и т.п.

[00169] В некоторых примерах неочищенный клеточный лизат, содержащий гДНК, можно непосредственно амплифицировать без дополнительного выделения гДНК. Например, образец крови можно подвергать термическому лизированию, а затем неочищенный клеточный лизат можно амплифицировать любым подходящим способом, включая способы, описанные в настоящем документе. В альтернативном варианте осуществления гДНК можно дополнительно выделять из других клеточных компонентов до амплификации. Соответственно, амплификацию можно проводить на очищенной или частично очищенной гДНК. Геномную ДНК можно выделять с использованием известных способов, включая, например, жидкофазную экстракцию, осаждение, твердофазную экстракцию, хроматографию и т.п.

[00170] Амплифицированную репрезентативную популяцию фрагментов генома (целевые локусы 54 генотипирования) можно получать с помощью амплификации нативного генома в условиях, в которых реплицируется матрица геномной ДНК (гДНК), для получения одной или более копий, в которых относительная доля каждой скопированной последовательности по существу такая же, как ее доля в исходной гДНК. Для получения целевых локусов 54 генотипирования можно использовать любой из множества способов, обеспечивающих репликацию геномной ДНК независимым от последовательности образом. В примерах, описанных в настоящем документе, двухцепочечную геномную ДНК можно денатурировать с образованием матриц одноцепочечной геномной ДНК, которые можно использовать в процессах амплиф икации.

[00171] В одном конкретном примере способ амплификации включает приведение матрицы одноцепочечной геномной ДНК в контакт с полимеразой с низкой процессивностью, множеством праймеров и свободными нуклеотидами с образованием таким образом комплементарных фрагментов матрицы одноцепочечной геномной ДНК; и вытеснение комплементарных фрагментов из матрицы одноцепочечной геномной ДНК, с образованием таким образом по меньшей мере некоторых из соответствующих образцов.

[00172] Полимераза с низкой процессивностью может синтезировать короткие цепи, поскольку они естественным образом отпадают от матрицы одноцепочечной геномной ДНК до репликации всей цепи. Некоторые примеры полимеразы с низкой процессивностью могут синтезировать менее 100 оснований на событие полимеризации. Более короткие фрагменты можно получать с использованием полимеразы, которая синтезирует 50, 40, 30, 20, 10 или 5 оснований на событие полимеризации в условиях амплификации. Полимераза с низкой процессивностью выбрана из группы, состоящей из ДНК-полимеразы Т4, ДНК-полимеразы Т7, Taq-полимеразы, фрагмента Стоффеля (фрагмент ДНК-полимеразы Taq), фрагмента Кленова (большой фрагмент ДНК-полимеразы I Escherichia coli), ДНК-полимеразы Bsu, ДНК-полимеразы Bst и сконструированной полимеразы. В данном иллюстративном способе под термином «сконструированная полимераза» подразумевают собой любую синтетическую полимеразу, которая предназначена для синтеза менее 100 оснований на событие полимеризации. Другие подходящие полимеразы с низкой процессивностью включают мономерную полимеразу III (Pol III) (без бета-субъединицы) E. coli или полимеразу I (Pol I) E. Coli.

[00173] Процессивность некоторых полимераз можно менять с помощью используемых условий обработки. Например, процессивность можно менять температурой реакции, уровнем (например, ионной силой) соли (например, Mg2+) в реакции, рН, буферной композицией (например, креатинкиназа или цАМФ [циклический аденозинмонофосфат]) или их комбинациями. В качестве одного примера ДНК-полимераза Т7 имеет низкую процессивность при температурах ниже 37°С, а также при высокой ионной силе, например более около 100 мМ NaCl; однако в противном случае она обладает высокой процессивностью. В качестве другого примера Taq-полимераза обладает высокой процессивностью при температурах около 70°С при взаимодействии с образцами ДНК в 10-кратным молярным избытке и случайно выбранными праймерами. В другом примере полимеризацию фрагмента Кленова ДНК-полимеразы Escherichia coli можно замедлять путем уменьшения рН до значения ниже 6,2. Еще в одном примере эффективность ДНК-полимеразы Bacillus stearothermophilus (BST pol), ДНК pol семейства А, можно изменять в несколько раз посредством замены кофакторов-металлов, таких как Mg++ и Cd++.

[00174] Праймеры могут быть случайно выбранными праймерами. Популяцию случайно выбранных праймеров можно синтезировать таким образом, чтобы у нее было повышенное содержание нуклеотидов гуанина (G) и/или цитозина (С) по сравнению с нуклеотидами аденина (А) и тимидина (Т). Полученная популяция случайно выбранных праймеров будет богата GC и, следовательно, будет иметь более высокую вероятность гибридизации с областями генома с высоким содержанием GC, такими как кодирующие гены области генома человека, которые, как правило, имеют более высокое содержание GC, чем некодирующие области гДНК. Праймеры в популяции случайно выбранных праймеров могут также иметь область идентичной последовательности, такую как универсальный хвост. Универсальный хвост может включать универсальный сайт праймирования для амплификации.

[00175] В данном иллюстративном способе свободные нуклеотиды могут включать любой природный нуклеотид, такой как дезоксиаденинтрифосфат, дезокситиминтрифосфат, дезоксигуанинтрифосфат и дезоксицитозинтрифосфат.

[00176] Приведение матрицы одноцепочечной геномной ДНК в контакт с полимеразой с низкой процессивностью, множеством праймеров и свободными нуклеотидами может включать смешивание различных компонентов и воздействие на них подходящих условий амплификации для используемой полимеразы с низкой процессивностью. В процессе амплификации праймеры прикрепляются к различным участкам матрицы одноцепочечной геномной ДНК, а полимераза с низкой процессивностью вводит комплементарные свободные нуклеотиды в матричную цепь в соответствии с последовательностью матричной цепи. Полимераза с низкой процессивностью естественным образом выпадает из матричной цепи обычно после репликации 100 оснований или менее. Реплицированные комплементарные фрагменты можно вытеснять с использованием, например, денатурации. Способ может включать повторение как приведения в контакт, так и вытеснения в заданном количестве циклов с образованием дополнительных комплементарных фрагментов в каждом из заданного количества циклов.

[00177] Ниже приведены примеры этого способа.

[00178] ДНК-полимеразу Т4 можно использовать для амплификации одноцепочечной или денатурированной гДНК, например, в 50 около мМ N-(2-гидроксиэтил)пиперазин-N'-(2-этансульфоновой кислоте) (HEPES) (рН 7,5), около 50 мМ Трис-HCl (рН 8,6) или около 50 мМ глицината (рН 9,7). Примеры реакционных смесей могут также включать около 50 мМ KCl, около 5 мМ MgCl2, около 5 мМ дитиотреитол (ДТТ), около 40 мкг/мл гДНК, около 0,2 мМ каждого дезоксинуклеозидтрифосфата (дНТФ), около 50 мкг/мл бычьего сывороточного альбумина (BSA), около 100 мкМ случайно выбранного праймера (n=6) и около 10 единиц ДНК-полимеразы Т4, инкубированной при 37°С в течение по меньшей мере одного часа. Циклическое изменение температуры можно использовать для смещения реплицированных цепей для множества циклов амплификации.

[00179] Taq-полимераза обладает низкой процессивностью при температурах ниже 70°С. Соответственно, небольшие фрагменты гДНК можно получать с использованием Taq-полимеразы при низкой температуре или при другом условии, при котором Taq имеет низкую процессивность. В другом примере фрагмент Стоффеля, в котором отсутствуют 289 N-концевых аминокислотных остатков Taq-полимеразы и который имеет низкую процессивность при 70°С, можно использовать для получения относительно небольших фрагментов гДНК. Taq или фрагмент Стоффеля можно использовать для амплификации матриц одноцепочечной или денатурированной ДНК, а для вытеснения реплицированных цепей во множестве циклов амплификации можно использовать циклическое изменение температуры.

[00180] Фрагмент Кленова можно использовать для изотермической амплификации генома с получением малых фрагментов геномной ДНК, например, в реакции с низким содержанием соли (I=0,085), инкубированной при температуре от около 5°С до 37°С. Примеры буферов и условий рН, которые можно использовать для амплификации гДНК фрагментом Кленова, включают, например, около 50 мМ Трис HCl (рН 7,5), около 5 мМ MgCl2, около 50 мМ NaCl, около 50 мкг/мл бычьего сывороточного альбумина (BSA), около 0,2 мМ каждого дНТФ, около 2 мкг случайно выбранного праймера (n=6), около 10 нг матрицы гДНК и около 5 единиц фрагмента Кленова, инкубированного при 37°С в течение около 16 часов. Аналогичные реакции можно проводить, когда один или более реакционных компонентов пропущен или замещен. Например, буфер можно заменять около 50 мМ фосфатом (рН 7,4) или можно использовать другие значения рН в диапазоне около от 7,0 до 7,8. В другом примере условия амплификации с использованием фрагмента Кленова могут включать, например, около 10 нг матрицы гДНК, около 2 мМ дНТФ, около 10 мМ MgCl2, около 0,5 Ед/мкл (микролитр) полимеразы, около 50 мкМ (микромолярного) случайно выбранного праймера (n=6) и изотермическую инкубацию при 37°С в течение 16 часов.

[00181] Другой пример способа амплификации, описанного в настоящем документе, включает приведение матрицы одноцепочечной геномной ДНК в контакт с полимеразой, множеством праймеров и смесью свободных нуклеотидов, включая природные нуклеотиды и дидезокситимидинтрифосфат (ддТТФ), с образованием таким образом усеченных комплементарных фрагментов матрицы одноцепочечной геномной ДНК; и вытеснение усеченных комплементарных фрагментов из матрицы одноцепочечной геномной ДНК, с образованием таким образом по меньшей мере некоторых из соответствующих образцов.

[00182] В данном примере можно использовать любую подходящую полимеразу. ддТТФ действует в качестве агента для усечения, и, таким образом, можно использовать полимеразу с высокой процессивностью. В этом иллюстративном способе можно использовать любую из полимераз, описанных в настоящем документе, пока условия обработки можно изменять таким образом, что полимераза демонстрирует более высокую процессивность (например, может синтезировать более 100 оснований на событие полимеризации). В одном примере полимераза с высокой процессивностью выбрана из группы, состоящей из ДНК-полимеразы Т4, ДНК-полимеразы Т7, Taq-полимеразы, фрагмента Стоффеля, фрагмента Кленова, ДНК-полимеразы Bsu, ДНК-полимеразы Bst и сконструированной полимеразы. В этом иллюстративном способе под термином «сконструированная полимераза» подразумевают любую синтетическую полимеразу, которая предназначена для синтеза более 100 оснований на событие полимеризации. Полимеразы с высокой процессивностью позволяют получать фрагменты длиной от 10 кб (килобаз) до 20 кб. Другие подходящие полимеразы с высокой процессивностью включают полимеразу Ф29.

[00183] В этом примере можно использовать любой из случайно выбранных праймеров, описанных в настоящем документе.

[00184] В этом иллюстративном способе свободные нуклеотиды в смеси включают природные нуклеотиды и дидезокситимидинтрифосфат (ддТТФ). Дидезокситимидинтрифосфат служит в качестве терминирующего синтез нуклеотида или усекающего агента. В примере природные нуклеотиды включают дезоксиаденинтрифосфат, дезокситиминтрифосфат, дезоксигуанинтрифосфат и дезоксицитозинтрифосфат.В примере смесь свободных нуклеотидов включает дезокситиминтрифосфат (дТТФ) и дидезокситимидинтрифосфат (ддТТФ) с соотношением в диапазоне от около 10: 5 до около 10: 0,01. Соотношение в пределах этого диапазона помогает обеспечить включение желаемого количества дезокситиминтрифосфата в полученные фрагменты до прекращения амплификации дидезокситимидинтрифосфатом. В одном конкретном примере соотношение дТТФ к ддТТФ составляет около 10:1.

[00185] Приведение матрицы одноцепочечной геномной ДНК в контакт с полимеразой, множеством праймеров и смесью свободных нуклеотидов может включать смешивание различных компонентов и воздействие на них подходящих условий амплификации для используемой полимеразы. Во время амплификации праймеры прикрепляются к различным участкам матрицы одноцепочечной геномной ДНК, а полимераза вводит комплементарные природные нуклеотиды в матричную цепь в соответствии с последовательностью матричной цепи. При введении дидезокситимидинтрифосфата (ддТТФ) вместо дезокситимидинтрифосфата (дТТФ) амплификация конкретной цепи прекращается. Таким образом, ддТТФ усекает реплицированный фрагмент ДНК. Отношение дТТФ к ддТТФ в смеси помогает обеспечить достаточную длину сгенерированных фрагментов для последующего анализа.

[00186] Реплицированные усеченные комплементарные фрагменты можно вытеснять, например, с использованием денатурации. Способ может включать повторение заданного количества циклов как приведения в контакт, так и вытеснения, для получения дополнительных усеченных комплементарных фрагментов в каждом из заданного количества циклов.

[00187] В этом иллюстративном способе можно использовать любой из буферов (например, HEPES, Трис-HCl, глицинат и т.д.), солей (например, KCl, MgCb и т.д.), окислительно-восстановительных реагентов (например, дитиотреитол) и/или стабилизаторов (например, бычий сывороточный альбумин [BSA]) в подходящих количествах для высокой процессивности.

[00188] В одном конкретном примере ДНК-полимераза Т7 имеет высокую процессивность в следующих условиях реакции: около 40 мМ Трис-HCl, рН 7,5, около 15 мМ MgCl2, около 25 мМ NaCl, около 5 мМ ДТТ, около 0,25 мМ каждого дНТФ, от около 0,00025 мМ до около 0,125 мМ ддТТФ, 50 мкг/мл одноцепочечной гДНК, около 100 мкМ случайного праймера (n=6), от около 0,5 до около 1 единицы ДНК-полимеразы Т7, температура реакции более 37°С.

[00189] В другом конкретном примере Taq-полимераза обладает высокой процессивностью при температурах около 70°С при взаимодействии с образцами ДНК в 10-кратным молярным избытке и случайно выбранными праймерами (n=6). Реакция амплификации в этих условиях может дополнительно включать буфер, такой как трис-HCl при около 20 мМ, рН около 7, от около 1 мМ до 2 мМ MgCl2, около 0,2 мМ каждого дНТФ и от около 0,0002 мМ до около 0,1 мМ ддТТФ. Кроме того, можно добавлять стабилизирующий агент, такой как глицерин, желатин, BSA или неионное поверхностно-активное вещество.

[00190] В еще одном конкретном примере фрагмент Кленова обладает высокой процессивностью в следующих условиях реакции: около 10 мМ Трис-HCl, рН 7,9, около 10 мМ MgCl2, около 50 мМ NaCl, около 1 мМ ДТТ и около 100 г/моль BSA.

[00191] В еще одном конкретном примере ДНК-полимераза Bst обладает высокой процессивностью в следующих условиях реакции: около 20 мМ Трис-HCl, рН 8,8, около 10 мМ (NH4)2SO4, около 10 мМ KCl, около 2 мМ MgSO4 и около 0,1% неионогенного поверхностно-активного вещества (например, TRITON™ Х-100 производства The Dow Chemical Co.).

[00192] Оба процесса амплификации, описанные в настоящем документе, генерируют множество фрагментов гДНК без необходимости применения процесса фрагментации. Одноцепочечная гДНК служит матрицей для нескольких целевых локусов 54 генотипирования, и генерируется несколько ампликонов каждого целевого локуса 54 генотипирования. При введении в проточную кювету 20 с подлежащими генотипированию матрицами 48 или 49 амплифицированные фрагменты гДНК (целевые локусы 54 генотипирования) гибридизируются с соответствующими комплементарными участками генотипируемых матриц 48 или 49.

[00193] Наборы

[00194] Генотипирующие нуклеотиды 10 или 10' и проточная кювета 20 могут быть частью набора для генотипирования.

[00195] В одном примере набор содержит: проточную кювету 20, включающую подложку 30, 30', имеющую углубления 38, разделенные промежуточными областями 40, и первый и второй захватывающие праймеры 22, 24 или 22, 24', прикрепленные внутри каждого из углублений 38; и текучую среду зонда генотипирования, включающую жидкий носитель и генотипирующий олигонуклеотид 10 или 10' в жидком носителе, причем генотипирующий олигонуклеотид 10 или 10' включает первую последовательность 12 праймера, последовательность 14 зонда, представляющую целевой локус 54 генотипирования, сайт 16, 16' эндонуклеазы рестрикции и вторую последовательность 18, 18' праймера, которая по меньшей мере частично комплементарна второму захватывающему праймеру 24, 24'. [00196] Набор может также включать компоненты подготовки библиотеки генотипирования, такие как образец целого генома, полимераза (которая может представлять собой полимеразу с низкой процессивностью, как определено в настоящем документе), множество праймеров и свободные нуклеотиды (в некоторых примерах включая природные нуклеотиды, а в других примерах включая смесь природных нуклеотидов и дидезокситимидинтрифосфата [ддТТФ]).

[00197] В наборе можно использовать любой пример генотипирующего олигонуклеотида 10 или 10', и в наборе можно использовать любой пример проточной кюветы 20.

[00198] В альтернативном варианте осуществления набор может включать неструктурированную проточную кювету с праймерами по всей поверхности проточного канала.

[00199] дополнительные примечания

[00200] Следует понимать, что все комбинации вышеуказанных концепций и дополнительных концепций, более подробно описанных ниже (при условии, что такие концепции не являются взаимно противоречащими), рассматриваются как часть обладающего признаками изобретения объекта изобретения, описанного в настоящем документе. В частности, все комбинации заявленного объекта изобретения, появляющиеся в конце данного описания, считаются частью обладающего признаками изобретения объекта изобретения, описанного в настоящем документе. Следует также понимать, что терминология, явно используемая в настоящем документе, которая также может присутствовать в любом описании, включенном в настоящий документ посредством ссылки, должна иметь значение, наиболее соответствующее конкретным концепциям, описанным в настоящем документе.

[00201] Хотя подробно описано несколько примеров, следует понимать, что описанные примеры могут быть изменены. Таким образом, представленное выше описание следует рассматривать как не имеющее ограничительного характера.

--->

ПЕРЕЧЕНЬ ПОСЛЕДОВАТЕЛЬНОСТЕЙ

<110> Illumina Cambridge Ltd.

Illumina, Inc.

<120> НАБОРЫ ДЛЯ ГЕНОТИПИРОВАНИЯ

<130> IP-1897-PCT

<150> 62/981866

<151> 26.02.2020 г.

<160> 3

<170> PatentIn, версия 3.5

<210> 1

<211> 20

<212> ДНК

<213> Искусственная последовательность

<220>

<223> Синтезированная

<400> 1

aatgatacgg cgaccaccga 20

<210> 2

<211> 21

<212> ДНК

<213> Искусственная последовательность

<220>

<223> Синтезированная

<400> 2

caagcagaag acggcatacg a 21

<210> 3

<211> 21

<212> ДНК

<213> Искусственная последовательность

<220>

<223> Синтезированная

<400> 3

gttcgtcttc tgccgtatgc t 21

<---

Похожие патенты RU2835967C2

название год авторы номер документа
АНАЛИЗ МНОЖЕСТВА АНАЛИТОВ С ИСПОЛЬЗОВАНИЕМ ОДНОГО АНАЛИЗА 2019
  • Стимерс, Фрэнк Дж.
  • Чжан, Фань
  • Похолок, Дмитрий К.
  • Норберг, Стивен
RU2824049C2
СПОСОБЫ И КОМПОЗИЦИИ ДЛЯ ОПРЕДЕЛЕНИЯ ЛИГАНДОВ НА МАТРИЦАХ С ИСПОЛЬЗОВАНИЕМ ИНДЕКСОВ И ШТРИХКОДОВ 2020
  • Сегейл, Даррен
  • Блэк, Фиона Э.
  • Бродин, Джеффри Деннис
  • Берти, Лоренцо
  • Леонг, Сью Хонг
  • Фишер, Джеффри С.
  • Экхардт, Аллен
  • Чжан, Жуй
  • Тео, Инь Нах
RU2825578C1
СПОСОБЫ И КОМПОЗИЦИИ ДЛЯ ОПРЕДЕЛЕНИЯ ЛИГАНДОВ НА МАТРИЦАХ С ИСПОЛЬЗОВАНИЕМ ИНДЕКСОВ И ШТРИХКОДОВ 2019
  • Берти, Лоренцо
  • Блэк, Фиона Э.
  • Бродин, Джеффри Деннис
  • Фишер, Джеффри
  • Леонг, Сью Хонг
  • Сегейл, Даррен
RU2816708C2
МОДУЛЯЦИЯ ПОЛИМЕРНЫХ ГРАНУЛ ДЛЯ ОБРАБОТКИ ДНК 2019
  • Норберг, Стивен
  • Похолок, Дмитрий К.
  • Рамджи, Рамеш
  • Стимерс, Фрэнк Дж.
  • Чжан, Фань
RU2822154C2
СПОСОБЫ И КОМПОЗИЦИИ ДЛЯ ПОЛУЧЕНИЯ БИБЛИОТЕК НУКЛЕИНОВЫХ КИСЛОТ 2018
  • Чэнь, Си-Цзюнь
  • Хурана, Тарун
RU2788402C2
МОЛЕКУЛА СУБСТРАТА 2016
  • Джудис, Стивен, А.
RU2755495C2
СИНХРОНИЗИРОВАННАЯ КЛАСТЕРНАЯ ВИЗУАЛИЗАЦИЯ БИБЛИОТЕКИ АМПЛИФИЦИРОВАННЫХ ФРАГМЕНТОВ ГЕНОМНОЙ ДНК С СОХРАНЕННОЙ НЕПРЕРЫВНОСТЬЮ 2020
  • Моррелл, Натали
  • Слаттер, Эндрю
  • Томсон, Вики
RU2827832C2
НАБОР ОЛИГОНУКЛЕОТИДНЫХ ПРАЙМЕРОВ И ЗОНДОВ ДЛЯ ГЕНОТИПИРОВАНИЯ ПОЛИМОРФНЫХ ЛОКУСОВ ДНК, АССОЦИИРОВАННЫХ С РИСКОМ РАЗВИТИЯ СПОРАДИЧЕСКОЙ ФОРМЫ БОЛЕЗНИ АЛЬЦГЕЙМЕРА В РОССИЙСКИХ ПОПУЛЯЦИЯХ 2014
  • Наседкина Татьяна Васильевна
  • Гра Ольга Алексеевна
  • Низамутдинов Игорь Игоревич
  • Заседателев Александр Сергеевич
RU2600874C2
СПОСОБ ДИАГНОСТИКИ НАСЛЕДСТВЕННОЙ ПРЕДРАСПОЛОЖЕННОСТИ К ТРОМБОФИЛИИ 2007
  • Воронина Елена Николаевна
  • Филипенко Максим Леонидович
RU2352641C1
ПРЯМОЙ ЗАХВАТ, АМПЛИФИКАЦИЯ И СЕКВЕНИРОВАНИЕ ДНК-МИШЕНИ С ИСПОЛЬЗОВАНИЕМ ИММОБИЛИЗИРОВАННЫХ ПРАЙМЕРОВ 2011
  • Мюллюкангас Самуэль
  • Буенростро Джейсон
  • Джи Хэнли П.
RU2565550C2

Иллюстрации к изобретению RU 2 835 967 C2

Реферат патента 2025 года НАБОРЫ ДЛЯ ГЕНОТИПИРОВАНИЯ

Группа изобретений относится к области химии и молекулярной биологии. 1 объект представляет собой набор для получения моноклонального кластера ампликонов с уникальным целевым локусом для генотипирования, содержащий проточную кювету, включающую подложку и первый и второй захватывающие праймеры, прикрепленные к подложке; и текучую среду зонда генотипирования, включающую жидкий носитель и генотипирующий олигонуклеотид в жидком носителе, причем генотипирующий олигонуклеотид включает первую последовательность праймера, участок индексной последовательности, непосредственно прикрепленный к первой последовательности праймера, участок сайта праймирования, непосредственно прикрепленный к участку индексной последовательности, последовательность зонда, непосредственно прикрепленную к участку сайта праймирования, причем последовательность зонда представляет собой целевой локус генотипирования, имеющий представляющее интерес нуклеиновое основание, сайт эндонуклеазы рестрикции и вторую последовательность праймера, которая по меньшей мере частично комплементарна второму захватывающему праймеру. 2 объект – способ получения моноклонального кластера ампликонов с уникальным целевым локусом для генотипирования. Технический результат заключается в обеспечении генотипирования нескольких различных целевых локусов на любой поверхности проточной кюветы, которая использует клонально амплифицированные кластеры, без необходимости добавления дополнительных компонентов иммобилизации. 2 н. и 17 з.п. ф-лы, 4 ил., 2 пр.

Формула изобретения RU 2 835 967 C2

1. Набор для получения моноклонального кластера ампликонов с уникальным целевым локусом для генотипирования, содержащий:

проточную кювету, включающую:

подложку; и

первый и второй захватывающие праймеры, прикрепленные к подложке; и

текучую среду зонда генотипирования, включающую:

жидкий носитель; и

генотипирующий олигонуклеотид в жидком носителе, причем генотипирующий олигонуклеотид включает:

первую последовательность праймера;

участок индексной последовательности, непосредственно прикрепленный к первой последовательности праймера;

участок сайта праймирования, непосредственно прикрепленный к участку индексной последовательности;

последовательность зонда, непосредственно прикрепленную к участку сайта праймирования, причем последовательность зонда представляет собой целевой локус генотипирования, имеющий представляющее интерес нуклеиновое основание, причем последнее основание последовательности зонда представляет собой нуклеиновое основание целевого локуса генотипирования, которое расположено непосредственно рядом с представляющим интерес нуклеиновым основанием;

сайт эндонуклеазы рестрикции; и

вторую последовательность праймера, которая по меньшей мере частично комплементарна второму захватывающему праймеру;

причем:

сайт эндонуклеазы рестрикции расположен между последовательностью зонда и второй последовательностью праймера; или

последовательность зонда непосредственно прикреплена ко второй последовательности праймера, а сайт эндонуклеазы рестрикции интегрирован во вторую последовательность праймера на расстоянии расщепления от последнего основания последовательности зонда.

2. Набор по п. 1, в котором генотипирующий олигонуклеотид включает множество различных генотипирующих олигонуклеотидов, и при этом каждый из различных генотипирующих олигонуклеотидов включает последовательность зонда, отличную от последовательности каждого другого из различных генотипирующих олигонуклеотидов.

3. Набор по одному из пп. 1 или 2, в котором второй захватывающий праймер включает сайт расщепления.

4. Набор по п. 3, в котором сайт эндонуклеазы рестрикции чувствителен к эндонуклеазе рестрикции, выбранной из группы, состоящей из отщепляющей эндонуклеазы рестрикции по 4 основаниям, отщепляющей эндонуклеазы рестрикции по 5 основаниям и отщепляющей эндонуклеазы рестрикции по 6 основаниям.

5. Набор по одному из пп. 1-4, в котором:

подложка имеет углубления, разделенные промежуточными областями; и

первый и второй захватывающие праймеры прикреплены внутри каждого из углублений.

6. Способ получения моноклонального кластера ампликонов с уникальным целевым локусом для генотипирования, включающий:

введение текучей среды зонда генотипирования в проточную кювету, включающую первый и второй захватывающие праймеры, причем текучая среда зонда генотипирования включает множество различных генотипирующих олигонуклеотидов, при этом каждый из различных генотипирующих олигонуклеотидов включает:

первую последовательность праймера;

уникальный участок индексной последовательности, непосредственно прикрепленный к первой последовательности праймера;

участок сайта праймирования, непосредственно прикрепленный к участку индексной последовательности;

уникальную последовательность зонда, непосредственно прикрепленную к участку сайта праймирования, причем уникальная последовательность зонда представляет собой целевой локус генотипирования, имеющий представляющее интерес нуклеиновое основание, при этом последнее основание последовательности зонда представляет собой нуклеиновое основание целевого локуса генотипирования, которое расположено непосредственно рядом с представляющим интерес нуклеиновым основанием;

сайт эндонуклеазы рестрикции; и

вторую последовательность праймера, которая по меньшей мере частично комплементарна второму захватывающему праймеру;

причем:

сайт эндонуклеазы рестрикции расположен между последовательностью зонда и второй последовательностью праймера; или

последовательность зонда непосредственно прикреплена ко второй последовательности праймера, а сайт эндонуклеазы рестрикции интегрирован во вторую последовательность праймера на расстоянии расщепления от последнего основания последовательности зонда;

благодаря этому каждый из различных генотипирующих олигонуклеотидов вступает в реакцию с образованием уникальной клональной популяции ампликонов из каждого из различных генотипирующих олигонуклеотидов;

линеаризацию ампликонов с получением матриц зонда;

секвенирование по меньшей мере одного определяющего зонд отрезка матриц зонда для определения каждой из последовательностей зонда;

удаление по меньшей мере формирующихся цепей из матриц зонда, благодаря чему на конце матриц зонда становится доступной 3' OH-группа;

гибридизацию различных образцов с матрицами зонда; и

проведение реакций генотипирования образцов на доступных 3' OH-группах.

7. Способ по п. 6, в котором линеаризация ампликонов включает:

расщепление ампликонов, прикрепленных ко вторым захватывающим праймерам, на сайтах расщепления вторых захватывающих праймеров; и

денатурацию расщепленных участков ампликонов, прикрепленных ко вторым захватывающим праймерам, с получением матриц зонда.

8. Способ по п. 7, в котором секвенирование по меньшей мере одного определяющего зонд отрезка матриц зонда включает проведение реакции достройки оснований вдоль по меньшей мере одного определяющего зонд отрезка с использованием второго захватывающего праймера в качестве праймера для секвенирования.

9. Способ по п. 8, в котором удаление по меньшей мере формирующихся цепей из матриц зонда включает:

расщепление сайтов эндонуклеазы рестрикции; и

денатурацию оставшейся формирующейся цепи из матриц зонда.

10. Способ по одному из пп. 6-9, дополнительно включающий сопоставление каждой определенной последовательности зонда с одной из различных клональных популяций ампликонов.

11. Способ по одному из пп. 6-10, дополнительно включающий перед гибридизацией различных образцов к матрицам зонда получение различных образцов путем:

приведения матрицы одноцепочечной геномной ДНК в контакт с полимеразой с низкой процессивностью, множеством праймеров и свободными нуклеотидами с образованием таким образом комплементарных фрагментов матрицы одноцепочечной геномной ДНК; и

вытеснения комплементарных фрагментов из матрицы одноцепочечной геномной ДНК с образованием таким образом по меньшей мере некоторых из различных образцов.

12. Способ по п. 11, дополнительно включающий денатурацию двухцепочечной геномной дезоксирибонуклеиновой кислоты (ДНК) с образованием таким образом матрицы одноцепочечной геномной ДНК.

13. Способ по п. 11, дополнительно включающий повторение заданного количества циклов как приведения в контакт, так и вытеснения с образованием дополнительных комплементарных фрагментов в каждом из заданного количества циклов.

14. Способ по п. 11, в котором полимераза с низкой процессивностью выбрана из группы, состоящей из ДНК-полимеразы T4, ДНК-полимеразы T7, Taq-полимеразы, фрагмента Стоффеля, фрагмента Кленова, ДНК-полимеразы Bsu, ДНК-полимеразы Bst и сконструированной полимеразы.

15. Способ по одному из пп. 6-10, дополнительно включающий перед гибридизацией различных образцов к матрицам зонда получение различных образцов путем:

приведения матрицы одноцепочечной геномной ДНК в контакт с полимеразой, множеством праймеров и смесью свободных нуклеотидов, включая природные нуклеотиды и дидезокситимидинтрифосфат, с образованием таким образом усеченных комплементарных фрагментов матрицы одноцепочечной геномной ДНК; и

вытеснения усеченных комплементарных фрагментов из матрицы одноцепочечной геномной ДНК с образованием таким образом по меньшей мере некоторых из различных образцов.

16. Способ по п. 15, в котором природные нуклеотиды включают дезоксиаденинтрифосфат, дезокситиминтрифосфат, дезоксигуанинтрифосфат и дезоксицитозинтрифосфат, и при этом смесь свободных нуклеотидов включает дезокситиминтрифосфат и дидезокситимидинтрифосфат с соотношением в диапазоне от около 10 : 5 до около 10 : 0,01.

17. Способ по п. 15, дополнительно включающий денатурацию двухцепочечной геномной дезоксирибонуклеиновой кислоты (ДНК) с образованием таким образом матрицы одноцепочечной геномной ДНК.

18. Способ по п. 15, дополнительно включающий повторение заданного количества циклов как приведения в контакт, так и вытеснения с образованием дополнительных усеченных комплементарных фрагментов в каждом из заданного количества циклов.

19. Способ по п. 15, в котором полимераза выбрана из группы, состоящей из ДНК-полимеразы T4, ДНК-полимеразы T7, Taq-полимеразы, фрагмента Стоффеля, фрагмента Кленова, ДНК-полимеразы Bsu, ДНК-полимеразы Bst и сконструированной полимеразы.

Документы, цитированные в отчете о поиске Патент 2025 года RU2835967C2

WO 2016075204 A1, 19.05.2016
US 2003148276 A1, 07.08.2003
US 2015133312 A1, 14.05.2015
US 2005037393 A1, 17.02.2005
EP 3108010 B1, 28.11.2018.

RU 2 835 967 C2

Авторы

Слаттер, Эндрю

Вермаас, Эрик Ганс

Даты

2025-03-06Публикация

2021-02-24Подача