Область техники
[0001] Настоящее изобретение относится к устройству для испытаний шин.
Уровень техники
[0002] В качестве испытаний для оценки эксплуатационных характеристик шин известны ходовые/дорожные испытания, в которых испытываемые шины, например, устанавливают на ободьях колес специализированного испытательного транспортного средства и обеспечивают движение специализированного испытательного транспортного средства по реальным дорогам, и испытания в закрытом помещении (стендовые испытания), в которых используют устройство для испытаний, установленное в помещении. Стендовые испытания обеспечивают очень хорошую воспроизводимость/повторяемость по сравнению с дорожными испытаниями.
[0003] В публикации заявки на патент Японии №2015-72215 раскрыто примерное устройство для испытаний, подлежащее использованию при стендовых испытаниях шин. Устройство для испытаний, раскрытое в упомянутой публикации, включает в себя вращающийся барабан, на наружной периферийной поверхности которого образована поверхность имитирующего дорожного покрытия, и испытание выполняют посредством обеспечения вращения испытываемой шины и барабана в состоянии, в котором обеспечивается контакт испытываемой шины с поверхностью имитирующего дорожного покрытия.
Проблема, решаемая изобретением
[0004] Поскольку на эксплуатационные характеристики шины влияет состояние поверхностей дорог, требуется оценка эксплуатационных характеристики шины для поверхностей дорог в разных состояниях. Однако поскольку в известном устройстве для испытаний, предназначенном для стендовых испытаний, обеспечивается перемещение поверхности имитирующего дорожного покрытия с высокой скоростью во время испытания, затруднено выполнение испытания при состоянии поверхности дорожного покрытия, при котором поверхность дорожного покрытия покрыта дождевой водой, снегом, гравием или тому подобным.
[0005] Настоящее изобретение сделано с учетом вышеприведенного обстоятельства, и задача настоящего изобретения состоит в том, чтобы предложить устройство для испытаний шин, которое способно выполнять стендовые испытания при различных состояниях поверхности дорожного покрытия.
Средство решения проблемы
[0006] Согласно одному варианту осуществления настоящего изобретения предложено устройство для испытаний шин, включающее в себя поверхность дорожного покрытия и каретку, выполненную с возможностью удерживания испытательного колеса, на котором установлена испытываемая шина, с возможностью его вращения и способную перемещаться по поверхности дорожного покрытия в состоянии, в котором обеспечивается контакт испытываемой шины с поверхностью дорожного покрытия. Каретка включает в себя осевой компонент, который обеспечивает опору для испытательного колеса с возможностью вращения, и компонент для выравнивания, выполненный с возможностью регулирования выравнивания испытательного колеса посредством изменения ориентации осевого компонента. Компонент для выравнивания включает в себя компонент для регулирования нагрузки, выполненный с возможностью регулирования нагрузки, действующей на испытательное колесо, посредством изменения высоты осевого компонента. Компонент для регулирования нагрузки включает в себя первую подвижную раму, опертую с возможностью перемещения вверх и вниз, прямолинейную направляющую, которая обеспечивает направление перемещения первой подвижной рамы вверх и вниз, и первое приводное устройство, которое обеспечивает приведение первой подвижной рамы в движение вверх и вниз.
[0007] В вышеописанном устройстве для испытаний шин прямолинейная направляющая может включать в себя рельсовую направляющую и первый подвижный компонент, выполненный с возможностью перемещения по рельсовой направляющей, и один из компонентов, представляющих собой рельсовую направляющую и первый подвижный компонент, может быть прикреплен к первой подвижной раме.
[0008] В вышеописанном устройстве для испытаний шин каретка может включать в себя основную раму, имеющую часть с формой свода, которая предназначена для обеспечения опоры для механизма выравнивания и в которой размещается компонент для выравнивания.
[0009] В вышеописанном устройстве для испытаний шин другой из компонентов, представляющих собой рельсовую направляющую и первый подвижный компонент, может быть прикреплен к части, предназначенной для обеспечения опоры для механизма выравнивания.
[0010] В вышеописанном устройстве для испытаний шин компонент для выравнивания может включать в себя компонент для регулирования угла развала, выполненный с возможностью регулирования угла развала испытательного колеса, и компонент для регулирования угла развала может включать в себя вторую подвижную раму, опертую с возможностью поворота вокруг оси Еϕ, параллельной направлению движения каретки, и устройство для приведения в движение по ϕ, которое обеспечивает приведение второй подвижной рамы во вращательное движение вокруг оси Еϕ.
[0011] В вышеописанном устройстве для испытаний шин компонент для регулирования угла развала может включать в себя цилиндрическую первую ось поворота, расположенную коаксиально по отношению к оси Еϕ, и первый подшипник, который обеспечивает опору для первой оси поворота с возможностью ее поворота, и один из компонентов, представляющих собой первую ось поворота и первый подшипник, может быть прикреплен ко второй подвижной раме.
[0012] В вышеописанном устройстве для испытаний шин другой из компонентов, представляющих собой первую ось поворота и первый подшипник, может быть прикреплен к первой подвижной раме.
[0013] В вышеописанном устройстве для испытаний шин компонент для регулирования угла развала может включать в себя криволинейную направляющую, которая обеспечивает направление поворота второй подвижной рамы.
[0014] В вышеописанном устройстве для испытаний шин криволинейная направляющая может включать в себя дугообразную криволинейную рельсовую направляющую, расположенную концентрично по отношению к оси Еϕ, и второй подвижный компонент, выполненный с возможностью перемещения по криволинейной рельсовой направляющей, и один из компонентов, представляющих собой криволинейную рельсовую направляющую и второй подвижный компонент, может быть прикреплен ко второй подвижной раме.
[0015] В вышеописанном устройстве для испытаний шин компонент для выравнивания может включать в себя компонент для регулирования угла увода, выполненный с возможностью регулирования угла увода испытательного колеса. Компонент для регулирования угла увода может включать в себя третью подвижную раму, опертую с возможностью поворота вокруг оси Еθ, ортогональной к каждой из оси Еλ, представляющей собой ось вращения испытательного колеса, и оси Еϕ, и устройство для приведения в движение по θ, которое обеспечивает приведение третьей подвижной рамы во вращательное движение вокруг оси Еθ.
[0016] В вышеописанном устройстве для испытаний шин компонент для регулирования угла увода может включать в себя цилиндрическую вторую ось поворота, расположенную коаксиально по отношению к оси Еθ, и второй подшипник, который обеспечивает опору для второй оси поворота с возможностью ее поворота, и один из компонентов, представляющих собой вторую ось поворота и второй подшипник, может быть прикреплен к третьей подвижной раме.
[0017] В вышеописанном устройстве для испытаний шин осевой компонент может включать в себя шпиндель, третий подшипник, который обеспечивает опору для шпинделя с возможностью вращения шпинделя, и ступицу колеса, которая присоединена коаксиально к дальней концевой части шпинделя и к которой должно быть присоединено испытательное колесо.
[0018] Вышеописанное устройство для испытаний шин может включать в себя направляющий механизм, который обеспечивает направление перемещения каретки в направлении движения, направляющий механизм может включать в себя рельсовую направляющую, проходящую в направлении движения каретки, и подвижный элемент, прикрепленный к каретке и выполненный с возможностью перемещения по рельсовой направляющей, подвижный элемент может включать в себя ролик, выполненный с возможностью качения по рельсовой направляющей, и подшипник, который обеспечивает опору для ролика с возможностью вращения, и подшипник может представлять собой подшипник качения, включающий в себя тела качения, катящиеся по круговой дорожке качения.
В вышеописанном устройстве для испытаний шин подвижный элемент может включать в себя множество роликов, при этом множество роликов включает первый ролик, выполненный с возможностью качения по верхней поверхности головки рельсовой направляющей, и по меньшей мере один из второго ролика, выполненного с возможностью качения по нижней поверхности головки рельсовой направляющей, и третьего ролика, выполненного с возможностью качения по боковой поверхности головки рельсовой направляющей.
В вышеописанном устройстве для испытаний шин множество роликов может быть разделено на множество групп, при этом множество групп роликов могут быть расположены в направлении движения каретки, и каждая из групп роликов может включать в себя первый ролик и по меньшей мере один из второго ролика и третьего ролика.
В вышеописанном устройстве для испытаний шин подвижный элемент может включать в себя раму, присоединенную к каретке, и множество стержней, опирающихся на раму, и подшипник может включать в себя внутреннее кольцо, установленное с прилеганием к стержню, наружное кольцо, установленное с прилеганием к внутренней периферийной поверхности ролика, и множество тел качения, расположенных между наружной периферийной поверхностью внутреннего кольца и внутренней периферийной поверхностью наружного кольца.
Вышеописанное устройство для испытаний шин может включать в себя множество направляющих механизмов, включающее первый направляющий механизм и второй направляющий механизм, рельсовые направляющие которых расположены параллельно друг другу, и по меньшей мере один из второго ролика и третьего ролика первого направляющего механизма и второго направляющего механизма может быть расположен между рельсовыми направляющими первого направляющего механизма и второго направляющего механизма.
Вышеописанное устройство для испытаний шин может включать в себя множество направляющих механизмов, включающее первый направляющий механизм и второй направляющий механизм, рельсовые направляющие которых расположены параллельно друг другу, и рельсовые направляющие первого направляющего механизма и второго направляющего механизма могут быть расположены между по меньшей мере одним из второго ролика и третьего ролика первого направляющего механизма и по меньшей мере одним из второго ролика и третьего ролика второго направляющего механизма.
Вышеописанное устройство для испытаний шин может включать в себя компонент с поверхностью дорожного покрытия, имеющий поверхность дорожного покрытия, и по меньшей мере часть компонента с поверхностью дорожного покрытия может быть образована посредством сменного единичного элемента с поверхностью дорожного покрытия.
В вышеописанном устройстве для испытаний шин компонент с поверхностью дорожного покрытия может включать в себя основание и компонент, образующий дорожное покрытие, который предусмотрен на основании и на поверхности которого образована поверхность дорожного покрытия, и по меньшей мере часть компонента, образующего дорожное покрытие, может быть образована посредством по меньшей мере одного единичного элемента с поверхностью дорожного покрытия.
В вышеописанном устройстве для испытаний шин компонент с поверхностью дорожного покрытия может включать в себя компонент, образующий основную часть и имеющий основание, и компонент, образующий дорожное покрытие, который предусмотрен на основании и на поверхности которого образована поверхность дорожного покрытия, и по меньшей мере часть компонента, образующего основную часть, может быть образована посредством по меньшей мере одного единичного элемента с поверхностью дорожного покрытия.
В вышеописанном устройстве для испытаний шин компонент с поверхностью дорожного покрытия может включать в себя часть рамы, образующую бассейн вместе с основанием.
В вышеописанном устройстве для испытаний шин поверхность дорожного покрытия может представлять собой поверхность имитирующего дорожного покрытия, образованного из материалов, отличающихся от материалов поверхности реального дорожного покрытия.
Вышеописанное устройство для испытаний шин может включать в себя систему привода, которая обеспечивает приведение в движение испытательного колеса и каретки.
В вышеописанном устройстве для испытаний шин система привода может включать в себя средство приведения в движение каретки, предназначенное для приведения каретки в движение относительно поверхности дорожного покрытия с заданной скоростью.
В вышеописанном устройстве для испытаний шин система привода может включать в себя средство приведения в движение испытательного колеса, предназначенное для приведения в движение испытательного колеса. Средство приведения в движение испытательного колеса может быть выполнено с возможностью приведения испытательного колеса в движение со скоростью вращения, которая соответствует заданной скорости.
В вышеописанном устройстве для испытаний шин система привода может включать в себя первое средство генерирования мощности, которое генерирует мощность, подлежащую использованию для приведения в движение каретки и испытательного колеса.
В вышеописанном устройстве для испытаний шин система привода может включать в себя средство распределения мощности, которое распределяет мощность, генерированную первым средством генерирования мощности, по средству приведения в движение каретки и средству приведения в движение испытательного колеса.
В вышеописанном устройстве для испытаний шин система привода может включать в себя первый передаточный механизм с намотанным элементом, который передает мощность, генерированную первым средством генерирования мощности.
В вышеописанном устройстве для испытаний шин первый передаточный механизм с намотанным элементом может включать в себя ведущий шкив, соединенный с выходным валом первого средства генерирования мощности, ведомый шкив, удерживаемый кареткой и соединенный с испытательным колесом, и первый намотанный промежуточный элемент, намотанный вокруг ведущего шкива и ведомого шкива. Первый намотанный промежуточный элемент может иметь первую часть и вторую часть, натянутые в направлении движения каретки и приводимые в движение в направлениях, противоположных друг другу, и данная первая часть может охватывать ведомый шкив, и данная вторая часть может быть прикреплена к каретке.
В вышеописанном устройстве для испытаний шин система привода может включать в себя вспомогательный компонент для передачи мощности, соединенный с первым передаточным механизмом с намотанным элементом для передачи по меньшей мере части мощности, передаваемой первым передаточным механизмом с намотанным элементом, приводному колесу.
В вышеописанном устройстве для испытаний шин ведомый шкив может быть присоединен к входному валу вспомогательного компонента для передачи мощности.
В вышеописанном устройстве для испытаний шин система привода может включать в себя два первых средства генерирования мощности, первый передаточный механизм с намотанным элементом может включать в себя два ведущих шкива, соединенных соответственно с выходными валами двух первых средств генерирования мощности, и первый намотанный промежуточный элемент может образовывать петлю и может быть намотан вокруг двух ведущих шкивов и ведомого шкива.
В вышеописанном устройстве для испытаний шин первый намотанный промежуточный элемент может представлять собой зубчатый ремень, имеющий корды, образованные из стальной проволоки.
В вышеописанном устройстве для испытаний шин первый намотанный промежуточный элемент может представлять собой зубчатый ремень, имеющий углеродные корды.
Вышеописанное устройство для испытаний шин может включать в себя основание, к которому присоединены рельсовые направляющие.
В вышеописанном устройстве для испытаний шин средство приведения в движение испытательного колеса может включать в себя второе средство генерирования мощности, которое генерирует мощность для приведения испытательного колеса во вращательное движение.
В вышеописанном устройстве для испытаний шин средство приведения в движение испытательного колеса может включать в себя средство соединения мощности, которое обеспечивает соединение мощности, генерированной первым средством генерирования мощности и вторым средством генерирования мощности.
В вышеописанном устройстве для испытаний шин первое средство генерирования мощности может включать в себя первый двигатель, установленный на основании, и второе средство генерирования мощности может включать в себя второй двигатель, установленный на каретке.
В вышеописанном устройстве для испытаний шин средство приведения в движение испытательного колеса может включать в себя средство сообщения вращательного движения, которое обеспечивает сообщение вращательного движения со скоростью вращения, которая соответствует скорости каретки, и средство приложения крутящего момента, которое обеспечивает приложение заданного крутящего момента к испытательному колесу посредством изменения фазы вращательного движения, сообщаемого от средства сообщения вращательного движения.
В вышеописанном устройстве для испытаний шин средство сообщения вращательного движения может включать в себя первый двигатель, установленный на основании, и средство приложения крутящего момента может включать в себя второй двигатель, установленный на каретке.
В вышеописанном устройстве для испытаний шин средство приложения крутящего момента может включать в себя средство соединения мощности, которое обеспечивает соединение мощности, генерированной первым двигателем, и мощности, генерированной вторым двигателем.
В вышеописанном устройстве для испытаний шин средство приложения крутящего момента может включать в себя вращающуюся раму, к которой присоединен второй двигатель и которая приводится во вращательное движение за счет мощности, генерированной первым двигателем, и вал, приводимый в движение посредством второго двигателя, и вал и вращающаяся рама могут быть расположены концентрично.
В вышеописанном устройстве для испытаний шин средство приложения крутящего момента может включать в себя два опорных компонента, которые обеспечивают опору для вращающейся рамы с возможностью ее вращения. Вращающаяся рама может быть цилиндрической и может иметь часть для размещения двигателя, в которой размещается второй двигатель, и две части в виде валов, предусмотренные с обеих сторон части для размещения двигателя, определяемых в аксиальном направлении, и имеющие диаметр, который меньше диаметра части для размещения двигателя. Вращающаяся рама в зоне двух частей в виде валов может опираться с возможностью вращения на два подшипника. Одна из частей в виде валов может быть цилиндрической, вал может проходить через полую часть части, имеющей вид вала, и подшипник, который обеспечивает опору для вала с возможностью вращения, предусмотрен на внутренней периферии части в виде вала.
В вышеописанном устройстве для испытаний шин вспомогательный компонент для передачи мощности может включать в себя второй вал, приводимый в движение с помощью средства приложения крутящего момента, подшипник, который обеспечивает опору для второго вала с возможностью вращения, и шарнир скользящего типа, предназначенный для передачи вращения с постоянной угловой скоростью и обеспечивающий соединение второго вала и шпинделя.
В вышеописанном устройстве для испытаний шин средство приведения в движение испытательного колеса может включать в себя основной компонент для передачи мощности, который обеспечивает передачу мощности, переданной от средства сообщения вращательного движения, и вспомогательный компонент для передачи мощности, установленный на каретке и соединенный с основным компонентом, предназначенным для передачи мощности, для передачи мощности, переданной основным компонентом для передачи мощности, испытательному колесу. Основной компонент для передачи мощности может включать в себя первый передаточный механизм с намотанным элементом, и первый передаточный механизм с намотанным элементом может включать в себя два неподвижных шкива, расположенных на концах зоны, в которой может перемещаться каретка, подвижный шкив, удерживаемый кареткой, и первый намотанный промежуточный элемент, намотанный вокруг данных двух неподвижных шкивов и подвижного шкива. По меньшей мере один из неподвижных шкивов может представлять собой ведущий шкив, соединенный с выходным валом средства сообщения вращательного движения, и подвижный шкив может представлять собой ведомый шкив и может быть соединен с входным валом вспомогательного компонента для передачи мощности.
В вышеописанном устройстве для испытаний шин вспомогательный компонент для передачи мощности может включать в себя второй передаточный механизм с намотанным элементом. Второй передаточный механизм с намотанным элементом может включать в себя ведущий шкив, соединенный с подвижным шкивом первого передаточного механизма с намотанным элементом, ведомый шкив, соединенный с вращающейся рамой средства приложения крутящего момента, и второй намотанный промежуточный элемент, намотанный вокруг ведущего шкива и ведомого шкива второго передаточного механизма с намотанным элементом.
В вышеописанном устройстве для испытаний шин вспомогательный компонент для передачи мощности может включать в себя шпиндель, опертый с возможностью вращения. Шпиндель может быть выполнен с такой конфигурацией, что испытательное колесо может быть присоединено к концевой части шпинделя коаксиально и с возможностью отсоединения, и шпиндель может включать в себя датчик силы, выполненный с возможностью измерения силы, приложенной к испытательному колесу.
В вышеописанном устройстве для испытаний шин каретка может включать в себя основную раму, поворотную раму, выполненную с возможностью поворота относительно основной рамы вокруг вертикальной линии, перпендикулярной к поверхности дорожного покрытия, и скользящую раму, выполненную с возможностью скольжения относительно основной рамы в вертикальном направлении, перпендикулярном к поверхности дорожного покрытия, и шпиндель может опираться на основную раму посредством поворотной рамы и скользящей рамы.
В вышеописанном устройстве для испытаний шин каретка может включать в себя криволинейную направляющую, которая обеспечивает направление поворота поворотной рамы вокруг вертикальной линии, и прямолинейную направляющую, которая обеспечивает направление перемещения скользящей рамы в вертикальном направлении.
В вышеописанном устройстве для испытаний шин скользящая рама может быть выполнена с возможностью обеспечения опоры для шпинделя с возможностью его вращения вокруг горизонтальной оси, перпендикулярной как к осевой линии шпинделя, так и к вертикальной линии.
В вышеописанном устройстве для испытаний шин каретка может включать в себя компонент для регулирования нагрузки, выполненный с возможностью регулирования нагрузки, действующей на испытательное колесо, посредством перемещения скользящей рамы в вертикальном направлении.
В вышеописанном устройстве для испытаний шин каретка может включать в себя компонент для регулирования угла увода, выполненный с возможностью регулирования угла увода испытательного колеса относительно поверхности дорожного покрытия посредством обеспечения поворота поворотной рамы вокруг вертикальной линии.
Вышеописанное устройство для испытаний шин может включать в себя компонент для регулирования угла развала, выполненный с возможностью регулирования угла развала испытательного колеса относительно поверхности дорожного покрытия посредством поворота шпинделя вокруг горизонтальной оси.
В вышеописанном устройстве для испытаний шин компонент для измерения нагрузки, определяющий распределение нагрузки, которую воспринимает поверхность протектора шины испытательного колеса, может быть предусмотрен на верхней поверхности компонента с поверхностью дорожного покрытия.
В вышеописанном устройстве для испытаний шин компонент для измерения нагрузки может включать в себя множество модулей измерения нагрузки, расположенных в узлах решетки, предусмотренных в направлении движения каретки и аксиальном направлении испытательного колеса.
В вышеописанном устройстве для испытаний шин каждый модуль измерения нагрузки может включать в себя датчик трех составляющих силы.
Вышеописанное устройство для испытаний шин может включать в себя средство измерения, которое определяет распределение нагрузки на основе результата измерения, полученного компонентом для измерения нагрузки. Средство измерения может рассчитывать радиальную силу, тангенциальную силу и поперечную силу, которые воспринимает протектор шины, на основе результатов измерения, полученных датчиком трех составляющих силы.
Вышеописанное устройство для испытаний шин может включать в себя средство хранения, предназначенное для сохранения определенного распределения нагрузки.
Вышеописанное устройство для испытаний шин может включать в себя средство, которое определяет положение испытательного колеса при перемещении в направлении движения каретки, и средство хранения может обеспечить сохранение определенного распределения нагрузки и положения испытательного колеса при перемещении в момент определения распределения нагрузки при увязке данного определенного распределения нагрузки с данным положением испытательного колеса при перемещении.
Вышеописанное устройство для испытаний шин может включать в себя средство, которое определяет угловое положение испытательного колеса, и средство хранения может обеспечить сохранение определенного распределения нагрузки и углового положения испытательного колеса в момент определения распределения нагрузки при увязке данного определенного распределения нагрузки с данным угловым положением испытательного колеса.
В вышеописанном устройстве для испытаний шин средство хранения может обеспечить сохранение распределения нагрузки и силы, действующей на испытательное колесо, которые определены в один и тот же момент времени, при увязке данного распределения нагрузки с данной силой.
Вышеописанное устройство для испытаний шин может включать в себя средство, которое определяет относительное положение модуля измерения нагрузки относительно положения испытательного колеса при перемещении, и может быть вычислено определяемое значение распределения нагрузки в зависимости от данного относительного положения.
В вышеописанном устройстве для испытаний шин определение распределения нагрузки может выполняться множество раз при обеспечении перемещения каретки, и определяемое значение распределения нагрузки может быть вычислено посредством усреднения множества результатов определения распределения нагрузки для каждого относительного положения.
В вышеописанном устройстве для испытаний шин определяемое значение распределения нагрузки может быть рассчитано посредством регрессионного анализа.
В вышеописанном устройстве для испытаний шин одна серия измерений с помощью компонента для измерения нагрузки может быть выполнена посредством перемещения каретки в одном направлении, и определяемое значение распределения нагрузки может быть вычислено на основе результатов, полученных при выполнении множества серий измерений компонентом для измерения нагрузки.
Вышеописанное устройство для испытаний шин может включать в себя средство, выполненное с возможностью изменения положения компонента, предназначенного для измерения нагрузки, в аксиальном направлении испытательного колеса.
Вышеописанное устройство для испытаний шин может включать в себя средство, выполненное с возможностью изменения положения компонента, предназначенного для измерения нагрузки, в направлении движения.
Эффект от изобретения
[0019] В соответствии с одним вариантом осуществления настоящего изобретения посредством обеспечения перемещения испытываемой шины по поверхности дорожного покрытия без обеспечения перемещения поверхности дорожного покрытия во время испытания можно выполнить стендовые испытания шины при различных состояниях поверхности дорожного покрытия.
Краткое описание чертежей
[0020] Фиг. 1 - вид справа устройства для испытаний шин согласно варианту осуществления настоящего изобретения;
Фиг. 2 - вид в плане устройства для испытаний шин согласно варианту осуществления настоящего изобретения;
Фиг. 3 - вид сзади устройства для испытаний шин согласно варианту осуществления настоящего изобретения;
Фиг. 4 - увеличенный вид (вид справа) устройства для испытаний шин согласно варианту осуществления настоящего изобретения;
Фиг. 5 - увеличенный вид (вид в плане) устройства для испытаний шин согласно варианту осуществления настоящего изобретения;
Фиг. 6 - схематическое изображение, показывающее расположение направляющих механизмов;
Фиг. 7 - вид в разрезе направляющего механизма (типа А);
Фиг. 8 - вид в разрезе направляющего механизма (типа В);
Фиг. 9 - схематическое изображение, показывающее соединительную часть элемента рельсовой направляющей;
Фиг. 10 - блок-схема, показывающая конфигурацию системы привода в виде логической схемы;
Фиг. 11 - схематическое изображение, показывающее конфигурацию основных компонентов системы привода в виде механической схемы;
Фиг. 12 - схематическое изображение, показывающее схематическую конструкцию приводного компонента и части с ведущим шкивом;
Фиг. 13 - вид в плане первого ведомого компонента;
Фиг. 14 - вид в разрезе по линии А-А с Фиг. 13;
Фиг. 15 - вид в разрезе по линии В-В с Фиг. 13;
Фиг. 16 - вид в разрезе по линии С-С с Фиг. 13;
Фиг. 17 - вид в разрезе второго ведомого компонента;
Фиг. 18 - вид в разрезе компонента для приложения крутящего момента;
Фиг. 19 - схематическое изображение, показывающее схематическую конструкцию компонента 40 для выравнивания;
Фиг. 20 - вид по стрелкам А-А с Фиг. 19;
Фиг. 21 - вид по стрелкам В-В с Фиг. 19;
Фиг. 22 - вид по стрелкам С-С с Фиг. 19;
Фиг. 23 - вид по стрелкам D-D с Фиг. 19;
Фиг. 24 - схематическое изображение, показывающее схематическую конструкцию осевого компонента;
Фиг. 25 - поперечное сечение компонента с поверхностью дорожного покрытия;
Фиг. 26 - поперечное сечение варианта компонента с поверхностью дорожного покрытия;
Фиг. 27 - вид в плане компонента с поверхностью дорожного покрытия в зоне вблизи компонента для измерения нагрузки;
Фиг. 28 - вид сбоку компонента с поверхностью дорожного покрытия в зоне вблизи компонента для измерения нагрузки;
Фиг. 29 - вид спереди компонента для измерения нагрузки;
Фиг. 30 - вид сбоку компонента для измерения нагрузки;
Фиг. 31 - вид в плане компонента для измерения нагрузки;
Фиг. 32 - вид в плане, показывающий состояние, в котором подвижная часть компонента для измерения нагрузки удалена;
Фиг. 33 - увеличенный вид зоны Е, показанной на Фиг. 18;
Фиг. 34 - схема последовательности операций, показывающая процедуру получения распределения нагрузки, действующей на протектор шины;
Фиг. 35 - схема последовательности операций, показывающая процедуру расчета профиля нагрузки;
Фиг. 36 - вид в плане, показывающий взаимное расположение модулей измерения нагрузки и оси вращения испытательного колеса в третьем варианте;
Фиг. 37 - примеры отображения профилей нагрузок; и
Фиг. 38 - блок-схема, показывающая схематическую конфигурацию системы управления.
Варианты осуществления изобретения
[0021] В дальнейшем вариант осуществления настоящего изобретения будет описан со ссылкой на чертежи. В нижеприведенном описании одни и те же или соответствующие компоненты обозначены одинаковыми или соответствующими ссылочными позициями, и дублирующие описания опущены в данном документе. Кроме того, на каждом чертеже в случае, когда показано множество элементов, имеющих одну и ту же ссылочную позицию, все из множества показанных элементов необязательно обозначены ссылочной позицией, и обозначение ссылочной позиции соответствующим образом опущено для некоторых из множества показанных элементов. Кроме того, на каждом чертеже часть конфигурации опущена или показана в сечении для удобства разъяснения.
[0022] Фиг. 1-3 представляют собой соответственно вид справа, вид в плане и вид сзади устройства 1 для испытаний шин согласно варианту осуществления настоящего изобретения. Фиг. 4 и 5 представляют собой увеличенные вид справа и вид в плане основной части устройства 1 для испытаний шин.
[0023] На видах в плане (Фиг. 2 и 5) направление справа налево задано как направление оси Х, направление сверху вниз задано как направление оси Y, и направление от задней стороны к передней стороне, перпендикулярное к поверхности бумаги, задано как направление оси Z. Направление оси Х и направление оси Y представляют собой горизонтальные направления, ортогональные друг к другу, и направление оси Z представляет собой вертикальное направление. Если не указано иное, направления вперед-назад, вправо-влево и вверх-вниз заданы как направления при рассмотрении направления движения каретки 20 (положительного направления оси Х). То есть положительное направление оси Х упоминается как направление вперед, отрицательное направление оси Х упоминается как направление назад, положительное направление оси Y упоминается как направление влево, отрицательное направление оси Y упоминается как направление вправо, положительное направление оси Z упоминается как направление вверх, и отрицательное направление оси Z упоминается как направление вниз. В отношении названий применительно к чертежам независимо от вышеприведенного определения боковая поверхность с правой стороны (положительное направление оси Y) по отношению к передней поверхности упоминается как правая поверхность, и боковая поверхность с левой стороны (отрицательное направление оси Y) по отношению к передней поверхности упоминается как левая поверхность.
[0024] Устройство 1 для испытаний шин включает в себя направляющий компонент 10 и компонент 60 с поверхностью дорожного покрытия, удлиненные в направлении оси Х, и каретку 20, которая выполнена с возможностью перемещения по направляющему компоненту 10 в направлении оси Х. Как показано на Фиг. 3, компонент 60 с поверхностью дорожного покрытия установлен на левой части основной рамы 11 (в дальнейшем упоминаемой как «основание 11») направляющего компонента 10. На верхней поверхности компонента 60 с поверхностью дорожного покрытия предусмотрена поверхность 63а дорожного покрытия, с которой контактирует испытываемая шина Т, установленная на каретке 20. В данном варианте осуществления компонент 60 с поверхностью дорожного покрытия присоединен к основанию 11 направляющего компонента 11 с возможностью съема, так что компонент 60 с поверхностью дорожного покрытия может быть заменен в соответствии с условиями испытаний. Основание 11 направляющего компонента 10 и рама 61 компонента 60 с поверхностью дорожного покрытия могут быть объединены в одно целое посредством сварки или тому подобного. В альтернативном варианте компонент 60 с поверхностью дорожного покрытия может быть установлен непосредственно на фундаменте F (Фиг. 3) для полного отделения компонента 60 с поверхностью дорожного покрытия от направляющего компонента 10.
[0025] Как показано на Фиг. 5, два стопора 13 для колес предусмотрены в передней концевой части направляющего компонента 10 рядом с приводными компонентами 14LB и 14RB, описанными позднее. Стопор 13 для колеса представляет собой устройство, которое при перемещении каретки 20 за установленные пределы сталкивается с кареткой 20 для принудительного останова каретки 20. Каждый стопор 13 для колеса включает в себя два буферных устройства гидравлического типа, которые ослабляют удар, возникающий во время столкновения с кареткой 20.
[0026] Как показано на Фиг. 3, к каретке 20 присоединено испытательное колесо W (то есть обод Wr колеса, на котором установлена испытываемая шина Т). Во время испытания каретка 20 перемещается в состоянии, в котором обеспечивается контакт испытательного колеса W с поверхностью 63а дорожного покрытия, и испытательное колесо W катится по поверхности 63а дорожного покрытия.
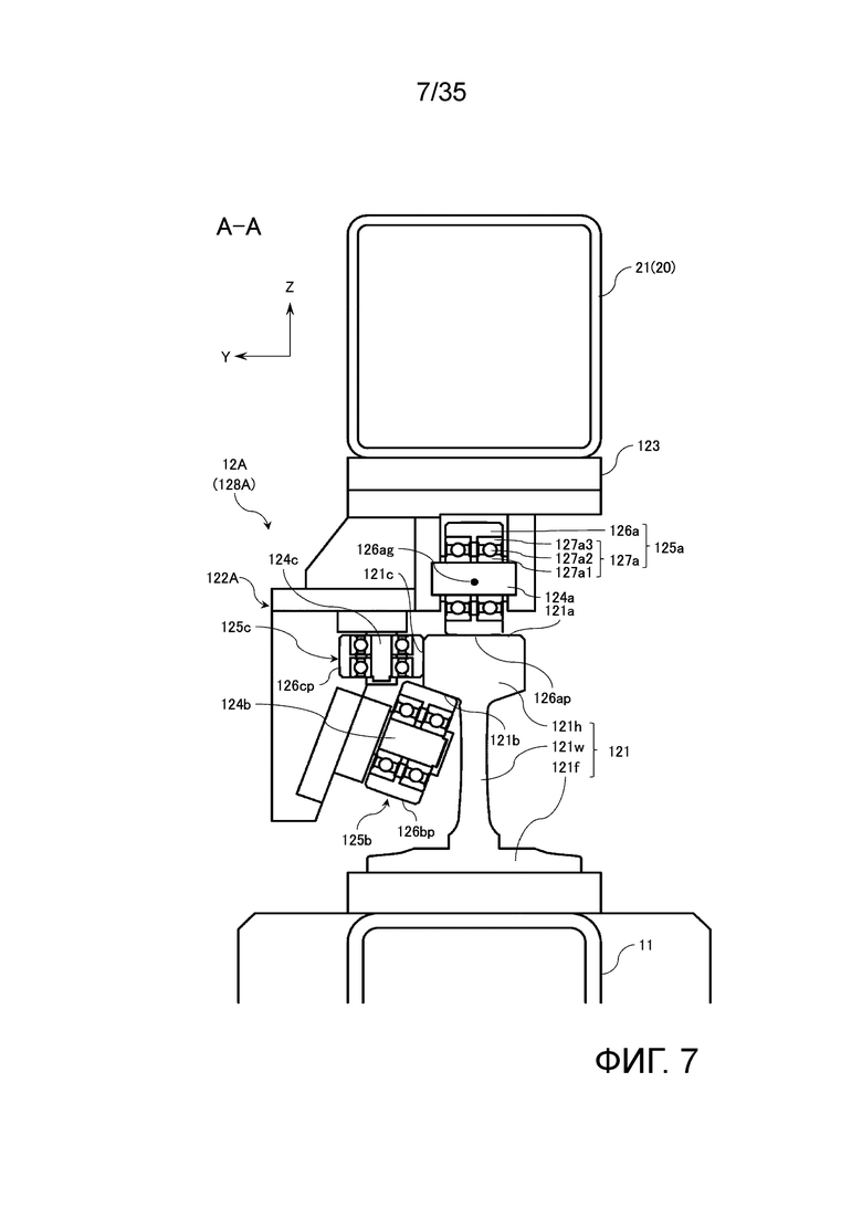
[0027] Как показано на Фиг. 3 и 5, направляющий компонент 10 включает в себя множество направляющих механизмов (в проиллюстрированном варианте осуществления три направляющих механизма) 12А, 12В и 12С, которые обеспечивают направление перемещения каретки 20 в направлении оси Х. Направляющие механизмы 12А, 12В и 12С расположены соответственно в левой концевой части, в части, центральной в направлении ширины (то есть в направлении оси Y), и в правой концевой части направляющего компонента 10.
[0028] Фиг. 6 представляет собой вид справа направляющего механизма 12А. Фиг. 7 и 8 представляют собой виды в разрезе соответствующих направляющих механизмов 12А и 12В. Поскольку направляющий механизм 12С является двусторонне симметричным относительно направляющего механизма 12А, в данном документе подробное описание направляющего механизма 12С опущено.
[0029] Каждый из направляющих механизмов 12А, 12В и 12С включает в себя одну рельсовую направляющую 121, которая образует направляющую, проходящую в направлении оси Х, и один или более подвижных компонентов (в проиллюстрированном варианте осуществления два подвижных компонента) 122А (Фиг. 7) и 122В (Фиг. 8) или 122С (не показан. Выполнен симметричным относительно подвижного компонента 122А направляющего механизма 12А), выполненных с возможностью перемещения по рельсовой направляющей 121. Как показано на Фиг. 6 в отношении подвижного компонента 122А, один из двух из подвижных компонентов 122А, 122В и 122С присоединен к передней концевой части нижней поверхности каретки 20, и другой присоединен к задней концевой части нижней поверхности каретки 20.
[0030] Как показано на Фиг. 7 и 8, рельсовая направляющая 121 расположена на основании 11 направляющего компонента 10. Каждый из подвижных компонентов 122А, 122В и 122С присоединен к нижней поверхности основной рамы 21 каретки 20.
[0031] Рельсовая направляющая 121 представляет рельсовую направляющую с плоской нижней поверхностью, имеющую головку 121h, нижнюю часть 121f, более широкую, чем головка 121h, и узкую часть 121w, которая соединяет головку 121h и нижнюю часть 121f. Рельсовая направляющая 121 по данному варианту осуществления представляет собой, например, термообработанный рельс (например, термообработанный рельс 50N-HH340), который соответствует Японскому промышленному стандарту JIS E 1120:2007 и который подвергнут дополнительной обработке. Термообработанный рельс представляет собой железнодорожный рельс, обладающий повышенной износостойкостью за счет применения термообработки для головки.
[0032] Как показано на Фиг. 7, подвижный компонент 122А направляющего механизма 12А включает в себя раму 123, длинную в направлении оси Х и присоединенную к нижней поверхности основной рамы 21 каретки 20, и множество роликовых устройств 128А, присоединенных к раме 123. Роликовое устройство 128А включает в себя три стержня 124а, 124b и 124с, присоединенных к раме 123, и три роликовых узла 125а, 125b и 125с, присоединенных к соответствующим стержням 124а, 124b и 124с. Три роликовых узла 125а, 125b и 125с каждого роликового устройства 128А расположены в одном и том же месте в направлении оси Х. Как показано на Фиг. 6, множество роликовых устройств 128А расположены с заданными интервалами в направлении оси Х.
[0033] Роликовые узлы 125b и 125с имеют такую же конфигурацию, как роликовый узел 125а (роликовый узел 125с отличается по размеру от роликового узла 125а). Следовательно, роликовый узел 125а будет описан как представитель данных компонентов, и дублирующие описания роликовых узлов 125b и 125c опущены в данном документе.
[0034] Как показано на Фиг. 7, роликовый узел 125а включает в себя ролик 126а, катящийся по рельсовой направляющей 121, и два подшипника 127а, которые обеспечивают опору для ролика 126а с возможностью его вращения. Подшипник 127а представляет собой подшипник качения, и в проиллюстрированном варианте осуществления используется шариковый подшипник.
[0035] В данном варианте осуществления наружная периферийная поверхность 126ар ролика 126а образована с цилиндрической формой, но может представлять собой криволинейную поверхность (например, сферическую поверхность, центром которой является центральная точка 126ag ролика 126a), имеющую кривизну в направлении оси вращения (то есть в продольном сечении, показанном на Фиг. 7 и включающем в себя ось вращения).
[0036] Подшипник 127а роликового узла 125а представляет собой, например, однорядный радиальный подшипник. Подшипник 127а включает в себя внутреннее кольцо 127а1, установленное с прилеганием к стержню 124а, наружное кольцо 127а3, установленное с прилеганием к внутренней периферийной поверхности ролика 126а, и шарики 127а2 в качестве множества тел качения, расположенных между внутренним кольцом 127a1 и наружным кольцом 127a3. Шарики 127а2 катятся по круговой дорожке качения, образованной двумя кольцевыми канавками, образованными соответственно на наружной периферийной поверхности внутреннего кольца 127a1 и на внутренней периферийной поверхности наружного кольца 127a3.
[0037] Роликовый узел 125а расположен так, что наружная периферийная поверхность 126ар контактирует с верхней поверхностью 121а головки (верхней поверхностью) рельсовой направляющей 121 и катится по верхней поверхности 121а головки при перемещении каретки 20. Роликовый узел 125b расположен так, что наружная периферийная поверхность 126bp контактирует с одной из нижних поверхностей 121b головки рельсовой направляющей 121 и катится по нижней поверхности 121b головки. Роликовый узел 125с расположен так, что наружная периферийная поверхность 126ср контактирует с одной из боковых поверхностей 121с головки рельсовой направляющей 121 и катится по боковой поверхности 121с головки.
[0038] В рельсовой направляющей 121 формы верхней поверхности 121а головки, нижних поверхностей 121b головки и боковых поверхностей 121с головки, контактирующих с соответствующими роликовыми узлами 125а, 125b и 125с, изменены до плоских поверхностей, и выполнена дополнительная обработка (например, шлифование и полирование) для повышения таких характеристик точности поверхности, как плоскостность и параллельность.
[0039] Как описано выше, направляющие механизмы 12А и 12С, присоединенные соответственно к левой и правой концевым частям каретки 20, выполнены двусторонне-симметричными. То есть направляющий механизм 12С такой же, как направляющий механизм 12А, и расположен так, что расположение правой и левой сторон изменено на противоположное (то есть «повернут» на 180 градусов вокруг вертикальной оси).
[0040] Как показано на Фиг. 8, подвижный компонент 122В направляющего механизма 12В включает в себя раму 123, присоединенную к нижней поверхности основной рамы 21 каретки 20, и множество роликовых устройств 128В, присоединенных к раме 123. Роликовое устройство 128В включает в себя два стержня 124а и 124b и два роликовых узла 125а и 125b. Стержень 124b и роликовый узел 125b расположены с левой стороны рельсовой направляющей 121 в подвижном компоненте 122А направляющего механизма 12А, при этом они расположены с правой стороны рельсовой направляющей 121 в подвижном компоненте 122В направляющего механизма 12В. То есть подвижный компонент 122В направляющего механизма 12В представляет собой компонент, полученный посредством исключения роликового узла 125с и стержня 124с из подвижного компонента 122А направляющего механизма 12А, описанного выше, и размещения при изменении расположения правой и левой сторон на противоположное. Однако подвижный компонент 122В направляющего механизма 12В может включать в себя роликовый узел 125с и стержень 124с.
[0041] В данном варианте осуществления роликовые узлы 125b и 125с направляющего механизма 12А, расположенные с левой стороны рельсовой направляющей 121, предотвращают перемещение каретки 20 вправо (в отрицательном направлении оси Y) относительно рельсовой направляющей 121. Роликовый узел 125b направляющего механизма 12В и роликовые узлы 125b и 125с направляющего механизма 12С, расположенные с правой стороны рельсовой направляющей 121, предотвращают перемещение каретки 20 влево (в положительном направлении оси Y) относительно рельсовой направляющей 121. Следовательно, предотвращается перемещение каретки 20 в направлении оси Y относительно рельсовой направляющей 121. Роликовые узлы 125b направляющих механизмов 12А, 12В и 12С предотвращают перемещение каретки 20 вверх (в положительном направлении оси Z) относительно рельсовой направляющей 121. Сход каретки 20 с рельсовой направляющей 121 предотвращается посредством предотвращения перемещения каретки 20 в направлении оси Y и в положительном направлении оси Z относительно рельсовой направляющей 121, как описано выше.
[0042] В данном варианте осуществления подвижный компонент 122В (Фиг. 8) расположен так, что расположение правой и левой сторон изменено на противоположное по отношению к подвижному компоненту 122А (Фиг. 7), но подвижный компонент 122В может быть расположен с такой же ориентацией в направлении вправо-влево, как подвижный компонент 122А. Аналогичным образом подвижный компонент 122С и подвижный компонент 122А могут быть расположены с одинаковой ориентацией в направлении вправо-влево. Однако любые два из подвижного компонента 122А, подвижного компонента 122В и подвижного компонента 122С расположены так, чтобы расположение их правой и левой сторон было изменено на противоположное по отношению друг к другу (то есть роликовые узлы 125b и 125с расположены с противоположных сторон рельсовой направляющей 121, определяемых в направлении вправо-влево).
[0043] Для предотвращения перемещения каретки 20 в направлении вправо-влево (в направлении оси Y) достаточно того, чтобы по меньшей мере два из подвижных компонентов 122А, 122В и 122С, которые расположены так, что расположение их правой и левой сторон изменено на противоположное по отношению друг к другу, включали в себя роликовый узел 125с и стержень 124.
[0044] Для предотвращения перемещения каретки 20 вверх (в положительном направлении оси Z) достаточно того, чтобы по меньшей мере один из подвижных компонентов 122А, 122В и 122С включал в себя роликовый узел 125b и стержень 124b.
[0045] Когда угол между нижней поверхностью 121b головки рельсовой направляющей 121 и горизонтальной плоскостью превышает определенный угол (например, 5 градусов), вместо роликового узла 125с может быть использован роликовый узел 125b.
[0046] Рельсовая направляющая 121 направляющего механизма 12 может быть образована посредством соединения множества коротких элементов рельсовой направляющей. В этом случае, как показано на Фиг. 9, стык 121j рельсовой направляющей 121 может быть образован не перпендикулярно к направлению длины (направлению оси Х) рельсовой направляющей 121, а наклонно на виде в плане (то есть так, что стык 121j будет иметь наклон под углом θ относительно плоскости ZX). При образовании наклонного стыка 121j даже в случае, если рельсовая направляющая 121 расширяется или сужается вследствие изменения температуры, предотвращается изгибание рельсовой направляющей 121, поскольку напряжение рельсовой направляющей 121 снимается благодаря скольжению элементов рельсовой направляющей в стыке 121j.
[0047] При образовании наклонного стыка 121j роликовые узлы 125b и 125c (Фиг. 7) расположены с той стороны рельсовой направляющей 121, с которой боковая поверхность 121с головки образует тупой угол относительно стыка 121j спереди от стыка 121j (то есть с левой стороны в направляющем механизме 12А и с правой стороны в направляющих механизмах 12В и 12С). Даже в случае, если возникает относительное смещение в зоне стыка 121j рельсовой направляющей 121, при размещении роликовых узлов 125b и 125c так, как описано выше, может быть предотвращено возникновение сильного удара или повреждения, вызываемое столкновением роликовых узлов 125b и 125c с остроугольной концевой частью 121е стыка 121j.
[0048] В зоне стыка 121j концевые поверхности двух элементов рельсовой направляющей, подлежащих соединению, могут быть введены в контакт друг с другом или могут быть размещены напротив друг друга без контакта при наличии заданного зазора между данными концевыми поверхностями. В данном варианте осуществления просто обеспечено размещение концевых поверхностей двух элементов рельсовой направляющей, подлежащих соединению, напротив друг друга в зоне стыка 121j рельсовой направляющей 121, и, следовательно, они не соединены, но элементы рельсовой направляющей могут быть соединены в зоне стыка 121j посредством сварки или пайки твердым припоем.
[0049] Вместо направляющих механизмов 12А, 12В и 12С по данному варианту осуществления может быть использована линейная опора циркуляционного типа с направляющим пазом (так называемая линейная опора качения). Линейная опора циркуляционного типа имеет овальную дорожку качения (то есть дорожку, по которой катятся тела качения), в которой соседние концы двух параллельных прямолинейных участков дорожки качения соединены друг с другом посредством полукруглого участка дорожки качения. Когда линейная опора качения, имеющая такую овальную дорожку качения, эксплуатируется при высокой скорости (например, при скорости 10 км/ч или более), при перемещении тела качения из прямолинейного участка дорожки качения в криволинейный участок дорожки качения центробежная сила будет внезапно действовать на тело качения (то есть ударная нагрузка будет действовать на тело качения и поверхность качения криволинейного участка дорожки качения), так что тело качения и поверхность качения криволинейного участка дорожки качения быстро изнашиваются или повреждаются. Следовательно, когда каретка 20 приводится в движение с высокой скоростью, существует проблема, заключающаяся в том, что срок службы линейной опоры качения уменьшается или линейная опора качения повреждается.
[0050] Поскольку в подшипниках 127а-127с, используемых в направляющих механизмах 12A, 12B и 12C по данному варианту осуществления, тела качения всегда перемещаются по круговой дорожке качения, имеющей постоянную кривизну, не возникает резкое изменение центробежной силы, действующей на тело качения (то есть ударная нагрузка). Следовательно, даже если ролики 126а-126с приводятся во вращение с высокой окружной скоростью, превышающей, например, 60 км/ч, отсутствует какое-либо существенное уменьшение срока службы или повреждение подшипников 127а-127с. Таким образом, при образовании направляющих механизмов 12А-12С с использованием подшипников качения, имеющих круговые дорожки качения, у которых кривизна дорожек качения, предназначенных для тел качения, является постоянной, каретка 20 может перемещаться с высокой скоростью (например, со скоростью, составляющей 10 км/ч или более). Поскольку в устройстве 1 для испытаний шин по данному варианту осуществления используются направляющие механизмы 12A, 12B и 12C, описанные выше, каретка 20 может перемещаться со скоростью, превышающей 85 км/ч.
[0051] Устройство 1 для испытаний шин включает в себя систему DS привода, которая обеспечивает приведение в движение каретки 20 и испытательного колеса W. Фиг. 10 представляет собой блок-схему, показывающую конфигурацию системы DS привода в виде логической схемы. Фиг. 11 представляет собой схематическое изображение, показывающее конфигурацию основной части системы DS привода в виде механической схемы. На Фиг. 10 стрелки показывают пути передачи механической мощности (в дальнейшем упоминаемой просто как «мощность»).
[0052] Как показано на Фиг. 10, система DS привода включает в себя приводную часть AS, которая генерирует мощность, и передаточную часть TS, которая обеспечивает передачу мощности, генерированной приводной частью AS, каретке 20 и испытательному колесу W, которые представляют собой целевые объекты, подлежащие приведению в движение. Система DS привода вместе с испытательным колесом W и компонентом 60 с поверхностью дорожного покрытия образует систему циркуляции мощности.
[0053] Приводная часть AS включает в себя две пары приводных компонентов 14 (первое приводное средство), присоединенных справа и слева к направляющему компоненту 10, и устройство 30 для приложения крутящего момента (второе приводное средство), присоединенное к каретке 20. Приводной компонент 14 используется главным образом для регулирования скорости движения каретки 20 и числа оборотов испытательного колеса W, и устройство 30 для приложения крутящего момента используется главным образом для регулирования крутящего момента, приложенного к испытательному колесу W.
[0054] Передаточная часть TS включает в себя первую передаточную часть TS1, которая обеспечивает передачу мощности, генерированной приводным компонентом 14, каретке 20, вторую передаточную часть TS2, которая обеспечивает отбор части мощности, передаваемой первой передаточной частью TS1, и ее передачу устройству 30 для приложения крутящего момента, и третью передаточную часть TS3, которая обеспечивает передачу мощности на выходе устройства 30, предназначенного для приложения крутящего момента, испытательному колесу W. Устройство 30 для приложения крутящего момента также образует компонент передаточной части TS.
[0055] Как показано на Фиг. 4 и 5, две пары приводных компонентов 14 (два приводных компонента 14LA и 14LB, расположенных слева, и два приводных компонента 14RA и 14RB, расположенных справа) установлены рядом с четырьмя углами на основании 11 направляющего компонента 10. Приводные компоненты 14LA и 14RA расположены в зоне задней концевой части направляющего компонента 10, и приводные компоненты 14LB и 14RB расположены в зоне передней концевой части направляющего компонента 10.
[0056] Как будет описано позднее, приводные компоненты 14RA и 14RB, расположенные справа, функционируют как в качестве средства приведения в движение каретки, которое приводит каретку 20 в движение, так и в качестве средства приведения в движение испытательного колеса (средства сообщения скорости вращения), которое приводит испытательное колесо W во вращение со скоростью вращения, которая соответствует скорости движения каретки 20. Приводные компоненты 14LA и 14LB, расположенные слева, функционируют в качестве средства приведения в движение каретки.
[0057] Первая передаточная часть TS1 включает в себя два ременных механизма 15 (15L, 15R) и два ведомых компонента (первый ведомый компонент 22 и второй ведомый компонент 23). Ременный механизм 15L, расположенный слева, приводится в действие посредством двух приводных компонентов 14LA и 14LB, расположенных слева, и ременный механизм 15R, расположенный справа, приводится в действие посредством двух приводных компонентов 14RA и 14RB, расположенных справа. Первый ведомый компонент 22 и второй ведомый компонент 23 присоединены к основной раме 21 каретки 20. Первый ведомый компонент 22 соединен с ременным механизмом 15R, расположенным справа, и второй ведомый компонент 23 соединен с ременным механизмом 15L, расположенным слева.
[0058] Фиг. 12 представляет собой схематическое изображение, показывающее схематическую конструкцию приводного компонента 14 и части 150 с ведущим шкивом ременного механизма 15. Фиг. 13 представляет собой вид в плане первого ведомого компонента 22. Фиг. 14, 15 и 16 представляют собой виды в разрезе соответственно по линиям А-А, В-В и С-С на Фиг. 13. Фиг. 17 представляет собой вид в разрезе, показывающий схематическую конструкцию второго ведомого компонента 23.
[0059] Каждый ременный механизм 15 (15L, 15R) включает в себя две части 150 с ведущими шкивами, ремень 151 (151L, 151R), три ведомых шкива 155A, 155C и 156 (Фиг. 14), удерживаемых посредством первого ведомого компонента 22, или три ведомых шкива 155A, 155B и 155C (Фиг. 17), удерживаемых посредством второго ведомого компонента 23, и две зажимные планки 157 для ремней (Фиг. 3 и 5), которые обеспечивают прикрепление обеих концевых частей ремня 151 к основной раме 21 каретки 20. Часть 150 с ведущим шкивом смонтирована на основании 11 направляющего компонента 10 и соединена с соответствующими приводными компонентами 14.
[0060] Ремень 151R намотан вокруг ведущих шкивов (152А и 152В) двух частей 150 с ведущими шкивами и вокруг трех ведомых шкивов 155A, 156 и 155C. Ремень 151L намотан вокруг ведущих шкивов (152А и 152В) двух частей 150 с ведущими шкивами и вокруг трех ведомых шкивов 155A, 155B и 155C.
[0061] Приводной компонент 14 включает в себя двигатель 141 (первый двигатель) и ременный механизм 142. Двигатель 141 представляет собой, например, высокомощный серводвигатель переменного тока с ротором со сверхнизкой инерцией и с моментом инерции вращающегося компонента, который равен или меньше 0,01 кг⋅м2 (предпочтительно равен или меньше 0,008 кг⋅м2), и с номинальной мощностью, составляющей 3-60 кВт (для практического использования более подходящей является мощность 7-37 кВт). При использовании такого высокомощного двигателя 141 с ротором со сверхнизкой инерцией становится возможным ускорение каретки 20 до максимальной скорости испытываемой шины Т (например, 240 км/ч) на коротком расстоянии перемещения (например, 20-50 м).
[0062] В качестве двигателя 141 можно использовать двигатель, вращающийся компонент которого имеет стандартный момент инерции. Двигатель 141 может представлять собой двигатель другого типа, скорость которого можно регулировать, например, такой как так называемый инверторный электродвигатель, в котором инвертор используется для регулирования приведения в движение.
[0063] Ременный механизм 142 включает в себя ведущий шкив 141а, присоединенный к валу 141b двигателя 141, ведомый шкив 142с и ремень 142b, намотанный вокруг ведущего шкива 142а и ведомого шкива 142с. Ремень 142b представляет собой, например, зубчатый ремень, имеющий такую же конфигурацию, как ремень 151, описанный позднее. Тип ремня 142b может отличаться от типа ремня 151.
[0064] Поскольку в ременном механизме 142 ведомый шкив 142с имеет расчетный диаметр, который больше расчетного диаметра ведущего шкива 142а (то есть имеет большее число зубьев), ременный механизм 142 имеет передаточное отношение понижающей передачи, которое больше 1. Следовательно, вращение на выходе двигателя 141 замедляется посредством ременного механизма 142. Передаточное отношение ременного механизма 142 может быть равно или меньше 1. Для приводного компонента 14 может быть предусмотрен редуктор вместо ременного механизма 142 (или в дополнение к ременному механизму 142). Вместо обеспечения наличия ременного механизма 142 и редуктора вал 153 ременного механизма 15, описанный позднее, может быть соединен непосредственно с валом 141b двигателя 141.
[0065] Часть 150 с ведущим шкивом ременного механизма 15 расположена рядом с приводным компонентом 14. Часть 150 с ведущим шкивом включает в себя два опорных компонента 154, вал 153, опирающийся с возможностью вращения на два опорных компонента 154, и ведущий шкив 152, присоединенный к валу 153. Ведомый шкив 142с ременного механизма 142 также присоединен к валу 153, и мощность на выходе приводного компонента 14 передается ремню 151, намотанному вокруг ведущего шкива 152, посредством вала 153 и ведущего шкива 152.
[0066] Ремень 151 представляет собой зубчатый ремень, имеющий проволочные корды, изготовленные из стальных проволок. Следует отметить, что в качестве зубчатого ремня 151 может быть использован зубчатый ремень, имеющий корды, изготовленные из так называемого суперволокна, такого как углеродное волокно, арамидное волокно или волокно из полиэтилена с ультравысокой молекулярной массой. При использовании легких и высокопрочных кордов, таких как углеродные корды, становится возможным приведение каретки 20 в движение с большим ускорением (или приложение большой движущей силы/силы торможения к испытательному колесу W) посредством использования двигателя с относительно низкой выходной мощностью, и, следовательно, становится возможным уменьшение размеров устройства 1 для испытаний шин. При использовании легкого ремня 151, имеющего корды, изготовленные из так называемого суперволокна, можно улучшить эксплуатационные характеристики устройства 1 для испытаний шин, когда используется двигатель, имеющий ту же выходную мощность (в частности, могут быть улучшены характеристики ускорения).
[0067] Как показано на Фиг. 3-5, обе концевые части каждого ремня 151 прикреплены к основной раме 21 каретки 20. Таким образом, каждый ремень 151 образует петлю посредством каретки 20. При приведении в действие каждого ременного механизма 15 каждый ремень 151 будет тянуть каретку 20, и каретка 20 перемещается в направлении оси Х.
[0068] В данном варианте осуществления ремень 151 прикреплен к каретке 20 посредством зажимных планок 157 для ремня с нижней стороны петли, и ременный механизм 15 и первый ведомый компонент 22 или второй ведомый компонент 23 соединены с верхней стороны петли. При размещении зажимных планок 157, которые предназначены для ремней и имеют относительно малую высоту, под первым ведомым компонентом 22 или вторым ведомым компонентом 23 высота ременного механизма 15 может быть уменьшена. Следует отметить, что ремень 151 может быть прикреплен к каретке 20 с верхней стороны петли.
[0069] Как показано на Фиг. 4, два ведущих шкива 152 (152А, 152В) ременного механизма 15 представляют собой неподвижные шкивы, которые расположены на концах зоны, в которой может перемещаться каретка 20, и удерживаются на основании 11 (то есть центр тяжести зафиксирован относительно основания 11). Ведомые шкивы 155 (155А, 155В, 155С) и 156, удерживаемые первым ведомым компонентом 22 или вторым ведомым компонентом 23, представляют собой подвижные шкивы, выполненные с возможностью перемещения в направлении оси Х вместе с кареткой 20.
[0070] В нижеследующем описании в отношении конфигурации, в которой два компонента предусмотрены с правой и левой сторон, по существу будет описана конфигурация, предусмотренная с левой стороны, и ссылочная позиция для конфигурации, предусмотренной с правой стороны, будет заключена в квадратных скобках, и дублирующее описание будет опущено.
[0071] В данном варианте осуществления два приводных компонента 14LA и 14LB [14RA и 14RB] приводятся в действие с одинаковой фазой. Приводные компоненты 14LA и 14LB, расположенные слева, и приводные компоненты 14RA и 14RB, расположенные справа, размещены так, что расположение левой и правой сторон, изменено на противоположное, и приводятся в действие с противоположными фазами.
[0072] Ведущий шкив 152 (Фиг. 12) и ведомые шкивы 155 (Фиг. 14 и 17) имеют одинаковый эффективный диаметр (то есть расчетный диаметр) или одинаковое число зубьев. Расчетный диаметр или число зубьев ведомого шкива 156 (Фиг. 14), удерживаемого первым ведомым компонентом 22, больше (например, в два раза) по сравнению с ведущим шкивом 152 и ведомым шкивом 155.
[0073] Как показано на Фиг. 5, каретка 20 включает в себя основную раму 21, первый ведомый компонент 22, второй ведомый компонент 23, ременный механизм 24, ременный механизм 25, компонент 26 с передаточными валами, тормозное устройство 27, тормозное устройство 28, устройство 30 для приложения крутящего момента, компонент 40 для выравнивания и осевой компонент 50. Как показано на Фиг. 10, первый ведомый компонент 22 и ременный механизм 24 образуют вторую передаточную часть TS2. Ременный механизм 25, компонент 26 с передаточными валами и осевой компонент 50 образуют третью передаточную часть TS3.
[0074] Как показано на Фиг. 11, осевой компонент 50 включает в себя шпиндель 52, опертый с возможностью вращения. Шпиндель 52 представляет собой вал (то есть ось), к одному концу которого испытательное колесо W должно быть присоединено коаксиально (то есть так, чтобы осевая линия была общей), и испытательное колесо W приводится во вращательное движение вместе со шпинделем 52 посредством мощности на выходе устройства 30 для приложения крутящего момента. Компонент 40 для выравнивания представляет собой механический компонент, выполненный с возможностью регулирования выравнивания испытательного колеса W (регулирования выравнивания) за счет изменения ориентации осевого компонента 50.
[0075] Как показано на Фиг. 13-16, первый ведомый компонент 22 включает в себя основную часть 221, опорный компонент 222, опорный компонент 223, вал 24, ведущее зубчатое колесо 225, вал 226 и ведомое зубчатое колесо 227.
[0076] Как показано на Фиг. 14, основная часть 221 включает в себя два стержня 221b, проходящих в направлении оси Y, и два подшипника 221с, внутренние кольца которых установлены с прилеганием к соответствующим стержням 221b. Ведомые шкивы 155А и 155С ременного механизма 15R установлены с прилеганием к наружным кольцам соответствующих подшипников 221с. При данной конфигурации ведомые шкивы 155А и 155С ременного механизма 15R опираются на основную часть 221 с возможностью вращения.
[0077] Как показано на Фиг. 16, основная часть 221 включает в себя подшипник 221а. Опорный компонент 222 включает в себя два подшипника 222а и 222b, расположенных вертикально. Опорный компонент 223 включает в себя два подшипника 223а и 223b, расположенных вертикально.
[0078] Вал 224 опирается с возможностью вращения на подшипник 221а на одном конце вала, определяемом в его продольном направлении, на подшипник 223а на другом конце вала, и на подшипник 222а в центральной части вала. Ведомый шкив 156 ременного механизма 15R и ведущее зубчатое колесо 225 присоединены к валу 224.
[0079] Вал 226 является более коротким, чем вал 224, и опирается на подшипник 222b на одном конце вала, определяемом в его продольном направлении, и на подшипник 223b на другом конце вала. Ведомое зубчатое колесо 227, входящее в зацепление с ведущим зубчатым колесом 225, и ведущий шкив 241 ременного механизма 24 присоединены к валу 226.
[0080] То есть ведомый шкив 156 (ременный механизм 15R) и ведущий шкив 241 (ременный механизм 24) соединены посредством первого ведомого компонента 22. Часть мощности, передаваемой ременным механизмом 15R, передается валу 224 посредством ведомого шкива 156, валу 226 посредством ведущего зубчатого колеса 225 и ведомого зубчатого колеса 227 и, кроме того, ременному механизму 24 посредством ведущего шкива 241. Мощность, передаваемая ременному механизму 24, используется для приведения в движение испытательного колеса W.
[0081] То есть первый ведомый компонент 22, расположенный справа, и ведомые шкивы 156 (и ведомые шкивы 155А и 155С), опирающиеся с возможностью вращения на первый ведомый компонент 22, предназначены для отбора части мощности от ременного механизма 15R и ее подачи ременному механизму 24.
[0082] Оставшаяся часть мощности, передаваемой ременным механизмом 15R, передается основной раме 21 каретки 20, к которой ремень 151 прикреплен посредством зажимных планок 157 для ремня, и используется для приведения в движение каретки 20.
[0083] То есть ременный механизм 15R, расположенный справа, образует часть средства (средства приведения в движение каретки), которое обеспечивает приведение в движение каретки 20, а также образует часть средства для приведения в движение испытательного колеса W (средства приведения в движение испытательного колеса). Кроме того, ременный механизм 15R, расположенный справа, вместе с первым ведомым компонентом 22, расположенным справа, функционирует в качестве средства (средства распределения мощности), которое распределяет мощность, генерированную приводными компонентами 14RA и 14RB, на мощность, подлежащую использованию для приведения в движение каретки 20, и мощность, подлежащую использованию для приведения в движение испытательного колеса W.
[0084] Поскольку в ременном механизме 15R по данному варианту осуществления расчетный диаметр ведомого шкива 156, расположенного с выходной стороны, больше расчетного диаметра ведущего шкива 152, расположенного с входной стороны, ременный механизм 15R имеет передаточное отношение, превышающее 1. Следует отметить, что настоящее изобретение не ограничено данной конфигурацией. Расчетный диаметр ведомого шкива 156 может быть задан равным расчетному диаметру или превышающим расчетный диаметр ведущего шкива 152 для задания передаточного отношения ременного механизма 15R равным 1 или меньшим, чем 1.
[0085] Первый ведомый компонент включает в себя ведущее зубчатое колесо 225 и ведомое зубчатое колесо 227, посредством чего направление вращения при передаче мощности изменяется на противоположное.
[0086] Как показано на Фиг. 17, второй ведомый компонент 23 (основная часть 231) включает в себя три стержня 231b, проходящих в направлении оси Y, и три подшипника 231с, имеющих соответствующие внутренние кольца, установленные с прилеганием к соответствующим стержням 231b. Три стержня 231b расположены с равными интервалами в направлении оси Х. В данном варианте осуществления стержень 231b, расположенный в центре, расположен выше, чем остальные два стержня 231b, но все стержни 231b могут быть расположены на одинаковой высоте.
[0087] Наружные кольца подшипников 231с установлены с прилеганием к соответствующим трем ведомым шкивам 155 ременного механизма 15L (ведомым шкивам 155А, 155В и 155С, указанным в порядке от передней стороны). При данной конфигурации ведомые шкивы 155А, 155В и 155С ременного механизма 15L опираются с возможностью вращения на второй ведомый компонент 23.
[0088] Как показано на Фиг. 4, ремень 151 ременного механизма 15 разделен на верхнюю часть 151а и нижнюю часть 151b за счет его загибания посредством ведущих шкивов 152А и 152В. Верхняя часть 151а и нижняя часть 151b натянуты в направлении движения каретки 20 и приводятся в движение в направлениях, противоположных друг другу. В частности, нижняя часть 151b ремня 151, прикрепленная к каретке 20, приводится в движение вместе с кареткой 20 в направлении движения каретки, и верхняя часть 151а приводится в движение в направлении, противоположном направлению движения каретки 20 и нижней части 151b. Верхняя часть 151а ремня 151, перемещающаяся в направлении, противоположном направлению движения каретки 20, намотана вокруг ведомых шкивов 155 и 156, присоединенных к каретке 20, и ведомые шкивы 155 и 156 приводятся в движение посредством верхней части 151а.
[0089] Как показано на Фиг. 10 и 11, часть мощности, передаваемой ременным механизмом 15R, расположенным справа, передается устройству 30, предназначенному для приложения крутящего момента, посредством второй передаточной части TS2, передается дальше испытательному колесу W посредством третьей передаточной части TS3 и используется для приведения в движение испытательного колеса W. Вторая передаточная часть TS2 включает в себя первый ведомый компонент 22 и ременный механизм 24, и третья передаточная часть TS3 включает в себя ременный механизм 25, компонент 26 с передаточными валами и осевой компонент 50. Как описано выше, оставшаяся часть мощности, передаваемой ременным механизмом 15R, расположенным справа, передается основной раме 21 каретки 20, к которой передние концевые части ремня 151 прикреплены посредством зажимных планок 157 для ремня, и используется для приведения в движение каретки 20. Как каретка 20, так и испытательное колесо W могут быть приведены в движение посредством ремня 151 с помощью ременного механизма 15R и первого ведомого компонента 22, имеющих вышеописанную конфигурацию.
[0090] Второй ведомый компонент 23, расположенный слева, отличается от первого ведомого компонента 22, расположенного справа, тем, что второй ведомый компонент 23, расположенный слева, не включает в себя конфигурацию для отбора части мощности, передаваемой ременным механизмом 15L, и передачи отобранной мощности второй передаточной части TS2, предусмотренной для каретки 20 (в частности, опорным компонентам 222 и 223, валам 224 и 226, ведущему зубчатому колесу 225 и ведомому зубчатому колесу 227). Второй ведомый компонент 23, расположенный слева, не является существенным компонентом, но за счет того, что предусмотрен второй ведомый компонент 23, расположенный слева, силы, которые каретка 20 воспринимает от ременных механизмов 15L и 15R, расположенных слева и справа, уравновешиваются, и движение каретки 20 стабилизируется.
[0091] Как описано выше, в данном варианте осуществления выбрана конфигурация, в которой каретка 20 и испытательное колесо W приводятся в движение посредством использования мощности, передаваемой общим устройством для передачи мощности (то есть ременным механизмом 15R). При данной конфигурации независимо от скорости движения каретки 20 испытательное колесо W всегда может быть приведено во вращение с окружной скоростью (скоростью вращения), которая соответствует скорости движения каретки 20. Кроме того, для уменьшения величины работы, выполняемой устройством 30 для приложения крутящего момента (то есть для уменьшения потребления мощности), данный вариант осуществления выполнен с такой конфигурацией, что испытательное колесо W вращается с окружной скоростью, по существу такой же, как скорость движения каретки 20, когда устройство 30 для приложения крутящего момента не функционирует.
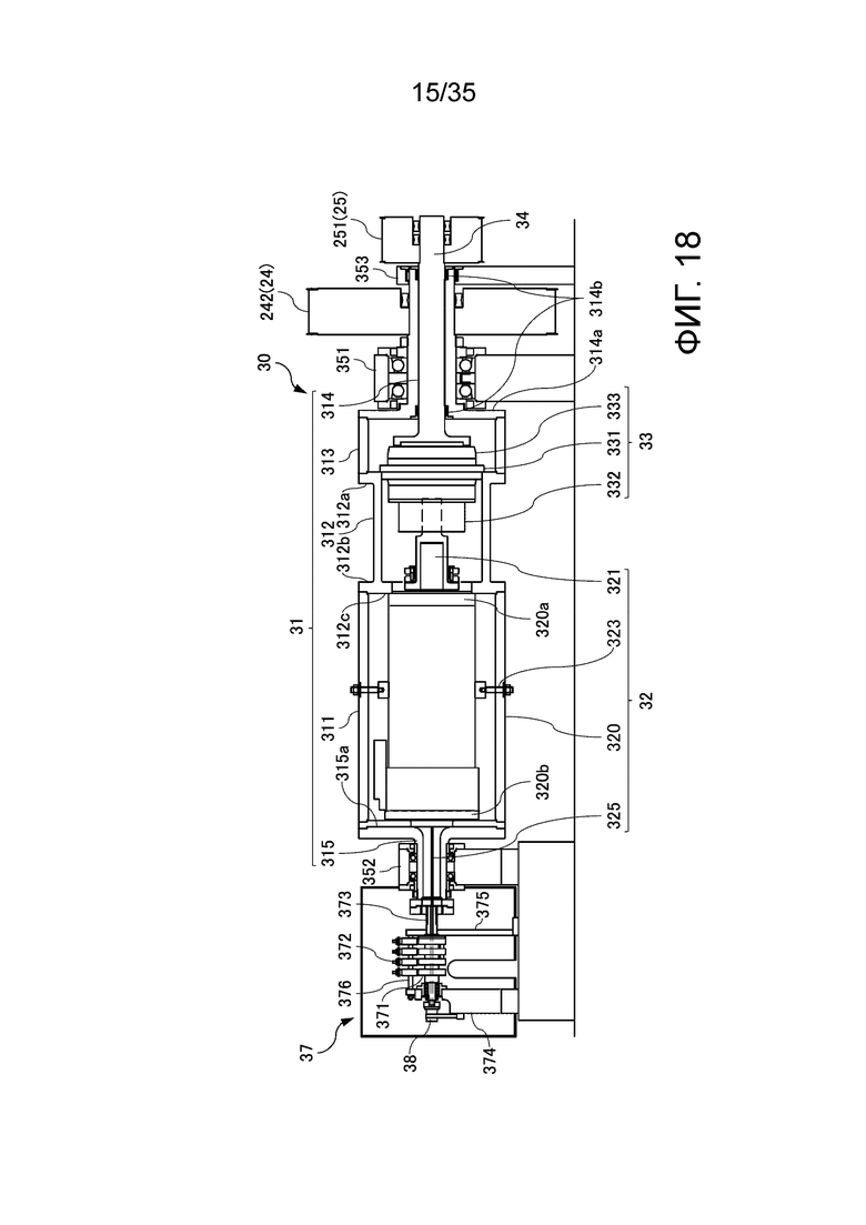
[0092] Ременный механизм 24 включает в себя ведущий шкив 241, присоединенный к вышеописанному валу 226 (Фиг. 16) первого ведомого компонента 22, ведомый шкив 242, присоединенный к части 314 в виде вала, описанной позднее (Фиг. 18) и предусмотренной в устройстве 30 для приложения крутящего момента, и ремень 243, намотанный вокруг ведущего шкива 241 и ведомого шкива 242. Ремень 243 представляет собой, например, зубчатый ремень, имеющий такую же конфигурацию, как конфигурация ремня 151, описанного выше. Тип ремня 243 может отличаться от типа ремня 151.
[0093] Фиг. 18 представляет собой схематическое изображение, показывающее конструкцию устройства 30 для приложения крутящего момента. Устройство 30 для приложения крутящего момента генерирует крутящий момент, который должен быть приложен к испытательному колесу W, и «выдает» крутящий момент посредством добавления крутящего момента к вращательному движению, передаваемому ременным механизмом 24. Другими словами, устройство 30 для приложения крутящего момента может обеспечить приложение крутящего момента к испытательному колесу W (то есть устройство 30 для приложения крутящего момента может обеспечить приложение движущей силы или силы торможения между поверхностью 63а дорожного покрытия и испытательным колесом W) посредством изменения фазы вращательного движения, передаваемого ременным механизмом 24.
[0094] Устройство 30 для приложения крутящего момента функционирует в качестве второго приводного средства, выполненного с возможностью генерирования мощности для приведения в движение испытательного колеса W, а также функционирует в качестве средства соединения мощности, выполненного с возможностью соединения мощности, генерированной двигателем 141 (первым двигателем) приводного компонента 14 (первого приводного средства), с мощностью, генерированной описанным позднее двигателем 32 (вторым двигателем) устройства 30 для приложения крутящего момента.
[0095] При включении устройства 30 для приложения крутящего момента в систему DS привода становится возможным разделение ролей между источником мощности (приводными компонентами 14RA, 14RB), предназначенным для регулирования скорости вращения испытательного колеса W, и источником мощности (двигателем 32, который будет описан позднее), предназначенным для регулирования крутящего момента. Благодаря данной конфигурации становятся возможными использование источника мощности, имеющего меньшую мощность, и регулирование скорости вращения и крутящего момента, который должен быть приложен к испытательному колесу W, с более высокой точностью. Кроме того, поскольку нагрузка, которая действует на ременный механизм 15R, уменьшается при встраивании устройства 30, предназначенного для приложения крутящего момента, в каретку 20, становятся возможными уменьшение размеров ременного механизма 15R (например, уменьшение числа используемых зубчатых ремней) и использование элементов с более низкой способностью выдерживать нагрузку.
[0096] Устройство 30 для приложения крутящего момента включает в себя вращающуюся раму 31, двигатель 32 (второй двигатель), редуктор 33 и вал 34, которые соединены внутри вращающейся рамы 31, три опорных компонента 351, 352 и 353, выполненных с возможностью обеспечения опоры для вращающейся рамы 31 с возможностью ее вращения, компонент 37 с токосъемными контактными кольцами и кодовый датчик 38 угла поворота, выполненный с возможностью определения скорости вращения вращающейся рамы 31.
[0097] В данном варианте осуществления в качестве двигателя 32 используется высокомощный серводвигатель переменного тока с ротором со сверхнизкой инерцией, с моментом инерции вращающегося компонента, который равен или меньше 0,01 кг⋅м2 (предпочтительно равен или меньше 0,008 кг⋅м2), и с номинальной мощностью, составляющей 3-60 кВт (для практического применения более подходит мощность, составляющая 7-37 кВт).
[0098] Вращающаяся рама 31 имеет по существу цилиндрическую, первую цилиндрическую часть 311 (часть для размещения двигателя), вторую цилиндрическую часть 312 (соединительную трубу) и третью цилиндрическую часть 313, которые имеют большие диаметры, и по существу цилиндрические части 314 и 315 в виде валов, имеющие диаметры, которые меньше диаметра первой цилиндрической части 311. Часть 314 в виде вала коаксиально присоединена к одной концевой части (правой концевой части на Фиг. 18) первой цилиндрической части 311 посредством второй цилиндрической части 312 и третьей цилиндрической части 313. Часть 315 в виде вала коаксиально присоединена к другой концевой части (левой концевой части на Фиг. 18) первой цилиндрической части 311. Часть 314 в виде вала опирается с возможностью вращения на опорные компоненты 351 и 353, и часть 315 в виде вала опирается с возможностью вращения на опорный компонент 352.
[0099] Двигатель 32 размещен в полой части первой цилиндрической части 311. Вал 321 двигателя 32 расположен коаксиально по отношению к вращающейся раме 31, и корпус 320 двигателя (то есть статор) прикреплен к первой цилиндрической части 311 посредством множества болтов 323 с двусторонней резьбой.
[0100] Редуктор 33 расположен в полых частях второй цилиндрической части 312 и третьей цилиндрической части 313. Вал 321 двигателя 32 соединен с входным валом 332 редуктора 33, и вал 34 соединен с выходным валом 333 редуктора 33.
[0101] Буртик 312а, выступающий в радиальном направлении наружу, образован на одном концевом участке (правом концевом участке на Фиг. 18) второй цилиндрической части 312. Буртик 312b, выступающий в радиальном направлении наружу, и внутренний буртик 312с, выступающий в радиальном направлении внутрь, образованы на другом концевом участке (левом концевом участке на Фиг. 18) второй цилиндрической части 312.
[0102] Фланец 320а двигателя 32 прикреплен к внутреннему буртику 312с второй цилиндрической части 312. Корпус 331 редуктора 33 прикреплен к одному концевому участку второй цилиндрической части 312 (то есть к основанию буртика 312а). То есть корпус 320 двигателя 32 и корпус 331 редуктора 33 соединены друг с другом с высокой жесткостью посредством второй цилиндрической части 312, которая представляет собой один короткий цилиндрический элемент. В результате почти никакой изгибающий момент не действует на вал 321 двигателя 32 и входной вал 332 редуктора 33, обеспечивается плавное вращение вала 321 и входного вала 332 (то есть вращение с малым трением), и повышается точность регулирования крутящего момента, который должен быть приложен к испытательному колесу W.
[0103] Фланец 315а, имеющий такой же диаметр, как первая цилиндрическая часть 311, образован в зоне основания части 315 в виде вала, и один конец первой цилиндрической части 311 прикреплен к наружной периферийной части фланца 315а. Фланец 320b двигателя 32 прикреплен к фланцу 315а первой цилиндрической части 311. Поскольку двигатель 32 прикреплен к вращающейся раме 32 в зоне обеих концевых частей и в части, центральной в направлении длины корпуса 320 двигателя, опирание двигателя 32 обеспечивается с высокой жесткостью.
[0104] Фланец 314а, имеющий такой же диаметр, как третья цилиндрическая часть 313, образован в зоне основания части 314 в виде вала, и один конец третьей цилиндрической части 313 прикреплен к наружной периферийной части фланца 314а. Другой конец третьей цилиндрической части 313 прикреплен к наружной периферийной части буртика 312а второй цилиндрической части 312.
[0105] Базовая сторона части 314 в виде вала, расположенная рядом с фланцем 314а, опирается с возможностью вращения на опорный компонент 351, и концевая часть части 314 в виде вала опирается с возможностью вращения на опорный компонент 353. Ведомый шкив 242 ременного механизма 24 расположен между опорным компонентом 351 и опорным компонентом 353 и коаксиально присоединен к наружной периферии части 314 в виде вала. Вращающаяся часть устройства 30 для приложения крутящего момента приводится во вращение посредством мощности, передаваемой ременным механизмом 24. То есть часть 314 в виде вала (вращающаяся рама 31) служит в качестве входного вала устройства 30 для приложения крутящего момента.
[0106] Два подшипника 314b предусмотрены на внутренних перифериях обоих концевых участков части 314 в виде вала (то есть участков, опирающихся на опорный компонент 351 или опорный компонент 353). Вал 34 проходит через полую часть части 314 в виде вала и опирается с возможностью вращения на два подшипника 314b. Дальний конец вала 34 выступает наружу от дальнего конца части 314 в виде вала. Ведущий шкив 251 ременного механизма 25 коаксиально присоединен к дальней концевой части вала 34, выступающей от части 314 в виде вала, и ременный механизм 25 приводится в действие посредством выходной мощности, передаваемой валом 34. То есть вал 34 служит в качестве выходного вала устройства 30 для приложения крутящего момента.
[0107] Крутящий момент на выходе двигателя 32 увеличивается посредством редуктора 33 и передается валу 34. Вращение на выходе, сообщаемое валом 34 ременному механизму 25, представляет собой результат суперпозиции крутящего момента, созданного двигателем 32 и редуктором 33, и вращения вращающейся рамы 31, приводимой в движение посредством ременного механизма 24. Устройство 30 для приложения крутящего момента обеспечивает добавление крутящего момента, созданного устройством 30 для приложения крутящего момента, к вращательному движению, передаваемому части 315 в виде вала, предусмотренной во вращающейся раме 31, представляющей собой входной вал, и передачу выходного крутящего момента от вала 34, представляющего собой выходной вал.
[0108] Компонент 37 с токосъемными контактными кольцами включает в себя множество пар, состоящих из токосъемного контактного кольца 371 и щетки 372, опорную трубу 373, опорный компонент 374, опорную стойку 375 и опорный рычаг 376. Опорная труба 373 коаксиально соединена с частью 315 в виде вала, предусмотренной во вращающейся раме 31. Дальняя концевая часть опорной трубы 373 опирается с возможностью вращения на опорный компонент 374. Опорный рычаг 376 расположен параллельно опорной трубе 373, один конец рычага 376 прикреплен к опорной стойке 375, расположенной со стороны вращающейся рамы 31, и его другой конец прикреплен к раме опорного компонента 374.
[0109] Множество токосъемных контактных колец 371 расположены с постоянными интервалами в аксиальном направлении и присоединены к наружной периферии опорной трубы 373. Множество щеток 372 расположены напротив наружных периферийных поверхностей соответствующих токосъемных контактных колец 371 и контактируют с наружными периферийными поверхностями соответствующих токосъемных контактных колец 371 и присоединены к опорному рычагу 376.
[0110] Токоподводящий провод (непоказанный) присоединен к каждому токосъемному контактному кольцу 371. Токоподводящий провод проходит через полую часть опорной трубы 373 и протянут в полую часть части 315 в виде вала, предусмотренной во вращающейся раме 31. Кабель 325 двигателя 32 проходит через полую часть части 315 в виде вала, и множество проводов, включенных в кабель 325, соединены с токоподводящими проводами соответствующих токосъемных контактных колец 371. Щетки 372 соединены с возбуждающим устройством 32а (Фиг. 38). То есть двигатель 32 и возбуждающее устройство 32а соединены друг с другом посредством компонента 37 с токосъемными контактными кольцами.
[0111] Кодовый датчик 38 угла поворота присоединен к опорному компоненту 374 компонента 37 с токосъемными контактными кольцами. Опорная труба 373, которая вращается как одно целое с вращающейся рамой 31, соединена с входным валом кодового датчика 38 угла поворота.
[0112] Как показано на Фиг. 11, ременный механизм 25 включает в себя ведущий шкив 251, присоединенный к выходному валу (валу 34) устройства 30 для приложения крутящего момента, ведомый шкив 252, присоединенный к входному валу (передаточному валу 261) компонента 26 с передаточными валами, и ремень 253, намотанный вокруг ведущего шкива 251 и ведомого шкива 253, и передает мощность на выходе устройства 30, предназначенного для передачи крутящего момента, компоненту 26 с передаточными валами. Ремень 253 представляет собой, например, зубчатый ремень, имеющий такую же конфигурацию, как конфигурация вышеописанного ремня 151. Тип ремня 253 может отличаться от типа ремня 151.
[0113] Компонент 26 с передаточными валами включает в себя передаточный вал 261, два опорных компонента 262, которые обеспечивают опору для передаточного вала 261 с возможностью его вращения, дисковый тормоз 263, шарнир 265 скользящего типа, предназначенный для передачи вращения с постоянной угловой скоростью, передаточный вал 266 и подшипник 267, который обеспечивает опору для передаточного вала 266 с возможностью его вращения. Дисковый тормоз 263 включает в себя дисковый ротор 263а, присоединенный к передаточному валу 261, и скобу 263b, которая обеспечивает приложение силы трения к дисковому ротору 263а для торможения.
[0114] Ведомый шкив 252 ременного механизма 25 присоединен к одной концевой части передаточного вала 261, и один конец шарнира 265 скользящего типа, предназначенного для передачи вращения с постоянной угловой скоростью, присоединен к другому концу посредством дискового ротора 263а. Другой конец шарнира 265 скользящего типа, предназначенного для передачи вращения с постоянной угловой скоростью, соединен со шпинделем 52 посредством передаточного вала 266. Шарнир 265 скользящего типа, предназначенный для передачи вращения с постоянной угловой скоростью, выполнен с такой конфигурацией, что вращение может плавно передаваться без изменений вращения независимо от рабочего угла (то есть угла между входным валом и выходным валом). Определяемая в аксиальном направлении длина шарнира 265 скользящего типа, предназначенного для передачи вращения с постоянной угловой скоростью, (расстояние при передаче) также является переменной (-ым).
[0115] Шпиндель 52, к которому должно быть присоединено испытательное колесо W, опирается на компонент 40 для выравнивания так, что его угол наклона и положение могут быть изменены. При соединении передаточного вала 261 и шпинделя 52 посредством шарнира 265 скользящего типа, предназначенного для передачи вращения с постоянной угловой скоростью, даже в случае, если угол и/или положение шпинделя 52 изменяются, шарнир 265 скользящего типа, предназначенный для передачи вращения с постоянной угловой скоростью, может гибко адаптироваться к данному изменению. Следовательно, шпиндель 52 и передаточный вал 261 не подвергаются воздействию большого напряжения, и обеспечивается плавная передача мощности.
[0116] Фиг. 19 представляет собой схематическое изображение, показывающее схематическую конструкцию компонента 40 для выравнивания. Фиг. 20, 21, 22 и 23 представляют собой соответственно вид по стрелкам А-А на Фиг. 19, вид по стрелкам В-В на Фиг. 19, вид по стрелкам С-С на Фиг. 19 и вид по стрелкам D-D на Фиг. 19.
[0117] Компонент 40 для выравнивания включает в себя компонент 42 для регулирования нагрузки, компонент 44 для регулирования угла развала и компонент 46 для регулирования угла увода.
[0118] Компонент 42 для регулирования нагрузки представляет собой механизм для регулирования нагрузки, которая действует на испытательное колесо W (для регулирования вертикальной нагрузки, воспринимаемой от поверхности 63а дорожного покрытия), посредством изменения высоты шпинделя 52 и испытательного колеса W, присоединенного к шпинделю 52 (более конкретно, посредством изменения расстояния от поверхности 63а дорожного покрытия до центра С испытательного колеса W). Компонент 42 для регулирования нагрузки включает в себя подвижную раму 421 (первую подвижную раму), которая выполнена с возможностью перемещения в вертикальном направлении (в направлении оси Z) относительно основания 11, множество (в проиллюстрированном варианте осуществления две пары) прямолинейных направляющих 422, которые обеспечивают направление вертикального перемещения подвижной рамы 421, и одно или более (в проиллюстрированном варианте осуществления одну пару) устройств 43, предназначенных для приведения в движение в направлении оси Z (Z axis drive units), которые обеспечивают приведение подвижной рамы 421 в движение в вертикальном направлении.
[0119] Часть 214 с формой свода, которая предназначена для обеспечения опоры для механизма выравнивания и в которой размещается компонент 40 для выравнивания, предусмотрена с левой стороны основной рамы 21 каретки 20. Подвижная рама 421 размещается в части 214, предназначенной для обеспечения опоры для механизма выравнивания. Прямолинейная направляющая 422 включает в себя рельсовую направляющую 422а, проходящую вверх и вниз, и один или более подвижных компонентов (в проиллюстрированном варианте осуществления два подвижных компонента) 422b, выполненных с возможностью перемещения по рельсовой направляющей 422а. Любой один из компонентов каждой прямолинейной направляющей 422, представляющих собой рельсовую направляющую 422а и подвижный компонент 422b, присоединен к части 214, предназначенной для обеспечения опоры для механизма выравнивания, и другой присоединен к подвижной раме 421.
[0120] Устройство 43, предназначенное для приведения в движение в направлении оси Z, (первое приводное устройство) включает в себя двигатель 431 и шариковый винтовой механизм 432 (преобразователь движения), который преобразует вращательное движение двигателя 431 в прямолинейное движение в направлении оси Z. Шариковый винтовой механизм 432 включает в себя шариковый винт 432а, соединенный с валом двигателя 431, гайку 432b, соединенную с шариковым винтом 432а, и подшипники 432с и 432d, которые обеспечивают опору для шарикового винта 432а с возможностью его вращения. Двигатель 431 и два подшипника 432с и 432d присоединены к части 214, предназначенной для обеспечения опоры для механизма выравнивания, и гайка 432b присоединена к подвижной раме 421.
[0121] Когда шариковый винтовой механизм 432 приводится в действие посредством двигателя 431, подвижная рама 421 перемещается вверх и вниз вместе с гайкой 432b. Соответственно, испытательное колесо W перемещается вверх и вниз посредством компонента 44 для регулирования угла развала, компонента 46 для регулирования угла увода и осевого компонента 50, опирающихся на подвижную раму 421, и нагрузка, соответствующая величине приводного усилия, действующего на шариковый винтовой механизм 432 (то есть высоте испытательного колеса W), действует на испытательное колесо W.
[0122] В данном варианте осуществления шариковый винт 432а соединен непосредственно с двигателем 431, но двигатель 431 и шариковый винт 432а могут быть соединены посредством редуктора или устройства с зубчатым колесом, такого как червячная передача, для уменьшения частоты вращения.
[0123] Несмотря на то, что в данном варианте осуществления в качестве преобразователя движения используется механизм с ходовым винтом, можно использовать другой тип преобразователя движения, выполненного с возможностью преобразования вращательного движения в прямолинейное движение.
[0124] Несмотря на то, что в данном варианте осуществления двигатель 431 представляет собой серводвигатель, другой тип двигателя, величину работы которого можно регулировать, можно использовать в качестве двигателя 431.
[0125] Компонент 44 для регулирования угла развала представляет собой механизм для регулирования угла развала, который представляет собой угол наклона испытательного колеса W относительно поверхности дорожного покрытия, посредством обеспечения поворота шпинделя 52 вокруг оси Eϕ (оси, проходящей в направлении вперед-назад и проходящей через центр С испытательного колеса W). Компонент 44 для регулирования угла развала включает в себя раму 441, поворачивающуюся на ϕ (вторую подвижную раму), выполненную с возможностью поворота вокруг оси Eϕ, два подшипника 442, которые обеспечивают опору для рамы 441, поворачивающейся вокруг оси Eϕ, с возможностью ее поворота, две криволинейные направляющие 443, которые обеспечивают направление поворота рамы 441, поворачивающейся вокруг оси Eϕ, и два устройства 45 для приведения в движение по ϕ (вторые приводные устройства), расположенные справа и слева, которые обеспечивают приведение рамы 441, поворачивающейся вокруг оси Eϕ, во вращательное движение.
[0126] Как показано на Фиг. 19, рама 441, поворачивающаяся вокруг оси Eϕ, и подвижная рама 421 по данному варианту осуществления имеют форму ворот (∩-образную форму), если смотреть в направлении оси Y. Рама 441, поворачивающаяся вокруг оси Eϕ, размещена в части полости ∩-образной подвижной рамы 421. Цилиндрические оси 441а поворота предусмотрены соответственно на передней поверхности и задней поверхности рамы 441, поворачивающейся вокруг оси Eϕ, коаксиально по отношению к оси Eϕ и выступают наружу (то есть в направлении от испытательного колеса W). Каждая ось 441а поворота опирается с возможностью поворота на два подшипника 442, присоединенных к подвижной раме 421. Рама 441, поворачивающаяся вокруг оси Eϕ, опирается с возможностью поворота вокруг оси Eϕ посредством осей 441а поворота как опорных осей. Следует отметить, что подшипники 442 могут быть присоединены к раме 441, поворачивающейся вокруг оси Eϕ, и оси 441а поворота могут быть присоединены к подвижной раме 421. Кроме того, формы рамы 441, поворачивающейся вокруг оси Eϕ, и подвижной рамы 421 не ограничены формами по данному варианту осуществления и могут представлять собой любую форму с частью полости, в которой может быть размещен осевой компонент 50 и тому подобное.
[0127] Криволинейная направляющая 443 включает в себя дугообразную криволинейную рельсовую направляющую 443а, расположенную коаксиально по отношению к оси Eϕ, и один или более подвижных компонентов (в проиллюстрированном варианте осуществления два подвижных компонента) 443b, выполненных с возможностью перемещения по криволинейной рельсовой направляющей 443а. Любой один из компонентов, представляющих собой криволинейную рельсовую направляющую 443а и подвижный компонент 443b, присоединен к подвижной раме 421, и другой присоединен к рамы 441, поворачивающейся вокруг оси Eϕ.
[0128] Устройство 45 для приведения в движение вокруг оси Eϕ включает в себя два прямозубых цилиндрических зубчатых колеса 453, присоединенных к передней и задней поверхностям рамы 441, поворачивающейся вокруг оси Eϕ, две шестерни 452, входящие в зацепление с соответствующими прямозубыми цилиндрическими зубчатыми колесами 453, и два двигателя 451, которые приводят в движение соответствующие шестерни 452. Следует отметить, что прямозубые цилиндрические зубчатые колеса 453 могут быть присоединены к подвижной раме 421, и двигатели 451 могут быть присоединены к раме 441, поворачивающейся вокруг оси Eϕ. Прямозубое цилиндрическое зубчатое колесо 453 представляет собой зубчатый сегмент, образованный с дугообразной формой вокруг оси Eϕ (то есть коаксиальный по отношению к оси Eϕ). Прямозубое цилиндрическое зубчатое колесо 453 представляет собой зубчатое колесо с внутренним зацеплением в проиллюстрированном варианте осуществления, но может представлять собой зубчатое колесо с внешним зацеплением.
[0129] Двигатели 451 присоединены к подвижной раме 421, и шестерни 452 присоединены к валам 451s двигателей 451. Несмотря на то, что в данном варианте осуществления двигатель 451 представляет собой серводвигатель, другой тип двигателя, величину работы которого можно регулировать, можно использовать в качестве двигателя 451.
[0130] При приведении шестерен 452 во вращение посредством двигателей 451 рама 441, поворачивающаяся вокруг оси Eϕ, вместе с прямозубыми цилиндрическими зубчатыми колесами 453, введенными в зацепление с шестернями 452, поворачивается вокруг оси Eϕ относительно подвижной рамы 421. Соответственно, испытательное колесо W, опирающееся на раму 441, поворачивающуюся вокруг оси Eϕ, посредством компонента 46 для регулирования угла увода и осевого компонента 50, поворачивается вокруг оси Eϕ, и угол развала колеса изменяется.
[0131] Компонент 46 для регулирования угла увода представляет собой механизм для регулирования угла увода, который представляет собой угол наклона испытательного колеса W (более конкретно, центральной плоскости колеса, перпендикулярной к оси) относительно направления движения (направления оси Х) каретки 20, посредством изменения ориентации шпинделя 52 относительно оси Eθ (оси, проходящей в направлении вверх-вниз и проходящей через центр С испытательного колеса W). Как показано на Фиг. 19, компонент 46 для регулирования угла увода включает в себя раму 461, поворачивающуюся по θ (третью подвижную раму), выполненную с возможностью поворота вокруг оси Eθ, подшипник 462, который обеспечивает опору для рамы 461, поворачивающейся вокруг оси Eθ, с возможностью ее поворота, и устройство 47 для приведения в движение по θ, которое обеспечивает приведение рамы 461, поворачивающейся вокруг оси Eθ, во вращательное движение.
[0132] Рама 461, поворачивающаяся вокруг оси Eθ, размещается в части полости, создаваемой рамой 441, поворачивающейся вокруг оси Eϕ и имеющей форму ворот (∩-образную форму), если смотреть в направлении оси Y. Ось 461а поворота, выступающая коаксиально относительно оси Eθ, предусмотрена на верхней поверхности рамы 461, поворачивающейся вокруг оси Eθ. Ось 461а поворота опирается с возможностью поворота на подшипник 462, присоединенный к верхней плите рамы 441, поворачивающейся вокруг оси Eϕ. Рама 461, поворачивающаяся вокруг оси Eθ, опирается с возможностью поворота вокруг оси Eθ посредством оси 461а поворота как опорной оси.
[0133] Устройство 47 для приведения в движение вокруг оси Eθ включает в себя прямозубое цилиндрическое зубчатое колесо 473, присоединенное к раме 461, поворачивающейся вокруг оси Eθ, одну или более шестерен (в проиллюстрированном варианте осуществления две шестерни) 472, которые входят в зацепление с прямозубым цилиндрическим зубчатым колесом 473, и один или более двигателей (в проиллюстрированном варианте осуществления два двигателя) 471, которые обеспечивают приведение соответствующих шестерен 472 во вращательное движение. Прямозубое цилиндрическое зубчатое колесо 473 присоединено коаксиально к оси 461а поворота. Двигатель 471 присоединен к раме 441, поворачивающейся вокруг оси Eϕ, и шестерни 452 присоединены к валу двигателя 471.
[0134] Фиг. 24 представляет собой схематическое изображение, показывающее схематическую конструкцию осевого компонента 50 (опорного компонента для колеса). Осевой компонент 50 присоединен к нижней концевой части рамы 461, поворачивающейся вокруг оси Eθ. Осевой компонент 50 включает в себя раму 51, прикрепленную к раме 461, поворачивающейся вокруг оси Eθ, множество подшипников (в проиллюстрированном варианте осуществления два подшипника) 53, которые присоединены к раме 51, при этом шпиндель 52 опирается на подшипники 53 с возможностью вращения, датчик 54 шести составляющих сил, который определяет силу, приложенную к испытательному колесу W, и ступицу 55 колеса, коаксиально присоединенную к дальней концевой части шпинделя 52 посредством датчика 54 шести составляющих сил. Датчик 54 шести составляющих сил включает в себя множество пьезоэлектрических элементов (непоказанных). Обод Wr (Фиг. 1) испытательного колеса W присоединен к ступице 55 колеса.
[0135] Передаточный вал 266 компонента 26 с передаточными валами соединен с концом шпинделя 52. Передаточный вал 266 опирается с возможностью вращения на подшипник 267, присоединенный к раме 51 осевого компонента 50.
[0136] Компонент 40 для выравнивания выполнен с такой конфигурацией, что три оси, а именно ось Eθ, ось Eϕ и ось Eλ, пересекаются в одной точке, а именно в центре С испытательного колеса W, так что местоположение испытательного колеса W не изменяется даже при изменении угла развала (угла ϕ) и/или угла увода (угла θ).
[0137] Фиг. 25 представляет собой поперечное сечение компонента 60 с поверхностью дорожного покрытия. Компонент 60 с поверхностью дорожного покрытия включает в себя раму 61 и компонент 60а, образующий основную часть и опирающийся на раму 61. Компонент 60а, образующий основную часть, включает в себя основание 62 и компонент 63, образующий дорожное покрытие и удерживаемый основанием 62. На верхней поверхности основания 62 образовано углубление 621, проходящее в направлении, в котором проходит компонент 60 с поверхностью дорожного покрытия (то есть в направлении оси Х, представляющем собой направление движения каретки 20). Компонент 63, образующий дорожное покрытие, образован, например, посредством заполнения углубления 621 материалом имитирующего дорожного покрытия, который будет описан позднее, и отверждения материала имитирующего дорожного покрытия. На верхней поверхности компонента 63, образующего дорожное покрытие, образована поверхность 63а дорожного покрытия, с которой контактирует испытательное колесо W.
[0138] В данном варианте осуществления компонент 60а, образующий основную часть, образован из единичных элементов 600а компонента, образующего основную часть, которые представляют собой элементы с поверхностью дорожного покрытия (сменные конструкции, каждая из которых имеет по меньшей мере участок поверхности 63а дорожного покрытия), и присоединен к раме 61 с возможностью отсоединения. Элемент с поверхностью дорожного покрытия не ограничен конфигурацией, в которой компонент 60а, образующий основную часть, собран из отдельных элементов (в дальнейшем упоминаемых как «единичный элемент компонента, образующего основную часть»), как в данном варианте осуществления, и может быть образован с конфигурацией, в которой только компонент 63, образующий дорожное покрытие, собран из отдельных элементов (упоминаемых в дальнейшем как «единичный элемент компонента, образующего дорожное покрытие»), или с конфигурацией, в которой весь компонент 60 с поверхностью дорожного покрытия, включая раму 61, собран из единичных элементов (в дальнейшем упоминаемых как «единичный элемент компонента с поверхностью дорожного покрытия»).
[0139] Компонент 60а, образующий основную часть, по данному варианту осуществления образован из множества единичных элементов 600а компонента, образующего основную часть, которые образованы посредством разделения компонента 60а, образующего основную часть, в направлении, в котором проходит компонент 60 с поверхностью дорожного покрытия, и выполнен с возможностью его замены с помощью единичных элементов 600а компонента, образующего основную часть. Следует отметить, что весь компонент 60а, образующий основную часть, может быть образован в виде одного сменного элемента с поверхностью дорожного покрытия.
[0140] При образовании компонента 60 с поверхностью дорожного покрытия из элементов с поверхностью дорожного покрытия, таких как единичные элементы 600а компонента, образующего основную часть, как в данном варианте осуществления, становится возможной замена по меньшей мере части поверхности 63а дорожного покрытия.
[0141] Например, только тот единичный элемент 600а компонента, образующего основную часть, который расположен в той части компонента 60 с поверхностью дорожного покрытия, которая является центральной в направлении прохождения (направлении оси Х), может быть заменен для изменения типа компонента 63, образующего дорожное покрытие, (например, материалов, структур, профилей поверхности и тому подобного) только в центральной части. Кроме того, тип компонента 63, образующего дорожное покрытие, может быть изменен для каждого единичного элемента 600а компонента, образующего основную часть, например, так, что коэффициент трения поверхности 63а дорожного покрытия будет изменяться в направлении, в котором проходит компонент 60 с поверхностью дорожного покрытия.
[0142] На нижней поверхности основания 62 выполнено углубление 622, в которое вставляется выступающая часть 612, предусмотренная на верхней поверхности рамы 61. Единичный элемент 600а компонента, образующего основную часть, присоединен к раме 61 с возможностью отсоединения посредством размещения единичного элемента 600а компонента, образующего основную часть, на раме 61 так, чтобы выступающая часть 612 и углубление 622 «сопрягались» друг с другом, и посредством прикрепления единичного элемента 600а компонента, образующего основную часть, к раме 61 с помощью (непоказанных) средств крепления, таких как болты или кулачковые рычаги.
[0143] В представленном варианте осуществления рама 61 образована из множества единичных элементов 610 рамы, образованных посредством разделения рамы 61 в направлении, в котором проходит компонент 60 с поверхностью дорожного покрытия, и может быть заменена посредством единичных элементов 610 рамы.
[0144] В представленном варианте осуществления единичный элемент 610 рамы и единичный элемент 600а компонента, образующего основную часть, образованы с одинаковой длиной, и поэтому также возможна замена с помощью единичных элементов 600 компонента с поверхностью дорожного покрытия, в которых единичный элемент 600а компонента, образующего основную часть, присоединен к единичному элементу 610 рамы.
[0145] В представленном варианте осуществления компонент 63, образующий дорожное покрытие, образован как одно целое с основанием 62. Однако компонент 63, образующий дорожное покрытие, может быть выполнен с возможностью отсоединения от основания 62 и присоединения к основанию 62. Например, компонент 63, образующий дорожное покрытие, может быть образован из множества единичных элементов 630 компонента, образующего дорожное покрытие, которые образованы посредством разделения компонента 63, образующего дорожное покрытие, в направлении, в котором проходит компонент 60 с поверхностью дорожного покрытия, и может быть образован с возможностью его замены с помощью единичных элементов 630 компонента, образующего дорожное покрытие. В этом случае единичный элемент 630 компонента, образующего дорожное покрытие, и единичный элемент 620 основания могут быть образованы с одинаковой длиной для обеспечения возможности замены с помощью комплексных единичных элементов, в которых единичный элемент 630 компонента, образующего дорожное покрытие, присоединен к единичному элементу 620 основания (другими словами, с помощью единичного элемента 600а компонента, образующего основную часть, в котором компонент 63, образующий дорожное покрытие, выполнен отсоединяемым). Кроме того, единичный элемент 610 рамы, единичный элемент 620 основания и единичный элемент 630 компонента, образующего дорожное покрытие, могут быть собраны для формирования единичного элемента 600 компонента с поверхностью дорожного покрытия, чтобы обеспечить возможность замены с помощью единичных элементов 600 компонента с поверхностью дорожного покрытия,
[0146] Как описано выше, в данном варианте осуществления множество единичных элементов 600 компонента с поверхностью дорожного покрытия соединены для формирования компонента 60 с поверхностью дорожного покрытия. При данной конфигурации становится возможным удлинение или укорачивание компонента 60 с поверхностью дорожного покрытия посредством добавления или удаления единичного элемента 600 компонента с поверхностью дорожного покрытия. Кроме того, при образовании множества единичных элементов с поверхностью дорожного покрытия так, чтобы они имели одинаковую конструкцию, становится возможным эффективное изготовление компонента 60 с поверхностью дорожного покрытия.
[0147] В представленном варианте осуществления, как и в случае компонента 60 с поверхностью дорожного покрытия, направляющий компонент 10 разделен на множество единичных элементов 100 направляющего компонента в направлении, в котором он проходит. Также можно удлинить или укоротить направляющий компонент 10 посредством добавления или удаления единичного элемента 100 направляющего компонента. Единичный элемент 100 направляющего компонента образован с такой же длиной, как единичный элемент 600 компонента с поверхностью дорожного покрытия. Следовательно, можно сформировать направляющий компонент 10 и компонент 60 с поверхностью дорожного покрытия с одинаковой длиной. Компонент 60 с поверхностью дорожного покрытия и направляющий компонент 10 также могут быть выполнены с возможностью их удлинения, укорачивания или частичной замены с помощью комплексного единичного элемента, в котором единичный элемент 100 направляющего компонента и единичный элемент 600 компонента с поверхностью дорожного покрытия объединены в одно целое.
[0148] В компоненте 60 с поверхностью дорожного покрытия по представленному варианту осуществления имитирующее дорожное покрытие, имитирующее дорогу с асфальтированным покрытием (то есть дорожное покрытие, влияние которого на шину, такое как объем изнашивания шины, сопоставимо с реальной дорогой с асфальтированным покрытием), образовано в качестве компонента 63, образующего дорожное покрытие. Имитирующее дорожное покрытие образовано, например, посредством придания определенной формы материалу и отверждения материала имитирующего дорожного покрытия, в котором связующее, например, такое как уретановая смола или эпоксидная смола, добавлено к заполнителю, образованному посредством дробления (и дополнительного полирования и/или травления при необходимости) керамического материала с очень высокой износостойкостью, такого как карбид кремния или оксид алюминия. При использовании такого материала имитирующего дорожного покрытия может быть получена поверхность имитирующего дорожного покрытия с очень хорошей износостойкостью и стабильным состоянием поверхности дорожного покрытия (то есть поверхность имитирующего дорожного покрытия, которая обеспечивает стабильный объем изнашивания испытываемой шины Т и тому подобные характеристики). Объем изнашивания шины можно регулировать, например, посредством размера частиц заполнителя и/или количества добавленного связующего.
[0149] Имитирующее дорожное покрытие по представленному варианту осуществления имеет однослойную структуру. Однако может быть использовано, например, имитирующее дорожное покрытие, в котором множество слоев, образованных из разных материалов, наложены друг на друга в направлении толщины. Также могут быть использованы имитирующие дорожные покрытия, которые имитируют мостовую из плит, клинкерную мостовую, бетонное дорожное покрытие и тому подобное, например, посредством регулирования типов и/или размера частиц заполнителя и/или регулирования типов и/или количества связующего.
[0150] Поверхность 63а дорожного покрытия также может быть образована такой, чтобы она обеспечивала большее (или меньшее) повреждение шины, чем поверхность реального дорожного покрытия. Становится возможным выполнение испытания при ускоренном ухудшении состояния шины посредством использования поверхности 63а дорожного покрытия, которая оказывает большее влияние на шину, чем поверхность реального дорожного покрытия.
[0151] Компонент 63, образующий дорожное покрытие, может быть также образован из реального материала дорожного покрытия (например, асфальтовой смеси, используемой для поверхностного слоя асфальтового дорожного покрытия). Также может быть использован компонент 63, образующий дорожное покрытие и воспроизводящий или имитирующий не только поверхностный слой реального дорожного покрытия, образующего поверхность дороги, но и также структуру нижнего слоя реального дорожного покрытия.
[0152] Поскольку в устройстве 1 для испытаний шин по представленному варианту осуществления поверхность 63а дорожного покрытия не перемещается во время испытания, испытание может быть выполнено в состоянии, в котором постороннее вещество (например, вода, снег, грязная вода/жидкая грязь, грязь, песок, гравий, масло или тому подобное, или вещество, имитирующее вышеупомянутое постороннее вещество), оказывающее влияние на эксплуатационные характеристики шины, распределено по поверхности 63а дорожного покрытия. Например, при выполнении испытания в состоянии, в котором вода разлита по поверхности 63а дорожного покрытия, может быть выполнено испытание на торможение на мокрой поверхности дороги.
[0153] Далее будет описан вариант компонента 60 с поверхностью дорожного покрытия. Фиг. 26 представляет собой поперечное сечение компонента 60А с поверхностью дорожного покрытия, который представляет собой вариант компонента 60 с поверхностью дорожного покрытия. Компонент 60А с поверхностью дорожного покрытия включает в себя рамный компонент 67, присоединенный к основанию 62. Рамный компонент 67 прикреплен к основанию 62 с обеспечением водонепроницаемости посредством заделки стыков или тому подобного и образует бассейн 68 вместе с основанием 62 и компонентом 63, образующим дорожное покрытие. Постороннее вещество (например, воду, гравий, грязь, опавшие листья или тому подобное), оказывающее влияние на эксплуатационные характеристики шины, размещают в бассейне 68 так, чтобы закрыть поверхность 63а дорожного покрытия. При использовании бассейна 68 становится возможным образование толстого слоя постороннего вещества на поверхности 63а дорожного покрытия. Рамный компонент 67 по данному варианту присоединен к верхней поверхности основания 62, но рамный компонент 67 может быть присоединен к боковым поверхностям основания 62. Рамный компонент 67 также может быть присоединен к верхней поверхности компонента 63, образующего дорожное покрытие.
[0154] Компонент 60А с поверхностью дорожного покрытия включает в себя средство 64 регулирования температуры, выполненное с возможностью регулирования температуры поверхности 63а дорожного покрытия. Средство 64 регулирования температуры по данному варианту имеет проточный канал 64а, образованный внутри основания 62, датчик 64b температуры, выполненный с возможностью измерения температуры поверхности 63а дорожного покрытия, и устройство 64с регулирования температуры (Фиг. 38). Датчик 64b температуры представляет собой, например, датчик температуры контактного типа, в котором используется термопара, терморезистор или тому подобное, или датчик температуры бесконтактного типа, такой как датчик инфракрасного излучения. Устройство 64с регулирования температуры соединено с управляющим компонентом 72 и обеспечивает доведение температуры поверхности 63а дорожного покрытия до заданной температуры на основе команды от управляющего компонента 72. В частности, устройство 64с регулирования температуры регулирует температуру теплоносителя (например, масла или воды, содержащей жидкий антифриз) на основе результата измерения, полученного датчиком 64b температуры, и обеспечивает поступление теплоносителя в проточный канал 64а. Существует возможность доведения температуры поверхности 63а дорожного покрытия до заданной температуры посредством обеспечения протекания теплоносителя, температура которого отрегулирована с помощью устройства регулирования температуры, по проточному каналу 64а. Наружная поверхность основания 62 покрыта теплоизоляционным материалом 69 для стабилизации температуры поверхности 63а дорожного покрытия и для повышения эффективности использования тепла.
[0155] Средство 64 регулирования температуры может регулировать температуру поверхности 63а дорожного покрытия в широком диапазоне от низкой температуры (например, от -40 градусов Цельсия) до высокой температуры (например, 80 градусов Цельсия). Можно образовать замерзшую поверхность дорожного покрытия посредством заполнения бассейна 68 водой и задания температуры уставки поверхности 63а дорожного покрытия ниже нуля. То есть можно выполнить испытание на торможение на льду посредством использования компонента 60А с поверхностью дорожного покрытия по данному варианту. Также можно выполнить испытание на торможение на снегу в состоянии, в котором бассейн 68 заполнен снегом.
[0156] Проточный канал 64а образован так, что он изгибается с постоянными интервалами внутри основания 62 параллельно поверхности 63а дорожного покрытия. Основание 62 разделено на множество секций (единичных элементов 620 основания) в направлении его протяженности, и соответствующие проточные каналы 64а образованы в соответствующих секциях. При данной конфигурации становится возможным более равномерное регулирование температуры всей поверхности 63а дорожного покрытия.
[0157] Далее будет описан компонент 165 для измерения нагрузки. Компонент 165 для измерения нагрузки представляет собой компонент, выполненный с возможностью определения распределения нагрузки, действующей на поверхность протектора шины.
[0158] Фиг. 27 и 28 представляют собой соответственно вид в плане и вид справа компонента 165 для измерения нагрузки и зоны вокруг компонента 165 для измерения нагрузки, который предусмотрен в компоненте 60 с поверхностью дорожного покрытия. Фиг. 29-31 представляют собой соответственно вид спереди, вид справа и вид в плане компонента 165 для измерения нагрузки.
[0159] Как показано на Фиг. 27 и 28, на верхней поверхности компонента 60а, образующего основную часть и предусмотренного в компоненте 60 с поверхностью дорожного покрытия, образовано углубление 60р, удлиненное в направлении оси Y. Компонент 165 для измерения нагрузки размещен внутри углубления 60р и прикреплен к нижней стороне углубления 60р.
[0160] Как показано на Фиг. 29-31, компонент 165 для измерения нагрузки включает в себя неподвижную раму 1658, подвижную раму 1659, две прямолинейные направляющие 1654, блок 1650 с матрицей датчиков, устройство 1655 для обеспечения перемещения и компонент 1656 для определения положения датчиков. На Фиг. 29 исключены прямолинейные направляющие 1654 и компоненты 1658b неподвижной рамы 1658, обеспечивающие опору для рельсовых направляющих, которые будут описаны позднее. Подвижная рама 1659 опирается на две прямолинейные направляющие 1654 с возможностью ее перемещения в направлении оси Y (то есть в направлении ширины компонента 60 с поверхностью дорожного покрытия). Блок 1650 с матрицей датчиков присоединен к верхней поверхности подвижной рамы 1659. Детали блока 1650 с матрицей датчиков будут описаны позднее.
[0161] Фиг. 32 представляет собой вид в плане, показывающий компонент 165 для измерения нагрузки в состоянии, в котором подвижный компонент (то есть подвижная рама 1659 и блок 1650 с матрицей датчиков) удален.
[0162] Как показано на Фиг. 30 и 32, неподвижная рама 1658 включает в себя по существу прямоугольную базовую плиту 1658а и два компонента 1658b, обеспечивающих опору для рельсовых направляющих и закрепленных на верхней поверхности базовой плиты 1658а. Два компонента 1658b, обеспечивающих опору для рельсовых направляющих, расположены с интервалом между ними в направлении оси Х, при этом направления их длины ориентированы в направлении оси Y.
[0163] Прямолинейная направляющая 1654 включает в себя рельсовую направляющую 1654а, проходящую в направлении оси Y, и множество кареток (в данном варианте осуществления три каретки) 1654b (упоминаемых в дальнейшем как «подвижные элементы 1654b»), выполненных с возможностью перемещения по рельсовой направляющей 1654а. Рельсовая направляющая 1654а присоединена к верхней поверхности компонента 1658b, обеспечивающего опору для рельсовой направляющей. Подвижные элементы 1654b присоединены к нижней поверхности подвижной рамы 1659. Прямолинейные направляющие 1654 обеспечивают направление перемещения подвижной рамы 1659 в направлении оси Y.
[0164] Устройство 1655 для обеспечения перемещения расположено между двумя компонентами 1658b, обеспечивающими опору для рельсовых направляющих, и прямолинейными направляющими 1654. Устройство 1655 для обеспечения перемещения включает в себя двигатель 1655m и шариковый винтовой механизм 1655b. Шариковый винтовой механизм 1655b включает в себя шариковый винт 1655ba, гайку 165bb, опорный компонент 1655bc и опорный компонент 1655bd. Несмотря на то, что двигатель 1655m в данном варианте осуществления представляет собой серводвигатель, другие типы двигателя, выполненного с возможностью регулирования величины работы, могут быть использованы в качестве двигателя 1655m.
[0165] Шариковый винт 1655ba опирается с возможностью вращения на два опорных компонента 1655bc и 1655bd на обоих концах шарикового винта 1655ba. Один конец шарикового винта 1655ba соединен с валом двигателя 1655m. Гайка 1655bb, соединенная с шариковым винтом 1655ba, присоединена к нижней поверхности подвижной рамы 1659. При вращении шарикового винта 1655ba посредством двигателя 1655m подвижная рама 1659 и блок 1650 с матрицей датчиков перемещаются в направлении оси Y вместе с гайкой 1655bb. То есть положение блока 1650 с матрицей датчиков в направлении оси Y может быть изменено посредством приведения двигателя 1655m в действие для вращения.
[0166] Как показано на Фиг. 32, компонент 1656 для определения положения датчиков включает в себя подвижный рычаг 1656а, множество датчиков (в данном варианте осуществления три датчика) 1656с близости и компонент 1656b для крепления датчиков. Концевая часть подвижного рычага 1656а прикреплена к подвижной раме 1659, и подвижный рычаг 1656а выполнен с возможностью перемещения в направлении оси Y вместе с подвижной рамой 1659. Компонент 1656b для крепления датчиков присоединен к неподвижной раме 1658.
[0167] Множество датчиков 1656с близости расположены с интервалами (например, с постоянными интервалами) в направлении оси Y, при этом их воспринимающие поверхности 1656cf ориентированы в положительном направлении оси Х, и датчики 1656с прикреплены к компоненту 1656b для крепления датчиков.
[0168] На концевой части подвижного рычага 1656а образована часть 1656ap для взаимодействия с датчиками близости, соседняя с датчиками 1656с близости. В данном варианте осуществления часть 1656ар для взаимодействия с датчиками близости образована посредством загибания концевой части подвижного рычага 1656а с формой кривошипа. Часть 1656ар для взаимодействия с датчиками близости расположена на той же высоте, что и воспринимающие поверхности 1656cf множества датчиков 1656с близости. Воспринимающие поверхности 1656cf множества датчиков 1656с близости расположены в пределах интервала возможного перемещения части 1656ар, предназначенной для взаимодействия с датчиками близости, в направлении оси Y с интервалами между данными поверхностями.
[0169] Фиг. 33 представляет собой увеличенный вид зоны Е, окруженной штрихпунктирной линией с двумя точками на Фиг. 29. Как показано на Фиг. 29 и 33, блок 1650 с матрицей датчиков включает в себя раму 1650а и множество (в данном варианте осуществления 150) модулей 1650m измерения нагрузки. В центральной части верхней поверхности рамы 1650а образовано углубление 1650ар, длинное в направлении оси Y. Множество модулей 1650m измерения нагрузки размещены в углублении 1650ар и прикреплены к нижней стороне углубления 1650ар.
[0170] Множество модулей 1650m измерения нагрузки расположены в направлении оси Х и в направлении оси Y в узлах решетки с постоянными интервалами (например, по существу без зазора между ними). В данном варианте осуществления 150 модулей 1650m измерения нагрузки расположены в 5 рядах в направлении оси Х и 30 рядах в направлении оси Y.
[0171] Модуль 1650m измерения нагрузки включает в себя датчик 1651 трех составляющих силы, компонент 1652 из материала дорожного покрытия и болт 1653. Датчик 1651 трех составляющих силы представляет собой цилиндрический пьезоэлектрический элемент, центральная ось которого ориентирована в направлении оси Z. Компонент 1652 из материала дорожного покрытия представляет собой элемент с формой прямоугольного параллелепипеда, длины которого в направлении оси Х и направлении оси Y являются одинаковыми, и образован, например, из материала имитирующего дорожного покрытия или материала дорожного покрытия, который такой же, как в компоненте 63, образующем дорожное покрытие. Следует отметить, что формы датчика 1651 трех составляющих силы и компонента 1652 из материала дорожного покрытия не ограничены данными формами. Например, датчик 1651 трех составляющих силы может иметь форму прямоугольного параллелепипеда, и форма компонента 1652 из материала дорожного покрытия может быть цилиндрической.
[0172] В центре цилиндрического датчика 1651 трех составляющих силы образовано отверстие 1651b, проходящее в направлении оси Z. В центре компонента 1652 из материала дорожного покрытия образовано отверстие 1652b под болт, проходящее в направлении оси Z. Модуль 1650m измерения нагрузки объединен в одно целое и прикреплен к раме 1650а посредством болта 1653, вставленного через отверстие 1651b датчика 1651 трех составляющих силы и ввинченного в отверстие 1652b под болт, образованное в компоненте 1652 из материала дорожного покрытия. Верхние поверхности компонентов 1652 из материала дорожного покрытия расположены горизонтально на одинаковой высоте для формирования поверхности 1652а дорожного покрытия. Зона в направлении оси Х и направлении оси Y, в которой расположены модули 1650m измерения нагрузки, представляет собой зону измерения, охватываемую блоком 1650 с матрицей датчиков. Ширина (то есть длина в направлении оси Y) Ly (Фиг. 31) зоны измерения, охватываемой блоком 1650 с матрицей датчиков, в достаточной степени превышает ширину протектора испытываемой шины Т, так что протектор испытываемой шины Т может контактировать с поверхностью 1652а дорожного покрытия на всей ширине.
[0173] Датчик 651 трех составляющих силы определяет изменения во времени нижеуказанных трех сил fR, fT и fL, которые действуют на поверхность 1652а дорожного покрытия в каждом модуле 1650m измерения нагрузки (то есть на протектор шины):
a) радиальной силы fR;
b) тангенциальной силы fT;
c) поперечной силы fL.
[0174] Можно определить распределение и изменение во времени силы, которую поверхность дорожного покрытия воспринимает со стороны протектора испытываемой шины Т (то есть силы, которая действует на протектор шины) посредством использования компонента 165 для измерения нагрузки.
[0175] Фиг. 38 представляет собой блок-схему, показывающую схематическую конфигурацию системы 1а управления, предусмотренную в устройстве 1 для испытаний шин. Система 1а управления включает в себя управляющий компонент 72, выполненный с возможностью управления работой всего устройства, измерительный компонент 74, выполненный с возможностью выполнения различных измерений, и интерфейсный компонент 76, выполненный с возможностью ввода данных извне и вывода данных вовне.
[0176] Двигатели 141 соответствующих приводных компонентов 14, двигатель 32 устройства 30 для приложения крутящего момента, двигатель 431 компонента 42 для регулирования нагрузки, двигатель 451 компонента для регулирования угла развала, двигатель 471 компонента 46 для регулирования угла увода и двигатель 1655m устройства 1655 для обеспечения перемещения соединены с управляющим компонентом 72 посредством соответствующих возбуждающих устройств 141a, 32a, 431а, 451a, 471a и 1655a. Устройство 64с регулирования температуры также соединено с управляющим компонентом 72.
[0177] Управляющий компонент 72 и соответствующие возбуждающие устройства 141a, 32a, 431а, 451a и 471a соединены друг с другом с возможностью передачи данных посредством оптических волокон, и обеспечивается возможность осуществления управления с обратной связью и высокоскоростной передачей данных между управляющим компонентом 72 и соответствующими сервоусилителями. Посредством этого обеспечивается возможность осуществления синхронизированного управления с высокой точностью (с высоким разрешением и высокой точностью по оси времени).
[0178] Датчик 54 шести составляющих сил, предусмотренный в осевом компоненте 50, датчики 1651 трех составляющих силы, предусмотренные в компоненте 165 для измерения нагрузки, и датчики 1656с близости, предусмотренные в компоненте 1656 для определения положения датчиков, соединены с измерительным компонентом 74 посредством соответствующих усилителей 54a, 1651a и 1656ca. Сигналы от датчика 54 шести составляющих сил, датчиков 1651 трех составляющих силы и датчиков 1656с близости усиливаются соответствующими усилителями 54a, 1651a и 1656ca и затем преобразуются в цифровые сигналы в измерительном компоненте 74, посредством чего генерируются данные измерений. Данные измерений вводятся в управляющий компонент 72. На Фиг. 38 показаны только один из датчиков 1651 трех составляющих силы, только один из усилителей 1651а, только один из датчиков 1656с близости и только один из усилителей 1656са.
[0179] Элементы данных о фазах, полученные встроенными кодовыми датчиками RE угла поворота, предусмотренными в соответствующих двигателях 141, 32, 431, 451, 471 и 1655m, вводятся в управляющий компонент 72 посредством соответствующих возбуждающих устройств 141a, 32a, 451a, 471a и 1655a.
[0180] Интерфейсный компонент 76 включает в себя, например, один или более из пользовательского интерфейса, предназначенного для ввода данных пользователем и выдачи данных пользователю, сетевого интерфейса, предназначенного для соединения с различными типами сетей, таких как локальная сеть (LAN), и различных типов коммуникационных интерфейсов, таких как универсальная последовательная шина (USB) и универсальная интерфейсная шина (GPIB), предназначенных для соединения с внешними устройствами. Пользовательский интерфейс включает в себя, например, один или более из различных типов переключателей режимов работы, индикаторов, различных типов устройств отображения, таких как жидкокристаллический дисплей (LCD), различных типов указывающих устройств, таких как мышь и сенсорная панель, и различных типов устройств ввода/вывода, таких как сенсорный экран, видеокамера, принтер, сканер, устройство звуковой сигнализации, динамик, микрофон и устройство для считывания с карты памяти/записи на карту памяти.
[0181] Управляющий компонент 72 может обеспечить перемещение каретки 20 с заданной скоростью посредством синхронного управления приведением в действие двигателей 141 соответствующих приводных компонентов 14 на основе задания данных по скорости, которые вводятся посредством интерфейсного компонента 76. В данном варианте осуществления все четыре приводных компонента 14 приводятся в действие синфазно (более точно, приводные компоненты 14LA и 14LB, расположенные слева, и приводные компоненты 14RA и 14RB, расположенные справа, приводятся во вращение с противоположными фазами [в противоположных направлениях вращения]).
[0182] Управляющий компонент 72 может обеспечить приложение заданной продольной силы к испытываемой шине Т посредством управления приведением в действие двигателя 32 устройства 30, предназначенного для приложения крутящего момент, на основе установочных данных по продольной силе (силе торможения или движущей силе), которая должна быть приложена к испытываемой шине Т, при этом указанные данные получены посредством интерфейсного компонента 76. Управляющий компонент 72 также может обеспечить приложение заданного крутящего момента к испытательному колесу W посредством управления устройством 30, предназначенным для приложения крутящего момента, на основе установочных данных по крутящему моменту (или установочных данных по ускорению) вместо установочных данных по продольной силе.
[0183] Управляющий компонент 72 может осуществлять управление приводным компонентом 14 для обеспечения перемещения каретки 20 с заданной скоростью движения (и одновременно для обеспечения вращения испытываемой шины Т с окружной скоростью, которая по существу такая же, как скорость движения) и управление устройством 30, предназначенным для приложения крутящего момента, для приложения продольной силы (или крутящего момента) к испытываемой шине Т синхронно на основе сигнала синхронизации.
[0184] Помимо базовых форм волн, таких как синусоидальная волна, синусоидальная полуволна, волна в виде последовательности пилообразных импульсов, волна в виде последовательности треугольных импульсов и волна в виде последовательности трапециевидных импульсов, формы колебаний продольной силы (или крутящего момента), которые измерены при дорожных испытаниях, формы колебаний продольной силы (или крутящего момента), которые получены посредством вычислений при моделировании, или другие произвольные синтезированные формы сигналов (например, формы сигналов, которые генерируются генератором функций или тому подобным), могут быть использованы в качестве форм колебаний крутящего момента, который подлежит генерированию посредством устройства 30 для приложения крутящего момента.
[0185] Аналогичным образом при регулировании скорости движения каретки 20 (или скорости вращения испытательного колеса W) помимо базовых форм колебаний могут быть использованы формы колебаний скоростей вращения колес, которые измерены при дорожных испытаниях, формы сигналов изменения скорости, которые получены посредством вычислений при моделировании, или другие произвольные синтезированные формы сигналов (например, формы сигналов, которые генерируются генератором функций или тому подобным).
[0186] Далее будет описана процедура изменения положения блока 1650 с матрицей датчиков в направлении оси Y посредством устройства 1655 для обеспечения перемещения. В исходном состоянии, показанном на Фиг. 32, блок 1650 с матрицей датчиков расположен в месте, в котором часть 1656ар подвижного рычага 1656а, предназначенная для взаимодействия с датчиками близости, расположена напротив воспринимающей поверхности 1656cf датчика 1656с близости, расположенного в центре. При выдаче команды на перемещение блока 1650 с матрицей датчиков влево (в положительном направлении оси Y) посредством, например, действия пользователя на сенсорном экране управляющий компонент 72 передает команду на вращение в направлении против часовой стрелки возбуждающему устройству 1655а для перемещения блока 1650 с матрицей датчиков в направлении оси Y. Возбуждающее устройство 1655а, которое получило команду на вращение в направлении против часовой стрелки, подает ток возбуждения, который вызывает вращение двигателя 1655m в направлении против часовой стрелки. При приведении двигателя 1655m во вращение в направлении против часовой стрелки посредством тока возбуждения шариковый винт 1655ba вращается в направлении против часовой стрелки вместе с валом двигателя 1655m, и блок 1650 с матрицей датчиков перемещается в направлении оси Y вместе с гайкой 1655bb и подвижной рамой 1659.
[0187] Когда блок 1650 с матрицей датчиков перемещается в направлении оси Y, часть 1656ар подвижного рычага 1656а, предназначенная для взаимодействия с датчиками близости, перемещается от воспринимающей поверхности 1656cf датчика 1656с близости, расположенного в центре, и датчик 1656с близости, расположенный в центре, становится в меньшей степени реагирующим на приближение. С течением времени часть 1656ар подвижного рычага 1656а, предназначенная для взаимодействия с датчиками близости, достигает положения напротив воспринимающей поверхности 1656cf датчика 1656с близости, расположенного слева (со стороны положительного направления оси Y). В этот момент датчик 1656с близости, расположенный слева, обнаруживает приближение и выдает сигнал приближения, указывающий на обнаружение приближения. Измерительный компонент 74, который получил сигнал приближения посредством усилителя 1656ca, уведомляет управляющий компонент 72 о том, что блок 1650 с матрицей датчиков достиг фиксированного положения слева. Управляющий компонент 72, который получил уведомление от измерительного компонента 74, передает команду возбуждающему устройству 1655а на прекращение приведения в действие. Возбуждающее устройство 1655а, которое получило команду на прекращение приведения в действие, перестает подавать ток возбуждения двигателю 1655m. Посредством этого вращения вала двигателя 1655m и шарикового винта 1655ba прекращаются, и гайка 1655bb и блок 1650 с матрицей датчиков также останавливаются, и смещение блока 1650 с матрицей датчиков завершается.
[0188] При наличии устройства 1655 для обеспечения перемещения становится возможным укорачивание длины Ly (Фиг. 31) зоны измерения, охватываемой блоком 1650 с матрицей датчиков, в направлении оси Y для уменьшения числа модулей 1650m измерения нагрузки, необходимых для определения распределения нагрузки, и, следовательно, становится возможным сокращение затрат, необходимых для изготовления и эксплуатации/технического обслуживания блока 1650 с матрицей датчиков.
[0189] Далее будет описан способ получения распределения нагрузки, действующей на протектор шины, посредством использования компонента 165 для измерения нагрузки. Фиг. 34 представляет собой схему последовательности операций, показывающую процедуру выполнения способа для получения распределения нагрузки, действующей на протектор шины.
[0190] При включении питания устройства 1 для испытаний шин управляющий компонент 72 сначала выполняет процесс S1 инициализации. Как показано на Фиг. 1, в исходном состоянии каретка 20 размещается в исходном положении PX0 (исходном положении при движении), заданном как положение рядом с концом интервала ее возможных перемещений, определяемым в отрицательном направлении оси Х. Подвижная рама 421 (Фиг. 19) устанавливается в исходном положении PZ0, заданном, например, как положение рядом с верхним концом интервала ее возможных перемещений. В исходном положении PZ0 испытательное колесо W поднято с поверхности 63а дорожного покрытия, и существует возможность присоединения и отсоединения испытательного колеса W и регулирования выравнивания испытательного колеса W. Угол развала и угол увода также доводятся до заданных значений соответственно посредством компонента 44 для регулирования угла развала и компонента 46 для регулирования угла увода.
[0191] В состоянии, в котором испытательное колесо W поднято с поверхности 63а дорожного покрытия, приводится в действие двигатель 32 устройства 30 для приложения крутящего момента, и угловое положение θW испытательного колеса W изменяется на исходное угловое положение θW0 для завершения процесса S1 инициализации. Угловое положение θH устройства 30 для приложения крутящего момента (то есть вращающейся рамы 31) зависит от положения PX каретки 20 при перемещении. В исходном состоянии устройство 30 для приложения крутящего момента всегда расположено в исходном угловом положении θH0.
[0192] После завершения процесса S1 инициализации при подаче команды на начало испытания посредством, например, действия пользователя на сенсорном экране (S2: ДА) число серий k измерений, представляющее собой счетчик, задается равным 1 (S3). После этого обеспечиваются опускание испытательного колеса W и его ввод в контакт с поверхностью 63а дорожного покрытия, и компонент 42 для регулирования нагрузки обеспечивает приложение заданной нагрузки к испытательному колесу W (S4).
[0193] После этого выполняется первая серия S5 измерений. В серии S5 измерений приводятся в действие двигатели 141 соответствующих приводных компонентов 14, и каретка 20 перемещается с заданной скоростью движения, и испытательное колесо W вращается с окружной скоростью, которая по существу такая же, как скорость движения каретки 20. Двигатель 32 устройства 30 для приложения крутящего момента также приводится в действие, и обеспечивается приложение заданного крутящего момента к испытательному колесу W.
[0194] При выполнении серии S5 измерений силы, действующие на поверхность 1652а дорожного покрытия и испытательное колесо W, измеряются соответственно датчиком 1651 трех составляющих силы, предусмотренным в компоненте 165 для измерения нагрузки, и датчиком 54 шести составляющих сил, предусмотренным в осевом компоненте 50, с заданными интервалами времени (например, с интервалами, составляющими 5 мс). Интервалы времени измерений, выполняемых датчиком 1651 трех составляющих силы и датчиком 54 шести составляющих сил, заданы соответствующим образом в соответствии с условиями испытаний (например, в соответствии со скоростью движения каретки 20 и требуемой точностью испытаний).
[0195] При выполнении серии S5 измерений положение PX каретки 20 при перемещении и угловое положение θW испытательного колеса W определяются с заданными интервалами времени (например, с интервалами времени, такими же, как используемые для измерений датчиком 1651 трех составляющих силы). Положение PX каретки 20 при перемещении определяют из результатов измерений, полученных встроенными кодовыми датчиками RE угла поворота (Фиг. 38), предусмотренными в двигателях 141 приводных компонентов 14, передаточных чисел ременных механизмов 142 и расчетных диаметров ведущих шкивов 152 ременных механизмов 15. В описании представленного варианта осуществления положение PX каретки 20 при перемещении определено как положение оси Ay вращения испытательного колеса W в направлении движения каретки 20 (в направлении оси Х).
[0196] Угловое положение θW испытательного колеса W определяется посредством вычислений на основе результатов измерений, полученных кодовым датчиком 38 угла поворота, предусмотренным в устройстве 30 для приложения крутящего момента, и встроенным кодовым датчиком RE угла поворота, предусмотренным в двигателе 32. В частности, угловое положение θW испытательного колеса W рассчитывается посредством прибавления произведения угла, соответствующего угловому положению θM вала 321 двигателя 32 и определенного кодовым датчиком RE угла поворота, предусмотренным в двигателе 32 (при этом угол, соответствующий исходному угловому положению θM0 в исходном состоянии, составляет 0 [рад]), и передаточного отношения редуктора 33 (то есть углового положения θS вала 34 относительно вращающейся рамы 31) к углу, который соответствует угловому положению θH вращающейся рамы 31 устройства 30 для приложения крутящего момента и определен кодовым датчиком 38 угла поворота.
[0197] Следует отметить, что может быть предусмотрено средство измерения, такое как кодовый датчик угла поворота, предназначенное для определения углового положения θT «на выходе» устройства 30 для приложения крутящего момента (например, углового положения шпинделя 52 и передаточных валов 261, 266), для определения углового положения θW испытательного колеса W непосредственно с помощью данного средства измерения.
[0198] Результаты измерений, полученные датчиком 1651 трех составляющих силы и датчиком 54 шести составляющих сил, увязываются с результатами измерений, полученными встроенными кодовыми датчиками RE угла поворота, предусмотренными в двигателях 141 приводных компонентов 14 (то есть с положением PX каретки 20 при перемещении), и результатом определения углового положения θW испытательного колеса W, которые получены в один и тот же момент времени, и сохраняются в запоминающем устройстве 721 управляющего компонента 72 (или в запоминающем средстве, к которому управляющий компонент 72 может иметь доступ, таком как сервер 77, соединенный с управляющим компонентом 72, например, посредством локальной сети (LAN)). Что касается результата измерений, полученного датчиком 1651 трех составляющих силы, то могут быть сохранены в памяти только результат, полученный в промежутке времени, в котором испытательное колесо W проходит над блоком 1650 с матрицей датчиков, и результаты, полученные в заданных промежутках времени до и после вышеупомянутого промежутка времени. При данной конфигурации можно уменьшить количество данных, подлежащих сохранению.
[0199] Когда каретка 20 достигает «тупикового» конца зоны перемещения и останавливается, устройство 42 регулирования нагрузки обеспечивает подъем испытательного колеса W до высоты, при которой испытательное колесо W поднято с поверхности 63а дорожного покрытия (например, такой же высоты, как в исходном состоянии) (S6). После этого приводные компоненты 14 приводятся в действие, и каретка 20 перемещается в исходное положение PX0 (S7).
[0200] Вышеописанные процессы S4-S9 повторяются до тех пор, пока число серий k измерений не достигнет заданного числа n (S8). Если число серий k измерений еще не достигло заданного числа n (S8: НЕТ), двигатель 32 устройства 30 для приложения крутящего момента приводится в действие для перемещения испытательного колеса W из углового положения θW в угловое положение θW0+k*ΔθW (S9), и значение счетчика k увеличивается (S12). То есть угловое положение θW испытательного колеса W при исходном положении PX0 изменяется на величину угла/угловую ширину ΔθW каждый раз, когда число серий k измерений увеличивается на единицу.
[0201] Угловая ширина ΔθW задана, например, равной величине, которая равна или меньше центрального угла θC1 испытательного колеса W, который соответствует длине Lx (Фиг. 30) зоны измерения, охватываемой блоком 1650 с матрицей датчиков, в направлении оси Х (то есть углу θC1 поворота испытательного колеса W, когда испытательное колесо W катится на расстоянии Lx). Например, угловая ширина ΔθW задана равной величине, которая такая же, как центральный угол θC2, или незначительно меньше центрального угла θC2 испытательного колеса W, который соответствует интервалу Δ (Фиг. 30) при размещении модулей 1650m измерения нагрузки.
[0202] Кроме того, угловая ширина ΔθW может быть, например, задана равной величине, полученной делением 2π на заданное число n. В этом случае вся окружная периферия испытательного колеса W измеряется без зазора посредством n серий измерений.
[0203] После завершения выполнения заданных n серий измерений (S8: ДА) выполняется расчет S10 профиля нагрузки.
[0204] Фиг. 35 представляет собой схему последовательности операций, показывающую процедуру расчета S10 профиля нагрузки. Расчет S10 профиля нагрузки представляет собой процесс вычисления данных профиля нагрузки на основе результатов измерений, полученных посредством n серий S5 измерений.
[0205] Данные профиля нагрузки представляют собой данные, в которых значения сил трех типов, действующих на шину (то есть радиальной силы fR, тангенциальной силы fT и поперечной силы fL), поставлены в соответствие координатам в плоскости на поверхности дорожного покрытия.
[0206] При расчете S10 профиля нагрузки сначала выполняется расчет координат соответствующих модулей 1650m измерения нагрузки (S101). В данном варианте осуществления координата точки в центре верхней поверхности модуля 1650m измерения нагрузки задана как координата модуля 1650m измерения нагрузки.
[0207] Фиг. 36 представляет собой схематическое изображение, показывающее взаимное расположение модулей 1650m измерения нагрузки и оси Ay вращения испытательного колеса W. Как описано выше, в данном варианте осуществления 150 модулей измерения нагрузки расположены в 5 рядах в направлении оси Х и 30 рядах в направлении оси Y. В нижеприведенном описании номер ряда модуля 1650m измерения нагрузки в направлении оси Х будет обозначен p, номер ряда модуля 1650m измерения нагрузки в направлении оси Y будет обозначен q, и положение модуля 1650m измерения нагрузки будет указано посредством пары положительных целых чисел [p, q] (упоминаемой в дальнейшем как адрес [p, q]).
[0208] При расчете S10 профиля нагрузки используется система координат (x, y). Система координат (x, y) представляет собой двумерную систему ортогональных координат, параллельную системе координат (X, Y), при этом началом системы координат (x, y) является центр верхней поверхности модуля 1650m измерения нагрузки, расположенного по адресу [3, 1]. То есть плоскость xy представляет собой плоскость, в которой расположена поверхность 63а и 1652а дорожного покрытия в компоненте 60 с поверхностью дорожного покрытия. В данном варианте осуществления начало системы координат (x, y) (то есть положение модуля 1650m измерения нагрузки, имеющего адрес [3, 1]) задано как положение блока 1650 с матрицей датчиков. В нижеприведенном описании координата, началом которой является неподвижная точка, упоминается как абсолютная координата, и координата, началом которой является подвижная точка, упоминается как относительная координата. При расчете S10 профиля нагрузки вычисляются абсолютные координаты соответствующих модулей 1650m измерения нагрузки.
[0209] В данном варианте осуществления модули 1650m измерения нагрузки расположены с постоянными интервалами Δ в направлении оси x и в направлении оси y. Следовательно, координаты x и y адреса [p, q] рассчитываются в соответствии со следующими формулами.
x=(p - 3) * Δ
y=(q - 1) * Δ
[0210] После этого рассчитывается координата x оси Ay вращения испытательного колеса W (упоминаемая в дальнейшем как «координата xAy») (S102). Координата xAy рассчитывается в соответствии со следующей формулой.
xAy=PX - SX
где
PX: координата X положения Px испытательного колеса W при перемещении (координата оси Ay вращения);
SX: координата X начала системы координат (x, y).
[0211] То есть в процессе S102 координаты оси Ay вращения испытательного колеса W преобразуются из системы координат XY в систему координат xy.
[0212] После этого определяются относительные положения (рассчитываются относительные координаты) модулей 1650m измерения нагрузки по отношению к положению Px испытательного колеса W (оси Ay вращения) при перемещении (S103). Относительные координаты (xr, yr) модулей 1650m измерения нагрузки рассчитываются в соответствии с нижеприведенными формулами. В данном варианте осуществления получают данные профиля нагрузки, относящиеся к относительным координатам по отношению к оси Ay вращения.
xr=x - xAy
yr=y
[0213] После этого элементы данных профиля нагрузки по трем типам сил fR, fT и fL рассчитываются посредством усреднения всех результатов измерений (то есть радиальных сил fR, тангенциальных сил fT и поперечных сил fL, измеренных соответствующими модулями 1650m измерения нагрузки) для каждой относительной координаты (xr, yr) (S104). В процессе S104 элементы данных профиля нагрузки могут быть рассчитаны как приближенные криволинейные поверхности, которые могут быть получены посредством регрессионного анализа (например, криволинейная поверхность, соответствующая, например, методу наименьших квадратов).
[0214] В процессе S104 элементы данных профиля нагрузки могут быть рассчитаны с учетом углового положения θW испытательного колеса W (то есть для каждого углового положения θW). В данном случае элементы данных профиля нагрузки могут быть рассчитаны с учетом также симметричности рисунка протектора испытываемой шины Т относительно оси Ay вращения. В частности, элементы данных профиля нагрузки могут быть рассчитаны для всех угловых положений θW, которые являются одинаковыми по фазе цикла для рисунка протектора в направлении вдоль окружности.
[0215] В данном варианте осуществления посредством n серий измерений выполняются измерения только для одного оборота испытательного колеса W. Однако число серий измерений может быть увеличено для выполнения измерений для множества оборотов. Поскольку в данном варианте осуществления множество серий измерений выполняются при изменении углового положения θW испытательного колеса W при исходном положении PX0 посредством центрального угла θC2 испытательного колеса W, который соответствует интервалу Δ, с которым размещены модули 1650m измерения нагрузки, разрешение для данных профиля нагрузки в направлении оси x почти соответствует величине интервала Δ, с которым размещены модули 1650m измерения нагрузки. Посредством неоднократного выполнения серии измерений при изменении углового положения θW на дополнительный меньший угол (например, равный 1/10 от центрального угла θC2) существенное разрешение в направлении оси x может быть сделано меньшим, чем интервал Δ, с которым размещены модули 1650m измерения нагрузки. Например, если серии измерений повторяются при изменении углового положения θW на 1/m центрального угла θC2 (при этом m представляет собой натуральное число), существенное разрешение в направлении оси x может быть доведено до почти Δ/m.
[0216] В данном варианте осуществления определяемая в направлении оси Х длина Lx (Фиг. 30) зоны измерения, охватываемой блоком 1650 с матрицей датчиков, меньше длины протектора шины в направлении оси Х. Следовательно, распределение нагрузки не может быть получено для всего протектора шины при обеспечении перекатывания испытательного колеса W по блоку 1650 с матрицей датчиков только один раз.
[0217] Следовательно, в данном варианте осуществления выбран метод определения распределения нагрузки по протектору шины при нескольких отдельных измерениях при смещении углового положения θW испытательного колеса W во время качения испытательного колеса W по блоку 1650 с матрицей датчиков. Посредством данного метода становятся возможными уменьшение длины зоны измерения, охватываемой блоком 1650 с матрицей датчиков, в направлении оси Х и уменьшение числа модулей 1650m измерения нагрузки, необходимых для определения распределения нагрузки, и поэтому обеспечивается возможность снижения затрат, необходимых для изготовления и эксплуатации/технического обслуживания блока 1650 с матрицей датчиков.
[0218] Посредством неоднократного выполнения серии измерений при одновременном изменении положения блока 1650 с матрицей датчиков с заданным интервалом по оси Y посредством устройства 1655 для обеспечения перемещения существенное разрешение в направлении оси y может быть сделано меньшим. В этом случае двигатель, обеспечивающий возможность регулирования положения (например, серводвигатель или шаговый двигатель), используется в качестве двигателя 1655m устройства 1655 для обеспечения перемещения. Например, посредством неоднократного выполнения серии измерений при изменении положения блока 1650 с матрицей датчиков в направлении оси Y на 1 мм существенное разрешение в направлении оси y может быть доведено до почти 1 мм.
[0219] После этого изображения профилей нагрузок, созданные на основе рассчитанных данных профилей нагрузок, отображаются на устройстве отображения, предусмотренном в интерфейсном компоненте 76, и осуществляется визуализация распределения нагрузки, действующей на протектор шины (S11). Фиг. 37 показывает примеры отображенных изображений профиля нагрузки. Фиг. 37(а) представляет собой изображение профиля нагрузки, создаваемой тангенциальными силами fT, Фиг. 37(b) представляет собой изображение профиля нагрузки, создаваемой поперечными силами fL, и Фиг. 37(с) представляет собой изображение профиля нагрузки, создаваемой радиальными силами fR. Изображения профилей нагрузок, показанные на Фиг. 37, представляют собой изображения, созданные посредством преобразования значений сил в соответствующих местах (xr, yr) в яркость. Вид изображений профиля нагрузки не ограничен видом по данному варианту осуществления и может представлять собой другой вид, такой как у трехмерного изображения, полученного компьютерной графикой (CG).
[0220] Вышеизложенное представляет собой описание вариантов осуществления настоящего изобретения. Варианты осуществления настоящего изобретения не ограничены вышеописанными, и возможны различные модификации. Например, соответствующие комбинации конфигураций вариантов осуществления и тому подобного, явным образом проиллюстрированных в данном описании, и/или конфигурации, очевидные для среднего специалиста в данной области техники из описания в данном описании, также включены в варианты осуществления данной заявки.
[0221] В вышеописанных вариантах осуществления устройство 1 для испытаний шин включает в себя два ременных механизма 15. Однако устройство 1 для испытаний шин может включать в себя один ременный механизм 15 или три или более ременных механизмов 15.
[0222] В вышеописанных вариантах осуществления ременные механизмы 15 приводятся в действие посредством мощности, генерированной двумя приводными компонентами 14. Однако ременные механизмы 15 могут быть выполнены с возможностью приведения их в действие посредством одного приводного компонента 14 или трех или более приводных компонентов 14.
[0223] В вышеописанных вариантах осуществления зубчатый ремень и зубчатые шкивы используются в каждом из ременных механизмов 15, 24 и 25. Однако плоский ремень или клиновидный ремень, или поликлиновый ремень, имеющий множество V-образных ручьев, расположенных в направлении ширины, может быть использован вместо зубчатого ремня в одном или более ременных механизмах. Также можно использовать ремень общего назначения, имеющий корды, образованные скручиванием стекловолокон. Другой тип передаточного механизма с намотанным элементом, такой как цепной передаточный механизм или проволочный передаточный механизм, и другой тип механизма передачи мощности, такой как шариковый винтовой механизм, зубчатая передача или гидравлический механизм, могут быть использованы вместо каждого ременного механизма.
[0224] В вышеописанных вариантах осуществления мощность для приведения в движение каретки 20 и мощность для приведения в движение испытательного колеса W (шпинделя 52) подаются от общих приводных компонентов 14 и передаются посредством общих ременных механизмов 15. Однако настоящее изобретение не ограничено данной конфигурацией. Например, мощность для приведения в движение каретки 20 и мощность для приведения в движение испытательного колеса W могут генерироваться отдельными приводными компонентами и могут передаваться с помощью отдельных средств передачи мощности (например, отдельных ременных механизмов). В этом случае должно быть обеспечено синхронное управление приведением в действие приводного компонента, предназначенного для приведения в движение каретки, и приведением в действие приводного компонента, предназначенного для приведения в движение испытательного колеса, для синхронизации скорости движения каретки 20 и окружной скорости испытательного колеса W.
[0225] В вышеописанных вариантах осуществления простая система привода и система управления реализованы за счет того, что сделаны «общими»/совместно используются часть (приводные компоненты 14 и приводные ременные механизмы 15) механизма для приведения в движение каретки 20 (средства приведения в движение каретки) и часть (приводные компоненты 14 и приводные ременные механизмы 15) механизма для приведения в движение испытательного колеса W (средства приведения в движение испытательного колеса). Возможность совместного использования средства приведения в движение каретки и средства приведения в движение испытательного колеса (в особенности совместного использования приводных компонентов 14) обеспечивается благодаря уменьшению нагрузки, которую несут приводные компоненты 14, за счет включения в конструкцию устройства 30, предназначенного для приложения крутящего момента, с целью изоляции источника мощности, предназначенного для регулирования скорости испытательного колеса W, от источника мощности, предназначенного для регулирования крутящего момента на испытательном колесе W.
[0226] В вышеописанном варианте осуществления выбрана конфигурация, в которой приводные компоненты 14RA и 14RB, расположенные справа, служат как в качестве средства приведения в движение каретки, так и в качестве средства сообщения вращательного движения, и приводные компоненты 14LA и 14LB, расположенные слева, служат в качестве средства приведения в движение каретки. Однако настоящее изобретение не ограничено данной конфигурацией. Например, приводные компоненты 14LA и 14LB, расположенные слева, могут служить как в качестве средства приведения в движение каретки, так и в качестве средства сообщения вращательного движения, и приводные компоненты 14RA и 14RB, расположенные справа, могут служить в качестве средства приведения в движение каретки. В альтернативном варианте как приводные компоненты 14LA и 14LB, расположенные слева, так и приводные компоненты 14RA и 14RB, расположенные справа, могут служить как в качестве средств приведения в движение каретки, так и в качестве средств сообщения вращательного движения. Данная конфигурация реализуется, например, посредством соединения в общей сложности двух валов 223В первых ведомых компонентов 22R и 22L (другими словами, посредством замены двух валов 223В одним длинным валом 223В, соединяющим первые ведомые компоненты 22R и 22L, расположенные слева и справа).
[0227] В вышеописанном третьем варианте обеспечивается возможность определения профилей нагружения протектора шины, имеющего длину, превышающую длину Lx зоны измерения, охватываемой блоком 1650 с матрицей датчиков, в направлении оси Х, посредством изменения углового положения θW испытательного колеса W в исходном положении PZ0 для каждой серии измерений. Тем не менее становится возможным определение профилей нагружения протектора шины, имеющего длину, превышающую длину Lx, без изменения углового положения θW испытательного колеса W в исходном положении PZ0 для каждой серии измерений посредством обеспечения наличия средства, которое делает возможным изменение положения блока 1650 с матрицей датчиков в направлении оси Х. Средство, которое обеспечивает возможность изменения положения блока 1650 с матрицей датчиков в направлении оси Х, может быть, например, образовано посредством двигателя, позволяющего регулировать положение, и механизма с ходовым винтом (например, шарикового винтового механизма), как в случае устройства 1655 для обеспечения перемещения.
[0228] В описанном варианте осуществления в направляющем механизме 12 направляющего компонента 10 стержень 124а или тому подобные элементы опираются на два однорядных подшипника 127а или тому подобное. Однако настоящее изобретение не ограничено данной конфигурацией. Например, стержень может опираться на один или более многорядных или однорядных подшипников.
[0229] В вышеописанном варианте осуществления рельс, подвергнутый термообработке, используется в направляющем механизме 12 направляющего компонента 10. Однако настоящее изобретение не ограничено данной конфигурацией. Например, может использоваться обычный рельс (JIS E 1101:2001) или легкий рельс (JIS E 1103:1993). Кроме того, помимо рельсовой направляющей с плоской нижней поверхностью можно использовать рельсовые направляющие, имеющие другие формы, такие как рельс с двумя головками, рельс с закругленной головкой и мостовидный рельс.
[0230] В вышеописанном варианте осуществления двигатель 141 (серводвигатель переменного тока) используется в приводном компоненте 14. Однако настоящее изобретение не ограничено данной конфигурацией. Вместо серводвигателя переменного тока можно использовать двигатель другого типа, посредством которого можно обеспечить регулирование скорости или положения (например, серводвигатель постоянного тока или так называемый инверторный электродвигатель, в котором цепь инвертора объединена с электродвигателем переменного тока или бесщеточным электродвигателем).
[0231] В вышеописанном варианте осуществления двигатели 32, 431 и 471, которые представляют собой серводвигатели переменного тока, используются соответственно в устройстве 30 для приложения крутящего момента, компоненте 42 для регулирования нагрузки и компоненте 46 для регулирования угла увода. Однако настоящее изобретение не ограничено данной конфигурацией. Вместо серводвигателя переменного тока можно использовать двигатель другого типа, посредством которого можно регулировать положение (например, серводвигатель постоянного тока или шаговый двигатель).
| название | год | авторы | номер документа |
|---|---|---|---|
| УСТРОЙСТВО ДЛЯ ИСПЫТАНИЙ ШИН | 2020 |
|
RU2819633C1 |
| УСТРОЙСТВО ДЛЯ ИСПЫТАНИЙ ШИН | 2020 |
|
RU2819075C2 |
| УСТАНОВКА ДЛЯ ИСПЫТАНИЙ КОЛЕС | 2021 |
|
RU2824533C1 |
| УСТРОЙСТВО ДЛЯ ИСПЫТАНИЯ ДИНАМИЧЕСКОЙ НАГРУЗКИ | 2020 |
|
RU2814966C1 |
| ВЫСОКОЧАСТОТНАЯ УСТАЛОСТНАЯ МАШИНА ДЛЯ ИСПЫТАНИЙ НА ДИНАМИЧЕСКУЮ НАГРУЗКУ ДЛЯ РЕЛЬСОВЫХ КРЕПЕЖНЫХ ПРУЖИННЫХ ПРУТКОВ | 2019 |
|
RU2747792C2 |
| Устройство для сбора мусора с проезжей части улично-дорожной сети населённых пунктов | 2021 |
|
RU2757688C1 |
| МЕХАНИЗМ ДЛЯ ОТСОЕДИНЕНИЯ ПРИВОДНОГО РЕМНЯ ФРЕЗЕРНОГО БАРАБАНА ДОРОЖНОЙ ФРЕЗЕРНОЙ МАШИНЫ И УЗЕЛ ВСПОМОГАТЕЛЬНОГО ПРИВОДА ФРЕЗЕРНОГО БАРАБАНА | 2018 |
|
RU2733237C1 |
| Промышленный робот | 1987 |
|
SU1481057A1 |
| УСТРОЙСТВО ДЛЯ ИСПЫТАНИЯ АСФАЛЬТОБЕТОНА НА СДВИГОУСТОЙЧИВОСТЬ | 1994 |
|
RU2086950C1 |
| ПОСТ КОМПЛЕКСНОЙ ДИАГНОСТИКИ АВТОМОБИЛЕЙ | 2022 |
|
RU2788234C1 |
Изобретение относится к автомобильной промышленности. Устройство для испытаний шин согласно одному варианту осуществления настоящего изобретения включает в себя поверхность дорожного покрытия и каретку, выполненную с возможностью удерживания испытательного колеса, на котором установлена испытываемая шина, с возможностью его вращения и способную перемещаться по поверхности дорожного покрытия в состоянии, в котором обеспечивается контакт испытываемой шины с поверхностью дорожного покрытия. Каретка включает в себя осевой компонент, который обеспечивает опору для испытательного колеса с возможностью вращения, и компонент для выравнивания, выполненный с возможностью регулирования выравнивания испытательного колеса посредством изменения ориентации осевого компонента. Компонент для выравнивания включает в себя компонент для регулирования нагрузки, выполненный с возможностью регулирования нагрузки, действующей на испытательное колесо, посредством изменения высоты осевого компонента. Компонент для регулирования нагрузки включает в себя первую подвижную раму, опертую с возможностью перемещения вверх и вниз, прямолинейную направляющую, которая обеспечивает направление перемещения первой подвижной рамы вверх и вниз, и первое приводное устройство, которое обеспечивает приведение первой подвижной рамы в движение вверх и вниз. Технический результат - возможность выполнять стендовые испытания шин при различных состояниях поверхности дорожного покрытия. 2 н. и 14 з.п. ф-лы, 38 ил.
1. Устройство для испытаний шин, содержащее:
поверхность дорожного покрытия и
каретку, выполненную с возможностью удерживания с возможностью вращения испытательного колеса, на котором установлена испытываемая шина, и выполненную с возможностью перемещения по поверхности дорожного покрытия в состоянии, в котором обеспечивается контакт испытываемой шины с поверхностью дорожного покрытия;
при этом каретка включает в себя:
- осевой компонент, который обеспечивает опору для испытательного колеса с возможностью его вращения; и
- компонент для выравнивания, выполненный с возможностью регулирования выравнивания испытательного колеса посредством изменения ориентации осевого компонента,
причем компонент для выравнивания включает в себя компонент для регулирования нагрузки, выполненный с возможностью регулирования нагрузки, действующей на испытательное колесо, посредством изменения высоты осевого компонента,
при этом компонент для регулирования нагрузки включает в себя:
- первую подвижную раму, опертую с возможностью перемещения вверх и вниз;
- прямолинейную направляющую, которая обеспечивает направление перемещения первой подвижной рамы вверх и вниз; и
- первое приводное устройство, которое обеспечивает приведение в движение первой подвижной рамы вверх и вниз;
причем прямолинейная направляющая включает в себя:
- рельсовую направляющую и
- первый подвижный компонент, выполненный с возможностью перемещения по рельсовой направляющей,
при этом один из компонентов, представляющих собой рельсовую направляющую и первый подвижный компонент, прикреплен к первой подвижной раме;
причем каретка включает в себя основную раму, имеющую часть, которая предназначена для обеспечения опоры для механизма выравнивания и в которой размещается компонент для выравнивания;
при этом другой из компонентов, представляющих собой рельсовую направляющую и первый подвижный компонент, прикреплен к части, предназначенной для обеспечения опоры для механизма выравнивания.
2. Устройство для испытаний шин по п.1, в котором компонент для выравнивания включает в себя компонент для регулирования угла развала, выполненный с возможностью регулирования угла развала испытательного колеса,
при этом компонент для регулирования угла развала включает в себя:
- вторую подвижную раму, опертую с возможностью поворота вокруг оси Еϕ, параллельной направлению движения каретки; и
- устройство для приведения в движение по ϕ, которое обеспечивает приведение второй подвижной рамы во вращательное движение вокруг оси Еϕ.
3. Устройство для испытаний шин по п.2, в котором компонент для регулирования угла развала включает в себя:
цилиндрическую первую ось поворота, расположенную коаксиально по отношению к оси Еϕ; и
первый подшипник, который обеспечивает опору для первой оси поворота с возможностью ее поворота,
при этом один из компонентов, представляющих собой первую ось поворота и первый подшипник, прикреплен ко второй подвижной раме.
4. Устройство для испытаний шин по п.3, в котором другой из компонентов, представляющих собой первую ось поворота и первый подшипник, прикреплен к первой подвижной раме.
5. Устройство для испытаний шин по п.1, в котором компонент для выравнивания включает в себя компонент для регулирования угла увода, выполненный с возможностью регулирования угла увода испытательного колеса,
при этом компонент для регулирования угла увода включает в себя:
- третью подвижную раму, опертую с возможностью поворота вокруг оси Еθ, ортогональной к каждой из оси Еλ, представляющей собой ось вращения испытательного колеса, и оси Еϕ; и
- устройство для приведения в движение по θ, которое обеспечивает приведение третьей подвижной рамы во вращательное движение вокруг оси Еθ.
6. Устройство для испытаний шин по п.5, в котором компонент для регулирования угла увода включает в себя:
цилиндрическую вторую ось поворота, расположенную коаксиально по отношению к оси Еθ; и
второй подшипник, который обеспечивает опору для второй оси поворота с возможностью ее поворота,
при этом один из компонентов, представляющих собой вторую ось поворота и второй подшипник, прикреплен к третьей подвижной раме.
7. Устройство для испытаний шин по п.1, в котором осевой компонент включает в себя:
шпиндель;
третий подшипник, который обеспечивает опору для шпинделя с возможностью вращения шпинделя; и
ступицу колеса, которая присоединена коаксиально к дальней концевой части шпинделя и к которой должно быть присоединено испытательное колесо.
8. Устройство для испытаний шин, содержащее:
поверхность дорожного покрытия и
каретку, выполненную с возможностью удерживания с возможностью вращения испытательного колеса, на котором установлена испытываемая шина, и выполненную с возможностью перемещения по поверхности дорожного покрытия в состоянии, в котором обеспечивается контакт испытываемой шины с поверхностью дорожного покрытия;
при этом каретка включает в себя:
- осевой компонент, который обеспечивает опору для испытательного колеса с возможностью его вращения; и
- компонент для выравнивания, выполненный с возможностью регулирования выравнивания испытательного колеса посредством изменения ориентации осевого компонента,
причем компонент для выравнивания включает в себя компонент для регулирования нагрузки, выполненный с возможностью регулирования нагрузки, действующей на испытательное колесо, посредством изменения высоты осевого компонента,
при этом компонент для регулирования нагрузки включает в себя:
- первую подвижную раму, опертую с возможностью перемещения вверх и вниз;
- прямолинейную направляющую, которая обеспечивает направление перемещения первой подвижной рамы вверх и вниз; и
- первое приводное устройство, которое обеспечивает приведение в движение первой подвижной рамы вверх и вниз;
причем компонент для выравнивания включает в себя компонент для регулирования угла развала, выполненный с возможностью регулирования угла развала испытательного колеса,
при этом компонент для регулирования угла развала включает в себя:
- вторую подвижную раму, опертую с возможностью поворота вокруг оси Еϕ, параллельной направлению движения каретки;
- устройство для приведения в движение по ϕ, которое обеспечивает приведение второй подвижной рамы во вращательное движение вокруг оси Еϕ;
- цилиндрическую первую ось поворота, расположенную коаксиально по отношению к оси Еϕ; и
- первый подшипник, который обеспечивает опору для первой оси поворота с возможностью ее поворота,
при этом один из компонентов, представляющих собой первую ось поворота и первый подшипник, прикреплен ко второй подвижной раме;
причем другой из компонентов, представляющих собой первую ось поворота и первый подшипник, прикреплен к первой раме.
9. Устройство для испытаний шин по п.8, в котором прямолинейная направляющая включает в себя:
рельсовую направляющую и
первый подвижный компонент, выполненный с возможностью перемещения по рельсовой направляющей,
при этом один из компонентов, представляющих собой рельсовую направляющую и первый подвижный компонент, прикреплен к первой подвижной раме.
10. Устройство для испытаний шин по п.8, в котором каретка включает в себя основную раму, имеющую часть, которая предназначена для обеспечения опоры для механизма выравнивания и в которой размещается компонент для выравнивания.
11. Устройство для испытаний шин по п.9, в котором
каретка включает в себя основную раму, имеющую часть, которая предназначена для обеспечения опоры для механизма выравнивания и в которой размещается компонент для выравнивания,
причем другой из компонентов, представляющих собой рельсовую направляющую и первый подвижный компонент, прикреплен к части, предназначенной для обеспечения опоры для механизма выравнивания.
12. Устройство для испытаний шин по п.8, в котором компонент для регулирования угла развала включает в себя криволинейную направляющую, которая обеспечивает направление поворота второй подвижной рамы.
13. Устройство для испытаний шин по п.12, в котором криволинейная направляющая включает в себя:
дугообразную криволинейную рельсовую направляющую, расположенную концентрично по отношению к оси Еϕ; и
второй подвижный компонент, выполненный с возможностью перемещения по этой криволинейной рельсовой направляющей,
при этом один из компонентов, представляющих собой криволинейную рельсовую направляющую и второй подвижный компонент, прикреплен ко второй подвижной раме.
14. Устройство для испытаний шин по п.8, в котором компонент для выравнивания включает в себя компонент для регулирования угла увода, выполненный с возможностью регулирования угла увода испытательного колеса,
при этом компонент для регулирования угла увода включает в себя:
- третью подвижную раму, опертую с возможностью поворота вокруг оси Еθ, ортогональной к каждой из оси Еλ, представляющей собой ось вращения испытательного колеса, и оси Еϕ; и
- устройство для приведения в движение по θ, которое обеспечивает приведение третьей подвижной рамы во вращательное движение вокруг оси Еθ.
15. Устройство для испытаний шин по п.14, в котором компонент для регулирования угла увода включает в себя:
цилиндрическую вторую ось поворота, расположенную коаксиально по отношению к оси Еθ; и
второй подшипник, который обеспечивает опору для второй оси поворота с возможностью ее поворота,
при этом один из компонентов, представляющих собой вторую ось поворота и второй подшипник, прикреплен к третьей подвижной раме.
16. Устройство для испытаний шин по п.8, в котором осевой компонент включает в себя:
шпиндель;
третий подшипник, который обеспечивает опору для шпинделя с возможностью вращения шпинделя; и
ступицу колеса, которая присоединена коаксиально к дальней концевой части шпинделя и к которой должно быть присоединено испытательное колесо.
| JP 2016080414 A, 16.05.2016 | |||
| JP 2007522467 A, 09.08.2007 | |||
| JP 2013156087 A, 15.08.2013 | |||
| JP 2009180715 A, 13.08.2009. |
Авторы
Даты
2025-03-11—Публикация
2021-09-29—Подача