МАЛОШУМЯЩИЙ ОЧИСТИТЕЛЬ ВОЗДУХА В ЛОКАЛЬНОЙ ЗОНЕ (ВАРИАНТЫ) И СПОСОБ ЕГО СБОРКИ Российский патент 2025 года по МПК A47L7/00 A45D29/00 

Описание патента на изобретение RU2836690C1

Изобретение относится к устройствам для очистки воздуха, удаления газов, запахов, эвакуации дыма, взвешенных частиц пыли и т.д. в локальной зоне, например, мастера ногтевого сервиса, стилиста, косметолога и т.д. [A45D29/00, A47L7/00].

Из уровня техники известно ОЧИСТИТЕЛЬ ВОЗДУХА В ЛОКАЛЬНОЙ ЗОНЕ [RU200961U, опубл. 20.11.2020], содержащий корпус, блок вентилятора с вентилятором, цилиндрический фильтр, гибкий воздуховод, регулируемый штатив, кольцеобразный светильник, отличающийся тем, что внутри корпуса смонтирован блок фильтрации к отверстию, в нижней части которого смонтирован блок вентилятора с вентилятором, впускное отверстие блока фильтрации совмещено с отверстием в верхней крышке корпуса и с отверстием в откидной крышке корпуса, смонтированной над верхней крышкой, фильтр смонтирован в блоке фильтрации через впускное отверстие упомянутого блока и опирается на верхнюю крышку корпуса.

Недостатком данного аналога является высокое значение мощности шума работающего локального очистителя воздуха из-за неоптимальных параметров воздушного канала в очистителе воздуха, образованного вентилятором, блоком фильтрации, фильтром и выпускным отверстием. Поскольку для каждого сочетания моделей вентилятора и фильтра будут свои оптимальные значения размеров блока фильтрации. Из аналога не известны оптимальные значения размеров блока фильтрации, при которых снижается скорость потока воздуха в блоке фильтрации, турбулентность воздушных потоков и мощность шума работающего локального очистителя воздуха.

Также известен ПЫЛЕСОС ДЛЯ МАНИКЮРНОГО/ПЕДИКЮРНОГО КАБИНЕТА [RU195199U1, опубл.: 17.01.2020], характеризующийся тем, что содержит корпус с расположенным внутри отсеком для приводного вентилятора и камерой для сбора пыли; гибкий воздуховод, закрепленный при помощи регулируемого штатива на корпусе и соединенный своим каналом с камерой для сбора пыли; и светильник, установленный шарнирно на штативе и соединенный с каналом гибкого воздуховода; причем в камере для сбора пыли установлен цилиндрический фильтр, а светильник выполнен кольцеобразным, в центре которого установлен конец гибкого воздуховода, причем светильник выполнен с возможностью регулировки освещенности, при этом фильтр крепится к корпусу при помощи прижимной пластины и уплотнительного кольца.

Недостатком данного аналога также является высокое значение мощности шума работающего локального очистителя воздуха из-за неоптимальных параметров воздушного канала в пылесосе, образованного вентилятором, камерой для сбора пыли, фильтром и гибким воздуховодом. Поскольку для каждого сочетания моделей вентилятора и фильтра будут свои оптимальные значения размеров камеры для сбора пыли. Из аналога не известны оптимальные значения размеров камеры для сбора пыли, при которых снижается скорость потока воздуха в блоке фильтрации, турбулентность воздушных потоков и мощность шума работающего локального очистителя воздуха.

Наиболее близким по технической сущности является ПЫЛЕСОС ДЛЯ МАНИКЮРНОГО/ПЕДИКЮРНОГО КАБИНЕТА [RU203355U1, опубл. 01.04.2021], содержащий корпус с расположенным внутри отсеком для приводного вентилятора и камерой для сбора пыли и гибкий воздуховод, соединенный своим каналом с камерой для сбора пыли, отличающийся тем, что в камере для сбора пыли установлен съемный контейнер для сбора пыли, содержащий боковые стенки и дно, в котором выполнено отверстие, при этом цилиндрический фильтр со стенками из фильтрующего материала установлен в контейнере для сбора пыли в отверстии его дна, причем цилиндрический фильтр выполнен открытым снизу и закрытым сверху.

Основной технической проблемой прототипа, содержащего корпус с расположенным внутри отсеком для приводного вентилятора и камерой для сбора пыли, с установленным цилиндрическим фильтром в отверстии дна съемного контейнера для сбора пыли, является расположение дна контейнера для сбора пыли на внутреннем диаметре приводного вентилятора на уплотнителях без учета оптимальной величины расстояния от фильтра до стенок камеры для сбора пыли в зависимости от сечения входного и выходного отверстия блока вентилятора. При этом происходит значительное падение тяги приводящее к увеличению мощности шума работающего пылесоса для маникюрного/педикюрного кабинета.

Задачей изобретения является устранение недостатков прототипа.

Техническим результатом изобретения снижение мощности шума работающего локального очистителя воздуха и улучшения санитарно-гигиенических требований к рабочему месту оператора локального очистителя воздуха.

Осуществление изобретения.

Указанный технический результат достигается за счет того, что способ сборки очистителя воздуха в локальной зоне, характеризующийся тем, что в одну часть корпуса очистителя воздуха устанавливают мотор-вентилятор, а в другую часть корпуса устанавливают цилиндрический воздушный фильтр с заглушкой в нижней части, затем последовательно начинают увеличивать расстояние от стенок цилиндрического фильтра до стенок блока фильтрации, при этом измеряя значение мощности звука работающего очистителя воздуха, до тех пор пока значение мощности шума не будет снижаться менее чем на 2 % при следующем увеличении расстояния между цилиндрическим воздушным фильтром и блоком фильтрации, после чего фиксируют геометрические размеры блока фильтрации для используемых моделей мотор-вентилятора и цилиндрического воздушного фильтра, при этом в нижней части корпуса очистителя воздуха устанавливают корпус вентилятора с входным и выходным отверстиями в котором установлен мотор-вентилятор, причем нижнее отверстие корпуса вентилятора сообщается с отверстием в нижней части корпуса очистителя воздуха, а верхнее отверстие корпуса вентилятора сообщается с блоком фильтрации.

В частности, начальное (минимальное) расстояние между цилиндрическим воздушным фильтром и блоком фильтрации составляет 1 см.

В частности, для изменения расстояния между цилиндрическим воздушным фильтром и блоком фильтрации используют набор блоков фильтрации с разными геометрическими размерами.

В частности, шаг изменения расстояние между цилиндрическим воздушным фильтром и блоком фильтрации составляет 0,5 или 1 см.

Указанный технический результат также достигается за счет того, что очиститель воздуха в локальной зоне, содержащий корпус, в котором установлены мотор-вентилятор и цилиндрический воздушный фильтр с заглушкой в нижней части, при этом расстояния от стенок цилиндрического воздушного фильтра до блока фильтрации выбраны таким образом, чтобы мощность шума работающего локального очистителя воздуха увеличивалась не более чем на 2 % при уменьшении расстояния между цилиндрическим воздушным фильтром и блоком фильтрации на длину шага изменения; в нижней части корпуса очистителя воздуха расположен корпус вентилятора с входным и выходным отверстиями в котором расположен мотор-вентилятор, при этом нижнее отверстие корпуса вентилятора сообщается с отверстием в нижней части корпуса очистителя воздуха, а верхнее отверстие корпуса вентилятора сообщается с блоком фильтрации.

В частности, длина шага изменения составляет 0,5 или 1 см.

В частности, блок фильтрации образован внутренними стенками корпуса и/или перегородкой между воздушным фильтром и мотор-вентилятором и/или ближайшими частями мотор-вентилятора к фильтру и/или стенками блока фильтрации, в котором расположен цилиндрический воздушный фильтр.

В частности, блок фильтрации имеет форму цилиндра или конуса или параллелепипеда, выполненных с возможностью размещения внутри цилиндрического воздушного фильтра.

В частности, диаметр цилиндрического воздушного фильтра составляет 190 мм.

Указанный технический результат также достигается за счет того, что очиститель воздуха в локальной зоне, содержащий корпус, в котором под верхней крышкой с отверстием, расположен блок фильтрации, выполненный цилиндрическим диаметром от 250 мм, внутри в верхней части блока фильтрации вертикально установлен цилиндрический воздушный фильтр с заглушкой в нижней части, верхнее отверстие которого сообщается с отверстием в верхней крышке корпуса очистителя воздуха, в нижней части корпуса очистителя воздуха расположен корпус вентилятора с входным и выходным отверстиями в котором расположен мотор-вентилятор, при этом нижнее отверстие корпуса вентилятора сообщается с отверстием в нижней части корпуса очистителя воздуха, а верхнее отверстие корпуса вентилятора сообщается с блоком фильтрации.

В частности, диаметр цилиндрического воздушного фильтра составляет 190 мм.

В частности, внутренний диаметр цилиндрического воздушного фильтра составляет 125 мм.

В частности, диаметр блока фильтрации составляет от 250 до 410 мм.

В частности, расстояние между цилиндрическим воздушным фильтром и блоком фильтрации составляет от 30 до 110 мм.

Указанный технический результат также достигается за счет того, что очиститель воздуха в локальной зоне, содержащий корпус, в котором под верхней крышкой с отверстием, расположен блок фильтрации, выполненный в виде усеченного конуса, диаметром верхнего основания от 260 мм и диаметром нижнего основания от 220 мм, внутри в верхней части блока фильтрации вертикально установлен цилиндрический воздушный фильтр с заглушкой в нижней части, верхнее отверстие которого сообщается с отверстием в верхней крышке корпуса очистителя воздуха, в нижней части корпуса очистителя воздуха расположен корпус вентилятора с входным и выходным отверстиями в котором расположен мотор-вентилятор, при этом нижнее отверстие корпуса вентилятора сообщается с отверстием в нижней части корпуса очистителя воздуха, а верхнее отверстие корпуса вентилятора сообщается с блоком фильтрации.

В частности, диаметр цилиндрического воздушного фильтра составляет 190 мм.

В частности, внутренний диаметр цилиндрического воздушного фильтра составляет 125 мм.

В частности, диаметр верхнего основания блока фильтрации составляет от 260 до 350 мм.

В частности, диметр нижнего основания блока фильтрации составляет от 220 от 310 мм.

Указанный технический результат также достигается за счет того, что очиститель воздуха в локальной зоне, содержащий корпус, в одной части которого расположен мотор-вентилятор, а в другой части блок фильтрации, в котором вертикально расположен цилиндрический воздушный фильтр диаметром от 160 до 250 мм, при этом расстояние от боковой поверхности цилиндрического воздушного фильтра до стенок блока фильтрации составляет от 30 мм, при этом фильтр выполнен с заглушкой в нижней части, верхнее отверстие фильтра сообщается с отверстием в верхней крышке корпуса очистителя воздуха, в нижней части корпуса очистителя воздуха расположен корпус вентилятора с входным и выходным отверстиями в котором расположен мотор-вентилятор, при этом нижнее отверстие корпуса вентилятора сообщается с отверстием в нижней части корпуса очистителя воздуха, а верхнее отверстие корпуса вентилятора сообщается с блоком фильтрации.

В частности, диаметр цилиндрического воздушного фильтра составляет 160 мм или 190 мм или 250 мм.

В частности, внутренний диаметр цилиндрического воздушного фильтра составляет от 100 до 200 мм.

В частности, воздушный канал очистителя воздуха в локальной зоне образован входным отверстием в корпусе, внутренней частью фильтра, блоком фильтрации, мотор-вентилятором и выходным отверстием в корпусе.

В частности, расстояние от боковой поверхности цилиндрического воздушного фильтра до стенок блока фильтрации составляет от 30 до 110 мм.

В частности, блок фильтрации образован стенками корпуса.

Краткое описание чертежей.

На фиг. 1 представлен первый вариант очистителя воздуха в локальной зоне с цилиндрическим блоком фильтрации.

На фиг.2 представлен второй вариант очистителя воздуха в локальной зоне с цилиндрическим блоком фильтрации.

На фиг.3 представлен третий вариант очистителя воздуха в локальной зоне с блоком фильтрации в виде усеченного конуса.

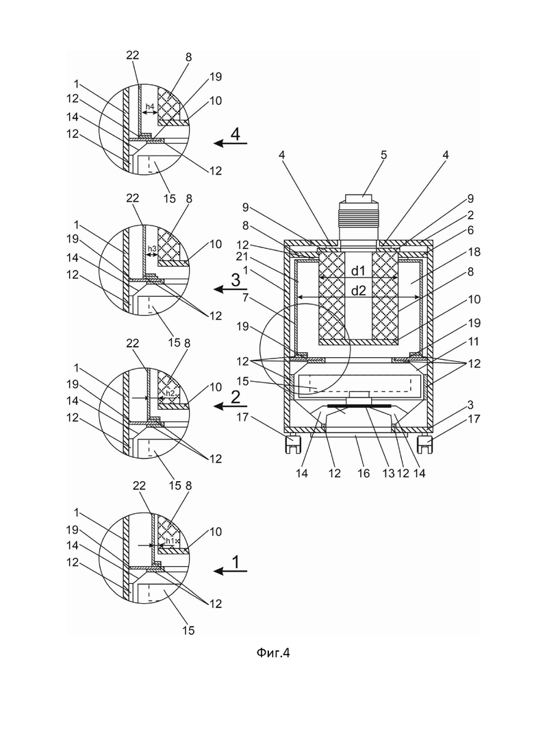
На фиг.4 представлен четвертый вариант очистителя воздуха в локальной зоне с цилиндрическим блоком фильтрации и опорной площадкой между блоком фильтрации и корпусом мотор-вентилятора.

На фиг.5 показан очиститель воздуха в локальной зоне для определения оптимальных параметров цилиндрического блока фильтрации с набором цилиндрических проставок.

На фиг.6 представлена фотография оборудования для проведения эксперимента по определению оптимальных размеров блока фильтрации.

На фиг.7 показан график изменения скорости потока воздуха, м/с относительно диаметра воздушного канала для 1 эксперимента.

На фиг.8 показан график расхода воздуха м3/ч относительно параметра диаметр воздушного канала для 1 эксперимента.

На фиг.9 показана зависимость мощности шума на расстоянии 0,5 м дБ относительно параметра диаметра воздушного канала для 1 эксперимента.

На фиг.10 показан график изменения скорости потока воздуха, м/с относительно диаметра воздушного канала для 2 эксперимента.

На фиг.11 показан график расхода воздуха м3/ч относительно параметра диаметр воздушного канала для 2 эксперимента.

На фиг.12 показана зависимость мощности шума на расстоянии 0,5 м дБ относительно параметра диаметра воздушного канала для 2 эксперимента.

На фигурах обозначены: 1 - боковая стенка, 2 - откидная крышка, 3 - дно, 4 - прижимной фланец, 5 - патрубок, 6 - верхняя крышка, 7 - блок фильтрации, 8 - цилиндрический воздушный фильтр, 9 - уплотнительное кольцо, 10 - заглушка, 11 - корпус вентилятора, 12 - эластичная прокладка, 13 - опорная площадка, 14 - радиальные упоры, 15 - мотор-вентилятор, 16 - решетка, 17 - опора, 18 - камера разряжения, 19 - опорная площадка, 20 блок фильтрации выполненный в виде усеченного конуса, 21 - цилиндрические проставки, 22 - блок фильтрации с загибом нижней части.

Осуществление изобретения.

В первом варианте реализации очиститель воздуха в локальной зоне (см. Фиг.1) содержит корпус, состоящий из боковых стенок 1 и дна 3. Корпус установлен на опорах 17 в виде колесиков, расположенные по углам корпуса очистителя. В верхней части корпуса смонтирована откидная крышка 2 с отверстием, в котором с помощью прижимного фланца 4 смонтирован патрубок 5 с гибкой гофрированной трубой. Под откидной крышкой 2 расположена верхняя крышка 6 корпуса с отверстием.

Внутри корпуса под верхней крышкой 6 и между боковыми стенками 1 расположен блок фильтрации 7, выполненный цилиндрическим. В верхней части блока фильтрации 7 выполнено отверстие, совмещенное с впускным отверстием в верхней крышке 6 и откидной крышке 2.

Верхняя крышка 6 установлена на эластичной прокладке 12 на блоке фильтрации 7. Внутри в верхней части блока фильтрации 7 вертикально установлен цилиндрический воздушный фильтр 8 с уплотнительным кольцом 9, диаметр которого больше диаметра отверстия в верхней крышке 6. Уплотнительное кольцо 9 выполнено с возможностью обеспечения герметичного соединения цилиндрического воздушного фильтра 8 с прижимным фланцем 4 и опиранием его на верхнюю крышку 6, при этом цилиндрический воздушный фильтр 8 выполнен заодно с уплотнительным кольцом 9. С нижней стороны фильтра установлена заглушка 10. Между внешними стенками цилиндрического воздушного фильтра 8 и боковыми стенками блока фильтрации образована зона разряжения 18.

Между блоком фильтрации 7 и верхней частью корпуса вентилятора 11 расположена эластичная прокладка 12, при этом блок фильтрации 7 разъемно соединен с внешним диаметром корпуса вентилятора 11, имеющего верхнее впускное и нижнее выпускное отверстие, которое сообщается с нижним отверстием корпуса очистителя с решеткой 16 посредством эластичной прокладки 12. В местах соединения корпуса вентилятора 11 и боковых стенок 1 корпуса очистителя установлены эластичные прокладки 12. Внутри корпуса вентилятора 11 на опорных площадках 13, выполненных на радиальном упоре 14, установлен мотор-вентилятор 15.

Во втором варианте реализации очиститель воздуха в локальной зоне (см. Фиг.2) содержит корпус, состоящий из боковых стенок 1 и дна 3. Корпус установлен на опорах 17 в виде колесиков, расположенные по углам корпуса очистителя. В верхней части корпуса смонтирована откидная крышка 2 с отверстием, в котором с помощью прижимного фланца 4 смонтирован патрубок 5 с гибкой гофрированной трубой. Под откидной крышкой 2 расположена верхняя крышка 6 корпуса с отверстием.

Внутри корпуса под верхней крышкой 6 и между боковыми стенками 1 расположен блок фильтрации 22, выполненный цилиндрическим с загибом нижней части. В верхней части блока фильтрации 22 выполнено отверстие, совмещенное с впускным отверстием в верхней крышке 6 и откидной крышке 2.

Верхняя крышка 6 установлена на эластичной прокладке 12 на блоке фильтрации 22. Внутри в верхней части блока фильтрации 22 вертикально установлен цилиндрический воздушный фильтр 8 с уплотнительным кольцом 9, диаметр которого больше диаметра отверстия в верхней крышке 6. Уплотнительное кольцо 9 выполнено с возможностью обеспечения герметичного соединения цилиндрического воздушного фильтра 8 с прижимным фланцем 4 и опиранием его на верхнюю крышку 6, при этом цилиндрический воздушный фильтр 8 выполнен заодно с уплотнительным кольцом 9. С нижней стороны фильтра установлена заглушка 10. Между внешними стенками цилиндрического воздушного фильтра 8 и боковыми стенками блока фильтрации образована зона разряжения 18.

Между блоком фильтрации 22 и верхней частью корпуса вентилятора 11 расположена эластичная прокладка 12. Корпус вентилятора 11 имеет верхнее впускное и нижнее выпускное отверстие, которые сообщается с нижним отверстием корпуса очистителя с решеткой 16 посредством эластичной прокладки 12. В местах соединения корпуса вентилятора 11 и боковых стенок 1 корпуса очистителя установлены эластичные прокладки 12. Внутри корпуса вентилятора 11 на опорных площадках 13, выполненных на радиальном упоре 14, установлен мотор-вентилятор 15.

В третьем варианте реализации очиститель воздуха в локальной зоне (см. Фиг.3) содержит корпус, состоящий из боковых стенок 1 и дна 3. Корпус установлен на опорах 17 в виде колесиков, расположенные по углам корпуса очистителя. В верхней части корпуса смонтирована откидная крышка 2 с отверстием, в котором с помощью прижимного фланца 4 смонтирован патрубок 5 с гибкой гофрированной трубой. Под откидной крышкой 2 расположена верхняя крышка 6 корпуса с отверстием.

Внутри корпуса под верхней крышкой 6 и между боковыми стенками 1 расположен блок фильтрации 20, выполненный в виде усеченного конуса. В верхней части блока фильтрации 20 выполнено отверстие, совмещенное с впускным отверстием в верхней крышке 6 и откидной крышке 2.

Верхняя крышка 6 установлена на эластичной прокладке 12 на блоке фильтрации 20. Внутри в верхней части блока фильтрации 20 вертикально установлен цилиндрический воздушный фильтр 8 с уплотнительным кольцом 9, диаметр которого больше диаметра отверстия в верхней крышке 6. Уплотнительное кольцо 9 выполнено с возможностью обеспечения герметичного соединения цилиндрического воздушного фильтра 8 с прижимным фланцем 4 и опиранием его на верхнюю крышку 6, при этом цилиндрический воздушный фильтр 8 выполнен заодно с уплотнительным кольцом 9. С нижней стороны фильтра установлена заглушка 10. Между внешними стенками цилиндрического воздушного фильтра 8 и боковыми стенками блока фильтрации образована зона разряжения 18.

Между блоком фильтрации 20 и верхней частью корпуса вентилятора 11 расположена опорная площадка 19, которая сообщается с ними посредством эластичных прокладок 12. Корпус вентилятора 11 имеет верхнее впускное и нижнее выпускное отверстие, которые сообщается с нижним отверстием корпуса очистителя с решеткой 16 посредством эластичной прокладки 12. В местах соединения корпуса вентилятора 11 и боковых стенок 1 корпуса очистителя установлены эластичные прокладки 12. Внутри корпуса вентилятора 11 на опорных площадках 13, выполненных на радиальном упоре 14, установлен мотор-вентилятор 15.

В четвертом варианте реализации очиститель воздуха в локальной зоне (см. Фиг.4) содержит корпус, состоящий из боковых стенок 1 и дна 3. Корпус установлен на опорах 17 в виде колесиков, расположенные по углам корпуса очистителя. В верхней части корпуса смонтирована откидная крышка 2 с отверстием, в котором с помощью прижимного фланца 4 смонтирован патрубок 5 с гибкой гофрированной трубой. Под откидной крышкой 2 расположена верхняя крышка 6 корпуса с отверстием.

Внутри корпуса под верхней крышкой 6 и между боковыми стенками 1 расположен блок фильтрации 7, выполненный цилиндрическим с загибом нижней части. В верхней части блока фильтрации 7 выполнено отверстие, совмещенное с впускным отверстием в верхней крышке 6 и откидной крышке 2.

Верхняя крышка 6 установлена на эластичной прокладке 12 на блоке фильтрации 7. Внутри в верхней части блока фильтрации 7 вертикально установлен цилиндрический воздушный фильтр 8 с уплотнительным кольцом 9, диаметр которого больше диаметра отверстия в верхней крышке 6. Уплотнительное кольцо 9 выполнено с возможностью обеспечения герметичного соединения цилиндрического воздушного фильтра 8 с прижимным фланцем 4 и опиранием его на верхнюю крышку 6, при этом цилиндрический воздушный фильтр 8 выполнен заодно с уплотнительным кольцом 9. С нижней стороны фильтра установлена заглушка 10. Между внешними стенками цилиндрического воздушного фильтра 8 и боковыми стенками блока фильтрации образована зона разряжения 18.

Между блоком фильтрации 22 и верхней частью корпуса вентилятора 11 расположена опорная площадка 19, которая сообщается с нижним загибом блока фильтрации 7 и корпусом вентилятора 11 посредством эластичных прокладок 12. Корпус вентилятора 11 имеет верхнее впускное и нижнее выпускное отверстие, которые сообщается с нижним отверстием корпуса очистителя с решеткой 16 посредством эластичной прокладки 12. В местах соединения корпуса вентилятора 11 и боковых стенок 1 корпуса очистителя установлены эластичные прокладки 12. Внутри корпуса вентилятора 11 на опорных площадках 13, выполненных на радиальном упоре 14, установлен мотор-вентилятор 15.

В альтернативных вариантах реализации очистителя воздуха в локальной зоне:

мотор-вентилятор 15 устанавливают в верхнюю часть корпуса локального очистителя воздуха, а цилиндрический воздушный фильтр 8 устанавливают в блоке фильтрации в нижней части очистителя воздуха;

мотор-вентилятор 15 устанавливают сбоку от блока фильтрации 7 с цилиндрическим воздушным фильтром 8, которые сообщаются воздушным каналом, при этом корпус локального очистителя воздуха выполнен горизонтально ориентированным и может использоваться в качестве встраиваемого в столешницу локального очистителя воздуха;

блок фильтрации 7 может быть образован внутренними стенками корпуса и/или перегородкой между воздушным фильтром и мотор-вентилятором и/или ближайшими частями мотор-вентилятора к фильтру и/или стенками блока фильтрации 7, в котором расположен цилиндрический воздушный фильтр 8.

блок фильтрации 7 может иметь форму цилиндра или усеченного конуса или параллепипеда, выполненных с возможностью размещения внутри цилиндрического воздушного фильтра.

Способ сборки очистителя воздуха в локальной зоне на примере первого варианта реализации включает в себя несколько этапов. Первоначально в корпус очистителя с нижним выпускным отверстием, которое закрыто решеткой 16, на эластичной прокладке 12 монтируют корпус вентилятора 11, имеющего верхнее впускное и нижнее выпускное отверстия соответствующего диаметра, при этом нижнее выпускное отверстие совмещено с отверстием, выполненным на дне 3 корпуса. Внутри корпуса вентилятора 11 по центру на опорной площадке 13 устанавливают, например, на радиальных упорах 14 мотор-вентилятор 15, выполненный центробежным.

Затем производят монтаж цилиндрического блока фильтрации 7, устанавливая его разъемно, например, при помощи шипопазного или раструбного соединения и т.д., на корпуса вентилятора 11.

По периметру соединения корпуса вентилятора 11 с блоком фильтрации 7 размещают эластичную прокладку 12 с возможностью обеспечения виброшумоизоляции и герметичности соединения блока фильтрации 7 с корпусом вентилятора 11.

Далее в верхней части блока фильтрации 7 со впускным отверстием, совмещенным с отверстием в верхней крышке 6 и в откидной крышке 2, вертикально производят монтаж цилиндрического воздушного фильтра 8 на расстоянии от боковых стенок блока фильтрации, при этом в верхней части цилиндрического воздушного фильтра 8 располагают уплотнительное кольцо 9.

В откидной крышке 2 выполнено отверстие, в котором с помощью прижимного фланца 4 устанавливают патрубок 5 с гибкой гофрированной трубой, выполненной со спиральным каркасом из стальной проволоки с целью предотвращения перегиба гофрированной трубы .

Мотор-вентилятором 15 в камере разряжения 18, образованной внутренней поверхностью блока фильтрации 7 и внешней поверхностью цилиндрического воздушного фильтра 8, образуется зона разряжения воздуха с минимальными потерями давления. Воздух с частицами пыли из рабочей области всасывается через отверстие головки и через гофрированную трубу, соединенную с патрубком 5 попадает на цилиндрический воздушный фильтр 8. Проходя через стенки цилиндрического воздушного фильтра 8 пыль и инородные частицы, а также молекулы газа оседают внутри цилиндрического воздушного фильтра 8, заполняя его снизу вверх, а очищенный воздух из камеры разряжения 18 через выпускное отверстие корпуса вентилятора 11 выводят через решетку 16 наружу.

Способ уменьшения шума локального очистителя воздуха предполагает последовательное увеличение расстояния от стенок цилиндрического воздушного фильтра 8 до блока фильтрации 7. Для этого в одну часть корпуса устанавливается мотор-вентилятор 15, а в другую часть - цилиндрический воздушный фильтр 8.

Процесс начинается с измерения значения мощности звука, производимого работающим локальным очистителем воздуха. Затем постепенно увеличивают расстояние между стенками цилиндрического воздушного фильтра 8 и блоком фильтрации 7. Измеряется изменение мощности шума до того уровня, пока снижение мощности шума не будет менее 2 % на очередном шаге, при этом фиксируется расстояние между цилиндрическим воздушным фильтром 8 и блоком фильтрации 7 (22). Этот метод позволяет оптимизировать расположение внутренних компонентов очистителя для минимизации шума при его работе.

В 2024 году заявитель провел эксперимент по испытаниям очистителя воздуха в локальной зоне. На фиг.6 представлена фотография части оборудования для проведения эксперимента по определению оптимальных размеров блока фильтрации.

Целью эксперимента было установление зависимости мощности шума и расхода воздуха от сечения воздушного канала в блоке фильтрации 7 (22) между цилиндрическим воздушным фильтром 8 и блоком фильтрации 7 (22).

Данный эксперимент направлен на исследование зависимости мощности шума от сечения воздушного канала в воздушной установке. Эксперимент проводился с использованием вентилятора мощностью 210 Вт, производительность 1425 м3/ч, диаметр входного отверстия корпуса мотор-вентиллятора 15 - 160 мм, диаметр выходного отверстия мотор-вентиллятора 15 - 250 мм. Диаметр цилиндрического воздушного фильтра 8 (d1) - 190 мм, внутренний диаметр цилиндрического воздушного фильтра 8 - 125 мм. Изменяемый параметр - диаметр блока фильтрации 7 (d2) - от 210 до 410 мм, что приводит к увеличению расстояния между цилиндрическим воздушным фильтром 8 и блоком фильтрации 7 (22) - (h).

Контролируемые параметры - скорость потока воздуха на входе (м/с), расход воздуха (м3/ч), уровень изменения расхода воздуха (%), мощность шума на расстоянии 0,5 м (дБ) и уровень изменения мощности шума (%).

Эксперимент позволил определить, как диаметр блока фильтрации 7 (22) влияет на мощность шума, а также изучить эффективность снижения шума при увеличении диаметра блока фильтрации 7. Для начала эксперимента устанавливают исходные параметры воздушной установки с базовым диаметром воздушного канала равным 210 мм и расстоянием между цилиндрическим воздушным фильтром 8 и блоком фильтрации 7 (22) - 10 мм. Последующие параметры изменяются по шагам для проведения серии измерений. На фиг.1 приведен пример серии измерений h1-h4.

1. Изменение диаметра блока фильтрации 7 (22):

- начинают с диаметра воздушного канала равного 210 мм;

- увеличивают диаметр на 20 мм и фиксируют новое значение;

- повторяют процесс до достижения диаметра блока фильтрации 7 равным 410 мм;

2. Изменение расстояния между цилиндрическим воздушным фильтром 8 и блоком фильтрации 7:

- при каждом значении диаметра блока фильтрации 7 (22) начинают с расстояния между цилиндрическим воздушным фильтром 8 и блоком фильтрации 7 - 10 мм;

- увеличивают расстояние между цилиндрическим воздушным фильтром 8 и блоком фильтрации 7 (22) на 10 мм и фиксируют новое значение;

- продолжают увеличивать расстояние между цилиндрическим воздушным фильтром 8 и блоком фильтрации 7 (22) до 110 мм;

Измерение параметров:

- после установки каждой комбинации значений диаметра и расстояния между цилиндрическим воздушным фильтром 8 и блоком фильтрации 7 (22) измеряют расход воздуха в м3/ч;

- затем измеряют мощность шума на расстоянии 0,5 м от установки и регистрируем полученные значения;

- по измеренным данным вычисляют снижение уровня шума в процентах для каждой комбинации параметров.

4. Основные этапы эксперимента:

- установка параметров воздушной установки и исходных значений диаметра блока фильтрации 7 (22), расстояния между цилиндрическим воздушным фильтром 8 и блоком фильтрации 7 (22).

- изменение параметров согласно заданным шагам.

- измерение расхода воздуха, мощности шума и расчет снижения уровня шума.

- документирование полученных результатов для дальнейшего анализа.

Экспериментальные значения, полученные при проведении эксперимента (по первому варианту реализации):

На фиг.7 показан график изменения скорости потока воздуха, м/с относительно диаметра воздушного канала, мм.

На фиг.8 показан график расхода воздуха м3/ч относительно параметра диаметр воздушного канала, мм.

На фиг.9 показана зависимость мощности шума на расстоянии 0,5 м дБ относительно параметра диаметра воздушного канала.

Выводы из полученных данных:

- увеличение диаметра блока фильтрации 7 (22) (увеличение расстояния между цилиндрическим воздушным фильтром 8 и блоком фильтрации 7) приводит к снижению мощности шума, что подтверждается полученными результатами измерений;

- исходя из данных эксперимента, можно сделать вывод, что увеличение диаметра блока фильтрации 7 (22) является эффективным способом снижения уровня шума в локальном очистителе воздуха.

После проведения экспериментов и анализа полученных данных можно сделать следующие выводы:

- увеличение диаметра блока фильтрации 7 (22) приводит к заметному снижению мощности шума, что объясняется снижением скорости воздушного потока, что в свою очередь уменьшает турбулентность и трение, вызывающие шум в камере разряжения 18 блока фильтрации 7 (22);

- на графике зависимости мощности шума от диаметра блока фильтрации наблюдается ярко выраженная негативная корреляция, подтверждающая эффективность увеличения диаметра блока фильтрации 7 (22) для снижения шума.

Сравнение эффективности снижения уровня шума:

По результатам эксперимента можно сравнить эффективность снижения уровня шума при различных значениях диаметра блока фильтрации 7 (22):

- при минимальном диаметре и расстоянии между цилиндрическим воздушным фильтром 8 и блоком фильтрации 7 (22) уровень шума составил исходные 76,52 дБ;

- экспериментально определенный оптимальный уровень снижения мощности шума - менее 2 %, при дальнейшем увеличении диаметра блока фильтрации 7 (22) наблюдается плавное снижение мощности шума до 0,7 % на очередном шаге увеличения диаметра блока фильтрации 7 (22), при этом также наблюдается плавный незначительный рост расхода воздуха, при этом значительно увеличиваются габариты корпуса очистителя воздуха в локальной зоне.

- для приведенной конфигурации локального очистителя воздуха оптимальный диаметр блока фильтрации 7 (22) составляет от 250 мм при внешнем диаметре цилиндрического воздушного фильтра 8 - 190 мм, например, при диаметре блока фильтрации 7 (22) - 330 мм, мощность шума составляет 70,00 дБ, скорость потока воздуха 18,5 м/с, расход воздуха - 1161 м3/ч.

Экспериментальные значения, полученные при проведении эксперимента (по третьему варианту реализации):

На фиг.10 показан график изменения скорости потока воздуха, м/с относительно диаметра воздушного канала, мм.

На фиг.11 показан график расхода воздуха м3/ч относительно параметра диаметр воздушного канала, мм.

На фиг.12 показана зависимость мощности шума на расстоянии 0,5 м дБ относительно параметра диаметра воздушного канала.

Выводы из полученных данных:

- увеличение диаметра блока фильтрации 20 (увеличение расстояния между цилиндрическим воздушным фильтром 8 и блоком фильтрации 20) приводит к снижению мощности шума, что подтверждается полученными результатами измерений;

- исходя из данных эксперимента, можно сделать вывод, что увеличение диаметра блока фильтрации 20 является эффективным способом снижения уровня шума в локальном очистителе воздуха.

После проведения экспериментов и анализа полученных данных можно сделать следующие выводы:

- увеличение диаметра блока фильтрации 20 приводит к заметному снижению мощности шума, что объясняется снижением скорости воздушного потока, что в свою очередь уменьшает турбулентность и трение, вызывающие шум в камере разряжения 18 блока фильтрации 20;

- на графике зависимости мощности шума от диаметра блока фильтрации наблюдается ярко выраженная негативная корреляция, подтверждающая эффективность увеличения диаметра блока фильтрации 20 для снижения шума.

Сравнение эффективности снижения уровня шума:

По результатам эксперимента можно сравнить эффективность снижения уровня шума при различных значениях диаметра блока фильтрации 20:

- при минимальном диаметре и расстоянии между цилиндрическим воздушным фильтром 8 и блоком фильтрации 7 уровень шума составил исходные 77,47 дБ;

- экспериментально определенный оптимальный уровень снижения мощности шума - менее 2 %, при дальнейшем увеличении диаметра блока фильтрации 20 наблюдается снижение мощности шума на очередном шаге увеличения диаметра блока фильтрации 20, при этом также наблюдается плавный незначительный рост расхода воздуха, при этом значительно увеличиваются габариты корпуса очистителя воздуха в локальной зоне.

- для приведенной конфигурации локального очистителя воздуха оптимальный диаметр

Диаметр верхнего основания блока фильтрации составляет от 260 мм, диметр нижнего основания блока фильтрации составляет от 220 мм при внешнем диаметре цилиндрического воздушного фильтра 8 - 190 мм, при этом мощность шума при диаметре верхнего основания блока фильтрации - 300 мм, диаметре нижнего основания блока фильтрации - 260 мм составляет 70,95 дБ, скорость потока воздуха 16,88 м/с, расход воздуха - 1060 м3/ч.

Альтернативная схема проведения эксперимента для определения оптимальных размеров блока фильтрации 7 для выбранной пары - цилиндрический воздушный фильтр 8 и мотор-вентилятор 15 приведена на фиг.5. Суть эксперимента заключается в том, что на каждом шаге эксперимента последовательно из блока фильтрации 7 убирают цилиндрические проставки 21 до тех пор, пока на очередном шаге не будет установлено снижение мощности шума на величину не более 2% от измерения на предыдущем шаге, что значительно ускоряет проведение экспериментов по определению оптимальной конфигурации блока фильтрации 7.

Также альтернативная схема проведения эксперимента позволяет определить правильность конфигурации блока фильтрации 7 и цилиндрического воздушного фильтра 8 для действующего очистителя воздуха в локальной зоне посредством установки в блок фильтрации 7 цилиндрической проставки 21, которая обеспечивает уменьшение диаметра блока фильтрации 7 и сокращение расстояния между блоком фильтрации и цилиндрическим воздушным фильтром 8 на длину шага измерения - 0,5 или 1 см., при этом если мощность шума увеличиться не более чем на 2% от измеренной мощности шума локального очистителя воздуха без цилиндрической проставки 21, тогда конфигурация блока фильтрации 7 для используемых цилиндрического воздушного фильтра 8 и мотор-вентилятора 15 считается оптимальной с точки зрения минимизации мощности шума, максимизации расхода воздуха и снижении габаритных размеров корпуса очистителя воздуха в локальной зоне.

В данном случае проставки 21 не выполняют функцию шумоизоляции и сами по себе не оказывают значимого влияния на снижение мощности шума из-за того, что основной шум производит воздушный поток, выходящий из решетки 16, что установлено при проведении экспериментов на очистителе воздуха в локальной зоне.

Таким образом, проведя ряд экспериментов с изменением параметров воздушной установки, можно установить зависимость снижения мощности шума от увеличения диаметра блока фильтрации 7 и определить оптимальные параметры для достижения минимального уровня шума.

Эти данные говорят в пользу не только увеличения диаметра блока фильтрации 7, но и расстояния между цилиндрическим воздушным фильтром 8 и блоком фильтрации 7 для достижения максимального снижения уровня шума. Результаты эксперимента позволяют сделать вывод, что оптимизация диаметра блока фильтрации 7 влияет на эффективность снижения уровня шума в воздушной установке. Грамотный выбор диаметра блока фильтрации 7 способствует созданию более комфортного рабочего окружения и обеспечивает уровень шума в пределах допустимых нормативов.

На основании полученных результатов исследования формулируются следующие рекомендации:

- при проектировании воздушных установок рекомендуется увеличивать диаметр блока фильтрации 7 от минимального расстояния между цилиндрическим воздушным фильтром 8 и блоком фильтрации 7 с шагом 0,5 или 1 см до тех пор, пока на очередном шаге измерения мощности шума уменьшится менее чем на 2 %;

- оптимальное сочетание диаметра блока фильтрации 7 (расстояния между цилиндрическим воздушным фильтром 8 и блоком фильтрации 7) как показали результаты, является наиболее эффективным способом снижения уровня шума.

Эти рекомендации могут быть использованы при проектировании очистителей воздуха в локальной зоне с целью снижения уровня шума и обеспечения комфортных рабочих условий для персонала. Оптимизация конструкции воздушной установки на основе полученных выводов поможет улучшить звукоизоляцию и снизить воздействие шума на окружающую среду.

Увеличение диаметра блока фильтрации 7 приводит к снижению скорости потока воздуха, что в свою очередь уменьшает турбулентность, трение и шум, создаваемый вентилятором в камере разряжения 18 блока фильтрации 7. При увеличении диаметра блока фильтрации 7 уменьшается сопротивление воздуха, что позволяет мотор-вентилятору 15 работать более эффективно и со сниженным уровнем шума.

Когда диаметр блока фильтрации 7 увеличивается, происходит уменьшение скорости воздушного потока в камере разряжения 18. Это приводит к снижению шума из-за уменьшения турбулентности и трения в камере разряжения 18. Большой диаметр блока фильтрации 7 также позволяет воздушному потоку распространяться более равномерно и уменьшает возможность образования вихрей и турбулентности, что также способствует снижению шума.

Таким образом, целевая зависимость между снижением мощности шума и увеличением диаметра блока фильтрации 7 обоснована физическими принципами, связанными с изменением скорости потока воздуха, турбулентности и трения в камере разряжения 18. Уменьшение шума при увеличении диаметра блока фильтрации 7 делает этот параметр ключевым при проектировании воздушных установок с целью снижения мощности шума.

Список использованных источников:

1. Влияние диаметра и распределения поперечного сечения на активное шумоподавление в круглых воздуховодах, [https://www.researchgate.net/publication/235207130_Effects_of_Diameter_And_Cross-Sectional_Partitioning_on_Active_Noise_Control_in_Round_Ducts,опубл. 04.2006].

1. Практическое руководство по контролю шума и вибрации в системах ОВКВ [https://www.amazon.com/Practical-Guide-Vibration-Control-Systems/dp/1936504022].

Похожие патенты RU2836690C1

название год авторы номер документа
ОЧИСТИТЕЛЬ ВОЗДУХА В ЛОКАЛЬНОЙ ЗОНЕ 2021
  • Терешкин Станислав Николаевич
RU2774412C1
ОЧИСТИТЕЛЬ ВОЗДУХА В ЛОКАЛЬНОЙ ЗОНЕ 2021
  • Терешкин Станислав Николаевич
RU2763584C1
СПОСОБ РЕГУЛИРОВАНИЯ УДЕЛЬНОЙ ПРОИЗВОДИТЕЛЬНОСТИ ОЧИСТИТЕЛЯ ВОЗДУХА И ОЧИСТИТЕЛЬ ВОЗДУХА 2023
  • Терешкин Станислав Николаевич
RU2824783C1
СПОСОБ, УСТРОЙСТВО И СИСТЕМА ДЛЯ ФИЛЬТРАЦИИ И ОЧИСТКИ ВОЗДУХА 2020
  • Гулликсен Мортен
RU2811930C2
УСТАНОВКА ДЛЯ ФИЛЬТРАЦИИ РАСПЛАВЛЕННЫХ МЕТАЛЛОВ И СПЛАВОВ 2024
  • Горемыкин Виталий Андреевич
  • Приходько Сергей Валентинович
RU2827010C1
УСТРОЙСТВО ДЛЯ ОЧИСТКИ ВОЗДУХА В РАБОЧЕЙ ЗОНЕ МАСТЕРА НОГТЕВОГО СЕРВИСА 2019
  • Владимиров Павел Геннадьевич
RU2722712C1
УСТАНОВКА ДЛЯ ФИЛЬТРАЦИИ РАСПЛАВЛЕННЫХ МЕТАЛЛОВ И СПЛАВОВ 2023
  • Горемыкин Виталий Андреевич
  • Приходько Сергей Валентинович
RU2806671C1
Теплогенераторная установка с теплогенератором и бункером непрерывной подачи топлива, реализующие способ сжигания древесных отходов 2018
  • Перевозников Василий Николаевич
RU2702066C1
Винтовая компрессорная установка 2023
  • Олефиренко Василий Андреевич
  • Сиделев Павел Сергеевич
RU2835723C1
ФИЛЬТР РУКАВНЫЙ ДЛЯ ТРЕХСТУПЕНЧАТОЙ ОЧИСТКИ ВОЗДУХА ОТ МЕХАНИЧЕСКИХ ПРИМЕСЕЙ 2010
  • Воскресенский Владимир Евгеньевич
  • Онегин Владимир Иванович
  • Гримитлин Александр Михайлович
  • Шегельман Илья Романович
  • Тверьянович Станислав Юрьевич
RU2437711C1

Иллюстрации к изобретению RU 2 836 690 C1

Реферат патента 2025 года МАЛОШУМЯЩИЙ ОЧИСТИТЕЛЬ ВОЗДУХА В ЛОКАЛЬНОЙ ЗОНЕ (ВАРИАНТЫ) И СПОСОБ ЕГО СБОРКИ

Группа изобретений относится к устройствам для очистки воздуха в локальной зоне, например, мастера ногтевого сервиса, стилиста, косметолога. При осуществлении способа в нижней части корпуса очистителя воздуха устанавливают корпус вентилятора с входным и выходным отверстиями, в котором установлен мотор-вентилятор, производят монтаж блока фильтрации, устанавливая его разъемно. Нижнее отверстие корпуса вентилятора сообщается с отверстием в нижней части корпуса очистителя воздуха, а верхнее отверстие корпуса вентилятора сообщается с блоком фильтрации. В верхней части блока фильтрации производят монтаж цилиндрического воздушного фильтра с заглушкой в нижней части, затем последовательно начинают увеличивать расстояние от стенок цилиндрического фильтра до стенок блока фильтрации, при этом измеряя значение мощности звука работающего очистителя воздуха до тех пор, пока значение мощности шума не будет снижаться менее чем на 2 % при следующем увеличении расстояния между цилиндрическим воздушным фильтром и блоком фильтрации, после чего фиксируют геометрические размеры блока фильтрации для используемых мотор-вентилятора и цилиндрического воздушного фильтра. Снижается мощность шума работающего локального очистителя воздуха, улучшаются санитарно-гигиенические показатели рабочего места оператора локального очистителя воздуха. 5 н. и 16 з.п. ф-лы, 12 ил., 2 табл.

Формула изобретения RU 2 836 690 C1

1. Способ сборки очистителя воздуха в локальной зоне, характеризующийся тем, что в нижней части корпуса очистителя воздуха устанавливают корпус вентилятора с входным и выходным отверстиями, в котором установлен мотор-вентилятор, производят монтаж блока фильтрации, устанавливая его разъемно, при этом нижнее отверстие корпуса вентилятора сообщается с отверстием в нижней части корпуса очистителя воздуха, а верхнее отверстие корпуса вентилятора сообщается с блоком фильтрации, в верхней части блока фильтрации производят монтаж цилиндрического воздушного фильтра с заглушкой в нижней части, затем последовательно начинают увеличивать расстояние от стенок цилиндрического фильтра до стенок блока фильтрации, при этом измеряя значение мощности звука работающего очистителя воздуха до тех пор, пока значение мощности шума не будет снижаться менее чем на 2 % при следующем увеличении расстояния между цилиндрическим воздушным фильтром и блоком фильтрации, после чего фиксируют геометрические размеры блока фильтрации для используемых мотор-вентилятора и цилиндрического воздушного фильтра.

2. Способ по п. 1, отличающийся тем, что начальное минимальное расстояние между цилиндрическим воздушным фильтром и блоком фильтрации составляет 1 см.

3. Способ по п. 2, отличающийся тем, что для изменения расстояния между цилиндрическим воздушным фильтром и блоком фильтрации используют набор блоков фильтрации с разными геометрическими размерами.

4. Способ по п. 2, отличающийся тем, что шаг изменения расстояния между цилиндрическим воздушным фильтром и блоком фильтрации составляет 0,5 или 1 см.

5. Очиститель воздуха в локальной зоне, содержащий корпус, в котором установлены мотор-вентилятор и цилиндрический воздушный фильтр с заглушкой в нижней части, при этом расстояния от стенок цилиндрического воздушного фильтра до блока фильтрации выбраны таким образом, чтобы мощность шума работающего локального очистителя воздуха увеличивалась не более чем на 2 % при уменьшении расстояния между цилиндрическим воздушным фильтром и блоком фильтрации на длину шага изменения; в нижней части корпуса очистителя воздуха расположен корпус вентилятора с входным и выходным отверстиями, в котором расположен мотор-вентилятор, при этом нижнее отверстие корпуса вентилятора сообщается с отверстием в нижней части корпуса очистителя воздуха, а верхнее отверстие корпуса вентилятора сообщается с блоком фильтрации.

6. Очиститель воздуха по п. 5, отличающийся тем, что длина шага изменения составляет 0,5 или 1 см.

7. Очиститель воздуха по п. 5, отличающийся тем, что блок фильтрации имеет форму цилиндра, или конуса, или параллелепипеда, выполненных с возможностью размещения внутри блока фильтрации цилиндрического воздушного фильтра.

8. Очиститель воздуха по п. 6, отличающийся тем, что диаметр цилиндрического воздушного фильтра составляет 190 мм.

9. Очиститель воздуха в локальной зоне, содержащий корпус, в котором под верхней крышкой с отверстием расположен блок фильтрации, выполненный цилиндрическим, диаметром от 250 мм, внутри в верхней части блока фильтрации вертикально установлен цилиндрический воздушный фильтр диаметром 190 мм с заглушкой в нижней части, верхнее отверстие которого сообщается с отверстием в верхней крышке корпуса очистителя воздуха, в нижней части корпуса очистителя воздуха расположен корпус вентилятора с входным и выходным отверстиями, в котором расположен мотор-вентилятор, при этом нижнее отверстие корпуса вентилятора сообщается с отверстием в нижней части корпуса очистителя воздуха, а верхнее отверстие корпуса вентилятора сообщается с блоком фильтрации.

10. Очиститель воздуха по п. 9, отличающийся тем, что внутренний диаметр цилиндрического воздушного фильтра составляет 125 мм.

11. Очиститель воздуха по п. 9, отличающийся тем, что диаметр блока фильтрации составляет от 250 до 410 мм.

12. Очиститель воздуха по п. 10 или 11, отличающийся тем, что расстояние между цилиндрическим воздушным фильтром и блоком фильтрации составляет от 30 до 110 мм.

13. Очиститель воздуха в локальной зоне, содержащий корпус, в котором под верхней крышкой с отверстием расположен блок фильтрации, выполненный в виде усеченного конуса, диаметром верхнего основания от 260 мм и диаметром нижнего основания от 220 мм, внутри в верхней части блока фильтрации вертикально установлен цилиндрический воздушный фильтр диаметром 190 мм с заглушкой в нижней части, верхнее отверстие которого сообщается с отверстием в верхней крышке корпуса очистителя воздуха, в нижней части корпуса очистителя воздуха расположен корпус вентилятора с входным и выходным отверстиями, в котором расположен мотор-вентилятор, при этом нижнее отверстие корпуса вентилятора сообщается с отверстием в нижней части корпуса очистителя воздуха, а верхнее отверстие корпуса вентилятора сообщается с блоком фильтрации.

14. Очиститель воздуха по п. 13, отличающийся тем, что внутренний диаметр цилиндрического воздушного фильтра составляет 125 мм.

15. Очиститель воздуха по п. 14, отличающийся тем, что диаметр верхнего основания блока фильтрации составляет от 260 до 350 мм.

16. Очиститель воздуха по п. 13, отличающийся тем, что диметр нижнего основания блока фильтрации составляет от 220 от 310 мм.

17. Очиститель воздуха в локальной зоне, содержащий корпус, в одной части которого расположен мотор-вентилятор, а в другой части блок фильтрации, в котором вертикально расположен цилиндрический воздушный фильтр диаметром от 160 до 250 мм, при этом расстояние от боковой поверхности цилиндрического воздушного фильтра до стенок блока фильтрации составляет от 30 мм, при этом фильтр выполнен с заглушкой в нижней части, верхнее отверстие фильтра сообщается с отверстием в верхней крышке корпуса очистителя воздуха, в нижней части корпуса очистителя воздуха расположен корпус вентилятора с входным и выходным отверстиями, в котором расположен мотор-вентилятор, при этом нижнее отверстие корпуса вентилятора сообщается с отверстием в нижней части корпуса очистителя воздуха, а верхнее отверстие корпуса вентилятора сообщается с блоком фильтрации.

18. Очиститель воздуха по п. 17, отличающийся тем, что диаметр цилиндрического воздушного фильтра составляет 160 мм, или 190 мм, или 250 мм.

19. Очиститель воздуха по п. 18, отличающийся тем, что внутренний диаметр цилиндрического воздушного фильтра составляет от 100 до 200 мм.

20. Очиститель воздуха по п. 17, отличающийся тем, что воздушный канал очистителя воздуха в локальной зоне образован входным отверстием в корпусе, внутренней частью фильтра, блоком фильтрации, мотор-вентилятором и выходным отверстием в корпусе.

21. Очиститель воздуха по п. 17, отличающийся тем, что расстояние от боковой поверхности цилиндрического воздушного фильтра до стенок блока фильтрации составляет от 30 до 110 мм.

Документы, цитированные в отчете о поиске Патент 2025 года RU2836690C1

КОСТНЫЕ ЩИПЦЫ-КУСАЧКИ 0
SU203835A1
ОЧИСТИТЕЛЬ ВОЗДУХА В ЛОКАЛЬНОЙ ЗОНЕ 2021
  • Терешкин Станислав Николаевич
RU2774412C1
МОТОР-ВЕНТИЛЯТОР И ИСПОЛЬЗУЮЩИЙ ЕГО ЭЛЕКТРИЧЕСКИЙ ПЫЛЕСОС 2008
  • Осикири Го
RU2388400C2
ГИДРАВЛИЧЕСКИЙ СЕРВОУСИЛИТЕЛЬ 0
SU207750A1
УСТРОЙСТВО для ПОГРУЗКИ понтонных ЗВЕНЬЕВ НА АВТОМОБИЛЬ 0
SU207751A1
0
SU200961A1
FR 2854829 A1, 19.11.2004.

RU 2 836 690 C1

Авторы

Терешкин Станислав Николаевич

Даты

2025-03-19Публикация

2024-08-02Подача