Область техники, к которой относится изобретение
Изобретение относится к области машиностроения, а именно к механизмам передачи угловых перемещений, и может быть использовано для создания устройств с дискретным односторонним вращательным движением подвижного элемента.
Уровень техники
Известен храповой механизм с переменным ходом, содержащий храповое колесо с неравномерным шагом расположения зубьев, закрепленное на стойке, взаимодействующую с ним собачку, шарнирно закрепленную на качающемся рычаге с возможностью поворота вокруг стойки. Авторское свидетельство СССР на изобретение №1087726, МПК F16H 27/02, 23.04.1984.
Недостатком данного механизма являются сложность конструкции и большие габариты.
Известно устройство для преобразования движений, содержащее храповое колесо, которое с обеих сторон контактирует с вертикальными частями П-образной пластинчатой пружины, на внутренних поверхностях которой выполнены зубцы, адаптированные по форме к зубцам храпового колеса, при этом скосы зубцов разных поверхностей пластинчатой пружины направлены в противоположные стороны. На поперечной части пластинчатой пружины закреплен шток с возможностью совершать осевое возвратно-поступательное движение. Патент Российской Федерации на изобретение №2159883, МПК F16Н 21/00, 27.11.2000.
Недостатком данного механизма являются невозможность реализации уникального алгоритма вращения храпового колеса и большие габариты в связи с наличием деталей, совершающих возвратно-поступательное движение.
Наиболее близким по технической сущности является электропривод переключателя, содержащий два одинаковых электромагнита, жестко установленных на основании, якорь, жестко соединенный с валом, и возвратную пружину, один конец которой закреплен на валу, а другой на основании, и храповое колесо. Кинематическая связь якоря с храповым колесом, установленным на валу с возможностью вращения вокруг него, осуществляется посредством собачек, при этом собачки постоянно прижаты к храповому колесу. Патент Российской Федерации на полезную модель №44873, МПК Н01Н 63/00, 27.03.2005. Данное техническое решение принято в качестве прототипа.
Недостатком прототипа является невозможность реализации уникального алгоритма вращения храпового колеса.
Раскрытие сущности изобретения
Данное изобретение направлено на создание малогабаритного устройства, в котором качательное движение якорей преобразуется в постоянное шаговое одностороннее вращательное движение кодового храпового колеса только при подаче строго определенной последовательности импульсов на храповой механизм, т. е. при реализации заданного алгоритма подачи импульсов.
Техническим результатом является возможность преобразования качательного движения якорей в одностороннее вращательное шаговое движение кодового храпового колеса и, соответственно, вала при условии подачи i-го импульса только на строго определенный якорь (i - порядковый номер импульса), а также отсутствие поворота вала при подаче этого импульса на другой якорь.
Технический результат достигается тем, что в составе устройства имеются два независимых якоря-ротора, которые расположены на остовах, жестко связанных с корпусом. На каждом таком якоре жестко закреплены ограничитель, не позволяющий якорю повернуться на угол больше некоторой величины, подпружиненная собачка с возможностью поворота на ограниченный угол и упор, причем к упорам якорей концами закреплена пружина. С корпусом жестко соединена крышка, на которой расположены вал и жестко связанные с ним кодовое храповое колесо, имеющее определенным образом нарезанные зубья, а также фиксирующее храповое колесо с равномерно нарезанными зубьями. При этом собачка одного из якорей кинематически связана с кодовым храповым колесом, а зубья на кодовом храповом колесе нарезаны так, что для получения его постоянного вращения необходимо подавать импульсы путем воздействия на один из якорей в строго определенной последовательности. Для случая подачи нескольких импульсов подряд на один и тот же якорь с целью засчитывания очередного «шага» храпового колеса предусмотрена отдельная подпружиненная собачка, расположенная на крышке так, чтобы обеспечивалась кинематическая связь с фиксирующим храповым колесом. На корпусе жестко закреплены упоры, не допускающие поворот кодового храпового колеса более чем на один зуб, в результате чего невозможно нарушить заданную последовательность импульсов.
Краткое описание чертежей (если они содержатся в заявке)
Сущность изобретения поясняется чертежами, где:
1 - корпус;
2 - остов;
3 - якорь;
4 - якорь;
5 - собачка;
6 - собачка;
7 - ограничитель;
8 - ограничитель;
9 - крышка;
10 - вал;
11 - кодовое храповое колесо;
12 - фиксирующее храповое колесо;
13 - собачка;
14 - упор собачки;
15 - упор собачки;
16 - упор якоря;
17 - упор якоря;
18 - пружина.
На фиг. 1, 2, 6 представлено устройство преобразования качательного движения в одностороннее вращательное путем реализации заданного алгоритма в начальном положении.
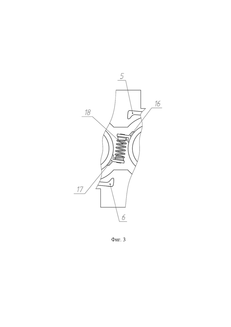
На фиг. 3 представлена часть того же устройства в начальном положении без колеса 11, колеса 12 и собачки 13.
На фиг. 4 представлено то же устройство при подаче «правильного» импульса.
На фиг. 5 представлено то же устройство при подаче «неправильного» импульса.
На фиг. 7 представлено то же устройство в начальном положении без колеса 11.
На фиг. 2-5 крышка 9 не показана.
Осуществление изобретения
Устройство преобразования качательного движения в одностороннее вращательное путем реализации заданного алгоритма содержит корпус 1, на котором жестко закреплены два остова 2. На остовах 2 расположены два независимых поворотных якоря 3 и 4. На якорях 3 и 4 расположены подпружиненные толкающие собачки 5 и 6 соответственно, а также жестко закреплены ограничители 7 и 8. С корпусом жестко соединена крышка 9, на крышке расположен вал 10, с которым жестко связаны оригинальное кодовое храповое колесо 11, имеющее определенным образом нарезанные зубья, а также фиксирующее храповое колесо 12. Зубья на колесе 11 расположены так, чтобы поворот храпового колеса на один «шаг» был возможен при повороте только одного из якорей. Для случая подачи нескольких импульсов подряд на один и тот же якорь с целью фиксации очередного «шага» храпового колеса 11 предусмотрена подпружиненная собачка 13. Собачка 13 расположена на крышке так, чтобы обеспечивалась кинематическая связь с храповым колесом 12. На крышке жестко закреплены упоры 14 и 15, за счет которых храповое колесо не может по инерции повернуться более чем на один «шаг» и, тем самым, нарушить заданную последовательность импульсов. Для возврата якоря в начальное положение после подачи импульса предусмотрена возвратная пружина 18, один конец которой закреплен на упоре 16, жестко связанным с якорем 3, а другой - на аналогичном упоре 17 якоря 4.
Данное устройство работает следующим образом.
В исходном положении якоря 3 и 4 повернуты так, что ограничителями хода 7 и 8 упираются в поверхности 1.1 и 1.2 корпуса 1 (фиг. 2). Для получения постоянного шагового вращения храпового колеса 11 необходимо подавать импульсы путем воздействия на один из якорей в строго определенной последовательности. Импульс под номером i подается на храповое колесо через толкающую собачку 5 или 6.
В данных примерах (фиг. 4, 6) под «правильным» (таким, после подачи которого храповое колесо поворачивается на один «шаг» с дальнейшей фиксацией в новом положении) импульсом предполагается импульс, который подается на якорь 3. При подаче импульса якорь 3 начинает вращение до упора ограничителем хода 7 в поверхность 1.3 корпуса 1. При этом собачка 5, которая находится в зацеплении с зубом, поворачивает храповое колесо 11 и, соответственно, вал 10, а собачка 6 попадает в зуб, оказавшийся под ней, до конца хода якоря 3 (фиг. 4) либо проскальзывает по храповому колесу при отсутствии под ней зуба - в этом случае под противолежащей собачкой засчитывание очередного «шага» обеспечивается собачкой 13, которая после каждого импульса фиксирует храповое колесо 12 в новом положении (фиг. 6). После прекращения воздействия импульса якорь возвращается в исходное положение - до упора ограничителем хода 7 в поверхность 1.1 - под действием возвратной пружины 18 (фиг. 3).
При подаче импульса на якорь 4 поворота храпового колеса 11 не происходит. В этом случае собачка 6 только пройдет по поверхности храпового колеса 11 (фиг. 5). После подачи импульса якорь так же вернется в начальное положение - до упора ограничителем хода 6 в поверхность 1.2.
В случае подачи импульсов на оба якоря одновременно якоря 3 и 4 повернутся до касания своими упорами 16 и 17. В этом случае ввиду малого угла между упорами 16 и 17 зацепления собачки 13 с храповым колесом 12 не произойдет. И после действия импульса якоря также вернутся в начальное положение за счет пружины 18. Храповое колесо 11 за счет поджатия одной из толкающих собачек также вернется в исходное положение.
Таким образом, преобразование качательного движения якорей в постоянное одностороннее вращательное движение вала возможно только путем реализации заданного алгоритма - подачи строго определенной последовательности импульсов, которая определяется оригинальной конструкцией кодового храпового колеса.
| название | год | авторы | номер документа |
|---|---|---|---|
| Дискретный привод лентопротяжного механизма | 1988 |
|
SU1597555A1 |
| ИСПОЛНИТЕЛЬНОЕ КОММУТИРУЮЩЕЕ УСТРОЙСТВО | 2008 |
|
RU2367050C1 |
| Преобразователь возвратно-поступательного движения в однонаправленное вращательное | 2023 |
|
RU2813755C1 |
| Электромагнитный шаговый двигатель | 1981 |
|
SU987754A1 |
| Станок для насекания рашпилей прямой и полукруглой формы | 1972 |
|
SU443731A1 |
| Храповой механизм для прерывистого движения при больших нагрузках | 1982 |
|
SU1143912A1 |
| ПОРШНЕВОЙ ГАЙКОВЕРТ | 2013 |
|
RU2548870C2 |
| Устройство для автоматического нарезания внутренней резьбы | 1972 |
|
SU477795A1 |
| Портативное билетопечатающее устройство | 1983 |
|
SU1092540A1 |
| Делительное устройство | 1985 |
|
SU1313651A1 |
Изобретение относится к области машиностроения. Устройство преобразования качательного движения в одностороннее вращательное содержит корпус, вал, храповое колесо и два независимых якоря-ротора. Якоря расположены на остовах, жестко связанных с корпусом. На каждом из якорей жестко закреплены ограничитель, подпружиненная собачка с возможностью поворота на ограниченный угол и упор. К упорам якорей концами закреплена пружина. С корпусом жестко соединена крышка, на которой расположены вал, жестко связанные с ним кодовое храповое колесо, а также фиксирующее храповое колесо. Одна из собачек кинематически связана с кодовым храповым колесом, а зубья на кодовом храповом колесе нарезаны так, что для получения его постоянного вращения необходимо подавать импульсы путем воздействия на один из якорей в строго определенной последовательности. Для случая подачи нескольких импульсов подряд на один и тот же якорь с целью засчитывания очередного «шага» храпового колеса предусмотрена отдельная подпружиненная собачка, расположенная на крышке так, чтобы обеспечивалась ее кинематическая связь с фиксирующим храповым колесом. На крышке жестко закреплены упоры, не допускающие поворот кодового храпового колеса более чем на один зуб. Обеспечивается возможность преобразования качательного движения в одностороннее вращательное шаговое движение. 7 ил.
Устройство преобразования качательного движения в одностороннее вращательное путем реализации заданного алгоритма подачи управляющих импульсов, содержащее корпус, вал и храповое колесо, отличающееся тем, что в составе механизма имеются два независимых якоря-ротора, которые расположены на остовах, жестко связанных с корпусом; на каждом из таких якорей жестко закреплены ограничитель, не позволяющий якорю повернуться на угол больше некоторой величины, подпружиненная собачка с возможностью поворота на ограниченный угол и упор, причем к упорам якорей концами закреплена пружина; с корпусом жестко соединена крышка, на которой расположены вал, жестко связанные с ним кодовое храповое колесо, имеющее определенным образом нарезанные зубья, а также фиксирующее храповое колесо, имеющее равномерно нарезанные зубья, при этом одна из собачек якоря кинематически связана с кодовым храповым колесом, а зубья на кодовом храповом колесе нарезаны так, что для получения его постоянного вращения необходимо подавать импульсы путем воздействия на один из якорей в строго определенной последовательности; для случая подачи нескольких импульсов подряд на один и тот же якорь с целью засчитывания очередного «шага» храпового колеса предусмотрена отдельная подпружиненная собачка, расположенная на крышке так, чтобы обеспечивалась ее кинематическая связь с фиксирующим храповым колесом; на крышке жестко закреплены упоры, не допускающие поворот кодового храпового колеса более чем на один зуб.
| Аппарат для объемного обмера зерновых материалов | 1934 |
|
SU44873A1 |
| US 3311880 A1, 28.03.1967 | |||
| US 20210197400 A1, 01.07.2021 | |||
| KR 1020150002785 A, 07.01.2015. | |||
Авторы
Даты
2025-04-01—Публикация
2024-09-03—Подача