Настоящее изобретение относится к средствам контроля измерений массовой концентрации газов (МКГ) в метрологических целях, а именно к имеющим программно-алгоритмическую реализацию способам контроля точности измерения массовой концентрации газов в работе автоматизированной измерительной системы (АИС) с возможностью выявления и оценки случайных составляющих в измеренном сигнале.
Разработанный способ оценки точности измерения массовой концентрации газов в реальном времени для автоматизированной измерительной системы необходим для организации принципа прослеживаемости измерений в рамках применения концепции неопределенности измерений, под которым в России принимают принцип обеспечения единства измерений, условия реализации которого регламентированы ФЗ «Об обеспечении единства измерений» № 102 от 26 июня 2008 г.
Изобретение может быть использовано в составе промышленных систем автоматизации и управления, представляющих собой совокупность узлов, связанных между собой при помощи промышленной сети, способных осуществлять информационный обмен, прием, передачу, коммутацию данных.
Промышленные системы автоматизации и управления могут быть представлены следующими автоматизированными системами:
- автоматизированные системы управления технологическими процессами;
- система управления производством.
Под контролем точности измерения массовой концентрации газов понимается числовое значение измеренной величины.
Известен способ измерения (оценки) точности измеряемых величин, (опубликован - Н.Д. Панкратова, Т.В. Подкладчикова, Д.Г. Стрелков. Квазиоптимальное сглаживание как инструментарий анализа сложных слабоструктурированных динамических процессов, Кибернетика и системный анализ №6, 2009, С.79-87.) состоящий из оценивания случайных составляющих временного ряда, связанных с неопределенностью измерения и неопределенностью изменения динамического процесса, и основанного на сглаживании измеряемых величин функцией экспоненциальной средней.
Известен способ оценки среднего стандартного отклонения, связанного с неопределенностью, как при оценке метрологических характеристик, так и при контроле качества измеряемых величин (опубликован в статье S. V. Medvedevskikh · M. Yu. Medvedevskikh · M. P. Krasheninina. Quality Assessment of the Preparation of Reference Materials of Moist Solid Substances. Reference Materials in Measurement and Technology, 157-173), состоящий из оценивания случайных составляющих, посредством модели случайного блуждания, основанных на скрытых Марковских моделях процессов.
Наиболее близким по технической сущности к заявляемому является способ определения значения измеряемой величины (патент РФ на изобретение №2252396; МПК G01D1/00, G06F 15/00; заявка № 2003116975; дата начала отсчета срока действия патента 09.06.2003; дата публикации заявки: 20.12.2004; опубликовано: 20.05.2005 Бюл. № 14).
Недостатком известных аналогов и прототипа является то, что данные способы обладают невысокой точностью оценки измеренной величины, в следствии того, что для оценки точности измеряемой величины используют не полную информацию о случайных составляющих измеренного сигнала, в связи с тем, что оценка известных способов основана только на одной измеряемой величины.
Технический результат, достигаемый при осуществлении настоящего изобретения, заключается в повышении точности и достоверности определения результатов измерения концентрации выбросов загрязняющих веществ в режиме реального времени на промышленном предприятии.
Технический результат достигается за счет способа контроля точности измерений массовой концентрации выбросов загрязняющих веществ в режиме реального времени для автоматизированной измерительной системы промышленного предприятия, в котором:
- при помощи автоматизированной системы управления технологическим процессом (АСУТП) выполняют непрерывные измерения технологических параметров
с последующей передачей значений в цифровом виде в блок вычисления выбросов,
- в блоке вычисления выбросов определяют функциональную зависимость
измеряемой величины
от вспомогательных величин входных параметров
, представляющую собой предварительно определённую функцию преобразования с постоянными коэффициентами
, смещения -
вида
которые определяются на основе множества измерений, изменяющихся во времени вспомогательных величин
, полученную функцию преобразования
сохраняют в блок памяти ЭВМ;
- далее сигналы от блока вычисления выбросов направляют в устройство контроля точности измерений;
- сигналы, содержащие информацию об измеренном значении массовой концентрации газа (МКГ) из блока формирования серий направляют в блок формирования пространственно-временного поля, где при помощи функции преобразования
в контролируемые промежутки времени
находят оценку измеряемой величины по найденной функциональной зависимости измеряемой величины
от вспомогательных величин
, полученной на основе измерения параметров технологического процесса, влияющих на формирование структурных функций; структурные функции в пространственно-временном поле получают в виде тензорного поля данных временных рядов, для которого определяют два независимых пространства двух систем измерения, векторное пространство целевого параметра
и пространство времени
, представляющее собой комплексную единичную сферу, при этом пространство данных временных рядов
, полученных путем слияния
и
определяется тензорным произведением
;
- передают сигнал, содержащий информацию об оценке измеряемой величины с блока формирования пространственно-временного поля в блок структурной функции Колмогорова, где из измеряемой величины
выделяют источник случайных составляющих
, с последующим разделением на ошибки
в измерении и ошибки, связанных с технологическим процессом
; разделение на составляющие, обусловленных ошибками измерения измеряемой величины
осуществляют за счёт расчета над данными структурной функции Колмогорова
где
,
- семивариограмма процесса
,
,
;
- полученную информацию в виде цифровых сигналов из блока структурной функции Колмогорова передают в блок кригинг-регрессии и выявляют интерполяционные оценки
на основе гауссовских процессов,
где
- точка в пространстве или на плоскости
,
m - показатель метода обратных расстояний,
- считывают из блока пространства состояний объекта управления в блок наблюдателя Калмана конфигурацию, содержащую информацию о динамике технологического процесса измеряемой величины;
- передают с блока кригинг-регрессии сигнал, содержащий информацию по интерполяционным оценкам в блок наблюдателя Калмана, где производят разделение на составляющие, обусловленных динамикой процесса измеряемой величины в виде параметрической модели технологического процесса, описанного в блоке пространства состояний объекта управления (ОУ) следующей матрицей,

где
,
- оценки матриц
,
;
- матрица коэффициентов усиления наблюдателя;
- оценка истинных значений параметров;
- матрица управления с регулятора;
- измеренные значения параметров;
- передают сигналы, содержащие информацию о составляющих, , связанных с ошибками измерения измеряемой величины
и технологическим процессом
в блок вычисления истинных значений, где выявляют с помощью блока вычисления истинных значений измеряемые истинные значения
величины в указанные моменты времени
, сведения о которых сохраняются в блоке хранения значений, результаты преобразований над данными сохраняют в блок памяти ЭВМ, при этом вычисление значений истинных мгновенных значений измеряемой величины
осуществляют за счет разности найденных составляющих из измеренных значений массовой концентрации газов, а вычисление оценок точности измерений осуществляют за счет определения в случайных составляющих средних значений и среднеквадратичного отклонения серии данных,
- полученные сведения о измеряемых вычисленных истинных значениях величины и их оценки точности для требуемых моментов времени передают на блок вывода информации.
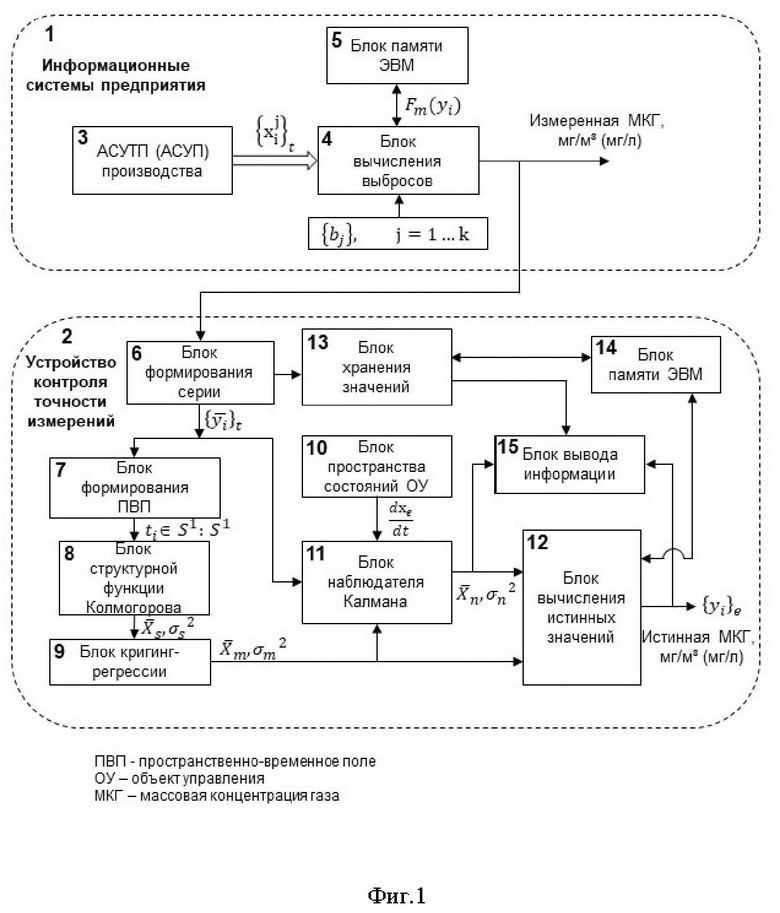
Изобретение поясняется фигурами:
фиг.1 представлена блок-схема способа контроля точности измерений массовой концентрации выбросов загрязняющих веществ в режиме реального времени для автоматизированной измерительной системы промышленного предприятия.
На блок-схеме указаны:
1 - информационная система промышленного предприятия;
2 - устройство контроля точности измерений;
3 - автоматизированная система управления технологическим процессом (АСУТП (АСУП));
4 - блок вычисления выбросов;
5 - блок памяти электронно-вычислительной машины (ЭВМ);
6 - блок формирования серий;
7 - блок формирования пространственно-временного поля (ПВП);
8 - блок структурной функции Колмогорова;
9 - блок кригинг-регрессии;
10 - блок пространства состояний ОУ;
11 - блок наблюдателя Калмана;
12 - блок вычисления истинных значений;
13 - блок хранения значений;
14 - блок памяти ЭВМ;
15 - блок вывода информации.
фиг.2 - эмпирические оценки функции преобразования сигнала массовой концентрации диоксида серы:
(а) при нагрузке установки >5 %;
(б) при нагрузке установки <20 %;
(в) при нагрузке установки <50 % и «с переходом» в разладку процесса.
фиг.3 - пространственно-временные 2D поля для серий данных:
(а) N1 при нагрузке установки >5 %;
(б) N2 при нагрузке установки <20 %;
(в) N3 при нагрузке установки <50 % и «с переходом» в разладку процесса.
фиг.4 - итоговые модели вариограмм для серий данных:
(а) N1 при нагрузке установки >5 %;
(б) N2 при нагрузке установки <20 %;
(в) N3 при нагрузке установки <50 % и «с переходом» в разладку процесса.
фиг.5 - для серии данных N1 при нагрузке установки >5 %:
(а) интерполяция оценок функцией кригинга;
(б) ошибки интерполяции модели.
фиг.6 - для серии данных N2 при нагрузке установки <20 %:
(а) интерполяция оценок функцией кригинга;
(б) ошибки интерполяции модели.
фиг.7- для серии данных N3 при нагрузке установки <50 % и «с переходом» в разладку процесса:
(а) интерполяция оценок функцией кригинга;
(б) ошибки интерполяции модели.
фиг.8 - для серии данных N1 при нагрузке установки >5 %:
(а) интерполяция оценок наблюдателем Калмана;
(б) характеристики сигнала ошибки между измеренным и восстановленным сигналами.
фиг.9 - для серии данных N2 при нагрузке установки <20 %:
(а) интерполяция оценок наблюдателем Калмана;
(б) характеристики сигнала ошибки между измеренным и восстановленным сигналами.
фиг.10 - для серии данных N3 при нагрузке установки <50 % и «с переходом» в разладку процесса:
(а) интерполяция оценок наблюдателем Калмана;
(б) характеристики сигнала ошибки между измеренным и восстановленным сигналами.
Способ осуществляется следующим образом.
Работа технологической установки сопровождается образованием продуктов химических реакции и сгорания с последующим выпуском в атмосферу загрязняющих веществ через дымовую трубу.
Информационные системы предприятия 1 производят непрерывные автоматические измерения МКГ для эмиссий загрязняющих веществ: суммы оксидов азота (NOх), диоксида серы (SO2), сероводорода (H2S) и других газов с последующей передачей значений в цифровом виде в устройство контроля точности измерений 2.
Измеренные значения с автоматизированной системы управления технологическим процессом (АСУТП) 3
, где n - количество точек в выборочной серии данных, k - количество входных параметров, направляют в цифровом виде в блок вычисления выбросов 4.
В блоке вычисления выбросов 4 определяют функциональную зависимость
измеряемой величины
от вспомогательных величин входных параметров
, представляющую собой предварительно определённую функцию преобразования с постоянными коэффициентами
, смещения -
вида
(1)
которые определяются на основе множества измерений изменяющихся во времени вспомогательных величин
, полученную функцию преобразования
сохраняют в блок памяти ЭВМ 5.
Сигналы от блока вычисления выбросов 4 направляют в устройство контроля точности измерений 2.
Сигналы, содержащие информацию об измеренном значении массовой концентрации газа (МКГ) из блока формирования серий 6 направляют в блок формирования пространственно-временного поля (ПВП) 7, где при помощи функции преобразования
в контролируемые промежутки времени
находят оценку измеряемой величины по найденной функциональной зависимости измеряемой величины
от вспомогательных величин
, полученной на основе измерения параметров технологического процесса, влияющих на формирование структурных функций. Структурные функции в пространственно-временном поле получают в виде тензорного поля данных временных рядов, для которого определяют два независимых пространства двух систем измерения, векторное пространство целевого параметра
и пространство времени
, представляющее собой комплексную единичную сферу, при этом пространство данных временных рядов
, полученных путем слияния
и
определяется тензорным произведением
;(2)
Передают сигнал, содержащий информацию об оценке измеряемой величины с блока формирования пространственно-временного поля 7 в блок структурной функции Колмогорова 8, где из измеряемой величины
выделяют источник случайных составляющих
, с последующим разделением на ошибки
в измерении и ошибки, связанных с технологическим процессом
; разделение на составляющие, обусловленных ошибками измерения измеряемой величины
осуществляют за счёт расчета над данными структурной функции Колмогорова
(3)
где
,
- семивариограмма процесса
,
,
.
Полученную информацию в виде цифровых сигналов из блока структурной функции Колмогорова 8 передают в блок кригинг-регрессии 9 и выявляют интерполяционные оценки
на основе гауссовских процессов,
(4)
где
- точка в пространстве или на плоскости
,
m - показатель метода обратных расстояний,
Считывают из блока пространства состояний объекта управления 10 в блок наблюдателя Калмана 11 конфигурацию, содержащую информацию о динамике технологического процесса измеряемой величины.
Передают с блока кригинг-регрессии 9 сигнал, содержащий информацию по интерполяционным оценкам в блок наблюдателя Калмана 11, где производят разделение на составляющие, обусловленных динамикой процесса измеряемой величины в виде параметрической модели технологического процесса, описанного в блоке пространства состояний объекта управления (ОУ) 10 следующей матрицей,
(5)
где
,
- оценки матриц
,
;
- матрица коэффициентов усиления наблюдателя;
- оценка истинных значений параметров;
- матрица управления с регулятора;
- измеренные значения параметров.
Передают сигналы, содержащие информацию о составляющих, вязанных с ошибками измерения измеряемой величины
и технологическим процессом
в блок вычисления истинных значений 12, где выявляют с помощью блока вычисления истинных значений 12 измеряемые истинные значения
величины в указанные моменты времени
, сведения о которых сохраняются в блоке хранения значений 13, результаты преобразований над данными сохраняют в блок памяти ЭВМ 14, при этом вычисление значений истинных мгновенных значений измеряемой величины
осуществляют за счет разности найденных составляющих из измеренных значений массовой концентрации газов, а вычисление оценок точности измерений осуществляют за счет определения в случайных составляющих средних значений и среднеквадратичного отклонения серии данных.
Полученные сведения о измеряемых вычисленных истинных значениях величины и их оценки точности для требуемых моментов времени передают на блок вывода информации 15.
Оператор системы на основании получаемой сведений о точности измерения МКГ на блоке вывода информации имеет возможность просматривать изменения точности измерений во времени, анализировать тренд точностных характеристик сигнала с возможностью последующей автоматической коррекции погрешности, появившейся в результате воздействия источника случайных составляющих в измеренном сигнале автоматизированной измерительной системы, с последующим ослаблением метрологических последствий возникновения дефекта с целью повышения точности и достоверности результатов измерений.
Пример реализации способа.
В качестве объекта исследования рассматривается процесс дожига (утилизации) отходящих загрязняющих газов в технологических печах для нефтегазохимической отрасли производства. Основным предназначением технологической установки является получения элементарной серы из кислого технологического газа (в форме сероводорода - H2S), выделенного в процессе сероочистки природного газа. Процессы получения серы включают термическую стадию, на которой часть сероводорода окисляют кислородом воздуха до диоксида серы, и каталитическую стадию, на которой ведут реакцию между сероводородом и диоксидом серы в присутствии алюмооксидного катализатора с получением элементарной серы.
Блок схема устройства, реализующего способ контроля точности измерений массовой концентрации выбросов загрязняющих веществ показан на фигуре 1.
Из набора исторических данных были выбраны три характерных ряда N-серии, сформированных непрерывной функцией преобразования сигнала (1) при эмпирической оценке значений массовых концентраций диоксида серы (SO2) с частотой (дискретностью) запуска процедуры расчёта 1 раз в 15 сек, что соответствует 60 временным точкам наблюдения в течение 20 минутного периода:
- Ряд серии N1 с усредненными значениями концентрации равной 0,081 мг/м3, соответствующего уровню загрузки печи дожига менее 5 %;
- Ряд серии N2 с усредненными значениями концентрации равной 0,17 мг/м3, соответствующего уровню загрузки печи дожига более 20 %;
- Ряд серии N3 с усредненными значениями концентрации равной 0,23 мг/м3, соответствующего уровню загрузки печи дожига более 50 %.
На фигуре 2 показаны графики зависимости выходного сигнала функции преобразования (1) для разного уровня загрузки (нагрузка работы) печи дожига технологической установки по показателю - массовое содержание компонентов диоксида серы в газовой дымовой смеси при выходе из дымовой трубы в атмосферу.
Далее к выборкам данных (N1, N2, N3) были применены статистические тесты (критерии) по проверке на нормальность и стационарность временных рядов N-серий. Результаты тестов для текущих временных рядов представлены в таблице 1.
В ходе проведенного теста на критерий Jarque-Bera (Харки-Бера) к N-сериям асимптотически нормальная оценка гарантирует для рядов эмпирической оценки стремление распределений к нормальному закону при увеличении размера выборки, и позволяет утверждать, что гипотеза о нормальности данных соблюдается.
характеристика
(при >5 % нагрузке)
(при <20 % нагрузке)
(<50 %, с разладкой)
Тесты ADF (Дикки-Фуллера) и тесты на критерий KPSS (Квятковский-Филлипс-Шмидт-Шин) показали для серий N1, N2, N3 стационарность тренда в ряду и линейную стационарность наблюдаемого временного ряда. Тесты ADF и KPSS были выполнены для уровня значимости 5%.
Для рассматриваемых N-серий временных рядов, при котором для последовательностей целевого параметра
и временных отсчетов
, где
- количество рассматриваемых наблюдений, зависимых от дискретности и периодичности время сбора данных, согласно выражению (2), сформированы пространства данных временных рядов. На фигуре 3 показаны пространственно-временные 2D поля для рассматриваемых серий данных с учетом преобразования исходного набора данных.
Затем, согласно выражению (3), были получены и выбраны лучшие композиции моделей вариограмм на основе коэффициентов их псевдо-детерминации (по критерию максимума псевдо-R2), и далее сформированы итоговые вариограммы (структурная функция Колмогорова), обеспечивающие лучшую точность аппроксимации. Модели вариограмм для рассматриваемых N-серий показаны на фигуре 4.
Параметры вариограмм (тип, порог, ранг, остаточная полудисперсия или наггет-эффект) приведены в легендах диаграмм и отдельно представлены в таблице 2.
вариограммы
(при >5 % нагрузке)
(при <20 % нагрузке)
(<50 %, с разладкой)
(наггет-эффект)
Далее, согласно выражению (4), были найдены значения интерполяционных значений для N-серий методом кригинга. На фигурах 5,6,7 множество стохастических реализаций между точками данных показаны серым цветом; поле кригинга - пунктирной, красной линией; доверительный интервал попадания значений для генеральной совокупности по уровню 95% - сплошной, голубой областью и оценки N-серии в текущий момент времени по результатам измерения с учётом случайных возмущений и помех показаны желтыми маркерными точками. Справа на рисунках показан график ошибки интерполяции модели и его выборочные статистические характеристики
.
Результаты разделения на составляющие
, обусловленных динамикой процесса измеряемой величины, согласно выражению (5) и решения тождественных матриц многомерного наблюдателя состояния Калмана, показаны на фигурах 8,9,10. Получившаяся оценка разделяет среднее и дисперсию непрерывной информации
об изменениях регулирующего воздействия и регулирующей величины с дисперсией измерения
, что позволяет найти истинные "мгновенные" значения измеряемых величин
.
Использование способа контроля точности измерений массовой концентрации выбросов загрязняющих веществ в режиме реального времени для автоматизированной измерительной системы промышленного предприятия позволяет повысить точность и достоверность измерений за счет контроля точности измерений в режиме реального времени измерений и позволит разработать универсальные обобщенные критерии, условия оптимизации и устойчивости показателей точности измерений, алгоритмы принятия решений и обработки информации при создании, функционировании и контроле работоспособности систем автоматического контроля (САК) выбросов загрязняющих веществ.
| название | год | авторы | номер документа |
|---|---|---|---|
| СПОСОБ ОПРЕДЕЛЕНИЯ ПАРАМЕТРОВ ДВИЖЕНИЯ МАНЕВРИРУЮЩЕГО ОБЪЕКТА | 2001 |
|
RU2196341C1 |
| СПОСОБ ОБРАБОТКИ СИГНАЛОВ | 2022 |
|
RU2801897C1 |
| Цифровой фильтр для нестационарных сигналов | 2020 |
|
RU2747199C1 |
| СЕЛЕКТИВНЫЙ НАВИГАЦИОННЫЙ КОМПЛЕКС | 2014 |
|
RU2561252C1 |
| НАВИГАЦИОННЫЙ КОМПЛЕКС | 2014 |
|
RU2565345C2 |
| СПОСОБ ОБРАБОТКИ СИГНАЛОВ С ИСПОЛЬЗОВАНИЕМ АЛГОРИТМА СИГМА-ТОЧЕЧНОГО ФИЛЬТРА КАЛМАНА | 2024 |
|
RU2840100C1 |
| СПОСОБ ОПРЕДЕЛЕНИЯ ДЕФОРМАЦИЙ И УГЛОВ ОРИЕНТАЦИИ КОРАБЛЯ С УЧЕТОМ ДЕФОРМАЦИЙ | 2004 |
|
RU2261417C1 |
| УСТРОЙСТВО ОПРЕДЕЛЕНИЯ КООРДИНАТ ОБЪЕКТОВ | 2022 |
|
RU2812755C2 |
| СПОСОБ ОБРАБОТКИ СИГНАЛОВ | 2021 |
|
RU2782160C1 |
| СПОСОБ БЕЗДАТЧИКОВОЙ ОЦЕНКИ УГЛОВОГО ПОЛОЖЕНИЯ РОТОРА МНОГОФАЗНОГО ЭЛЕКТРОДВИГАТЕЛЯ | 2010 |
|
RU2428784C1 |
Изобретение относится к средствам контроля измерений массовой концентрации газов. Сущность: при помощи автоматизированной системы управления технологическим процессом выполняют непрерывные измерения технологических параметров. Измеренные параметры передают в цифровом виде в блок вычисления выбросов, где определяют функциональную зависимость измеряемой величины от вспомогательных величин входных параметров. Причем указанная зависимость представляет собой предварительно определенную функцию преобразования с постоянными коэффициентами смещения. Полученную функцию преобразования сохраняют в блоке памяти ЭВМ. Сигналы от блока вычисления выбросов направляют в устройство контроля точности измерений. Сигналы, содержащие информацию об измеренном значении массовой концентрации газа, из блока формирования серий направляют в блок формирования пространственно-временного поля, где при помощи функции преобразования в контролируемые промежутки времени оценивают измеряемую величину по найденной функциональной зависимости измеряемой величины от вспомогательных величин, полученной на основе измерения параметров технологического процесса, влияющих на формирование структурных функций. Структурные функции в пространственно-временном поле получают в виде тензорного поля данных временных рядов, для которого определяют два независимых пространства двух систем измерения, векторное пространство целевого параметра и пространство времени, представляющее собой комплексную единичную сферу. Передают сигнал, содержащий информацию об оценке измеряемой величины, с блока формирования пространственно-временного поля в блок структурной функции Колмогорова, где из измеряемой величины выделяют источник случайных составляющих с последующим разделением на ошибки в измерении и ошибки, связанные с технологическим процессом. Далее полученную информацию в виде цифровых сигналов передают в блок кригинг-регрессии и выявляют интерполяционные оценки на основе гауссовских процессов. Считывают из блока пространства состояний объекта управления в блок наблюдателя Калмана конфигурацию, содержащую информацию о динамике технологического процесса измеряемой величины. Передают с блока кригинг-регрессии сигнал, содержащий информацию по интерполяционным оценкам, в блок наблюдателя Калмана, где производят разделение на составляющие, обусловленные динамикой процесса измеряемой величины, в виде параметрической модели технологического процесса, описанного в блоке пространства состояний объекта управления. Передают сигналы, содержащие информацию о составляющих, связанных с ошибками измерения измеряемой величины и технологическим процессом, в блок вычисления истинных значений. В блоке выявления истинных значений выявляют с помощью блока вычисления истинных значений измеряемые истинные значения величины в указанные моменты времени. Сведения об истинных значениях величины в указанные моменты времени сохраняют в блоке хранения значений, результаты преобразований над данными сохраняют в блоке памяти ЭВМ. При этом вычисление значений истинных мгновенных значений измеряемой величины осуществляют за счет разности найденных составляющих из измеренных значений массовой концентрации газов. Вычисление оценок точности измерений осуществляют за счет определения в случайных составляющих средних значений и среднеквадратичного отклонения серии данных. Полученные сведения об измеряемых вычисленных истинных значениях величины и их оценки точности для требуемых моментов времени передают на блок вывода информации. Технический результат: повышение точности результатов измерения концентрации выбросов загрязняющих веществ в режиме реального времени на промышленном предприятии. 10 ил., 2 табл.
Способ контроля точности измерений массовой концентрации выбросов загрязняющих веществ в режиме реального времени для автоматизированной измерительной системы промышленного предприятия, в котором:
- при помощи автоматизированной системы управления технологическим процессом (АСУТП) выполняют непрерывные измерения технологических параметров
с последующей передачей значений в цифровом виде в блок вычисления выбросов;
- в блоке вычисления выбросов определяют функциональную зависимость
измеряемой величины
от вспомогательных величин входных параметров
, представляющую собой предварительно определенную функцию преобразования с постоянными коэффициентами
, смещения
вида
,
которые определяются на основе множества измерений, изменяющихся во времени вспомогательных величин
, полученную функцию преобразования
сохраняют в блок памяти ЭВМ;
- далее сигналы от блока вычисления выбросов направляют в устройство контроля точности измерений;
- сигналы, содержащие информацию об измеренном значении массовой концентрации газа, из блока формирования серий направляют в блок формирования пространственно-временного поля, где при помощи функции преобразования
в контролируемые промежутки времени
находят оценку измеряемой величины по найденной функциональной зависимости измеряемой величины
от вспомогательных величин
, полученной на основе измерения параметров технологического процесса, влияющих на формирование структурных функций; структурные функции в пространственно-временном поле получают в виде тензорного поля данных временных рядов, для которого определяют два независимых пространства двух систем измерения, векторное пространство целевого параметра
и пространство времени
, представляющее собой комплексную единичную сферу, при этом пространство данных временных рядов
, полученных путем слияния
и
, определяется тензорным произведением
;
- передают сигнал, содержащий информацию об оценке измеряемой величины, с блока формирования пространственно-временного поля в блок структурной функции Колмогорова, где из измеряемой величины
выделяют источник случайных составляющих
с последующим разделением на ошибки
в измерении и ошибки, связанные с технологическим процессом
; разделение на составляющие, обусловленные ошибками измерения измеряемой величины
, осуществляют за счет расчета над данными структурной функции Колмогорова
,
где
,
– семивариограмма процесса
,
,
;
- полученную информацию в виде цифровых сигналов из блока структурной функции Колмогорова передают в блок кригинг-регрессии и выявляют интерполяционные оценки
на основе гауссовских процессов
,
где
– точка в пространстве или на плоскости
,
m – показатель метода обратных расстояний;
- считывают из блока пространства состояний объекта управления в блок наблюдателя Калмана конфигурацию, содержащую информацию о динамике технологического процесса измеряемой величины;
- передают с блока кригинг-регрессии сигнал, содержащий информацию по интерполяционным оценкам, в блок наблюдателя Калмана, где производят разделение на составляющие, обусловленные динамикой процесса измеряемой величины, в виде параметрической модели технологического процесса, описанного в блоке пространства состояний объекта управления (ОУ) следующей матрицей
,
где
,
- оценки матриц А, В; L – матрица коэффициентов усиления наблюдателя;
- оценка истинных значений параметров; u – матрица управления с регулятора;
– измеренные значения параметров;
- передают сигналы, содержащие информацию о составляющих, связанных с ошибками измерения измеряемой величины
и технологическим процессом
, в блок вычисления истинных значений, где выявляют с помощью блока вычисления истинных значений измеряемые истинные значения
величины в указанные моменты времени
, сведения о которых сохраняются в блоке хранения значений, результаты преобразований над данными сохраняют в блок памяти ЭВМ, при этом вычисление значений истинных мгновенных значений измеряемой величины
осуществляют за счет разности найденных составляющих из измеренных значений массовой концентрации газов, а вычисление оценок точности измерений осуществляют за счет определения в случайных составляющих средних значений и среднеквадратичного отклонения серии данных;
- полученные сведения об измеряемых вычисленных истинных значениях величины и их оценки точности для требуемых моментов времени передают на блок вывода информации.
| V.A.Ganyavin et al | |||
| Электромагнитный прерыватель | 1924 |
|
SU2023A1 |
| В.А.Ганявин и др | |||
| Электромагнитный прерыватель | 1924 |
|
SU2023A1 |
Авторы
Даты
2025-04-07—Публикация
2024-04-22—Подача