Изобретение относится к области атомно-эмиссионного спектрального анализа и касается способа определения содержания элементов и форм их присутствия в дисперсной пробе и ее гранулометрического состава. Изобретение может быть использовано для различных научных и технологических целей: для оперативного проведения диагностики двигателей внутреннего сгорания по содержанию металлов износа в смазочных материалах; оперативного проведения геохимических поисков, а также в материаловедческих исследованиях (например, для определения однородности распределения элементов в любых видах порошковых или жидких пробах).
Возможность бесперебойной и безаварийной работы машин с газотурбинными двигателями или с высокооборотистыми двигателями внутреннего сгорания, а также механизмов, использующих органические вещества в качестве смазки в парах трения, стимулирует создание методов непрерывного периодического контроля состава отработанных смазочных материалов и измерения в них количества металлов износа и форм их присутствия. Определение состава пробы позволяет своевременно провести ряд предупредительных мероприятий по замене изношенных деталей и существенно сократить время простоя оборудования и, что более важно, снизить число аварийных ситуаций, что существенным образом влияет на экономическую деятельность предприятий.
С другой стороны, в последнее время наблюдается взрывной интерес к определению состава каждой отдельной частицы в дисперсной пробе, в том числе и наночастиц в клетках биологических тканей.
Для решения указанных задач, заявляемый способ атомно-эмиссионного спектрального анализа должен отвечать целому ряду требований.
Во-первых, он должен обеспечивать одновременное многоэлементное измерение в пробе в широком диапазоне содержаний элементов таблицы Менделеева в широком диапазоне содержаний (от 10-7 до 100%), а также форм присутствия этих элементов, что позволяет непосредственно определять содержание как микроэлементов, так и макрокомпонентов пробы. Возможность определения всех необходимых элементов за одно измерение позволяет значительно сократить временные и экономические затраты. Кроме того, такая возможность дает необходимую информацию об основном (матричном) составе исследуемой пробы.
Во-вторых, способ должен обеспечивать достоверность исследований образцов на лабораторном уровне - относительная погрешность единичного измерения не должна превышать 10%.
В-третьих, способ должен обеспечивать анализ фазового состава элементов в пробе. Важную информацию, в частности, для геохимических поисков и добычи благородных металлов несут в себе минеральные фазы, в состав которых эти металлы входят.
В-четвертых, способ должен обеспечивать возможность проведения исследований непосредственно на месте взятия проб, например, на авиазаводах или в местах отвалов бывших ГОК (горно-обогатительных комбинатов), железнодорожных депо и т.д. Известно, что места отвалов бывших ГОК могут быть давно заброшены и не иметь источников электроэнергии, а ресурс мобильных источников (аккумуляторов) строго ограничен по мощности.
В-пятых, способ должен обеспечивать эффективность возбуждения спектральных линий всех трудновозбудимых элементов таблицы Менделеева для получения достоверных результатов анализа.
В-шестых, способ, для обеспечения оптимального режима возбуждения пробы, должен иметь возможность регулировать скорость подачи пробы в зону ее атомизации.
Известен способ определения технического состояния двигателей (см. патент РФ №2646533, МКИ G01N 23/223, 2018 г.), машин и механизмов по характеристикам металлических частиц износа, обнаруженных в смазочных маслах, топливах и специальных жидкостях. Заявленный способ оценки технического состояния машин и механизмов по параметрам частиц изнашивания включает отбор пробы, предварительную ее подготовку путем того, что отобранный смыв с основного фильтра тщательно перемешивают и анализируют на сцинтилляционном анализаторе. Сцинтиляционный анализатор содержит СВЧ-плазмотрон, в котором по волноводу подается СВЧ-мощность, цилиндрическую разрядную камеру, выполненную из кварцевой трубки, которая проходит через волновод в широкой стенке, завихритель, расположенный в нижней части разрядной камеры. В завихритель встроено выходное сопло, которое также расположено в нижней части разрядной камеры, как и завихритель. Аэрозоль пробы подается в плазму непосредственно с кончика капиллярной трубки ультразвукового распылителя.
Достоинствами известного способа являются его экспрессность, ограниченная потребляемая электрическая мощность, а также, возможность прямого определения элементов в смазочных маслах, топливах и специальных жидкостях.
Основными недостатками данного способа являются: во-первых, неэффективность возбуждения спектральных линий трудновозбудимых элементов - W (вольфрам), As (мышьяк), Р (фосфор), Ti (титан) и других, т.к. из-за недостаточно высокой температуры воздушной СВЧ-плазмы, известный способ не позволяет эффективно испарять и атомизи-ровать крупные капли и частицы.
Во-вторых, регистрация спектра с помощью ФЭУ ограничивает количество определяемых элементов числом, установленных в полихроматоре детекторов. Чем больше требуется измерить элементов, тем больше необходимо установить ФЭУ. С другой стороны, спектры воздушной СВЧ-плазмы состоят из сложно структурированных линий молекулярных полос, образованных излучением двухатомных молекул. Для выделения аналитического сигнала в таком спектре обязательно требуется измерение фона как под линией, так и рядом с ней, что требует установки дополнительных ФЭУ и превращает задачу при измерении от 10 элементов в сложно реализуемую или совсем не реализуемую.
В-третьих, непосредственное распыление пробы в нитевидную плазму, образованную в данной конструкции СВЧ-плазмотрона, существенно ограничивает рабочие параметры скорости и эффективности распыления, а также согласования этих параметров с потоками плазмы для достижения максимального вхождения частиц пробы в разряд. Так снижение скорости потока аэрозоля пробы не обеспечит его вхождения в плазму, а его увеличение - снизит эффективность процессов атомизации и испускания фотонов атомами пробы.
Известен способ определения распределения частиц пробы по массе и концентрации искомых элементов в частицах дисперсной пробы (см. патент РФ №2357233, МКИ G01N 21/73, 2009 г.), включающий ввод пробы в факел плазмы двух струйного дугового плазмотрона с температурой в аналитической зоне 6000-8000 К, а также дальнейшую регистрацию последовательности атомно-эмиссионных спектров во время поступления пробы в плазму. Достоинствами известного способа являются его экспрессность, позволяющая проводить анализ пробы за время 2-5 минут, а также многоэлементность анализа пробы, что обеспечивает оценку содержания интересуемых элементов в пробе.
Основными недостатками метода являются: во-первых, неэффективность использования дисперсной пробы при распылении ее в факел плазмы двухструйного дугового плазмотрона из-за образования в нем зоны высокого давления и выталкивания легких частиц пробы наружу факела, в результате чего они разлетаются в разные стороны от аналитической зоны и, таким образом, не учувствуют в формировании спектра эмиссии.
Во-вторых, потребляемая электрическая мощность только генератора тока дуги двухструйного дугового плазмотрона, необходимого для проведения анализа, составляет около 15 кВт, что требует 3-фазного питания и водяного охлаждения большой мощности, что не позволяет проводить исследования непосредственно на месте взятия проб в местах отвалов бывших ГОК.
В-третьих, плазма двухструйного дугового плазмотрона потребляет чистый аргон, который также недоступен на месте взятия проб.
Наиболее близким к заявляемому техническому решению (прототипом), является способ определения содержания элементов и форм их присутствия в дисперсной пробе и ее гранулометрического состава (см. патент РФ №2702854, МКИ G01N 21/73, 2019 г.), включающий ввод порошковой пробы регулируемым газовым потоком в факел СВЧ-плазмы, регистрацию последовательности атомно-эмиссионных спектров во время поступления пробы в плазму, вычисление интенсивностей аналитических спектральных линий с учетом фона под линиями всех искомых элементов в зависимости от времени поступления пробы в факел плазмы, определение по градуировочной зависимости валовых содержаний аналитов в пробе, а также определение расчетным путем в исследуемой пробе распределения частиц пробы по массе, при этом, в качестве источника плазмы используют энергию СВЧ-нагрева N последовательно расположенных и независимо управляемых друг от друга источников возбуждения спектров на основе СВЧ-плазмотронов с тороидальной плазмой атмосферного давления, а регистрацию спектров производят многоэлементным фотодетектором в сцинтилляционном и/или интегральном режиме, при этом по зависимостям содержаний аналитов от времени поступления пробы в плазму визуально определяют однородность распределения этих частиц по массе пробы и, сопоставляя максимумы в зависимостях содержаний для различных аналитов от времени поступления пробы в плазму, определяют элементные ассоциации в частицах пробы, а по значениям их содержаний, определяют минеральные фазы.
Достоинствами известного способа являются его экспрессность, позволяющая проводить анализ за время 2-5 минут, а также многоэлементность анализа пробы, что обеспечивает оценку содержания всех интересуемых элементов таблицы Менделеева в пробе.
Способ имеет возможность регулировать скорость подачи пробы и длину нагрева, что позволяет улучшить точность и правильность анализа.
Основным недостатком известного способа является его функциональная ограниченность, связанная с использованием в анализе дисперсной пробы в виде мелкодисперсного порошка, вдуваемого в плазму инертным газом. При анализе некоторых типов порошков наблюдается высокая погрешность измерения, связанная с существенным различием проб и образцов сравнения, используемых при градуировке спектрометра. Такая погрешность связана, в основном, с влиянием матричных элементов (элементов с большим содержанием в пробе, особенно таких элементов как Na (натрий), К (калий), Са (кальций), Mg (магний) и других на интенсивности сигналов.
Другим недостатком известного способа является использование дисперсной пробы в виде порошка, что ограничивает возможности способа в части получения достоверных результатов при определении больших содержаний элементов и искажении результатов анализа из-за слипания частиц во время их транспортировки (вдувания в плазму), а также из-за невозможности получения частиц одного размера образов сравнения и проб.
Технический результат заявляемого изобретения заключается в устранении недостатков прототипа, а именно:
- расширение функциональных возможностей способа;
- снижение погрешности его измерений;
- повышение достоверности получаемых результатов анализа.
Указанный технический результат в способе определения содержания элементов и форм их присутствия в пробе и ее гранулометрического состава, включающий, регулируемый ввод газовым потоком воздушной порошковой пробы в факел СВЧ-плазмы, регистрацию спектров комбинированной гибридной сборкой твердотельных фотодетекторов с регистрацией одного и того же спектрального диапазона разными типами фотодетекторов с одновременной регистрацией спектров в сцинтилляционном и интегральном режимах достигается тем, что в качестве дополнительно вводимой регулируемой пробы используют жидкую пробу, которую либо предварительно распыляют, а затем вводят газовым потоком в виде мелкодисперсного аэрозоля непосредственно в факел СВЧ-плазмы, либо сначала мелкодисперсный аэрозоль перемешивают в дополнительной смесительной камере вращающимся воздушным потоком, а полученный вторичный аэрозоль вводят в факел СВЧ-плазмы, либо к вторичному аэрозолю в смесительной камере дополнительно примешивают вращающимся воздушным потоком воздушную дисперсную пробу, а образовавшуюся суспензию вводят в факел СВЧ-плазмы.
Совместное использование порошковой и аэрозольной пробы, вводимых в факел СВЧ-плазмы, позволяет расширить функциональные возможности прототипа и снизить погрешности измерений. Это достигается за счет того, что:
- прямой анализ порошковой дисперсной пробы позволяет получить результаты за минимально возможное время, так как требуется только минимальная подготовка пробы (сушка, дробление, истирание до нужного размера), однако погрешности определения концентрации элементов могут достигать на некоторых типах образцов до 100%;
- создание аэрозоля пробы, прошедшей этап химического растворения в кислотах, позволяет получить воспроизводимые и сходимые результаты при высокой точности анализа как основного состава пробы, так и примесей, однако существенно увеличивает время пробоподготовки (как минимум в 2-3 раза);
- за счет использования в заявляемом способе смесительной камеры достигается получение однородного вторичного аэрозоля пробы, который подают в плазму, что улучшает воспроизводимость результатов, однако повышает пределы обнаружения, тогда как введение аэрозоля напрямую в плазму позволяет на порядок снизить пределы обнаружения способа, однако, при этом, также снижается воспроизводимость и точность анализа;
- создание аэрозоля пробы, включающего анализируемую дисперсную пробу, растворитель или буферный раствор, в котором частицы пробы не растворяются, а образуют суспензию, позволяет повысить точность анализа за счет синтезирования необходимых по составу многоэлементных образцов сравнения из одноэлементных образцов (Hauptkorn, S., Krivan, V., Gercken, В., Pavel, J. Determination of trace impurities in high-purity quartz by electrothermal vaporization inductively coupled plasma mass spectrometry using the slurry sampling technique. // Journal of analytical atomic spectrometry. - 1997. - V. 12. - N 4. - P. 421-428). Использование легкодоступных одноэлементных образцов сравнения (известных как ГСО - государственный стандартный образец) позволяет повысить точность анализа, но при этом, увеличивает время анализа из-за более сложной пробоподготовки.
Кроме того, заявляемый способ позволяет повысить достоверность результатов анализа за счет сравнения результатов анализа, полученных при разных способах введения пробы в факел плазмы, напрямую, сразу после ее создания, а также в виде вторичного аэрозоля или суспензии, после обработки в смесительной камере.
Заявляемый способ, в зависимости от типа анализируемой пробы, позволяет выбрать различные методы ее ввода, в частности, как непосредственно введение дисперсной пробы в виде мелкодисперсного порошка в плазму, так и введение в плазму в виде мелкодисперсного аэрозоля пробы, причем этот аэрозоль включает анализируемую дисперсную пробу, растворитель или буферный раствор, в котором частицы пробы не растворяются и образуют суспензию, либо используют метод растворения пробы в кислотах и дальнейший ввод полученных проб в виде гомогенного аэрозоля в плазму.
Дисперсную пробу в виде порошка получают методом истирания анализируемой пробы до получения частиц нужного размера (как правило, менее 200 мкм) на специальных истирателях или дробилках, а затем вводят в факел плазмы.
Для получения раствора дисперсной пробы используют методы растворения в кислотах или их смесях (азотной, серной, соляной и др.). Этот подход используют для получения воспроизводимых и точных результатов при анализе высоких концентраций элементов.
Для получения мелкодисперсного аэрозоля пробы, включающего анализируемую дисперсную пробу, растворитель или буферный раствор, в котором частицы пробы не растворяются, а образуют суспензию, используют смесительную камеру, в которой происходит смешивание капель аэрозоля и частиц дисперсной пробы.
В качестве источника нагрева пробы в заявляемом способе используют энергию СВЧ-плазмы, способную обеспечить температуру до 6000°С. При попадании пробы в плазму происходит ее возбуждение, атомизация и ионизация с эмиссией характерных для каждого элемента длин волн, которые регистрирует спектрометр.
Регистрация спектров в интегральном режиме применяется для определения аналитов с высоким содержанием, интенсивности спектральных линий которых мало изменяются во времени. Сцинтилляционный режим, основанный на последовательной регистрация набора спектров пробы с высокой частотой (> 0.2 кГц) и производимый одновременно во всем рабочем спектральном диапазоне на протяжении всего времени ввода пробы с измерением интенсивности аналитических линий в каждом спектре с учетом фона под линией, обеспечивает регистрацию интенсивностей аналитических спектральных линий всех искомых элементов в зависимости от времени поступления пробы, что позволяет разделить во времени сигнал от каждой частицы, проходящей через плазму, и визуально оценить однородность распределения частиц, содержащих аналиты, по массе, а использование этих зависимостей с учетом массы пробы, вводимой в плазму за время регистрации одного спектра, позволяет расчетно-графическим путем непосредственно определить массу и содержание аналитов в частицах.
Одновременная регистрация спектров в сцинтилляционном и интегральном режимах применяется для многоэлементных измерений в широком диапазоне содержаний элементов в пробе.
Таким образом, заявляемый способ позволяет существенно расширить функциональные возможности прототипа за счет дополнительного использования в качестве пробы жидкой пробы либо в виде мелкодисперсного аэрозоля, вводимой непосредственно в факел СВЧ-плазмы, либо сначала мелкодисперсный аэрозоль перемешивают в дополнительной смесительной камере вращающимся воздушным потоком, а полученный вторичный аэрозоль вводят в факел СВЧ-плазмы, либо к вторичному аэрозолю в смесительной камере дополнительно примешивают вращающимся воздушным потоком воздушную дисперсную пробу, а образовавшуюся суспензию вводят в факел СВЧ-плазмы. При этом сохраняются достоинства прототипа, включающие в себя возможность одновременно определять валовые содержания аналитов, массы и содержания аналитов в пробе, минеральные фазы, а также однородность распределения частиц, содержащих аналиты, по массе пробы с использованием одновременной регистрации атомно-эмиссионных спектров во всем спектральном диапазоне в последовательном и интегральном режимах и аналитической зоны протяженной формы, образованной энергией СВЧ-плазмы, что не имеет аналогов среди известных способов, использующих для определения состава пробы метод атомно-эмиссионного спектрального анализа, а значит, соответствует критерию «изобретательский уровень».
Сущность заявляемого технического решения поясняется представленными на фиг. 1-9 рисунками.
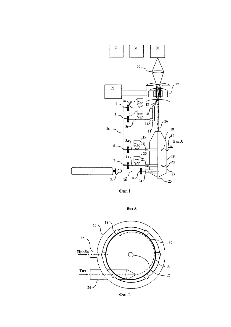
На фиг. 1 представлен упрощенный рисунок блок-схемы приборного комплекса, поясняющий суть заявляемого способа, где: 1 - источник газа с регулятором 2; 3а-3е - пнев-молинии; 4 - 8 - краны подачи газа; 9 - кювета с жидкой пробой, соединенная посредством патрубка 10 с трубкой 11 для ввода пробы (аэрозоля или воздушной дисперсной пробы) 12, напрямую в СВЧ-плазмотрон; 13 - кювета с порошкообразной пробой, соединенная посредством патрубка 14 с трубкой 11 для ввода порошкообразной пробы 12, напрямую в СВЧ-плазмотрон; 15 - кювета с жидкой пробой, соединенная посредством патрубка 16 с кольцевой трубой 17 и ее боковыми каналами 18, для ввода раствора пробы внутрь смесительной камеры 19; 20 - кювета с порошкообразной пробой, соединенная посредством патрубка 21 с кольцевой трубой 22 и ее боковыми отверстиями 23, для ввода порошкообразной пробы внутрь смесительной камеры 19; 24 - трубка для тангенциального ввода газа внутрь смесительной камеры 19; 25 - трубка слива остатков пробы; 26 -вторичный аэрозоль или суспензия, поступающая с выхода смесительной камеры 19 в СВЧ-плазмотрон 27 с источником СВЧ-энергии 28; 29 - система освещения щели спектрального прибора 30; 31 - система регистрации спектров на основе многоэлементных твердотельных детекторов; 32- персональный компьютер.
На фиг. 2 представлен упрощенный рисунок разреза смесительной камеры 19, изображенной на фиг. 1 (вид А), на котором для облегчения понимания процессов проходящих внутри смесительной камеры, все стенки деталей, рассекаемые секущей плоскостью (в том числе, смесительной камеры, а также патрубков и труб соединенных с ней, изображены в тонких линиях без их заштриховки), где: 16 - патрубок, соединенный с кольцевой трубой 17 с герметичными внутренними каналами 18, соединяющими трубу 17 с внутренней полостью смесительной камеры 19; 33 - траектория движения газа внутри смесительной камеры 19.
На фиг. 3 представлен фрагмент рисунка приборного комплекса, изображенного на фиг. 1, поясняющий функционирование заявляемого способа для введения жидкой пробы из кюветы 9 в виде аэрозоля в СВЧ-плазмотрон напрямую, где: 34 - аэрозоль.
На фиг. 4 представлен фрагмент рисунка приборного комплекса, изображенного на фиг. 1, поясняющий функционирование заявляемого способа для введения порошкообразной пробы из кюветы 13 в СВЧ-плазмотрон напрямую, где: 35 - воздушная дисперсная проба.
На фиг. 5 представлен фрагмент рисунка приборного комплекса, изображенного на фиг. 1, поясняющий функционирование заявляемого способа для введения жидкой пробы из кюветы 15 в виде аэрозоля в СВЧ-плазмотрон через промежуточную смесительную камеру 19, где: 36 - вторичный аэрозоль.
На фиг. 6 представлен фрагмент рисунка приборного комплекса, изображенного на фиг. 1, поясняющий функционирование заявляемого способа для совместного введения жидкой пробы из кюветы 15 и порошкообразной пробы из кюветы 20 через промежуточную смесительную камеру 19, где: 37 - суспензия.
На фиг. 7 представлен упрощенный рисунок нижней части смесительной камеры 19, приборного комплекса, изображенного на фиг. 1, поясняющий принцип слива остатков пробы через трубку 25, где: 38 - крупные капли аэрозоля или частицы порошкообразной пробы, которые удаляются из смесительной камеры 19 через проходное отверстие 39 конического крана 40.
На фиг. 8 представлен упрощенный рисунок, поясняющий принцип регулирования подачи жидкой пробы из кюветы в газовую магистраль, где: 41 - кювета для жидкой пробы с гибким патрубком 42, соединяющим кювету с газовой магистралью 43; 44 - эксцентриковое колесо, пережимающее при вращении проходное сечение патрубка 42.
На фиг. 9 представлен упрощенный рисунок, поясняющий принцип регулирования подачи порошковой пробы из кюветы в газовую магистраль, где: 45 - кювета с частицами порошковой пробы 46, соединенная с цилиндрической наклонной камерой 47, на продольной оси которой закреплен шнек 48, перемещающий при вращении частицы пробы в накопительную камеру 49, где их захватывает проходящий поток газа.
Суть заявляемого способа рассмотрим на примере универсального приборного комплекса, представленного на фиг. 1. Газ из источника 1 с расходом, устанавливаемым регулятором 2, по пневмолиниям За и 36, а далее через краны 4-8 поступает в пневмолинии 3в-3е. Вместо кранов 4-8 лучше использовать ротаметры, которые позволяют более плавно регулировать подачу газа, для обеспечения полного возбуждения и атомизации пробы.
Благодаря движению газа, осуществляемого через открытые краны 4 и 5 по пневмолиниям 3в или 3г, в трубку 11 можно доставить или аэрозоль жидкой пробы из кюветы 9, или мелкодисперсную воздушную порошкообразную пробу из кюветы 13. Из сопла трубки 11 проба 12 поступает напрямую в центральную область факела плазмы СВЧ-плазмотрона 27 (на рисунке, представленным на фиг. 1, направление доставки пробы 12 из сопла трубки 11 в центр факела плазмы показано условно). Попадая в центральную область факела плазмы СВЧ-плазмотрона 27, все частицы пробы, в зависимости от массы проходят этапы: плавления (сферодизации), испарения, атомизации, возбуждения / ионизации. Различие масс частиц пробы обуславливает различие во времени нахождения их в плазме. Использование протяженной зоны нагрева позволяет расплавить, атомизировать и возбудить/ионизовать даже крупные частицы дисперсной пробы. Зона нагрева в каждом используемом СВЧ-плазмотроне имеет длину около 20-25 мм и при их последовательном соединении увеличивается до 50-60 мм и более, что является достаточным условием для атомизации крупных массивных частиц, Излучение аналитической зоны плазменного факела СВЧ-плазмотрона 27 проецируется осветительной системой 29 на щель спектрального прибора 30. Спектральный прибор 30 регистрирует последовательность атомно-эмиссионных спектров (кинетику спектров) во время поступления пробы в плазму со временем экспозиции одного спектра меньшим, чем время свечения спектральных линий аналитов (время пребывания атомов частицы аналита в регистрируемой аналитической зоне), содержащихся в одной частице дисперсной пробы. Для регистрации спектров в спектральном приборе 30 установлена система регистрации спектров 31. Оцифрованные спектры с системы регистрации спектров 31 вводятся в персональный компьютер 32, где при помощи специальной программы вычисляются интенсивности аналитических спектральных линий искомых элементов.
Аналогичным образом, проходит образование аэрозоля из жидкой пробы из кюветы 15, которая за счет открытого крана 6 по пневмолинии 3д, через патрубок 16 с кольцевой трубой 17 и боковыми каналами 18 в смесительную камеру 19. После поступления аэрозоля в смесительную камеру 19, он захватывается круговым восходящим потоком газа в пристеночной области смесительной камеры 19, в которую он поступает по пневмолинии 36, открытый кран 8 и трубку 24 для тангенциального ввода газа внутрь смесительной камеры 19. Таким образом, аэрозоль жидкой пробы из кюветы 15 вместе с вращающимся пристеночным потоком газа доходит до верхней сужающейся части смесительной камеры 19 и через ее центральное сопло поступает в центральную область факела плазмы СВЧ-плазмотрона 27.
Смесительная камера 19 имеет еще один режим работы, в котором в нее вместе с аэрозолем жидкой пробы из кюветы 15 дополнительно подается воздушная порошкообразная проба из кюветы 20, поступающая через открытый кран 7, пневмолинию 36, патрубок 21, кольцевую трубу 22 и ее внутренние боковые каналы 18. Порошкообразная проба также захватывается круговым восходящим потоком газа в пристеночной области смесительной камеры 19, но при этом она интенсивно смешивается с аэрозолем жидкой пробы, образуя суспензию 26, которая через коническое сужение поступает в центральную область факела плазмы СВЧ-плазмотрона 27.
Рассмотрим более подробно различные варианты анализа проб, проводимые приборным комплексом, представленные на фиг. 3-6, а также дополнительных рисунках на фиг. 7-9.
Вариант 1
Рассмотрим процесс анализа жидкой пробы, находящейся в кювете 9, которую в виде аэрозоля 34 (см. фиг. 3) подают непосредственно в центральную область факела плазмы СВЧ-плазмотрона 27 (см. фиг. 1). В данном варианте реализации предварительно открывают кран 4 подачи газа, через который газ от источника 1 начинает поступать, через регулятор давления 2, пневмолинию 3а и кран 4, пневмолинию 3в, соединенную с капельным выходом пробы из кюветы 9, патрубком 10 и трубкой 11, для ввода пробы аэрозоля 34, напрямую в СВЧ-плазмотрон 27. Рисунок, одного из вариантов реализации дозирования жидкой пробы представлен на фиг. 8, где с помощью эксцентрикового колеса 44, пережимающего при вращении проходное сечение патрубка 42, возможно плавное регулирование скорости ввода жидкой пробы в газовый поток в пневмолинии 3в, а значит, и содержание аэрозоля в газовом факеле 34.
Таким образом, рассматриваемый вариант приборного комплекса позволяет анализировать пробу в виде аэрозоля, что позволяет снизить пределы обнаружения комплекса.
Однако вместе с этим, у данного метода ввода жидкой пробы, имеются и недостатки:
- увеличивается влияние матричных элементов;
- существенно увеличивается время пробоподготовки, включающее этап химического растворения пробы в кислотах;
- снижается воспроизводимость и точность анализа.
Экспериментально подтверждено, что погрешность определения концентрации элементов, рассчитанная по результатам анализа 10 стандартных образцов, не превышает 10%.
Вариант 2
Рассмотрим процесс анализа порошковой пробы, находящейся в кювете 13, которую в виде мелкодисперсной газовой взвеси 35 (см. фиг. 4) подают непосредственно в центральную область факела плазмы СВЧ-плазмотрона 27 (см. фиг. 1). В данном варианте реализации предварительно открывают кран 5 подачи газа, через который газ от источника 1 начинает поступать, через регулятор давления 2, пневмолинию За и кран 5, пневмолинию Зг, соединенную с регулируемым дозатором порошка пробы из кюветы 13, патрубоком 14 и трубкой 11, для ввода пробы аэрозоля 35, напрямую в СВЧ-плазмотрон 27. Рисунок, одного из вариантов реализации дозирования порошкообразной пробы представлен на фиг. 9, где кювета с порошкообразной пробой 45 соединена со шнековым механизмом, состоящим из цилиндрической наклонной камеры 47, на продольной оси которой закреплен шнек 48, перемещающий при вращении частицы пробы в накопительную камеру 49, где их захватывает проходящий через нее газовый поток.
Таким образом, рассматриваемый вариант приборного комплекса позволяет анализировать пробу в виде воздушной дисперсной пробы, что позволяет получить результатыза минимально возможное время, так как требуется только минимальная пробоподготовка, а также снизить пределы обнаружения.
Однако вместе с этим, у данного метода ввода воздушной порошкообразной пробы, имеются и недостатки:
- увеличивается влияние матричных элементов;
- существенно снижается воспроизводимость и точность анализа. Экспериментально подтверждено, что погрешность определения концентрации
элементов, рассчитанная по результатам анализа 10 стандартных образцов, не превышает 30%.
Вариант 3
Рассмотрим процесс анализа жидкой пробы, находящейся в кювете 15, которую в виде вторичного аэрозоля 36 (см. фиг. 5), образованного в смесительной камере 19, подают в СВЧ-плазмотрон 27 (см. фиг. 1). В данном варианте реализации предварительно открывают кран 6 подачи газа, через который газ от источника 1 начинает поступать, через регулятор давления 2, пневмолинию За и кран 6, пневмолинию 3д, соединенную с капельным выходом пробы из кюветы 15, патрубком 16 и кольцевой трубой 17. Под воздействием на жидкую пробу газа высокого давления в герметичных внутренних каналах 18, соединяющих трубу 17 с внутренней полостью смесительной камеры 19, образуется первичный аэрозоль, имеющий широкое распределение капель по размеру. Реализация дозирования жидкой пробы, а значит, и содержания первичного аэрозоля в смесительной камере 19 аналогична, описанному в варианте 1 (см. фиг. 8). Одновременно с подачей первичного аэрозоля во внутреннюю полость смесительной камеры 19 открывают кран 8 подачи газа, через который газ начинает поступать через пневмолинию 36, кран 8, трубку 24. Благодаря трубке 24, газ тангенциально поступает во внутреннюю полость смесительной камеры 19, закручиваясь и двигаясь по траектории 33 (см. фиг. 2) в пристеночной области камеры 19, одновременно поднимаясь вверх в сторону конического сужения смесительной камеры 19. По мере движения по смесительной камере 19, введенный газ интенсивно смешивается с первичным аэрозолем и транспортирует его в сторону конического сужения смесительной камеры 19. Под воздействием центробежной силы крупные капли первичного аэрозоля оседают на стенках камеры и под своим весом скатываются в нижнюю часть смесительной камеры 19, в результате чего на выходе конического сужения камеры 19 образуется вторичный аэрозоль 36, имеющий ограниченное распределение капель по размерам, который уже и поступает в СВЧ-плазмотрон 27. Удаление крупных капель аэрозоля 38 из нижней части смесительной камеры 19 происходит через проходное отверстие 39 конического крана 40, установленного в сливную трубу 25 (см. фиг. 7).
Таким образом, рассматриваемый вариант приборного комплекса позволяет анализировать пробу в виде вторичного аэрозоля, имеющего ограниченное распределения капель по размерам, что позволяет улучшить воспроизводимость и точность анализа, а также снизить влияние матричных элементов.
Однако вместе с этим, у данного метода ввода жидкой пробы, имеются и недостатки:
- повышаются пределы обнаружения;
- существенно увеличивается время пробоподготовки, включающее этап химического растворения пробы в кислотах.
Экспериментально подтверждено, что погрешность определения концентрации элементов, рассчитанная по результатам анализа 10 стандартных образцов, не превышает 2%.
Вариант 4
Рассмотрим процесс совместного анализа жидкой пробы, находящейся в кювете 15, и порошкообразной пробы, находящейся в кювете 20, которые в виде суспензии 37 (см. фиг. 6), образованной в смесительной камере 19, подают в СВЧ-плазмотрон 27 (см. фиг. 1). В данном варианте реализации первоначально открывают кран 8 подачи газа, а затем краны 6 и 7.
При открытии крана 8, газ начинает поступать через пневмолинию 36, кран 8, трубку 24. Благодаря трубке 24, газ тангенциально поступает во внутреннюю полость смесительной камеры 19, закручиваясь и двигаясь по траектории 33 (см. фиг. 2) в сторону конического сужения смесительной камеры 19. По мере вращения и движения вверх в около стенной области камеры 19, закрученные потоки газа, подхватывают потоки первичного аэрозоля, поступающего в смесительную камеру 19, аналогично, описанному в варианте 3, а также потоки воздушно дисперсной пробы, которая образуется при открывании крана 7, прохождению газа по пневмолинии 3е, соединенной с регулируемым дозатором порошка пробы из кюветы 20, патрубком 21 и кольцевой трубой 22. Под воздействием на порошкообразную пробу газа высокого давления в герметичных внутренних каналах 23, соединяющих трубу 22 с внутренней полостью смесительной камеры 19 и образуется воздушная дисперсная проба. Реализация дозирования порошкообразной пробы, а значит, и содержания воздушной дисперсной пробы в смесительной камере 19, аналогична, описанному в варианте 2 (см. фиг. 9). Таким образом, воздушная порошкообразная проба не только захватывается круговым восходящим потоком газа в пристеночной области смесительной камеры 19, но при этом она интенсивно смешивается с аэрозолем жидкой пробы. Под воздействием центробежной силы крупные капли первичного аэрозоля оседают на стенках камеры 19 и вместе с незахваченными крупными частицами воздушной дисперсной пробы, скатываются по стенкам в нижнюю часть смесительной камеры 19, в результате чего на выходе конического сужения образуется суспензия 37, которая уже и поступает в СВЧ-плазмотрон 27. Удаление крупных капель аэрозоля и незахваченных частиц порошкообразной пробы 38 из нижней части смесительной камеры 19 происходит через проходное отверстие 39 конического крана 40, установленного в сливную трубу 25 (см. фиг. 7).
Таким образом, данный вариант приборного комплекса позволяет анализировать пробу в виде суспензии, включающей анализируемую дисперсную пробу, растворитель или буферный раствор, в котором частицы пробы не растворяются, что позволяет синтезировать близкие по составу образцы сравнения, используя легкодоступные одноэлементные образцы сравнения, а также улучшить точность анализа.
Однако вместе с этим, у данного метода одновременного ввода жидкой и порошкообразной пробы, имеется и недостаток - увеличивается время анализа из-за более сложной пробоподготовки.
Экспериментально подтверждено, что погрешность определения концентрации элементов, рассчитанная по результатам анализа 10 стандартных образцов, не превышает 20%.
Разработанный способ определения содержания элементов и форм их присутствия в истертой порошкообразной пробе, растворенной смесями кислот пробе или мелкодисперсном аэрозоле, включающем анализируемую дисперсную пробу, растворитель или буферный раствор, в котором частицы пробы не растворяются и образуют суспензию, реализован на базе оптического спектрометра Гранд в модификации Гранд-СВЧ (производства ООО «ВМК-Оптоэлектроника», № 89108-23 в Государственном реестре средств измерений). Возбуждение атомов пробы происходит в азотной СВЧ-плазме тороидальной формы атмосферного давления, поддерживаемой в трехщелевой кварцевой горелке марки Torch Fixed SOP Standard 1.8mm 750-05, установленной в цилиндрический резонатор. Для регулировки газовых потоков использовались ротаметры LZM-6T, обеспечивающие диапазон регулировок от 0.1 до 10 л/мин. В качестве СВЧ-источника использовался магнетрон марки 2M246-03TAG. Для регистрации спектра излучения пробы в спектрометре используется сборка линеек фотодетекторов, входящей в состав блока многоканального детектора, позволяющая одновременно регистрировать спектр в диапазоне 190-770 нм с обратной линейной дисперсией 0,4 нм/мм (190-350 нм) и 1 нм/мм (350-770 нм), как в интегральном, так и сцинтилляционном режиме. Спектрометр позволяет проводить одновременное многоэлементное измерение в пробе в диапазоне содержаний от 10-7 до 100% с пределом допускаемого относительного среднеквадратичного отклонения выходного сигнала не более 5%, в том числе и при анализе трудновозбудимых элементов - W (вольфрам), As (мышьяк), Ti (титан) и др. Анализ проводился по градуировочным зависимостям, полученным при регистрации спектров комплекта стандартных образцов, содержащих искомые элементы с известным содержанием в диапазоне от 10 ppb (1×10-6 мас. %) до 10 ppm (1×10-3 мас. %). Математическая обработка спектров и построение градуировочной зависимости осуществлялись с помощью программы «Атом 3.3» (разработчик ООО «ВМК-Оптоэлектроника», свидетельство о государственной регистрации № 2018615174).
| название | год | авторы | номер документа |
|---|---|---|---|
| Способ определения содержания элементов и форм их присутствия в дисперсной пробе и её гранулометрического состава | 2019 |
|
RU2702854C1 |
| СПОСОБ ОДНОВРЕМЕННОГО ОПРЕДЕЛЕНИЯ РАСПРЕДЕЛЕНИЯ ЧАСТИЦ ПО МАССЕ В ДИСПЕРСНОЙ ПРОБЕ И КОНЦЕНТРАЦИИ ЭЛЕМЕНТОВ В ЧАСТИЦЕ ПРОБЫ | 2007 |
|
RU2357233C2 |
| СПОСОБ ОПРЕДЕЛЕНИЯ МИКРОПРИМЕСЕЙ МЕТАЛЛОВ В СМАЗОЧНЫХ МАСЛАХ, ТОПЛИВАХ И СПЕЦИАЛЬНЫХ ЖИДКОСТЯХ И УСТРОЙСТВО ДЛЯ ЕГО ОСУЩЕСТВЛЕНИЯ | 1996 |
|
RU2118815C1 |
| ПЛАЗМОХИМИЧЕСКИЙ СПОСОБ ПОЛУЧЕНИЯ МОДИФИЦИРОВАННОГО УЛЬТРАДИСПЕРСНОГО ПОРОШКА | 2012 |
|
RU2492027C1 |
| УСТАНОВКА И СПОСОБ ПОЛУЧЕНИЯ НАНОДИСПЕРСНЫХ ПОРОШКОВ В ПЛАЗМЕ СВЧ РАЗРЯДА | 2003 |
|
RU2252817C1 |
| СПОСОБ ОПРЕДЕЛЕНИЯ ХАРАКТЕРИСТИК МИКРОПРИМЕСЕЙ МЕТАЛЛОВ В СМАЗОЧНЫХ МАСЛАХ, ТОПЛИВАХ И СПЕЦИАЛЬНЫХ ЖИДКОСТЯХ | 1998 |
|
RU2182330C2 |
| СПОСОБ СПЕКТРАЛЬНОГО АНАЛИЗА | 2001 |
|
RU2226685C2 |
| СВЧ-ПЛАЗМОТРОН ЦИКЛОННОГО ТИПА | 1994 |
|
RU2082284C1 |
| ИСТОЧНИК ВОЗБУЖДЕНИЯ СПЕКТРОВ ПРИМЕСЕЙ В ГАЗАХ | 1991 |
|
RU2031401C1 |
| СПОСОБ И УСТАНОВКА ДЛЯ ПОЛУЧЕНИЯ НАНОПОРОШКОВ С ИСПОЛЬЗОВАНИЕМ ТРАНСФОРМАТОРНОГО ПЛАЗМОТРОНА | 2009 |
|
RU2406592C2 |
Изобретение относится к области атомно-эмиссионного спектрального анализа и может быть использовано для оперативного проведения диагностики двигателей внутреннего сгорания по содержанию металлов износа в смазочных материалах; оперативного проведения геохимических поисков, а также в материаловедческих исследованиях. Способ определения содержания элементов и форм их присутствия в пробе и её гранулометрического состава включает регулируемый ввод газовым потоком воздушной порошковой пробы в факел СВЧ-плазмы, регистрацию спектров комбинированной гибридной сборкой твердотельных фотодетекторов с регистрацией одного и того же спектрального диапазона разными типами фотодетекторов с одновременной регистрацией спектров в сцинтилляционном и интегральном режимах. В качестве дополнительно вводимой регулируемой пробы используют жидкую пробу, которую либо предварительно распыляют, а затем вводят газовым потоком в виде мелкодисперсного аэрозоля непосредственно в факел СВЧ-плазмы, либо сначала мелкодисперсный аэрозоль перемешивают в дополнительной смесительной камере вращающимся воздушным потоком, а полученный вторичный аэрозоль вводят в факел СВЧ-плазмы, либо к вторичному аэрозолю в смесительной камере дополнительно примешивают вращающимся воздушным потоком воздушную дисперсную пробу, а образовавшуюся суспензию вводят в факел СВЧ-плазмы. Техническим результатом является расширение функциональных возможностей способа, снижение погрешности измерений, повышение достоверности получаемых результатов анализа. 9 ил.
Способ определения содержания элементов и форм их присутствия в пробе и её гранулометрического состава, включающий регулируемый ввод газовым потоком воздушной порошковой пробы в факел СВЧ-плазмы, регистрацию спектров комбинированной гибридной сборкой твердотельных фотодетекторов с регистрацией одного и того же спектрального диапазона разными типами фотодетекторов с одновременной регистрацией спектров в сцинтилляционном и интегральном режимах, отличающийся тем, что в качестве дополнительно вводимой регулируемой пробы используют жидкую пробу, которую либо предварительно распыляют, а затем вводят газовым потоком в виде мелкодисперсного аэрозоля непосредственно в факел СВЧ-плазмы, либо сначала мелкодисперсный аэрозоль перемешивают в дополнительной смесительной камере вращающимся воздушным потоком, а полученный вторичный аэрозоль вводят в факел СВЧ-плазмы, либо к вторичному аэрозолю в смесительной камере дополнительно примешивают вращающимся воздушным потоком воздушную дисперсную пробу, а образовавшуюся суспензию вводят в факел СВЧ-плазмы.
| Способ определения содержания элементов и форм их присутствия в дисперсной пробе и её гранулометрического состава | 2019 |
|
RU2702854C1 |
| СПОСОБ ОДНОВРЕМЕННОГО ОПРЕДЕЛЕНИЯ РАСПРЕДЕЛЕНИЯ ЧАСТИЦ ПО МАССЕ В ДИСПЕРСНОЙ ПРОБЕ И КОНЦЕНТРАЦИИ ЭЛЕМЕНТОВ В ЧАСТИЦЕ ПРОБЫ | 2007 |
|
RU2357233C2 |
| СПОСОБ ОЦЕНКИ ТЕХНИЧЕСКОГО СОСТОЯНИЯ МАШИН И МЕХАНИЗМОВ ПО ПАРАМЕТРАМ ЧАСТИЦ ИЗНАШИВАНИЯ | 2015 |
|
RU2646533C2 |
| US 6429935 B1, 06.08.2002. | |||
Авторы
Даты
2025-04-21—Публикация
2024-11-18—Подача