ОБЛАСТЬ ТЕХНИКИ, К КОТОРОЙ ОТНОСИТСЯ ИЗОБРЕТЕНИЕ
Предлагаемое изобретение относится к оборудованию купе спальных пассажирских вагонов.
УРОВЕНЬ ТЕХНИКИ
Известно купе железнодорожного пассажирского вагона, содержащее стенки купе и размещенные в купе спальные полки, расположенные снизу и вверху, причем купе оснащено складной узкой лестницей для подъема на верхние полки и прикрепленной на стенке у входа в купе - патент RU 2281218 С1, опубл. 10.08.2006.
При таком размещении лестницы в купе вагона подниматься на верхние полки нужно, находясь сбоку от лестницы. Это неудобно, особенно для пожилых и тучных пассажиров.
Наиболее близким по технической сути является купе спального вагона, образованное вертикальными стенками и размещенными в купе вагона спальными полками, расположенными снизу и вверху, а также лестницей для подъема на верхнюю полку, причем лестница состоит из стоек с жестко закрепленными с ними ступеньками, которая верхними частями стоек крепится к нижней части подвесов изогнутой формы, а верхние части подвесов шарнирно соединены с опорами, жестко закрепленными на основании, которое размещено на цилиндрической оси с возможностью свободного продольного перемещения вдоль цилиндрической оси и поворота относительно нее, при этом цилиндрическая ось расположена горизонтально вдоль стенки купе, причем концы цилиндрической оси закреплены между кронштейнами, каждый из которых жестко прикреплен к стенке купе, кроме того, в одном крайнем нерабочем положении лестница свободно висит на осях шарниров, а в противоположном рабочем положении лестница, перемещенная вдоль цилиндрической оси, расположена наклонно с опиранием на пол купе, причем при нерабочем положении лестницы оси шарниров вместе с опорами, направленными вверх, смещены в сторону стенки относительно цилиндрической оси, при этом лестница снабжена фиксатором для удержания ее в нерабочем положении с целью предотвращения возможности колебания лестницы относительно оси шарнира или цилиндрической оси - авторское свидетельство SU 1661022, опубл. 07.07.91.
В известном купе лестница, используемая для подъема на верхнюю спальную полку, может перемещаться в нерабочее положение по цилиндрической оси на разные расстояния. Поэтому фиксатор лестницы в ее убранном/нерабочем состоянии сложно выполнить простым и надежным. В связи с этим в купе вагонов фиксатор лестницы на практике не используется. В результате свободно подвешенная лестница может совершать угловые перемещения относительно цилиндрической оси, при движении вагона постоянно раскачивается и бьется о стенки ниши, создавая значительный шум в купе и дискомфорт пассажирам, особенно в ночное время. Это и происходит при эксплуатации купейных вагонов, которые оборудованы такой лестницей:
(25.09.2019://web.arcmve.org/web/20200919155225/https://irecommend.ru/content/pustim-komfortaye-poezda-na-dalnie-rasstoyaiiiya-govorili-oni-moi-2dnya-zhizni-v-bomzh-kupe, 05.09.23:https://blitz.plus/shou-biznes/rossiyanin-pozhalovalsya-na-podvesnye-lestnicy-v-kupe-rzhd_id85293_a3949).
РАСКРЫТИЕ ИЗОБРЕТЕНИЯ
Задачей предлагаемого изобретения является улучшение комфорта поездки пассажиров в купе за счет устранения шума, создаваемого лестницей при нерабочем ее положении.
Техническим результатом, достигаемым в результате использования предлагаемого изобретения, является повышение комфорта поездки пассажиров за счет устранения колебаний шарнирно подвешенной в купе лестницы, которая при движении вагона соударяется со стенками ниши, в которую убирается лестница в ее нерабочем положении.
Купе спального вагона, образованное вертикальными стенками и размещенными в купе вагона спальными полками, расположенными снизу и вверху, а также лестницей для подъема на верхнюю полку, причем лестница состоит из стоек с жестко закрепленными с ними ступеньками, которая верхними частями стоек крепится к нижней части подвесов изогнутой формы, а верхние части подвесов шарнирно соединены с опорами, жестко закрепленными на основании, которое размещено на цилиндрической оси с возможностью свободного продольного перемещения вдоль цилиндрической оси и поворота относительно нее, при этом цилиндрическая ось расположена горизонтально вдоль стенки купе, причем концы цилиндрической оси закреплены между кронштейнами, каждый из которых жестко прикреплен к стенке купе, кроме того, в одном крайнем нерабочем положении лестница свободно висит на осях шарниров, а в противоположном рабочем положении лестница, перемещенная вдоль цилиндрической оси, расположена наклонно с опиранием на пол купе, причем при нерабочем положении лестницы оси шарниров вместе с опорами, направленными вверх, смещены в сторону стенки относительно цилиндрической оси, при этом лестница снабжена фиксатором для удержания ее в нерабочем положении с целью предотвращения возможности колебания лестницы относительно оси шарнира или цилиндрической оси, согласно предлагаемому изобретению, в качестве фиксатора используется выступ в виде бруска, прикрепленного к полу купе, который своей боковой поверхностью взаимодействует с лестницей в ее нерабочем положении для отклонения ее от положения равновесия, причем высота бруска превышает величину зазора между нижней поверхностью лестницы и полом купе в нерабочем положении лестницы, кроме того, брусок выполнен со скосом в виде наклона к стенке, у которой размещен брусок.
Кроме того:
- между бруском и полом купе расположена регулировочная прокладка;
- между бруском и стенкой расположена регулировочная прокладка;
-брусок выполнен с выступом, боковая поверхность которого взаимодействует с лестницей;
- часть цилиндрической оси расположена в нише, которая образована стенкой купе и дополнительной параллельной ей вертикальной стенкой и которая предназначена для перемещения в нее лестницы в нерабочее положение;
- между бруском и стенкой ниши расположена регулировочная прокладка;
- ширина бруска в направлении ширины ниши в зоне контакта его с низом лестницы, находящейся в нише в нерабочем положении и в положении равновесия, не превышает суммарную величину зазора между нижней частью лестницы и стенкой, на которой установлен брусок и на уровне взаимодействия бруска с лестницей, с одной стороны лестницы и зазора между нижней ступенькой и противоположной стенкой ниши по другую сторону лестницы.
ПЕРЕЧЕНЬ ЧЕРТЕЖЕЙ
На фиг. 1 показано купе спального вагона с лестницей в нерабочем положении; на фиг. 2 - лестница в рабочем положении; на фиг. 3 - расположение лестницы в нише в нерабочем положении в положении равновесия; на фиг. 4 - положение лестницы, отклоненной от положения равновесия бруском-фиксатором, закрепленным на полу ниши; на фиг. 5 - вид по стрелке Б фигуры 4 на низ лестницы в нерабочем положении; на фиг. 6 - варианты сечения бруска и фиксации им лестницы: а - отклонение лестницы вертикальным выступом бруска; б - отклонение лестницы наклонным выступом бруска; в - отклонение лестницы бруском с наклонной плоскостью; на фиг. 7 - положение низа лестницы перед взаимодействием с бруском; на фиг. 8 - положение низа лестницы при взаимодействии со скосом бруска; на фиг. 9 - положение низа лестницы, отклоненной бруском в нерабочем положении; на фиг. 10 - вид сверху на положение низа лестницы перед взаимодействием с бруском; на фиг. 11 - вид сверху на положение низа лестницы при взаимодействием со скосом бруска; на фиг. 12 - вид сверху на положение низа лестницы, отклоненной бруском в нерабочем положении.
ОСУЩЕСТВЛЕНИЕ ИЗОБРЕТЕНИЯ
ПРИМЕР ВЫПОЛНЕНИЯ
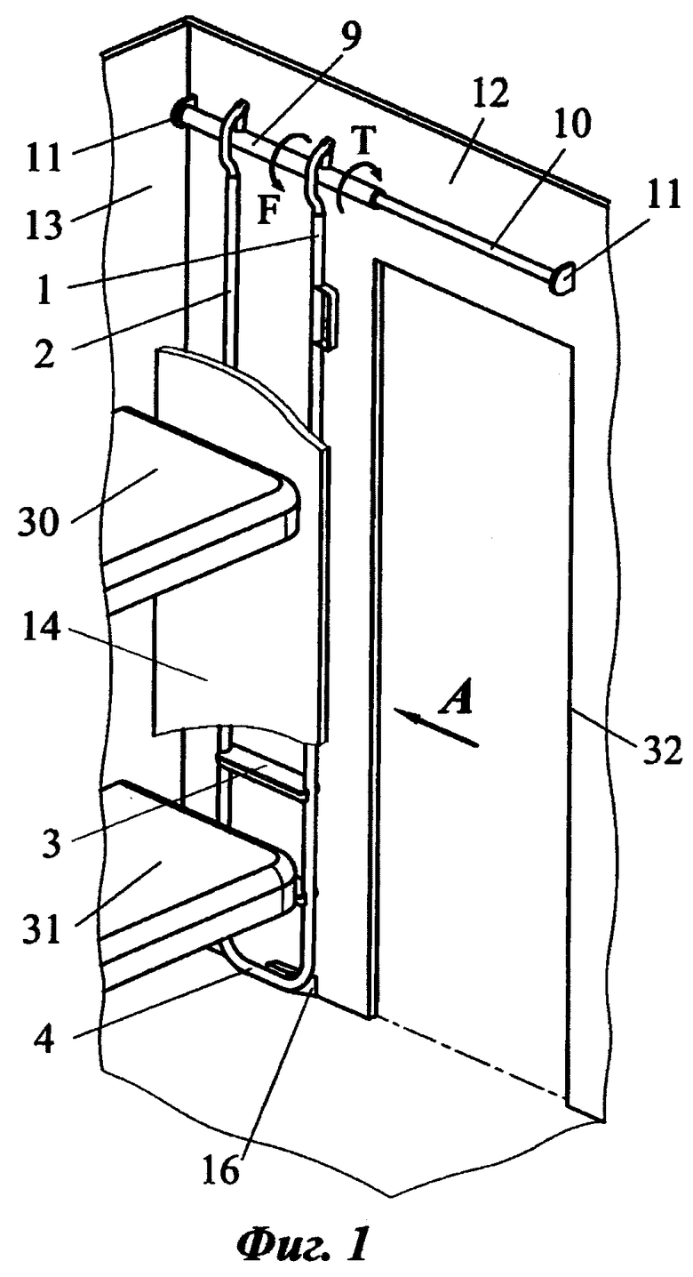
В каждом купе пассажирского спального вагона расположена лестница, состоящая из передней 1 и задней 2 стоек и ступенек 3 (фиг. 1, 2, далее по тексту - Лестница), жестко соединяющихся со стойками 1 и 2 сваркой или разъемными или неразъемными стандартными крепежными соединениями - винтами, саморезами, пр. Стойки могут быть выполнены раздельными (не показано) или в нижней части могут быть соединены перемычкой 4, которая соединяет между собой стойки 1, 2. Такое исполнение может быть выполнено при изготовлении стоек 1, 2 из труб путем их гибки, как показано на фиг. 1, 2. В этом случае между перемычкой 4 и стойками 1, 2 имеется плавный переход 5.
Верхняя часть каждой стойки прикреплена к подвесам 6, которые с помощью шарнирного соединения (далее по тексту - шарнир) 7 соединены с опорами 8 (фиг. 3). Опоры 8 жестко закреплены на основании 9, которое может свободно перемещаться вдоль цилиндрической оси 10 с возможностью поворота относительно нее - по стрелкам F и Т, показанным на фиг. 1.
Ось 10 расположена горизонтально и жестко прикреплена с помощью кронштейнов 11 к продольной стенке 12 и к перпендикулярной к ней перегородке 13, разделяющей соседние купе (фиг. 1, 2). Кронштейны 11 могут быть закреплены только на одной стенке 12.
Параллельно стенке 12 расположена вертикальная стенка 14, которая совместно со стеной 12, образует нишу 15 (фиг. 2), в которую утапливается Лестница, когда она находится в нерабочем положении. Задней стенкой ниши 15 является часть стенки 13, расположенной между стенками 12 и 14. В нише 15 находится часть цилиндрической оси 10, по которой перемещается в нерабочее положение (утапливается в нишу 15) основание 9 с шарнирно закрепленной на нем Лестницей. Далее по тексту термином «утопленная» обозначается полностью задвинутая в нишу 15 Лестница, находящаяся в нерабочем положении, как показано на фиг. 1, 3, 4.
Подвес 6 выполнен изогнутой формы, так, что при утопленном в нишу 15 нерабочем положении Лестницы ось шарнира 7 расположена со смещением «е» относительно оси 10 в горизонтальном направлении (фиг. 3). За счет этого смещения «е» после перевода Лестницы в нерабочее положение (фиг. 1, 3) она за счет конфигурации изогнутых подвесов 6 и собственного веса стремится повернуть опоры 8 до упора подвесов 6 в основание 9 (фиг. 3). Между одним или двумя подвесами 6 и основанием 9 может быть расположена упругая прокладка (не показано), например, из полимера или резины.
На полу ниши неподвижно закреплен продольный элемент 16, который представляет собой брусок (преимущественно параллелепипед, далее по тексту - брусок).
Брусок 16 выполняет функцию фиксатора Лестницы, отклоняя ее от положения равновесия и фиксируя таким образом в нерабочем положении, не позволяя при движении вагона подвешенной Лестнице совершать свободные колебания относительно оси шарнира 7 или цилиндрической оси 10. Брусок 16, отклоняющий Лестницу, может взаимодействовать при этом с любым ее элементом, находящимся снизу, например, с перемычкой 4 и переходом 5 (фиг. 7-9) или стойками, если они выполнены раздельными или без перехода 5 (не показано).
Брусок может быть выполнен из любого материала дерева, пластика, пр., по любой технологии - строганием, литьем, 3D-печатью и др.
Крепление бруска 16 к полу ниши может быть выполнено по-разному. Брусок 16 может быть прикреплен к полу саморезами 17, проходящими через сам брусок (фиг. 7, 10). Либо к бруску 16 крепятся, например, саморезами 18 уголки 19, которые саморезами 20 закрепляют брусок 16 на полу ниши (фиг. 9, 12). Крепление бруска 16 может быть комбинированным, например, одним саморезом 17 с одной стороны бруска и саморезами 18-20 - с другой стороны (фиг. 8, 11).
Сечение бруска на большей части его длины может быть различным - в виде прямоугольника (фиг. 4) либо более сложной формы - с выемкой в бруске (выборкой) с образованием выступа требуемой конфигурации. Брусок может иметь прямой выступ 21 (фиг. 6, а), наклонный 22 (фиг. 6, б), иметь сечение треугольника с наклонной поверхностью 23 (фиг. 6, в) или любой другой формы.
Выступы 21, 22 возвышаются над верхней горизонтальной поверхностью (фиг. 6, б) или наклонной (фиг. 6, а) поверхностью бруска и предназначены для взаимодействия с нижней частью лестницы - для отклонения ее от положения равновесия, показанного на фиг. 3. Высота выступов 21, 22 значительно превышает зазор «z» (фиг. 3) между полом ниши и низом Лестницы, как минимум, на несколько сантиметров, например, на 3-8 см. Выступы могут быть образованы путем выборки соответствующей формы в бруске-параллелепипеде, например, строганием, фрезерованием, на циркулярной пиле и пр.
Задвинутая в нерабочее положение Лестница (фиг. 1) отклоняется от положения равновесия, взаимодействуя с боковой поверхностью бруска 16. Это может быть вертикальная поверхность 24 самого бруска (фиг. 4, 9, 12) или выступа 21 (фиг. 6, а), или наклонная поверхность 22 (фиг. 6, б), или 23 (фиг. 6, в). В результате Лестница фиксируется в отклоненном положении и лишается возможности совершать свободные колебания относительно оси ее подвешивания и положения равновесия.
При необходимости для регулировки высоты бруска 16 могут быть использованы прокладки 25 (фиг. 7) разной толщины, одна или несколько. Прокладки 26 могут быть применены и для регулировки величины отклонения Лестницы - фиг. 6, а. В этом случае использование прокладок 26, одной или нескольких, позволяет регулировать отклонение лестницы на максимальное положение - вплоть до упора к противоположной стенке 14 нижней ступеньки лестницы, которая ограничивает (определяет) перемещение низа Лестницы. Это позволит надежно зафиксировать Лестницу в неподвижном положении с полным устранением возможности ее свободных колебаний в нише 15 относительно подвешивания ее в верхней части. Для более точной регулировки и отклонения Лестницы на максимальное расстояние, которое позволяет ширина ниши в каждом конкретном купе, прокладки 27 могут иметь клиновидную форму (фиг. 12). При этом контактирующая с клиновидной прокладкой 27 поверхность бруска 16 может иметь такой же наклон, как и у прокладки 27, как на фиг. 12, или контактирующая поверхность может быть параллельной наружной поверхности бруска 24, которая взаимодействует с отклоняемой Лестницей.
Прокладки при монтаже бруска могут крепиться к бруску, стенке или к полу с помощью клея, двухстороннего скотча или саморезами. Прокладки могут быть плоскими или клиновидными (не показано).
Прокладки могут повторять форму бруска 16 - его прилегающей поверхности, быть больше бруска (фиг. 9, 12, поз. 27) или меньше (фиг. 6, а, поз. 26), в том числе - значительно меньше (не показано). Например, прокладки требуемой толщины могут быть локальными в виде плоских геометрических фигур (в форме квадратов, прямоугольников и пр.), шайб (деревянных, металлических, пластиковых, например, из труб), полос, типа деревянного штапика или раскладки и любой требуемой формы. Например, раскладка или штапик могут располагаться по концам бруска в перпендикулярном его длине направлении. Назначение прокладок в этом случае - отодвинуть (или придвинуть) брусок одной и той же ширины на требуемого расстояние от стенки в нишах разной ширины. Поскольку нагрузки на прокладки действуют небольшие, то нужно обеспечить только удержание их в нужном положении на стенке или бруске. Это может быть обеспечено с помощью клея или двухстороннего скотча после или до примерки расположения бруска в нише. После чего производится окончательное закрепление бруска.
Для улучшения условий задвигания в нишу 15 Лестницы и взаимодействия ее с бруском 16 в нем выполняют скос 28, например, вертикальный, как на фиг. 5, 7-12 или наклонный (не показано). Такой скос хорошо взаимодействует с низом Лестницы, выполненной без закругления 5 или с раздельными стойками (не показано). Для улучшения взаимодействия с закруглением 5 брусок 16 может быть выполнен с дополнительным наклонным скосом 29 (фиг. 4, 7-12).
Скосы, направляющие задвигаемую в нишу 15 Лестницу, могут быть выполнены также на выступах 21, 22 и на наклонной поверхности 23 (не показано).
При необходимости требуемые ребра бруска 16 могут быть скруглены или выполнены с фаской (не показано). При использовании клиновидной прокладки 27 (фиг. 12) обеспечивается плавная регулировка величины отклонения Лестницы - вплоть до прижима ее в конце ниши к стенке 14, противоположной стенке 12, со стороны которой установлен брусок 16. Для этого сдвигают прокладку 27 и брусок 16 вдоль (по их длине) друг относительно друга. Это приводит к плавному отклонению поверхности 24, взаимодействующей с Лестницей, и возможности плавного отклонения ее на нужную величину в нишах разной ширины в разных купе.
Ширина бруска 16, воздействующего на отклоняемую им Лестницу, не должна превышать суммарную величину зазора между стойкой (или другим нижним элементом Лестницы, например, горизонтальной перемычкой 4 между стойками 1 и 2 при выполнении перемычки 4 без плавного перехода 5, не показано) и стенкой со стороны бруска на уровне взаимодействия бруска с элементом лестницы (с одной стороны шарнирно подвешенной Лестницы) и зазора между нижней ступенькой отклоненной бруском Лестницы и противоположной стенкой ниши (по другую сторону Лестницы). Эти зазоры могут измеряться как в свободно подвешенной Лестнице, так и в отклоненном бруском ее положении.
Уровень взаимодействия бруска с лестницей зависит от формы (поперечного сечения) бруска. Этот уровень может быть выше при взаимодействии с вертикальной поверхностью 24 (фиг. 4) или выступа 21 (фиг. 6, а), тем более что отклоняемая Лестница имеет наклон, либо ниже (фиг. 6, б, в) - при наклонной поверхности 22 или 23 (фиг. 6, б или в).
Во всех случаях ширину бруска 16 и прокладок 26 (фиг. 6, а), если они используются, следует выбирать максимально возможной суммарной ширины для наибольшего возможного отклонения Лестницы от положения равновесия и устранения возможности выполнения ею свободных колебаний - вплоть до поджатая Лестницы ее нижней ступенькой к стенке 14, противоположной стенке 12, у которой размещен брусок 16, либо с образованием минимального зазора величиной 1-3 мм между стенкой 14 и нижней ступенькой - для облегчения извлечения Лестницы из нерабочего утопленного положения.
Брусок 16 может быть установлен со стороны любой стенки ниши 15 - в зависимости от конкретного состояния ниши и Лестницы каждого купе. При этом брусок 16 может воздействовать на лестницу в противоположном направлении по сравнению с показанным на фиг. 4-12 (не показано).
В рабочем положении Лестница (фиг. 2) используется для комфортного подъема на верхнюю полку 30. Для обеспечения прохода в купе Лестница задвигается в нишу 15, обеспечивая при этом свободное использование нижних полок 31 и освобождая дверной проем 32 (фиг. 1, 2, дверь купе не показана).
ПРИМЕР ИСПОЛЬЗОВАНИЯ
Предлагаемое купе с лестницей для подъема на верхние спальные полки используется следующим образом.
При отсутствии необходимости подъема на верхние спальные полки 24 Лестница в нерабочем положении утоплена в нишу 15 и располагается в крайнем левом положении, как показано на фиг. 1. Для подъема на верхние полки 30 Лестницу выдвигают из ниши 15, отклоняют в сторону от дверного проема 31 и устанавливают в положение, показанное на фиг. 2, располагая перемычку 4 на полу купе. В процессе отклонения Лестницы основание 9 с опорами 8 и шарнирно соединенными с ними подвесами 6 поворачиваются по стрелке F.
Чтобы освободить проем 31 и проход в купе, Лестницу поднимают по стрелке В (фиг. 2), поворачивая по стрелке Т подвесами 6 опоры 8 с основанием 9, и придвигают к стенке 12, устанавливая Лестницу в вертикальное положение параллельно стенкам 12 и 14 ниши. После этого Лестницу перемещают в нерабочее положение в нишу 15 до ее конца, передвигая вдоль цилиндрической оси 10. Для предотвращения после этого колебаний Лестницы относительно цилиндрической оси 10 или шарнира 7 предназначен брусок-фиксатор 16, который отклоняет ее от положения равновесия.
Брусок-фиксатор 16 должен быть продолговатым, так как Лестница пассажирами может быть задвинута в нишу 15 на разное расстояние. Поэтому брусок должен быть выдвинут в сторону из ниши для отклонения Лестницы, задвинутой в нишу 15 как полностью, так и не до конца.
Схема взаимодействия Лестницы с бруском 16 при утапливании ее в нишу 15 в нерабочее положение (фиг. 1) и выдвигании ее обратно из ниши в рабочее положение (фиг. 2) показана на фиг. 7-12.
При перемещении Лестницы в нишу 15 в направлении стрелок, показанных на фиг. 7, 10 нижняя ее часть перемычкой 4 или закруглением 5 (либо стойкой 2 и/или перемычкой 4 без закругления, в зависимости от исполнения лестницы, не показано) взаимодействует со скосом 28 и начинает отклоняться в сторону от оси шарнира 7 и/или цилиндрической оси 10, т.е., от стенки 12, у которой размещен брусок 16. При полном утапливании Лестницы в нерабочее положение она отклоняется на максимальную величину боковой поверхностью 24 бруска (фиг. 1, 4) или поверхностью выступов 21 (фиг. 6, а), 22 (фиг. 6, б) либо наклонной поверхностью 23 (фиг. 6, в).
В настоящее время при движении вагона Лестница постоянно раскачивается, соударяясь со стенками ниши и создавая значительный шум. Происходит это из-за того, что в купейных вагонах, оборудованных Лестницей рассматриваемой конструкции, отсутствуют устройства фиксации ее в нерабочем положении. Предлагаемые фиксаторы лестницы в ее нерабочем положении препятствуют свободным колебаниям подвешенной в верхней части лестницы за счет блокировки в неподвижном положении. Это производится за счет отклонения из положения равновесия или блокировке в нише Лестницы боковыми поверхностями 21-24 бруска (фиг. 4-6). Это позволяет устранить раскачивание лестницы при движении вагона, и, как следствие - устранить постоянные удары лестницы по стенкам ниши.
Использование предлагаемого технического решения позволит повысить комфорт поездки пассажиров в купе за счет устранения с минимальными затратами колебания и стука Лестницы при движении вагона.
| название | год | авторы | номер документа |
|---|---|---|---|
| КУПЕ ПАССАЖИРСКОГО ВАГОНА | 2024 |
|
RU2840813C1 |
| СКЛАДНАЯ ЛЕСТНИЦА КУПЕЙНОГО ВАГОНА | 1999 |
|
RU2166601C1 |
| Лестница для купе пассажирского вагона | 1984 |
|
SU1172796A1 |
| СТОЛИК ЖЕЛЕЗНОДОРОЖНОГО ВАГОНА | 1991 |
|
RU2025349C1 |
| СКЛАДНАЯ ЛЕСТНИЦА КУПЕ ЖЕЛЕЗНОДОРОЖНОГО ВАГОНА (ВАРИАНТЫ) | 2005 |
|
RU2281218C1 |
| Купе вагона | 1989 |
|
SU1676891A1 |
| УСТРОЙСТВО ДЛЯ ОТКИДЫВАНИЯ ПОЛОК В ТРАНСПОРТНЫХ СРЕДСТВАХ | 1996 |
|
RU2174927C2 |
| СПАЛЬНАЯ ПОЛКА ПАССАЖИРСКОГО ВАГОНА | 2006 |
|
RU2328393C1 |
| Складная лестница купе железнодорожного вагона | 1989 |
|
SU1722920A1 |
| Выдвижная лестница в купе пассажирского вагона | 1982 |
|
SU1017559A1 |
Изобретение относится к железнодорожному транспорту, а именно к устройству купе пассажирских вагонов. Купе пассажирского вагона содержит спальные полки, расположенные снизу и вверху, и лестницу для подъема на верхнюю полку, состоящую из стоек (1) с жестко закрепленными ступеньками (3). Лестница стойками крепится к нижней части подвесов, верхние части которых шарнирно соединены с опорами, жестко закрепленными на основании (9), размещенном на цилиндрической оси (10) с возможностью свободного продольного перемещения вдоль и поворота относительно нее. В одном крайнем нерабочем положении лестница свободно висит на осях шарниров, а в рабочем положении - перемещена вдоль цилиндрической оси и расположена наклонно с опиранием на пол купе. Лестница снабжена фиксатором для удержания ее в нерабочем положении с возможностью предотвращения колебания лестницы относительно оси шарнира и цилиндрической оси. Фиксатором является выступ в виде бруска (16), прикрепленного к полу купе, который своей боковой поверхностью взаимодействует с лестницей в ее нерабочем положении для отклонения ее от положения равновесия. Брусок выполнен со скосом. Изобретение устраняет раскачивания лестницы и шум во время движения вагона от соударения лестницы со стенками ниши и повышает комфортность. 6 з.п. ф-лы, 12 ил.
1. Купе спального вагона, образованное вертикальными стенками и размещенными в купе вагона спальными полками, расположенными снизу и вверху, а также лестницей для подъема на верхнюю полку, причем лестница состоит из стоек с жестко закрепленными с ними ступеньками, которая верхними частями стоек крепится к нижней части подвесов изогнутой формы, а верхние части подвесов шарнирно соединены с опорами, жестко закрепленными на основании, которое размещено на цилиндрической оси с возможностью свободного продольного перемещения вдоль цилиндрической оси и поворота относительно нее, при этом цилиндрическая ось расположена горизонтально вдоль стенки купе, причем концы цилиндрической оси закреплены между кронштейнами, каждый из которых жестко прикреплен к стенке купе, кроме того, в одном крайнем нерабочем положении лестница свободно висит на осях шарниров, а в противоположном рабочем положении лестница, перемещенная вдоль цилиндрической оси, расположена наклонно с опиранием на пол купе, причем при нерабочем положении лестницы оси шарниров вместе с опорами, направленными вверх, смещены в сторону стенки относительно цилиндрической оси, при этом лестница снабжена фиксатором для удержания ее в нерабочем положении с целью предотвращения возможности колебания лестницы относительно оси шарнира или цилиндрической оси, отличающееся тем, что в качестве фиксатора используется выступ в виде бруска, прикрепленного к полу купе, который своей боковой поверхностью взаимодействует с лестницей в ее нерабочем положении для отклонения ее от положения равновесия, причем высота бруска превышает величину зазора между нижней поверхностью лестницы и полом купе в нерабочем положении лестницы, кроме того, брусок выполнен со скосом в виде наклона к стенке, у которой размещен брусок.
2. Купе спального вагона по п. 1, отличающееся тем, что между бруском и полом купе расположена регулировочная прокладка.
3. Купе спального вагона по п. 1, отличающееся тем, что между бруском и стенкой расположена регулировочная прокладка.
4. Купе спального вагона по п. 1, отличающееся тем, что брусок выполнен с выступом, боковая поверхность которого взаимодействует с лестницей.
5. Купе спального вагона по п. 1, отличающееся тем, что часть цилиндрической оси расположена в нише, которая образована стенкой купе и дополнительной параллельной ей вертикальной стенкой и которая предназначена для перемещения в нее лестницы в нерабочее положение.
6. Купе спального вагона по п. 1, 5, отличающееся тем, что между бруском и стенкой ниши расположена регулировочная прокладка.
7. Купе спального вагона по п. 1, 5, отличающееся тем, что ширина бруска в направлении ширины ниши в зоне контакта его с низом лестницы, находящейся в нише в нерабочем положении и в положении равновесия, не превышает суммарную величину зазора между нижней частью лестницы и стенкой, на которой установлен брусок и на уровне взаимодействия бруска с лестницей, с одной стороны лестницы и зазора между нижней ступенькой и противоположной стенкой ниши по другую сторону лестницы.
| Лестница | 1988 |
|
SU1661022A1 |
| СПОСОБ ЗАКРЕПЛЕНИЯ ПЕТЕЛЬ В КОНЕЧНОМ РЯДУ БЕСКЕТТЛЕВОЧНОГО МЫСКА ПЛОСКОВЯЗАНОГО, НАПРИМЕР, ЧУЛКА | 1958 |
|
SU121213A1 |
| СКЛАДНАЯ ЛЕСТНИЦА КУПЕ ЖЕЛЕЗНОДОРОЖНОГО ВАГОНА (ВАРИАНТЫ) | 2005 |
|
RU2281218C1 |
| CN 112443267 A, 05.03.2021 | |||
| WO 2002066777 A1, 29.08.2002. | |||
Авторы
Даты
2025-05-28—Публикация
2024-06-21—Подача