(54) МИКРОПРОГРАММНОЕ УСТРОЙСТВО УПРАВЛЕНИЯ
выходы знака адресного смещепяя которого соединены соответствпннр с первым и вторым входами блока эпементов. 2И-ИЛИ-НЕ, выход которого соединен со вторым входом блока элементов 2И-ИЛИ, третий вход которого является входом устройства, четвер.тый, пятый и шестой входыблока элементов ЗИ-ИЛИ, четвертый и пятый входы блока элементов 2И-ИЛИ, третий и четвертый входы блока элементов 2И-ИЛИ-НЕ, вторые входы первого и второго элементов И соединены с соответствуюсцим выходом дешифратора микрокоманд. Кроме того, блок распаковки команд содержит регистры нулевой и единичной масок, элементы И,ИЛИ, причем первый вход блока распаковки команд соединен с первым входом элемента И, второй вход которого подключен к выходу регистра нулевой маски, а- выход связан с первым входом элемента ИЛИ, выход которого соединен с выходом блока распаковки команд, а второй вход - с выходом регистра единичной маски, информационный вход которого связан с информационным входом регистра нулевой маски и является вторым входом блока распаковки команд.
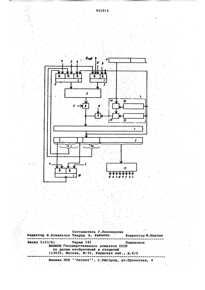
На чертеже приведена функциональная схема устройства.
Схема содержит блок 1 пгшяти, регистр 2 микрокоманд/ накапливающий сумматор 3, регистр 4 команд, блоки элементов 2И-ИЛИ и ЗИ-ИЛИ 5 и б соответственно блок 7 распаковки коман первый и второй элементы И 8 и 9 соответственно, блок 10 элементов 2И-ИЛИ-НЕ, дешифратор 11 микрокоманд Блок 7 распаковки команд состоит из регистров 12 и 13 нулевой и единичной маски соответственно, элементов И 14 и ИЛИ 15.
Устройство работает следующим образом.i
В начальном состоянии перед выполнением следующей микропрограммы в регистр 4 вводится соответствующая ей команда, в регистр 12 нулевой маски йэ блока 1 памяти загружается информация, с помощью которой в регистре 4 команд должен быть выделен операционный код, который может включать в свой состав код формата, код операции/ различные признаки модификации. того, из блока 1 памяти загружается регистр 13 единичной маски, с помощью которого в oneргщионный код, считываека1й с регистра 4 команд, вводятся адресные константы.
Выполнение микропрограмм начинается q формирования iiutpeca ячейки в блоке 1 памяти, в которой содержится адрес первой микрокоманды в исполияёмой микропрограмме. С этой целью разряды регистра 4 команд7 замаскированные с помсхцью элемента
и 14 содержимым регистра 12 нулевой маски, заменяются на элементе ИЛИ 15 на адресные константы,поступающие с регистра 13 единичной маски. В результате на выходе элемента И 9 оказываетсясформированным адрес ячейки, в которой хранится начальный адрес микропрограммы, состоящий из операционного кода, взятого непосред ственно из команды, и адресной конс танты. После перехода на начало микрэпрогракаса в процессе ее выполнения в ней могут осуществляться переходы трех видов: естественный, связанный с увеличением содержимого накапливающего сумматора на +1, безусловный и условный.
Рассмотрим выполнение двух последних .
При безусловном переходе адрес считывается непосредственно с выхода блока 1 памяти, откуда он через бло.ки 5 и 6 элементов 2И-ИЛИ и ЗИ-ИЛИ по управляющему сигналу в вводится в накапливающий сумматор 3, с выхода которого через элемент И 8 по сигнал с поступает в блок 1 памяти. Содержимое выбранной ячейки записывается в регистр 2 микрокоманд. Так как элемент И 9 по сигналу 61 закрыт, то информация с выхода элемента И 8 не поступает на выход блока распаковки команд.
f
При выполнении условного перехода либо осуществляется естественный переход, в котором содержимое накапливающего сумматора 3 увеличивается на единицу, либо производится переход по адресу А1 или А2. В последнем случае адреса А1 или А2 с регистра 2 микрокоманд через блок 6 элементов ЗИ-ИЛИ по управляющему сигналу е или f поступает в младшие разряды накаплирающего сумматора 3, в старшие р.азряды которого с выхода блока 5 эл(вментов 2И-ИЛИ заносится постоянный код 0000 или 1111, в зависимости от знака адресного смещения, который формируется на первом или третьем выходах регистра 2 микрокоманд« Прибавление постоянного кода в старшие разряды адреса вызвано тем, что для выполнения перехода на +16 адресов относительно текущего адреса в случае положительного смещения достаточно к содержимому сумматора 3 прибавить А1 (А2), а при отрицательном - необходимо дополиительно из содержимого на сумматоре 3 Вычесть 16.
Сформированный адрес с выхода накапливгикяцего сумматора 3, через .элемент И 8 по сигналу с поступает на вход блока 1 памяти. Управление блоками элементов 2И-ЙЛИ-НЕ, 2И-ИЛИ и ЗН-Ида осуществляется дешифратором 11 Микрокоманд.
Формирование начального адреса микропрограммы путем маскирований, выполняемых в блоке распаковки команд, позволяет размещать начальные адреса микрокоманд в произвольной области памяти. Кроме того, положение и длина операционных полей в командах мосут произвольным путем меняться. При этом аппаратурной перенастройки производить не надо, а только требуется записать в блок памяти микропрограмму поиска и выделения .этих полей. В то же время нгшичие динамически изменяющейся точки отсчетов при формировании адресов переходов, обусловленное использованиг ем в качестве адресного регистра накапливающего сумматора, позволяет осуществлять связку соседних зон S блоке памяти без использования дополнительных микрокоманд безусловного перехода.
Указанное расширение функционгшьных возможностей позволяет просто программировать реализацию устройством различных систем команд, а также .уменьшить числб микрокоманд в микропрограммах.
Формула изобретения
1. Микропрограммное устройство управления, содержащее блок памяти, выход которого соединен с информационным входом регистра микрокома Hip, информационный выход которого соединен с входом дешифратора микрокоманд регистр команд, блоки элементов и ЗИ-ИЛИ, отличающее с я тем, что, с целью увеличения функциональных возможностей за счет реализации микропрограммного исполнения команд с произвольной структурой, оно содержит накапливаю11(ий сумматор,, блок распаковки команд, блок элементов 2И-ИЛИ-НЕ, элементы И, причем выходы блоков элементов 2И-ИЛ и ЗИ-ИЛИ соединены соответственно с первым и вторым входами накапливающего сумматора, выход которого соединен с первым входом первого элемента И, выход которого соединён
с адресным входом блока памяти и с выходом второго элемента И, первый вход которого соединен с выходом блока распаковки команд, первый вход которого .соединен с выходом регистра команд второй вход блока распаковки команд соединен с выходом блока памяти и с первыми входами блоков элементов 2И-ИЛИ и ЗИ-ИЛИ, второй и третий входы последнего соединены соответственно с первым и вторым адрестали выходами регистра микрокоманд, первый и второй выходы знака адресного смещения которого соединены соответственно с первым и вторым входами, блока элементов 2И-ИЛИ-НЕ, выход которого соединен со вторым входом блока элементов 2И-ИЛИ,третий вход которого является входом устройства, четвертый, пятый и шестой входы блока элементов ЗИ-ИЛИ, четвертый и пятый входы блока элементов 2И-ИЛИ, третий и четвертый входы блока элементов 2И-ИЛИ-НЕ, вторые входы первого и второго элементов И соединены с соответствующим выходом дешифратора микрокоманд.
2. Устройство nbrii 1, отличающееся тем, что блок распаковки команд содержит регистры нулевой и единичной, масок, элементы И, ИЛИ, причем первый вход блока распаковки команд соединен с первым входом элемента И, второй вход которого подключен к выходу регистра нулевой маски, а выход элемента И соединен с первым входом элемента ИЛИ, выход которого соединен с выходом блока распаковки команд, а второй вход - с выходом регистра единичной маски, информационный вход которого соединен с информационным входом регистра нулевой маски и является вторым входом блока распаковки команд.
Источники информации, принятые во внимание при экспертизе
1.Авторское свидетельство СССР 387366, кл. G 06 F 15/16, 1972.
2.Авторское свидетельство СССР 342380, кл. G 06 Т 9/00, 1968
(прототип),


| название | год | авторы | номер документа | 
|---|---|---|---|
| Устройство управления микропрограм-МНыМи пЕРЕХОдАМи | 1979 | 
 | SU813428A1 | 
| Вероятностная вычислительная машина | 1986 | 
 | SU1455344A1 | 
| Процессор программируемого контроллера | 1985 | 
 | SU1406595A1 | 
| Микропрограммное устройство управления | 1983 | 
 | SU1134935A1 | 
| Процессор программируемого контроллера | 1988 | 
 | SU1550515A2 | 
| Устройство выборки команд процессора | 1986 | 
 | SU1410028A1 | 
| Перестраиваемый микропрограммный процессор | 1981 | 
 | SU983713A1 | 
| Микропрограммное устройство управления | 1983 | 
 | SU1115054A1 | 
| Процессор | 1985 | 
 | SU1280378A1 | 
| Микропрограммный процессор | 1974 | 
 | SU535567A1 | 
 
		
         
         
             
            
               
            
Авторы
Даты
1981-06-30—Публикация
1979-07-27—Подача