Область техники
Изобретение относится к области машиностроения, а именно к съемным строгальным устройствам металлорежущих станков и может быть использовано для нарезания винтовых канавок на внутренней поверхности детали.
Уровень техники
Известно изобретение SU 887084 А1, «Устройство для размерно-чистовой обработки пазов долблением», МПК B23D 13/00, содержащее державку, на которой при помощи оси подвижно устанавливается держатель режущей пластины, закрепленной планкой и винтами. Для ограничения поворота держателя служат упоры, а для возврата его в исходное положение после рабочего хода - фиксатор, поджимаемый пружиной, усилие которой регулируется винтом.
Недостатком указанного технического решения является то, что в конструкции устройства для размерно-чистовой обработки пазов долблением отсутствует копир, что снижает точность нарезания и обработки пазов, а также данным устройством невозможно нарезать или провести чистовую обработку винтовой канавки на внутренней поверхности детали, отсутствует возможность регулировки положения резца в держателе, в устройстве для размерно-чистовой обработки пазов долблением нет механизма фиксации детали, подлежащей обработке. (SU 887084 А1, http://new.fips.ru).
Известно изобретение SU 606690 А1, «Устройство для долбления», МПК B23D 11/00, содержащее оправку, закрепленную в шпинделе вертикально-фрезерного станка, втулку, соединенную с оправкой при помощи штифта, входящего в замкнутую винтовую канавку с неравномерным углом подъема винтовой линии. Резцедержатель установленный в пазу втулки на оси. В гнезде резцедержателя при помощи винта установлена пружина сжатия. Ролик установлен на резцедержателе при помощи оси и постоянно прижат к эксцентрично расположенному подшипнику. Шпилька, установленная во втулке, входит в отверстие корпуса, закрепленного на нижнем конце шпиндельной бабки болтами. Резец закреплен в резцедержателе болтами.
Недостатком указанного технического решения является то, что данное устройство для долбления не позволяет нарезать винтовую канавку на внутренней поверхности детали, в конструкции устройства для долбления отсутствует копир, что снижает точность нарезания паза, нет возможности производить настройку положения резца в резцедержателе, в устройстве для долбления отсутствует механизм фиксации детали, подлежащей обработке. (SU 606690 А1, http://new.fips.ru).
Из известных технических решений близким по назначению и технической сущности к заявленному объекту является изобретение SU 446366 А1, «Устройство для долбления», МПК B23D 7/00, B23D 5/04, содержащее круглый резец, имеющий одну или две параллельные лыски, державку, сопряженную с ползуном универсального долбежного станка, плоский копир, копирный ролик, толкатель, крышку, возвратную пружину, рейку, резцедержатель, втулку резцедержателя, шестерню. Державка содержит полость, в которой перемещается плоский копир от копирного ролика, закрепленного неподвижно на толкателе. Неподвижным упором для толкателя служит плоскость стола станка или деталь крепежного приспособления. Крышка крепится к корпусу державки крепежными шпильками и гайками. В ней, кроме толкателя, расположена возвратная пружина. Круглый резец находится в резцедержателе, прикрепляемом к державке шпильками и гайками. На квадратном хвостовике втулки резцедержателя расположена шестерня, находящаяся в зацеплении с рейкой. При перемещении плоского копира в поперечном направлении происходит смещение связанной с ним при помощи шпоночного соединения рейки.
Недостатком указанного технического решения является то, что устройство для долбления не имеет возможности нарезать винтовую канавку на внутренней поверхности детали, плоский копир данного устройства предназначен для поворота круглого резца вокруг своей оси тем самым увеличивая площадь его контакта с поверхностью детали, вследствие круглый резец подвержен большому износу, а также плоский копир не позволяет производить нарезку паза на поверхности детали по заданному профилю, отсутствует возможность регулировки положения круглого резца в резцедержателе, в устройстве для долбления нет механизма фиксации детали, подлежащей обработке. (SU 446366 А1, http://new.fips.ru).
Сущность изобретения
Технической задачей для решения вышеописанных недостатков является разработка устройства для нарезания винтовых канавок на внутренней поверхности детали имеющего конструкцию, способствующую данному устройству работать на долбежных станках разных моделей, уменьшающую трудоемкость транспортировки устройства, а также проведения его технического обслуживания и ремонта, позволяющую повысить точность нарезания винтовой канавки, допускающую регулировку положения копира относительно резцедержателя и резца в резцедержателе, а также надежную фиксацию детали, подлежащей обработке, в обечайке устройства и конструктивную возможность быстрой замены одной обечайки на другую, соответствующую размеру детали, подлежащей обработке.
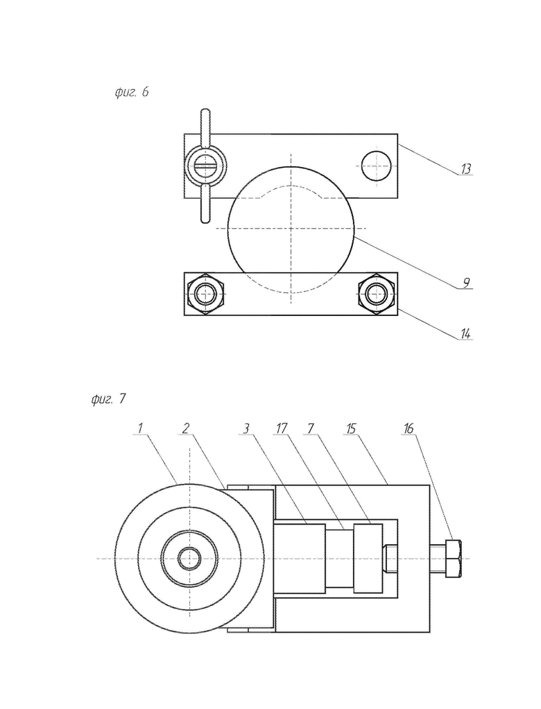
Поставленная задача решается посредством того, что опора (1) фиг.1 сопряжена разъемным соединением с планкой (2), которая имеет полуоткрытые пазы, расположенные на параллельных противоположных поверхностях планки (2), перпендикулярных ее длине, а параллельные противоположные поверхности планки (2), перпендикулярные ее ширине, содержат глухие отверстия для штифтов, при этом планка (2), одной из параллельных противоположных поверхностей, перпендикулярных ее ширине, сопряжена с резцедержателем (3) разъемным соединением. На одном из концов, резцедержатель (3) фиг.5 имеет глухое отверстие, в котором расположена втулка (4) с установленным в ней резцом (5), а также содержит регулировочные винты (6) фиг.1, при этом один из регулировочных винтов (6) расположен соосно с продольной осевой линией резца (5), а другой перпендикулярно продольной осевой линии резца (5), ближе к его режущей части. Копир (7) фиг.1 соединен с резцедержателем (3) разъемным соединением, при этом между копиром (7) и резцедержателем (3) расположены проставки (17) фиг.7, сопряженные с поверхностью копира (7) фиг.1 разъемным соединением, и, на одном из концов, копир (7) содержит копирный ролик (8), который состоит из оси (9) фиг.3, расположенной в осевом отверстии ступенчатой втулки (10) находящейся в сквозном отверстии, при этом между внешней поверхностью оси (9) и внутренней поверхностью втулки (10), расположены игольчатые ролики (11), а ось (9) имеет канавку, в которой расположено кольцо (12) таким образом, чтобы поверхность кольца (12) соприкасалась с торцевой поверхностью ступенчатой втулки (10). На шейке оси (9) фиг.3 между кольцом (12) и буртиком расположена пластина (13) фиг.6, соединенная с поверхностью копира (7) фиг.3, а также на поверхности буртика, которая перпендикулярна продольной осевой линии оси (9), расположен упор (14), сопряженный с поверхностью копира (7). Скобы (15) фиг.1, 7 имеют П-образную форму, при этом их концы повторяют форму полуоткрытых пазов, расположенных на параллельных противоположных поверхностях планки (2), перпендикулярных ее длине, а также скобы (15) содержат зажимной болт (16) фиг.2 контактирующий с поверхностью копира (7) фиг.1, перпендикулярной его ширине. Опорно-поворотная платформа состоит из фланца (18) фиг.1 и оправки (19), при этом фланец (18), с противоположных сторон, имеет углубление, которые соединены между собой сквозным осевым отверстием, а также в каждом из углублений фланца (18) расположен подшипник, при этом оправка (19) выполнена в виде цилиндра с одной торцевой поверхностью и на боковой поверхности содержит фиксирующие винты (20), расположенные противоположно друг другу, а также имеет ось, сопряженную с торцевой поверхностью оправки (19), которая установлена в подшипниках, расположенных в углублениях фланца (18). Оправка (19) фиг.1 через шайбу (21) и стержень (22) соединена с обечайкой (23), один из концов которой расположен во внутреннем пространстве оправки (19) и закреплен фиксирующими винтами (20), находящимися на боковой поверхности оправки (19). Обечайка (23) фиг.4 на внешней боковой поверхности содержит винтовую канавку шириной равной диаметру конца оси (9) фиг.1 копирного ролика (8).
Устройство для нарезания винтовых канавок на внутренней поверхности детали содержит опору (1) фиг.1, имеющую возможность сопряжения с ползуном долбежного станка, которая соединена с планкой (2) крепежными изделиями, например, штифтами и винтами. Параллельные противоположные поверхности планки (2), перпендикулярные ее длине, содержат полуоткрытые пазы, а параллельные противоположные поверхности планки (2), перпендикулярные ее ширине, имеют глухие отверстия для установки в них штифтов, а также одна из этих поверхностей, которая контактирует с резцедержателем (3), содержит отверстия под винты для сопряжения планки (2) с опорой (1). Резцедержатель (3) имеет отверстия под винты для его сопряжения с планкой (2) и отверстия для установки штифтов. На одном из концов, резцедержатель (3) фиг.5 содержит глухое отверстие, в котором расположена втулка (4) с установленным в ней резцом (5), а также регулировочные винты (6) фиг.1 для настройки положения резца (5). Один из регулировочных винтов (6) расположен соосно с продольной осевой линией резца (5), а другой перпендикулярно продольной осевой линии резца (5), ближе к его режущей части. Копир (7) имеет отверстия под винты для его сопряжения с резцедержателем (3) и сквозные отверстия для установки штифтов, соосно расположенные с отверстиями для установки штифтов на поверхности резцедержателя (3). На одном из концов, копир (7) фиг.1 содержит копирный ролик (8). Копирный ролик (8) фиг.3 состоит из оси (9), расположенной в осевом отверстии ступенчатой втулки (10) находящейся в сквозном отверстии, на одном из концов, копира (7). Между внешней поверхностью оси (9) и внутренней поверхностью втулки (10), расположены игольчатые ролики (11). Ось (9) имеет канавку, в которой расположено кольцо (12) таким образом, чтобы поверхность кольца (12) соприкасалась с торцевой поверхностью ступенчатой втулки (10), что позволяет зафиксировать ось (9) в осевом отверстии ступенчатой втулки (10). На шейке оси (9) между кольцом (12) и буртиком расположена пластина (13), имеющая сквозные отверстия для крепежного изделия, например, винта, которая сопряжена с поверхностью копира (7), а также на поверхности буртика, которая перпендикулярна продольной осевой линии оси (9), расположен упор (14), имеющий сквозные отверстия для крепежного изделия, например, стержня с резьбой и гайкой, и сопряжен с поверхностью копира (7). Пластина (13) и упор (14) позволяют надежно зафиксировать ось (9) и исключить ее линейные перемещения по осевому отверстию ступенчатой втулки (10). Для повышения прочности соединения копира (7) фиг.1 с резцедержателем (3) и резцедержателя (3) с планкой (2), устройство для нарезания винтовых канавок на внутренней поверхности детали содержит скобы (15) фиг.7 П-образной формы концы которых повторяют форму полуоткрытых пазов, расположенных на параллельных противоположных поверхностях планки (2), перпендикулярных ее длине. Скобы (15) фиг.2 содержат зажимной болт (16) контактирующий с поверхностью копира (7) фиг.1, перпендикулярной его ширине, для натяжения скобы (15) и создания прижимного усилия на копир (7), которое передается от копира (7) резцедержателю (3). Скобы (15) фиг.7 охватывают копир (7), а их концы расположены в полуоткрытых пазах на параллельных противоположных поверхностях планки (2), перпендикулярных ее длине. Между копиром (7) и резцедержателем (3) находятся проставки (17) фиг.7 сопряженные с поверхностью копира (7) фиг.1 крепежным изделием, например, штифтом. Устройство для нарезания винтовых канавок на внутренней поверхности детали содержит опорно-поворотную платформу состоящую из фланца (18) фиг.1 соединенного с планшайбой долбежного станка и оправки (19). Фланец (18), с противоположных сторон, имеет углубление, соединенные между собой сквозным осевым отверстием. В каждом из углублений фланца (18) расположен подшипник. Оправка (19) выполнена в виде цилиндра с одной торцевой поверхностью и на боковой поверхности содержит фиксирующие винты (20), расположенные противоположно друг другу, а также имеет ось, сопряженную с торцевой поверхностью оправки (19). Ось оправки (19) установлена в подшипниках, расположенных в углублениях фланца (18), что позволяет оправке (19) совершать вращательное движение вокруг своей оси. Конец оси оправки (19), расположенный в углублении фланца (18), со стороны планшайбы долбежного станка, содержит гайку с винтом для фиксации оси оправки (19) и подшипника, предотвращая тем самым их линейные перемещения. Оправка (19) через шайбу (21) и стержень (22) соединена с обечайкой (23), один из концов которой расположен во внутреннем пространстве оправки (19) и закреплен фиксирующими винтами (20), находящимися на боковой поверхности оправки (19). Обечайка (23) фиг.4 на внешней боковой поверхности содержит винтовую канавку шириной равной диаметру конца оси (9) фиг.1 копирного ролика (8), который совершает движение по винтовой канавке обечайки (23).
Техническим результатом предлагаемого решения является низкая трудоемкость транспортировки устройства, а также проведения его технического обслуживания и ремонта, высокая точность нарезания винтовой канавки на поверхности детали, надежная фиксация детали, подлежащей обработке, в обечайке устройства, конструктивная возможность быстрой замены одной обечайки на другую, соответствующую размеру детали, подлежащей обработке.
Краткое описание чертежей:
на фиг.1 - схематичное изображение устройства для нарезания винтовых канавок на внутренней поверхности детали. Общий вид;
на фиг.2 - схематичное изображение скоб с зажимным болтом устройства для нарезания винтовых канавок на внутренней поверхности детали. Вид сбоку;
на фиг.3 - схематичное изображение копирного ролика устройства для нарезания винтовых канавок на внутренней поверхности детали. Общий вид;
на фиг.4 - схематичное изображение обечайки с деталью, подлежащей обработке, устройства для нарезания винтовых канавок на внутренней поверхности детали. Вид сверху;
на фиг.5 - схематичное изображение резца в резцедержателе устройства для нарезания винтовых канавок на внутренней поверхности детали. Общий вид;
на фиг.6 - схематичное изображение пластины и упора копирного ролика устройства для нарезания винтовых канавок на внутренней поверхности детали. Общий вид;
на фиг.7 - схематичное изображение устройства для нарезания винтовых канавок на внутренней поверхности детали. Вид сверху;
Краткое описание конструктивных элементов:
1 - опора;
2 - планка;
3 - резцедержатель;
4 - втулка;
5 - резец;
6 - регулировочный винт;
7 - копир;
8 - копирный ролик;
9 - ось;
10 - ступенчатая втулка;
11 -игольчатый ролик;
12 - кольцо;
13 - пластина;
14 - упор;
15 - скоба;
16 - зажимной болт;
17 -проставка;
18 - фланец;
19 - оправка;
20 - фиксирующий винт;
21 -шайба;
22 - стержень;
23 -обечайка.
Осуществление заявленного решения
Заявленное устройство для нарезания винтовых канавок на внутренней поверхности детали работает следующим образом.
Осуществляют установку устройства для нарезания винтовых канавок на внутренней поверхности детали на долбежный станок, а именно, соединяют опору (1) фиг.1 с ползуном долбежного станка, а фланец (18) опорно-поворотной платформы закрепляют на планшайбе долбежного станка. Деталь, на внутренней поверхности которой требуется нарезать винтовые канавки, располагают и закрепляют в обечайке (23). Включают долбежный станок. При рабочем ходе долбежного станка, его ползун движется вниз вместе с опорой (1), которая приводит в синхронное движение резцедержатель (3) и копир (7). Конец оси (9) копирного ролика (8) скользит по винтовой канавке обечайки (23), расположенной на внешней боковой поверхности, приводя ее во вращательное движение вокруг своей оси, которое передается детали закрепленной в обечайке (23). Резцедержатель (3) с резцом (5) движется прямолинейно вниз. Резец (5) фиг.5 контактируя с внутренней поверхностью вращающейся, вокруг своей оси, детали нарезает винтовую канавку. Достигнув своего крайнего положения ползун начинает движение в обратном направлении, резец (5) фиг.1 совершает холостой ход, перемещаясь по нарезанной винтовой канавке на внутренней поверхности детали, приводимой во вращение обечайкой (23), по винтовой канавке которой скользит конец оси (9) копирного ролика (8) заставляя ее совершать вращательное движение вокруг своей оси в противоположном направлении для вывода резца (5) в его начальное рабочее положение.
| название | год | авторы | номер документа |
|---|---|---|---|
| Устройство для долбления | 1973 |
|
SU446366A1 |
| Устройство для долбления | 1976 |
|
SU606690A1 |
| Копировальное устройство | 1978 |
|
SU677879A1 |
| Резцовая головка | 1990 |
|
SU1774906A3 |
| Устройство для нарезания многозаходных винтовых канавок | 1977 |
|
SU680815A1 |
| УСТРОЙСТВО ДЛЯ НАРЕЗАНИЯ РЕЗЬБЫ НА ТРУБАХ НА УСТЬЕ СКВАЖИН | 2018 |
|
RU2679627C1 |
| Устройство для нарезания резьбы | 1990 |
|
SU1773608A1 |
| РАСТОЧНЫЙ СТАНОК | 1968 |
|
SU231299A1 |
| Устройство для нарезания резьбы | 1979 |
|
SU837644A1 |
| Гидрокопировальное устройство для универсального токарного станка | 1985 |
|
SU1310115A1 |
Изобретение относится к области машиностроения. Устройство для нарезания винтовых канавок на внутренней поверхности детали содержит опору, сопряженную с планкой, которая имеет полуоткрытые пазы, при этом планка соединена с резцедержателем, имеющим резец с регулировочными винтами. Копир соединен с резцедержателем, при этом между копиром и резцедержателем расположены проставки, и содержит копирный ролик, который состоит из оси, расположенной в ступенчатой втулке, игольчатых роликов, при этом ось имеет канавку, в которой расположено кольцо, а на её шейке, между кольцом и буртиком, расположена пластина, соединенная с поверхностью копира, а также на поверхности буртика расположен упор, сопряженный с поверхностью копира. Скобы имеют П-образную форму и зажимной болт, при этом их концы повторяют форму полуоткрытых пазов. Опорно-поворотная платформа состоит из фланца и оправки, при этом фланец имеет углубления, в которых расположен подшипник, а оправка выполнена в виде цилиндра с одной торцевой поверхностью, которая сопряжена с осью, установленной в подшипниках, и на боковой поверхности содержит фиксирующие винты. Оправка через шайбу и стержень соединена с обечайкой. Обечайка на внешней боковой поверхности содержит винтовую канавку шириной, равной диаметру конца оси копирного ролика. Обеспечивается высокая точность нарезания винтовой канавки на поверхности детали, надежная фиксация детали, подлежащей обработке, в обечайке устройства. 7 ил.
Устройство для нарезания винтовых канавок на внутренней поверхности детали, включающее резцедержатель с резцом, копир, копирный ролик, отличающееся тем, что опора сопряжена разъемным соединением с планкой, которая имеет полуоткрытые пазы, расположенные на параллельных противоположных поверхностях планки, перпендикулярных ее длине, а параллельные противоположные поверхности планки, перпендикулярные ее ширине, содержат глухие отверстия для штифтов, при этом планка одной из параллельных противоположных поверхностей, перпендикулярных ее ширине, сопряжена с резцедержателем разъемным соединением, на одном из концов резцедержатель имеет глухое отверстие, в котором расположена втулка с установленным в ней резцом, а также содержит регулировочные винты, при этом один из регулировочных винтов расположен соосно с продольной осевой линией резца, а другой перпендикулярно продольной осевой линии резца, копир соединен с резцедержателем разъемным соединением, при этом между копиром и резцедержателем расположены проставки, сопряженные с поверхностью копира разъемным соединением, и на одном из концов копир содержит копирный ролик, который состоит из оси, расположенной в осевом отверстии ступенчатой втулки, находящейся в сквозном отверстии, при этом между внешней поверхностью оси и внутренней поверхностью втулки расположены игольчатые ролики, а ось имеет канавку, в которой расположено кольцо таким образом, чтобы поверхность кольца соприкасалась с торцевой поверхностью ступенчатой втулки, на шейке оси между кольцом и буртиком расположена пластина, соединенная с поверхностью копира, а также на поверхности буртика, которая перпендикулярна продольной осевой линии оси, расположен упор, сопряженный с поверхностью копира, скобы имеют П-образную форму, при этом их концы повторяют форму полуоткрытых пазов, расположенных на параллельных противоположных поверхностях планки, перпендикулярных ее длине, а также скобы содержат зажимной болт, контактирующий с поверхностью копира, перпендикулярной его ширине, опорно-поворотная платформа состоит из фланца и оправки, при этом фланец с противоположных сторон имеет углубление, которые соединены между собой сквозным осевым отверстием, а также в каждом из углублений фланца расположен подшипник, при этом оправка выполнена в виде цилиндра с одной торцевой поверхностью и на боковой поверхности содержит фиксирующие винты, расположенные противоположно друг другу, а также имеет ось, сопряженную с торцевой поверхностью оправки, которая установлена в подшипниках, расположенных в углублениях фланца, оправка через шайбу и стержень соединена с обечайкой, один из концов которой расположен во внутреннем пространстве оправки и закреплен фиксирующими винтами, находящимися на боковой поверхности оправки, обечайка на внешней боковой поверхности содержит винтовую канавку шириной, равной диаметру конца оси копирного ролика.
| Устройство для долбления | 1973 |
|
SU446366A1 |
| Способ работы камеры сгорания для газовой турбины | 1948 |
|
SU75166A1 |
| 0 |
|
SU207213A1 | |
| US 1952194 A1, 27.03.1934 | |||
| GB 1383711 A, 12.02.1975. | |||
Авторы
Даты
2024-11-11—Публикация
2023-12-18—Подача