Многоцелевой комбинированный беспилотный летательный аппарат Российский патент 2024 года по МПК B64U20/40 B64U20/50 

Описание патента на изобретение RU2831435C1

Изобретение относится к области беспилотных летательных аппаратов (БПЛА) самолетного типа, предназначенных для воздушного наблюдения и разведки или для поражения обнаруженных объектов.

В настоящее время в качестве основной области применения комплексов с БПЛА рассматривается разведка и доразведка объектов противника, поиск и передача информации о поврежденном и неисправном вооружении, военной и специальной техники, наблюдение поля боя, информационное обеспечение применения огневых и ударных средств в разведывательно-ударных системах, в меньшей степени для постановки помех, ретрансляции связи и огневого поражения объектов.

Имея широкий спектр применения, БПЛА во многом используются как самостоятельные боевые средства. Их возможности и преимущества в современных войнах делают БПЛА незаменимыми инструментами для решения различных боевых задач, при этом обеспечивая безопасность, эффективность и экономичность использования. Даже имея средства противодействия БПЛА, они представляют существенную ударную силу в противоборствующих сторонах, перевес во многом будет балансировать как в сторону БПЛА, так и в сторону противодействия им. Использование БПЛА для поражения целей помогло открыть новый вид боевых действий, современные БПЛА позволяют поражать цели более точно с небольшими «побочными эффектами».

Известна беспилотная авиационная система (патент RU №2741854 от 2021 г.), состоящая из наземной станции управления; пусковой установки; беспилотного воздушного судна, содержащего фюзеляж, силовую установку на базе двигателя внутреннего сгорания, оснащенного полезной нагрузкой, бортовые и наземные средства радиосвязи, навигации и управления полетом, в беспилотном воздушном судне, содержащем носовую, среднюю и хвостовую части, носовая часть оснащена стабилизатором, в средней части, в состав беспилотного воздушного судна введены надирный фотоаппарат высокого разрешения, тепловизор, мультиспектральная камера, бокс для грузов, хвостовая часть содержит силовую установку, оснащенную виброгасящей моторамой и стартер-генератором, виброгасящая моторама выполнена с возможностью крепления на фюзеляже, стартер-генератор размещен на валу двигателя внутреннего сгорания.

Недостатком этого устройства является отсутствие возможности оперативно адаптироваться для решения различных задач, с использованием различной нагрузки, возможности смены и подбора двигателей в зависимости от используемых средств противодействия. Отсутствие возможности использования дополнительной разногабаритной полезной нагрузки вне корпуса летательного аппарата.

Известен также многовариантный беспилотный летательный аппарат (патент RU №2323850 от 2008 г.), включающий фюзеляж, крыло с центропланом, хвостовое оперение, силовую установку с топливным баком, бортовые системы и целевую нагрузку, фюзеляж беспилотного летательного аппарата и крыло выполнены наборными в виде отдельных заменяемых модулей, фюзеляж имеет в носовом модуле оптико-электронную систему наблюдения передней полусферы, целевая нагрузка размещается в отдельном сменном модуле, крыло включает сменные плоскости и центроплан, обеспечивающий изменение стреловидности крыла с поворотом плоскостей относительно оси, являющейся одновременно каналом для заправочной горловины топливного бака, размещаемого в центральном модуле, который обеспечивает установку топливной емкости заданного объема.

Недостатком этого устройства является отсутствие возможности смены и подбора различных видов двигателей, использование полезной нагрузки ограничено габаритами отдельного модуля.

Наиболее близкой по технической сущности к заявленному изобретению является беспилотный летательный аппарат среднего радиуса действия (патент RU №150667 от 2014 г.), включающий корпус, состоящий из носовой, центральной и кормовой частей, крыло, хвостовое оперение, силовую установку, бортовое оборудование и целевую нагрузку, центральная часть корпуса имеет отсек, выполненный с возможностью установки в нем сменного модуля с целевой нагрузкой, носовая часть корпуса выполнена сменной и содержит бортовое оборудование, при этом силовая установка размещена в сменной мотогондоле, установленной на верхней части корпуса ближе к хвостовому оперению, а крыло состоит из двух консолей, каждая из которых имеет корневую часть и сменную концевую часть. В качестве целевой нагрузки сменного модуля используют средства воздушной разведки, или средства мониторинга, или средства обороны, или средства радиоэлектронного противодействия, или дополнительное топливо, или груз, или авиационные средства поражения. Сменная концевая и корневая части консоли крыла образуют конфигурацию, обеспечивающую полет с дозвуковой скоростью до 900 км/час для многоцелевого БЛА в ударном варианте или длительный полет с дозвуковой скоростью 500-600 км/час для многоцелевого БЛА в разведывательном варианте. Сменная носовая часть корпуса имеет конфигурацию, обеспечивающую размещение бортовой радиолокационной станции, или оптико-электронной системы, или телевизионной аппаратуры.

Недостатком этого устройства является отсутствие возможности смены и подбора различных видов двигателей в зависимости от решаемых задач, использование дополнительной полезной нагрузки ограничено габаритами сменного модуля.

Задачей изобретения является создание многоцелевого беспилотного летательного аппарата, позволяющего решать широкий спектр разведывательных и ударных задач за счет использования с одним корпусом различных двигательных установок, видов и форм крыла, различной полезной нагрузки, минимизации расходов материальных средств.

Техническим результатом является расширение возможностей беспилотного летательного аппарата по ведению наблюдения, разведки и поражения объектов.

Требуемый технический результат достигается тем, что многоцелевой комбинированный беспилотный летательный аппарат содержит корпус в форме цилиндра с торцевыми вырезами, во внутреннее пространство корпуса в задней части вставляется двигатель с источником питания. В зависимости от типа решаемой задачи подбирается и соответствующий тип двигателя. При необходимости быстрой доставки средств поражения или оперативной съемки участка местности, расположенного на относительно малом расстоянии от места пуска, устанавливается, например, реактивный двигатель. Для ведения длительной разведки с минимальными демаскирующими признаками нужно использовать электродвигатель с аккумулятором, дополнительно разместив на крыле солнечную батарею. Для использования и доставки на дальнее расстояние большой массы средств наблюдения или средств поражения можно выбрать и использовать двигатель внутреннего сгорания. Объем используемого топлива может определяться объемом корпуса и расширяться за счет использования дополнительных объемов, которые можно разместить вне корпуса в эластичной сумке с застежками. Эластичная сумка позволяет использовать элементы питания двигателей, емкости с топливом, различную полезную нагрузку и средства поражения, имеющие различные форму и размеры, ограничением здесь будет общая масса всех элементов в сумке.

Форма и площадь крыла подбирается в соответствии с характеристиками двигательной установки для обеспечения более эффективного полета, т.е. скоростью полета БПЛА и характером решаемых задач с учетом массогабаритных характеристик используемой при этом полезной нагрузки. Такое гибкое использование различного вида крыльев позволяет расширить возможности применения и достигнуть максимальной результативности. Требуемые по форме и размеру заранее изготовленные крылья вставляются в расположенные вдоль фюзеляжа с двух сторон специальные пазы для установки и крепления съемных крыльев. При отсутствии штатных сменных крыльев всегда можно из имеющихся подручных материалов изготовить (вырезать) крылья необходимой формы и профиля. То же можно сказать и о корпусе, для которого можно использовать имеющиеся в разряжении пластиковые трубы подходящего диаметра.

Для управления полетом в носовой части устанавливается устройство управления полетом, имеющее набор средств наблюдения, управления, связи, навигации и аккумулятор для их электропитания. В качестве средств наблюдения могут быть оптические и тепловизионные камеры. Средства связи обеспечивают обмен информацией с пунктом управления по каналам спутниковой и радиосвязи. Навигация осуществляется с использованием инерциальной или спутниковой (ГЛОНАСС) систем. Дополнительно возможно комплектование парашютом при планируемом возвращении многоцелевого комбинированного беспилотного летательного аппарата или системой инициирования средств поражения.

Маневрирование в полете осуществляется за счет изменения положения переднего горизонтального оперения закрепленного на валах электродвигателей.

Сущность изобретения поясняется чертежом, где на Фиг. 1 представлен многоцелевой комбинированный беспилотный летательный аппарат (вид слева), где:

1 - средства наблюдения;

2 - корпус;

3 - двигатель;

4 - съемное крыло;

5 - поворотное переднее горизонтальное оперение;

6 - законцовка крыла;

7 - эластичная сумка.

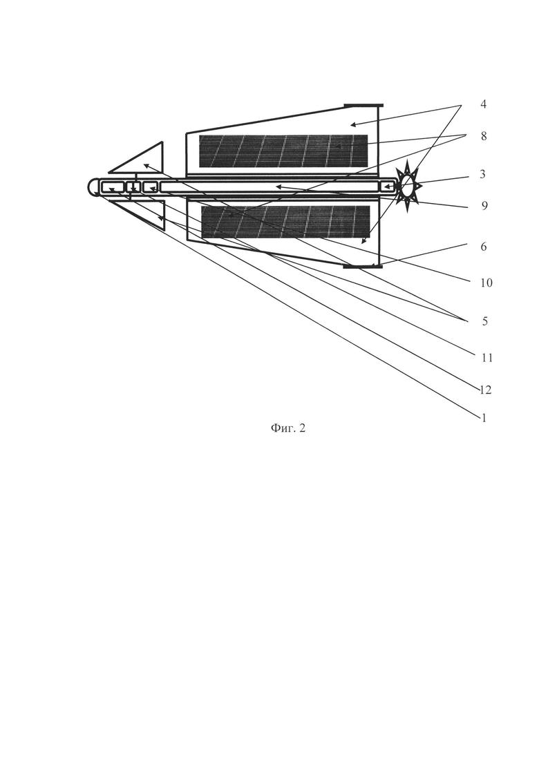
На Фиг. 2 представлен многоцелевой комбинированный беспилотный летательный аппарат (вид сверху) вариант с треугольным крылом и электродвигателем, где:

8 - солнечная батарея;

9 - источник питания двигателя;

10 - отсек для парашюта;

11 - электродвигатели;

12 - устройство управления полетом.

На Фиг. 3 представлен многоцелевой комбинированный беспилотный летательный аппарат (вид сверху) вариант с прямым крылом и двигателем внутреннего сгорания.

Изобретение работает следующим образом: после постановки задачи на применение многоцелевого комбинированного беспилотного летательного аппарата производится сборка из набора имеющихся в наличии различных элементов для наиболее эффективного его применения. При отсутствии необходимых элементов, отвечающих параметрам эффективного выполнения задачи из имеющихся подручных материалов, изготавливаются крылья необходимой формы и профиля. Корпус (2) комплектуется: средствами наблюдения (1), актуальными в данный момент оптическими или тепловизионными камерами; устройством управления полетом (12), состоящим из системы управления, средств связи, навигации и аккумулятора для электропитания; при необходимости парашютом. Устанавливается двигатель (3) с источником питания (9). Для выполнения задач на большие расстояния с полезной нагрузкой большой массы предпочтительнее использовать двигатель внутреннего сгорания с большим запасом топлива. Топливо размещается в корпусе (2) и в дополнительном баке в эластичной сумке (7). Если есть необходимость скрытого выполнения задачи в течение длительного времени, можно использовать электродвигатель с аккумулятором в месте для источника питания двигателя (9) или в эластичной сумке (7), а также использовать съемные крылья (4) с нанесенной на них солнечной батареей (8) для пополнения запаса электроэнергии в полете. Если в первую очередь необходимо оперативно осуществить выполнение задачи, можно устанавливать реактивный двигатель с запасом топлива в источнике питания двигателя (9) и в эластичной сумке (V).

После старта многоцелевого комбинированного беспилотного летательного аппарата управление осуществляется с пункта управления, по каналам спутниковой и радиосвязи, опираясь на получаемую визуальную информацию и данные системы ГЛОНАСС. Корректировка маршрута полета и высоты производится по команде пункта управления или по заложенной программе отклонением переднего горизонтального оперения (5) электродвигателями (11).

По завершении разведывательного полета или по исчерпании запасов электроэнергии или топлива многоцелевой комбинированный беспилотный летательный аппарат возвращается на место посадки и осуществляет ее с помощью парашюта.

При постановке задачи на поражение при старте в эластичную сумку (7) загружаются средства поражения. Средствами поражения могут быть различные виды боеприпасов как заводского производства, так и самодельные взрывные устройства. Различные по предназначению и по размерам виды боеприпасов укладываются в эластичную сумку (7) и закрываются на застежку, ограничением будет масса. Закладывается тротиловая шашка с электродетонатором, подключенным к устройству управления полетом (12), и по команде с пункта управления приводится в действие. Таким образом, можно утилизировать обезвреженные боеприпасы с получением положительного эффекта. Инициирование средств поражения производится на любой выбранной оператором высоте и позволит поражать как наземные объекты, так и воздушные объекты, в том числе рой беспилотных летательных аппаратов.

Многоцелевой беспилотный летательный аппарат с помощью гибкого использования двигательных установок и различных видов съемных крыльев позволит решать широкий спектр разведывательных и ударных задач. Даст возможность использовать различную по габаритам полезную нагрузки, минимизировать расход материальных средств за счет возможности производства в кустарных условиях и из подсобных материалов, позволит повторно использовать различные боеприпасы без ущерба для жизни оператора.

Похожие патенты RU2831435C1

название год авторы номер документа
Высокоскоростной беспилотный летательный аппарат 2021
  • Миронов Максим Анатольевич
  • Морозов Андрей Леонидович
RU2787906C1
Мобильная беспилотная система для воздушного наблюдения и разведки 2022
  • Бердников Александр Юрьевич
  • Куканков Сергей Николаевич
RU2793711C1
Многоцелевой беспилотный летательный аппарат 2021
  • Бердников Александр Юрьевич
  • Куканков Сергей Николаевич
RU2763896C1
МНОГОЦЕЛЕВОЙ ДИСТАНЦИОННО ПИЛОТИРУЕМЫЙ ВЕРТОЛЕТ-САМОЛЕТ 2008
  • Дуров Дмитрий Сергеевич
RU2370414C1
МНОГОФУНКЦИОНАЛЬНЫЙ МАЛОГАБАРИТНЫЙ ТРАНСФОРМИРУЕМЫЙ МНОГОРАЗОВЫЙ БЕСПИЛОТНЫЙ ЛЕТАТЕЛЬНЫЙ АППАРАТ В ТРАНСПОРТНО-ПУСКОВОМ КОНТЕЙНЕРЕ И СПОСОБЫ СТАРТА 2022
  • Евдокимов Сергей Викторович
  • Бадеха Александр Иванович
  • Маталасов Сергей Юрьевич
  • Куминов Сергей Александрович
  • Жестков Юрий Николаевич
  • Анфимов Михаил Николаевич
  • Крупин Сергей Андреевич
  • Иовлев Михаил Андреевич
RU2778177C1
БЕСПИЛОТНЫЙ УДАРНО-РАЗВЕДЫВАТЕЛЬНЫЙ АВИАНОСИТЕЛЬ 2023
  • Дуров Дмитрий Сергеевич
RU2829114C1
Энергонезависимый многоцелевой беспилотный летательный аппарат 2020
  • Куканков Сергей Николаевич
  • Молдован Денис Владимирович
  • Литвинов Александр Анатольевич
RU2741825C1
Малоразмерный беспилотный летательный аппарат 2023
  • Миронов Максим Анатольевич
  • Колосов Виталий Николаевич
RU2812634C1
ТРАНСПОРТНЫЙ ГРУЗОВОЙ БЕСПИЛОТНЫЙ ЛЕТАТЕЛЬНЫЙ АППАРАТ 2021
  • Малышев Владимир Николаевич
  • Малышев Антон Владимирович
  • Низамиев Ринат Айратович
  • Исхакова Руфина Радиковна
RU2776617C1
Беспилотный летательный аппарат с генерацией электроэнергии 2021
  • Козлов Валерий Николаевич
  • Бердников Александр Юрьевич
  • Куканков Сергей Николаевич
RU2769036C1

Иллюстрации к изобретению RU 2 831 435 C1

Реферат патента 2024 года Многоцелевой комбинированный беспилотный летательный аппарат

Изобретение относится к области беспилотных летательных аппаратов самолетного типа, предназначенных для воздушного наблюдения и разведки или для поражения обнаруженных объектов. Многоцелевой комбинированный беспилотный летательный аппарат содержит корпус, два крыла, силовую установку, бортовое оборудование и целевую нагрузку. При этом корпус имеет форму цилиндра с торцевыми вырезами, во внутреннее пространство корпуса в задней части вставляется двигатель с источником питания, в качестве которого может быть использован реактивный двигатель, или электродвигатель, или двигатель внутреннего сгорания. В носовую часть устанавливается устройство управления полетом, имеющее набор средств наблюдения, управления, связи, навигации и аккумулятор для их электропитания, а также электродвигатели, на валах которых крепится поворотное переднее горизонтальное оперение, отсек для парашюта, вдоль фюзеляжа с двух сторон имеются пазы для установки и крепления съемных крыльев, в нижней части к фюзеляжу жестко крепится закрывающаяся на застежки эластичная сумка. Задачей изобретения является создание многоцелевого беспилотного летательного аппарата, позволяющего решать широкий спектр разведывательных и ударных задач за счет использования с одним корпусом различных двигательных установок, видов и форм крыла, различной полезной нагрузки, минимизации расходов материальных средств. 3 ил.

Формула изобретения RU 2 831 435 C1

Многоцелевой комбинированный беспилотный летательный аппарат, содержащий корпус, два крыла, силовую установку, бортовое оборудование и целевую нагрузку, отличающийся тем, что корпус имеет форму цилиндра с торцевыми вырезами, во внутреннее пространство корпуса в задней части вставляется двигатель с источником питания, в качестве которого может быть использован реактивный двигатель, или электродвигатель, или двигатель внутреннего сгорания, в носовую часть устанавливается устройство управления полетом, имеющее набор средств наблюдения, управления, связи, навигации и аккумулятор для их электропитания, а также электродвигатели, на валах которых крепится поворотное переднее горизонтальное оперение, отсек для парашюта, вдоль фюзеляжа с двух сторон имеются пазы для установки и крепления съемных крыльев, в нижней части к фюзеляжу жестко крепится закрывающаяся на застежки эластичная сумка.

Документы, цитированные в отчете о поиске Патент 2024 года RU2831435C1

Термометр сопротивления для измерения низких температур жидких агрессивных сред в трубопроводах малых диаметров 1961
  • Абросимов А.В.
  • Авдеев А.И.
  • Альпин Э.А.
  • Герцовский К.З.
  • Григорьев В.А.
  • Журомский В.И.
  • Кузнецова Н.М.
  • Лексин Г.Т.
  • Нотариус М.Д.
  • Эбраев Н.С.
SU150667A1
CN 115973469 A, 18.04.2023
CN 115924149 A, 07.04.2023
CN 112478157 A, 12.03.2021
WO 2023220447 A2, 16.11.1923
CN 115817870 A, 21.03.2023.

RU 2 831 435 C1

Даты

2024-12-06Публикация

2024-04-08Подача