КАПСУЛЬНОЕ ИЗДЕЛИЕ ДЛЯ ИНГАЛЯЦИОННЫХ УСТРОЙСТВ И СПОСОБ ЕГО ОБРАЗОВАНИЯ Российский патент 2024 года по МПК A61M15/00 A61J3/07 A24F42/80 

Описание патента на изобретение RU2831725C1

Настоящее изобретение относится к высокобарьерной капсуле, заключающей в себе порошок, а также к способу образования такой капсулы. Высокобарьерная капсула покрыта металлической фольгой и слоем герметика. Металлическая фольга и слой герметика взаимодействуют для подавления переноса воды или влаги к содержимому высокобарьерной капсулы.

Капсулы обычно имеют слабые барьерные свойства в отношении воды (см., например, публикации WO 2019/186372 A1 и RU 2412722 C2). Сухие терапевтические порошки часто состоят из материалов, которые являются гигроскопичными и разрушаются при контакте с водой или влагой. Эти капсулы часто запечатывают в небиоразлагаемые упаковки. Небиоразоагаемая упаковка может повышать стоимость и сложность изготовления этих капсул и сопутствующих ингаляционных систем.

Было бы желательно предложить капсулу, которая подавляет или предотвращает перенос воды или влаги в полость капсулы. Было бы желательно предложить высокобарьерную капсулу, которая может быть биоразлагаемой. Было бы желательно, чтобы высокобарьерная капсула сохраняла аэродинамику капсулы, и чтобы высокобарьерная капсула была выполнена с возможностью вращаться или крутиться во время потребления в ингаляционном устройстве. Было бы желательно, чтобы высокобарьерная капсула была экономичной, простой и легкой в применении для вдыхаемых сухих порошков. Было бы желательно, чтобы высокобарьерная капсула была выполнена из материалов пищевого класса безопасности.

В соответствии с одним из аспектов настоящего изобретения предложено капсульное изделие, содержащее полимерный корпус, проходящий вдоль продольной оси от первого конца до второго конца и определяющий полость капсулы, заключающую в себе порошок. Металлическая фольга и слой герметика покрывают внешнюю поверхность полимерного корпуса.

Металлическая фольга и слой герметика взаимодействуют для образования защитного барьера, окружающего капсулу, что является преимуществом. Металлическая фольга и слой герметика образуют низкопрофильный защитный барьер, окружающий капсулу, который может поддерживать форму капсулы и поддерживать аэродинамические свойства капсулы.

Капсульное изделие может содержать слой герметика, контактирующий с металлической фольгой, и металлическую фольгу, отделяющую слой герметика от полимерного корпуса. Покрытие металлической фольги слоем герметика может быть полезно для заполнения отверстий или трещин, образованных в металлической фольге или образующихся в ходе процесса оборачивания металлической фольги.

Капсульное изделие может содержать слой герметика, контактирующий с металлической фольгой, и при этом слой герметика отделяет металлическую фольгу от полимерного корпуса. Слой герметика может способствовать адгезии металлической фольги к полимерному корпусу. Слой герметика может заполнять отверстия в слое металлической фольги, что является преимуществом. Выполнение внешнего слоя капсульного изделия из металлической фольги может дополнительно стабилизировать капсульное изделие при более высокой температуре хранения или транспортировки. Выполнение из металлической фольги внешнего слоя капсульного изделия может препятствовать тому, что при повышенных температурах хранения или транспортировки капсула становится липкой и коэффициент трения внешней поверхности повышается.

Капсульное изделие может содержать слой герметика, контактирующий с металлической фольгой и отделяющий металлическую фольгу от полимерного корпуса, и второй слой герметика, контактирующий с металлической фольгой, и при этом металлическая фольга отделяет слой герметика от второго слоя герметика. Прослаивание металлической фольги между двумя слоями герметика может улучшать барьерные свойства, в то же время заполняя отверстия и трещины, образующиеся в ходе процесса оборачивания металлической фольги, вторым слоем герметика, что является преимуществом.

Полимерный корпус капсульного изделия может определять форму цилиндра с выпуклыми закругленными концами, и металлическая фольга и слой герметика определяют форму цилиндра с выпуклыми закругленными концами. Металлическая фольга и слой герметика, повторяющие внешнюю форму капсулы, могут поддерживать аэродинамику капсулы и позволять высокобарьерной капсуле крутиться или вращаться во время потребления, что является преимуществом.

Слой герметика капсульного изделия может иметь температуру плавления от приблизительно 100 градусов Цельсия или меньше или в диапазоне от приблизительно 40 градусов Цельсия до приблизительно 80 градусов Цельсия. Порошок, заключенный в полости капсулы, может разлагаться при температурах выше 100 градусов Цельсия или выше 80 градусов Цельсия, соответственно, нанесение жидкого или текучего герметика на капсулу или металлическую фольгу можно преимущественно осуществлять при температуре, равной 100 градусам Цельсия или ниже.

Слой герметика капсульного изделия может иметь толщину от приблизительно 2 микрометров до приблизительно 15 микрометров или от приблизительно 3 микрометров до приблизительно 10 микрометров. Толщина герметика менее 15 микрометров или менее 10 микрометров может поддерживать аэродинамику капсулы и позволять высокобарьерной капсуле крутиться или вращаться в процессе потребления, и в то же время взаимодействует с металлической фольгой с образовыванием герметичного барьера вокруг полости капсулы.

Слой герметика капсульного изделия может содержать восковой материал. Слой герметика капсульного изделия может содержать микрокристаллический воск. Восковые материалы могут представлять собой материал пищевого класса безопасности, а также могут представлять собой биоразлагаемые материалы.

Металлическая фольга капсульного изделия может иметь толщину в диапазоне от приблизительно 2 микрометров до приблизительно 10 микрометров или от приблизительно 4 микрометров до приблизительно 8 микрометров. Толщина металлической фольги менее 10 микрометров или менее 8 микрометров может поддерживать аэродинамику капсулы и позволять высокобарьерной капсуле крутиться или вращаться в процессе потребления, и в то же время взаимодействует с металлической фольгой с образовыванием герметичного барьера вокруг полости капсулы.

Металлическая фольга капсульного изделия может содержать алюминиевую фольгу. Алюминиевая фольга может представлять собой материал пищевого класса безопасности, а также может представлять собой биоразлагаемые материалы.

Металлическая фольга, слой герметика и необязательный второй слой герметика капсульного изделия могут взаимодействовать с образованием герметичного барьера, окружающего полимерный корпус или полость капсулы. Было обнаружено, что объединение металлической фольги со слоем герметика образует герметичный барьер, имеющий меньшую толщину, поддерживающий аэродинамику капсулы и позволяющий высокобарьерной капсуле крутиться или вращаться в процессе потребления, и в то же время взаимодействует с металлической фольгой с образовыванием герметичного барьера вокруг полости капсулы, что является преимуществом.

В соответствии с другим аспектом настоящего изобретения предложен способ образования герметичной капсулы, включающий этапы: оборачивания капсулы металлической фольгой; и окружения капсулы слоем герметика с образованием герметичного барьера, окружающего капсулу.

Оборачивание изделий может быть осуществлено на высоких скоростях с высокой четкостью или точностью, что является преимуществом. Металлическая фольга и слой герметика взаимодействуют для образования защитного барьера, окружающего капсулу. Металлическая фольга и слой герметика образуют низкопрофильный защитный барьер, окружающий капсулу, который может поддерживать форму капсулы и поддерживать аэродинамические свойства капсулы. Металлическая фольга и слой герметика могут взаимодействовать с образованием барьера для влаги более действенного, чем суммарный барьерный эффект каждого слоя.

Способ может включать окружение металлической фольги слоем герметика. Окружение или покрытие металлической фольги слоем герметика может быть полезно для заполнения отверстий или трещин, образующихся в ходе процесса оборачивания металлической фольги.

Способ может включать окружение капсулы слоем герметика, а затем оборачивание слоя герметика металлической фольгой.

Способ может включать окружение капсулы слоем герметика, а затем оборачивание слоя герметика металлической фольгой, и затем окружение металлической фольги вторым слоем герметика. Прослаивание металлической фольги между двумя слоями герметика может улучшать барьерные свойства, в то же время заполняя отверстия и трещины, образующиеся в ходе процесса оборачивания металлической фольги, вторым слоем герметика, что является преимуществом.

Способ может включать окружение капсулы слоем герметика при температуре от приблизительно 100 градусов Цельсия или ниже или в диапазоне от приблизительно 40 градусов Цельсия до приблизительно 80 градусов Цельсия. Порошок, заключенный в полости капсулы, может разлагаться при температурах выше 100 градусов Цельсия или выше 80 градусов Цельсия, соответственно, нанесение жидкого или текучего герметика на капсулу или металлическую фольгу можно преимущественно осуществлять при температуре, равной 100 градусам Цельсия или ниже.

Способ может включать нанесение герметика или слоя герметика на металлическую фольгу до оборачивания металлической фольги поверх полимерного корпуса капсулы. Герметик или слой герметика может быть нанесен на металлическую фольгу до этапа оборачивания с образованием обернутой капсулы. Металлическая фольга и слой герметика могут образовывать ламинированный материал, который может быть обернут поверх капсулы. Ламинированный материал из герметика и металлической фольги может иметь толщину или постоянную толщину в диапазоне от приблизительно 5 микрометров до приблизительно 25 микрометров или от приблизительно 10 микрометров до приблизительно 20 микрометров.

Затем обернутая капсула может быть нагрета до температуры выше температуры плавления слоя герметика с образованием герметичного барьера, окружающего капсулу. После того как герметик заранее нанесен на поверхность фольги, процесс герметизации можно преимущественно осуществить путем приведения обернутой капсулы в контакт с горячими поверхностями, горячим воздухом или путем индукционного нагрева.

Высокобарьерная капсула может использоваться в ингаляционных устройствах, имеющих полость для капсулы. Направление потока воздуха через полость для капсулы ингаляционного устройства может приводить к вращению находящейся в ней высокобарьерной капсулы во время вдыхания и потребления. Высокобарьерная капсула может заключать в себе частицы, содержащие никотин (также именуемые «никотиновым порошком» или «никотиновыми частицами») и, при необходимости, частицы, содержащие вкусоароматическое вещество (также именуемые «вкусоароматическими частицами»). Эти частицы могут быть гигроскопичны, и при контакте влаги или воды с этими частицами может происходить пагубная агломерация или слипание этих частиц друг с другом. Вращение проколотой высокобарьерной капсулы может приводить к суспендированию и аэрозолизации никотиновых частиц, выделяющихся из проколотой высокобарьерной капсулы во вдыхаемый воздух, проходящий через ингаляционное устройство. Частицы необязательного вкусоароматического вещества могут быть больше, чем никотиновые частицы, и могут способствовать транспортировке никотиновых частиц в легкие пользователя, тогда как частицы вкусоароматического вещества предпочтительно остаются в полости рта или щечной полости пользователя. Никотиновые частицы и, при необходимости, вкусоароматические частицы могут доставляться ингаляционным устройством при значениях скоростей вдыхания или потока воздуха, не превышающих значений скоростей вдыхания или потока воздуха в обычном режиме курения.

Термин «значение температуры плавления» относится к значению температуры при давлении в одну атмосферу или стандартном давлении, при которой материал начинает течь без приложения какой-либо внешней силы за исключением силы тяжести и давления воздуха.

Термин «восковой материал» относится к поддающемуся формовке низкомолекулярному веществу, которое может быть природного или синтетического происхождения. В рамках этой заявки воск представляет собой вещество или смесь веществ с молекулярной массой ниже приблизительно 7000 Дальтон. Примерами являются природные парафины, синтетические парафины, микрокристаллические воски, низкомолекулярные полимеры этилена, пропилена или их же сополимеры с акриловыми мономерами, такими как акриловая или метакриловая кислота и их сложные эфиры. Также известны различные сополимеры этилена, пропилена и винилацетата.

Другие воски природного происхождения включают карнаубский воск, канделильский воск, даммаровую смолу/воск, воск сахарного тростника, пальмитин, стеарин и т. п.

В отношении обсуждаемого выше нанесения, воск может представлять собой препарат из нескольких компонентов, таких как перечисленные компоненты, и может содержать меньшие количества высокомолекулярных полимеров для корректировки реологических и механических свойств состава.

Все научные и технические термины, используемые в данном документе, имеют значения, обычно используемые в данной области техники, если не указано иное. Приведенные в настоящем документе определения предназначены для облегчения понимания некоторых терминов, часто используемых в данном документе.

Используемые в данном документе формы единственного числа включают варианты осуществления со ссылками на множественное число, если из содержания явно не следует иное.

В данном документе союз «или» в целом используется в своем значении, включающем «и/или», если из содержания явно не следует иное. Термин «и/или» обозначает один или все из перечисленных элементов или комбинацию любых двух или более из перечисленных элементов.

Используемые в настоящем документе выражения «иметь», «имеющий», «включать», «включающий», «содержать», «содержащий» или им подобные используются в своем широком смысле и в целом означают «включающий без ограничения». Следует понимать, что выражения «состоящий по существу из», «состоящий из» и т.п. относятся к категории «содержащий» и т.п.

Слова «предпочтительный» и «предпочтительно» относятся к тем вариантам осуществления настоящего изобретения, которые способны обеспечивать определенные преимущества при определенных условиях. Тем не менее, другие варианты осуществления также могут быть предпочтительными при тех же или при других обстоятельствах. Кроме того, описание одного или более предпочтительных вариантов осуществления не означает, что другие варианты осуществления не являются применимыми, и не предназначено для исключения других вариантов осуществления из объема настоящего изобретения, включая формулу изобретения.

Это изобретение относится к высокобарьерной капсуле, заключающей в себе порошок. Высокобарьерная капсула покрыта металлической фольгой и слоем герметика. Металлическая фольга и слой герметика взаимодействуют для подавления переноса воды или влаги к содержимому высокобарьерной капсулы.

Высокобарьерное капсульное изделие содержит полимерный корпус, проходящий вдоль продольной оси от первого конца до второго конца и определяющий полость капсулы, заключающую в себе порошок. Металлическая фольга и слой герметика покрывают внешнюю поверхность полимерного корпуса.

Корпус капсулы может быть выполнен из полимерного материала. Полимерный материал может представлять собой гидроксипропилметилцеллюлозу (HPMC). Капсула может представлять собой капсулу размера от 1 до 4 или капсулу размера 3. Полимерный корпус может определять форму цилиндра с выпуклыми закругленными концами. Полимерный корпус может иметь единую толщину стенки в диапазоне от приблизительно 75 микрометров до приблизительно 120 микрометров или от приблизительно 85 микрометров до приблизительно 110 микрометров. Полимерный корпус может иметь значение продольной длины от первого конца до второго конца в диапазоне от приблизительно 14 миллиметров до приблизительно 22 миллиметров или от приблизительно 15 миллиметров до приблизительно 20 миллиметров. Полимерный корпус может иметь значение внешнего диаметра в диапазоне от приблизительно 4,5 миллиметра до приблизительно 10 миллиметров или от приблизительно 5,5 миллиметра до приблизительно 6,5 миллиметра.

Высокобарьерное капсульное изделие может содержать слой герметика, контактирующий с металлической фольгой, и металлическую фольгу, отделяющую слой герметика от полимерного корпуса. Металлическая фольга может полностью покрывать полимерный корпус. Слой герметика может полностью покрывать металлическую фольгу. Металлическая фольга может быть обернута поверх первого конца и второго конца полимерного корпуса. Первый конец может образовывать полусферическую поверхность, и второй конец может образовывать полусферическую поверхность. При обертывании металлической фольги поверх первого полусферического конца и второго полусферического конца могут образовываться криволинейные каналы для воздуха, которые взаимодействуют с вдыхаемым воздухом, улучшая аэродинамику высокобарьерной капсулы и характеристики вращения или кручения в процессе потребления.

Капсульное изделие может содержать слой герметика, контактирующий с металлической фольгой, и при этом слой герметика отделяет металлическую фольгу от полимерного корпуса. Слой герметика может полностью покрывать полимерный корпус. Металлическая фольга может полностью покрывать слой герметика. Металлическая фольга может быть обернута поверх первого конца и второго конца полимерного корпуса. Первый конец может образовывать полусферическую поверхность, и второй конец может образовывать полусферическую поверхность. При обертывании металлической фольги поверх первого полусферического конца и второго полусферического конца могут образовываться криволинейные каналы для воздуха, которые взаимодействуют с вдыхаемым воздухом, улучшая аэродинамику высокобарьерной капсулы и характеристики вращения или кручения в процессе потребления. Слой герметика может обеспечивать адгезию металлической фольги к полимерному корпусу.

Капсульное изделие может содержать слой герметика, контактирующий с металлической фольгой и отделяющий металлическую фольгу от полимерного корпуса, и второй слой герметика, контактирующий с металлической фольгой, и при этом металлическая фольга отделяет слой герметика от второго слоя герметика. Слой герметика может полностью покрывать полимерный корпус. Металлическая фольга может полностью покрывать слой герметика. Металлическая фольга может быть обернута поверх первого конца и второго конца полимерного корпуса. Первый конец может образовывать полусферическую поверхность, и второй конец может образовывать полусферическую поверхность. При обертывании металлической фольги поверх первого полусферического конца и второго полусферического конца могут образовываться криволинейные каналы для воздуха, которые взаимодействуют с вдыхаемым воздухом, улучшая аэродинамику высокобарьерной капсулы и характеристики вращения или кручения в процессе потребления. Слой герметика может обеспечивать адгезию металлической фольги к полимерному корпусу.

Полимерный корпус капсульного изделия может определять форму цилиндра с выпуклыми закругленными концами, и металлическая фольга и слой герметика определяют форму цилиндра с выпуклыми закругленными концами. Металлическая фольга и слой герметика, повторяющие внешнюю форму капсулы, могут поддерживать аэродинамику капсулы и позволять высокобарьерной капсуле крутиться или вращаться во время потребления, что является преимуществом.

Слой герметика капсульного изделия может иметь температуру плавления от приблизительно 100 градусов Цельсия или меньше или в диапазоне от приблизительно 40 градусов Цельсия до приблизительно 80 градусов Цельсия. Порошок, заключенный в полости капсулы, может разлагаться при температурах выше 100 градусов Цельсия или выше 80 градусов Цельсия, соответственно, нанесение жидкого или текучего герметика на капсулу или металлическую фольгу можно преимущественно осуществлять при температуре, равной 100 градусам Цельсия или ниже.

Слой герметика капсульного изделия может иметь толщину от приблизительно 2 микрометров до приблизительно 15 микрометров или от приблизительно 3 микрометров до приблизительно 10 микрометров. Толщина герметика менее 15 микрометров или менее 10 микрометров может поддерживать аэродинамику капсулы и позволять высокобарьерной капсуле крутиться или вращаться в процессе потребления, и в то же время взаимодействует с металлической фольгой с образовыванием герметичного барьера вокруг полости капсулы.

Слой герметика капсульного изделия может содержать восковые материалы, сложные алифатические полиэфиры и смеси с парафиновым воском, предпочтительно наносимые из водной дисперсии. Слой герметика капсульного изделия может содержать сложные эфиры целлюлозы и смеси с парафиновым воском, предпочтительно наносимые из водной дисперсии. Слой герметика капсульного изделия может быть приготовлен из дисперсий в органическом растворителе производных целлюлозы (сложных эфиров, эфиров или нитратов) и парафина. Слой герметика капсульного изделия может содержать препараты на основе растительного воска (такого как карнаубский воск, канделильский воск, даммаровая смола/воск, воск сахарного тростника, пальмитин, стеарин и т.п.). Этот слой герметика может быть получен посредством дисперсионного покрытия, нанесения из растворов, покрытия методом горячего расплава или экструзионного покрытия.

Слой герметика капсульного изделия может содержать вещества, улучшающие адгезию, такие как полимеры или материал, содержащий функциональные группы карбоновых кислот, или другие вещества, такие как вещества, препятствующие слипанию, и вещества, улучшающие адгезию.

Специалист сможет адаптировать препараты для слоя герметика капсульного изделия для улучшения адгезии к полимерному корпусу или металлической фольге, корректировки температуры плавления и обеспечения биоразлагаемости или компостируемости.

Слой герметика капсульного изделия может содержать восковой материал. Слой герметика капсульного изделия может содержать микрокристаллический воск. Восковые материалы могут представлять собой материал пищевого класса безопасности, а также могут представлять собой биоразлагаемые материалы.

Такие вещества, как микрокристаллические воски, также могут быть окислены для усиления адгезии к другим полярным субстратам.

Металлическая фольга капсульного изделия может иметь толщину в диапазоне от приблизительно 2 микрометров до приблизительно 10 микрометров или от приблизительно 4 микрометров до приблизительно 8 микрометров. Толщина металлической фольги менее 10 микрометров или менее 8 микрометров может поддерживать аэродинамику капсулы и позволять высокобарьерной капсуле крутиться или вращаться в процессе потребления, и в то же время взаимодействует с металлической фольгой с образовыванием герметичного барьера вокруг полости капсулы. Присутствие отверстий или микроотверстий в этой металлической фольге может быть следствием процессов изготовления или сборки изделия.

Металлическая фольга капсульного изделия может содержать алюминиевую фольгу. Алюминиевая фольга может представлять собой материал пищевого класса безопасности, а также может представлять собой биоразлагаемые материалы.

Металлическая фольга, слой герметика и необязательный второй слой герметика капсульного изделия могут взаимодействовать с образованием барьера для влаги или герметичного барьера, окружающего полимерный корпус или полость капсулы. Было обнаружено, что объединение металлической фольги со слоем герметика образует барьер для влаги или герметичный барьер, который может превосходить суммарный барьерный эффект каждого слоя по отдельности, и одновременно имеет меньшую толщину и поддерживает аэродинамику капсулы и позволяет высокобарьерной капсуле крутиться или вращаться в процессе потребления, и в то же время взаимодействует с металлической фольгой с образованием барьера для влаги или герметичного барьера вокруг полости капсулы, что является преимуществом.

Металлическая фольга и слой герметика капсульного изделия могут иметь общую толщину в диапазоне от приблизительно 4 микрометров до приблизительно 15 микрометров, или от приблизительно 8 микрометров до приблизительно 12 микрометров, или составляющую приблизительно 10 микрометров.

Металлическая фольга, слой герметика и второй слой герметика капсульного изделия могут иметь общую толщину в диапазоне от приблизительно 6 микрометров до приблизительно 25 микрометров, или от приблизительно 10 микрометров до приблизительно 20 микрометров, или составляющую приблизительно 15 микрометров.

Настоящее изобретение относится к способу образования герметичной капсулы, включающему этапы: оборачивания капсулы металлической фольгой; и окружения капсулы слоем герметика с образованием герметичного барьера, окружающего капсулу. Высокобарьерная капсула для порошка может характеризоваться водопроницаемостью, измеренной при 38 градусах Цельсия и 90% относительной влажности, составляющей 0,02 грамма/(м2 x день) или ниже.

Способ может включать окружение металлической фольги слоем герметика. Окружение или покрытие металлической фольги слоем герметика может быть полезно для заполнения отверстий или трещин, образующихся в ходе процесса оборачивания металлической фольги.

Способ может включать окружение капсулы слоем герметика, а затем оборачивание слоя герметика металлической фольгой. Внешний слой металлической фольги на поверхности может обеспечивать внешнюю поверхность с низким коэффициентом трения даже при повышенных температурах окружающей среды. Слой герметика может прикреплять металлическую фольгу к полимерному слою капсулы, заполняя отверстия или микроотверстия, присутствующие в металлической фольге.

Способ может включать окружение капсулы слоем герметика, а затем оборачивание слоя герметика металлической фольгой, и затем окружение металлической фольги вторым слоем герметика. Прослаивание металлической фольги между двумя слоями герметика может улучшать барьерные свойства, в то же время заполняя отверстия и трещины, образующиеся в ходе процесса оборачивания металлической фольги, вторым слоем герметика, что является преимуществом.

Способ может включать окружение капсулы слоем герметика при температуре от приблизительно 100 градусов Цельсия или ниже или в диапазоне от приблизительно 40 градусов Цельсия до приблизительно 80 градусов Цельсия. Порошок, заключенный в полости капсулы, может разлагаться при температурах выше 100 градусов Цельсия или выше 80 градусов Цельсия, соответственно, нанесение жидкого или текучего герметика на капсулу или металлическую фольгу можно преимущественно осуществлять при температуре, равной 100 градусам Цельсия или ниже.

Высокобарьерная капсула может заключать в себе фармацевтически активные частицы. Например, фармацевтически активные частицы могут содержать никотин. Фармацевтически активные частицы могут иметь масс-медианный аэродинамический диаметр приблизительно 5 микрометров или меньше, или в диапазоне от приблизительно 0,5 микрометра до приблизительно 4 микрометров, или в диапазоне от приблизительно 1 микрометра до приблизительно 3 микрометров.

Высокобарьерная капсула может заключать в себе никотиновые частицы, содержащие никотин (также именуемые «никотиновым порошком» или «частицами никотина») и, при необходимости, частицы, содержащие вкусоароматическое вещество (также именуемые «вкусоароматическими частицами»). Указанная высокобарьерная капсула может заключать в себе заданное количество никотиновых частиц и, при необходимости, вкусоароматических частиц. Высокобарьерная капсула может заключать в себе достаточное количество никотиновых частиц для обеспечения по меньшей мере 2 вдыханий или «затяжек», по меньшей мере приблизительно 5 вдыханий или «затяжек» или по меньшей мере приблизительно 10 вдыханий или «затяжек». Высокобарьерная капсула может заключать в себе достаточное количество никотиновых частиц для обеспечения от приблизительно 5 до приблизительно 50 вдыханий или «затяжек» или от приблизительно 10 до приблизительно 30 вдыханий или «затяжек». Каждое вдыхание, или «затяжка», может доставлять от приблизительно 0,1 мг до приблизительно 3 мг частиц никотина в легкие пользователя, или от приблизительно 0,2 мг до приблизительно 2 мг частиц никотина в легкие пользователя, или приблизительно 1 мг частиц никотина в легкие пользователя.

Никотиновые частицы могут иметь любую пригодную концентрацию никотина, обусловленную конкретным используемым составом. Никотиновые частицы могут содержать по меньшей мере от приблизительно 1 масс. % никотина до приблизительно 30 масс. % никотина, от приблизительно 2 масс. % до приблизительно 25 масс. % никотина, от приблизительно 3 масс. % до приблизительно 20 масс. % никотина, от приблизительно 4 масс. % до приблизительно 15 масс. % никотина или от приблизительно 5 масс. % до приблизительно 13 масс. % никотина. Предпочтительно каждое вдыхание или «затяжка» может доставлять в легкие пользователя от приблизительно 50 до приблизительно 150 микрограмм никотина.

Высокобарьерная капсула может удерживать или заключать в себе по меньшей мере приблизительно 5 мг никотиновых частиц или по меньшей мере приблизительно 10 мг никотиновых частиц. Капсула может удерживать или заключать в себе менее чем приблизительно 900 мг никотиновых частиц, менее чем приблизительно 300 мг никотиновых частиц или менее чем 150 мг никотиновых частиц. Капсула может удерживать или заключать в себе от приблизительно 5 мг до приблизительно 300 мг никотиновых частиц или от приблизительно 10 мг до приблизительно 200 мг никотиновых частиц.

Если ароматические частицы смешаны или объединены в капсуле с никотиновыми частицами, то эти ароматические частицы могут присутствовать в количестве, которое обеспечивает доставку пользователю требуемого аромата при каждом вдыхании или «затяжке».

Никотиновые частицы могут иметь любое подходящее распределение по размеру для ингаляционной доставки преимущественно в легкие пользователя. Капсула может содержать частицы, отличные от никотиновых частиц. Никотиновые частицы и другие частицы могут образовывать порошковую систему.

Высокобарьерная капсула может удерживать или заключать в себе по меньшей мере приблизительно 5 мг сухого порошка (также именуемого порошковой системой) или по меньшей мере приблизительно 10 мг сухого порошка. Высокобарьерная капсула может удерживать или заключать в себе меньше приблизительно 900 мг сухого порошка, или меньше приблизительно 300 мг сухого порошка, или меньше приблизительно 150 мг сухого порошка. Высокобарьерная капсула может удерживать или заключать в себе от приблизительно 5 мг до приблизительно 300 мг сухого порошка, или от приблизительно 10 мг до приблизительно 200 мг сухого порошка, или от приблизительно 25 мг до приблизительно 100 мг сухого порошка.

Указанный сухой порошок или порошковая система может иметь по меньшей мере приблизительно 40 масс. %, по меньшей мере приблизительно 60 масс. % или по меньшей мере приблизительно 80 масс. % порошковой системы, содержащейся в виде никотиновых частиц, имеющих размер частиц приблизительно 5 микрометров или менее или в диапазоне от приблизительно 1 микрометра до приблизительно 5 микрометров.

Частицы, содержащие никотин, могут иметь масс-медианный аэродинамический диаметр приблизительно 5 микрометров или менее, в диапазоне от приблизительно 0,5 микрометра до приблизительно 4 микрометров, в диапазоне от приблизительно 1 микрометра до приблизительно 3 микрометров или в диапазоне от приблизительно 1,5 микрометра до приблизительно 2,5 микрометра. Масс-медианный аэродинамический диаметр предпочтительно измеряют каскадным импактором.

Частицы, содержащие ароматизирующее вещество, могут иметь масс-медианный аэродинамический диаметр, составляющий приблизительно 20 микрометров или более, приблизительно 50 микрометров или более, находящийся в диапазоне от приблизительно 50 до приблизительно 200 микрометров или от приблизительно 50 до приблизительно 150 микрометров. Масс-медианный аэродинамический диаметр предпочтительно измеряют каскадным импактором.

Никотин в виде порошковой системы или никотиновых частиц может представлять собой фармацевтически приемлемое свободное никотин-основание, никотиновую соль или гидрат никотиновой соли. Подходящие никотиновые соли или гидраты никотиновой соли включают, например, пируват никотина, цитрат никотина, аспартат никотина, лактат никотина, битартрат никотина, салицилат никотина, фумарат никотина, монопируват никотина, глутамат никотина или гидрохлорид никотина. Соединение, объединяемое с никотином с образованием соли или гидрата соли, может быть выбрано на основе его ожидаемого фармакологического эффекта.

Никотиновые частицы предпочтительно содержат аминокислоту. Предпочтительно аминокислота может представлять собой лейцин, такой как L-лейцин. Благодаря обеспечению аминокислоты, такой как L-лейцин, вместе с частицами, содержащими никотин, обеспечивается возможность снижения сил адгезии частиц, содержащих никотин, и возможность снижения притяжения между никотиновыми частицами, и таким образом уменьшается агломерация никотиновых частиц. Аналогичным образом, обеспечивается также возможность снижения сил адгезии к частицам, содержащим ароматизатор, и таким образом уменьшается агломерация никотиновых частиц с ароматическими частицами. Таким образом обеспечивается возможность того, что описанная в данном документе порошковая система будет представлять собой свободнотекучий материал и иметь стабильный относительный размер частиц каждого компонента порошка даже при смешении никотиновых частиц и вкусоароматических частиц.

Предпочтительно никотин может представлять собой поверхностно модифицированную никотиновую соль, в которой частицы никотиновой соли представляют собой частицы с покрытием или композитные частицы. Предпочтительный материал покрытия или композитный материал может представлять собой L-лейцин. Одна особо полезная никотиновая частица может представлять собой битартрат никотина с L-лейцином.

Порошковая система может содержать множество ароматических частиц. Ароматические частицы могут иметь любое подходящее распределение по размерам для ингаляционной доставки выборочно в ротовую или буккальную полость пользователя.

Частицы, содержащие вкусоароматическое вещество, могут содержать соединение для уменьшения сил адгезии или поверхностной энергии и результирующей агломерации. Поверхность частиц ароматизирующего вещества может быть модифицирована посредством соединения для уменьшения адгезии с образованием покрытых частиц ароматизирующего вещества. Одним предпочтительным соединением для уменьшения адгезии является стеарат магния. Благодаря обеспечению соединения для уменьшения адгезии, такого как стеарат магния, вместе с ароматическими частицами, в частности, в виде покрытия ароматических частиц, обеспечивается возможность уменьшения сил адгезии частиц, содержащих ароматизатор, и возможность уменьшения притяжения между ароматическими частицами, и таким образом уменьшается агломерация ароматических частиц. Таким образом обеспечивается также возможность уменьшения агломерации вкусоароматических частиц с никотиновыми частицами. Таким образом обеспечивается возможность того, что описанная в данном документе порошковая система будет иметь стабильный относительный размер частиц, содержащих никотин, и частиц, содержащих ароматизатор, даже при смешении никотиновых частиц и ароматических частиц. Порошковая система предпочтительно может быть свободнотекучей.

Никотиновые частицы и ароматические частицы могут быть смешаны в любом подходящем относительном количестве, чтобы ароматические частицы ощущались пользователем при потреблении никотиновых частиц. Предпочтительно никотиновые частицы и вкусоароматические частицы составляют по меньшей мере приблизительно 90 масс.%, по меньшей мере приблизительно 95 масс. %, по меньшей мере приблизительно 99 масс. % или 100 масс. % от общей массы порошковой системы.

Настоящее изобретение определено в формуле изобретения. Однако ниже представлен не являющийся исчерпывающим перечень неограничивающих примеров. Любой один или более из признаков этих примеров можно комбинировать с любым одним или более признаками другого примера, варианта осуществления или аспекта, описанного в данном документе.

Пример 1: Капсульное изделие, содержащее: полимерный корпус, проходящий вдоль продольной оси от первого конца до второго конца и определяющий полость капсулы, заключающую в себе порошок; и металлическую фольгу и слой герметика, покрывающие внешнюю поверхность полимерного корпуса.

Пример 2: Капсульное изделие согласно примеру 1, причем слой герметика контактирует с металлической фольгой, и металлическая фольга отделяет слой герметика от полимерного корпуса.

Пример 3: Капсульное изделие согласно примеру 1, причем слой герметика контактирует с металлической фольгой, и слой герметика отделяет металлическую фольгу от полимерного корпуса.

Пример 4: Капсульное изделие согласно примеру 1, причем слой герметика контактирует с металлической фольгой, и слой герметика отделяет металлическую фольгу от полимерного корпуса, и второй слой герметика контактирует с металлической фольгой, и металлическая фольга отделяет слой герметика от второго слоя герметика.

Пример 5: Капсульное изделие согласно любому из предыдущих примеров, причем полимерный корпус определяет форму цилиндра с выпуклыми закругленными концами, и металлическая фольга и слой герметика определяют форму цилиндра с выпуклыми закругленными концами.

Пример 6: Капсульное изделие согласно любому из предыдущих примеров, причем слой герметика имеет температуру плавления приблизительно 100 градусов Цельсия или ниже или в диапазоне от приблизительно 40 градусов Цельсия до приблизительно 80 градусов Цельсия.

Пример 7: Капсульное изделие согласно любому из предыдущих примеров, причем слой герметика имеет толщину от приблизительно 2 микрометров до приблизительно 15 микрометров или от приблизительно 3 микрометров до приблизительно 10 микрометров.

Пример 8: Капсульное изделие согласно любому из предыдущих примеров, причем слой герметика содержит восковой материал.

Пример 9: Капсульное изделие согласно любому из предыдущих примеров, причем слой герметика содержит микрокристаллический воск.

Пример 10: Капсульное изделие согласно любому из предыдущих примеров, причем металлическая фольга имеет толщину в диапазоне от приблизительно 2 микрометров до приблизительно 10 микрометров или от приблизительно 4 микрометров до приблизительно 8 микрометров.

Пример 11: Капсульное изделие согласно любому из предыдущих примеров, причем металлическая фольга содержит алюминиевую фольгу.

Пример 12: Капсульное изделие согласно любому из предыдущих примеров, причем слой герметика и металлическая фольга взаимодействуют с образованием герметичного барьера, окружающего полимерный корпус или полость капсулы.

Пример 13: Способ образования герметичной капсулы, включающий этапы: оборачивания капсулы металлической фольгой; и окружения капсулы слоем герметика с образованием герметичного барьера, окружающего капсулу.

Пример 14: Способ согласно примеру 13, причем этап окружения включает окружение металлической фольги слоем герметика.

Пример 15: Способ согласно примеру 13, причем этап окружения включает окружение капсулы слоем герметика, а затем оборачивание слоя герметика металлической фольгой.

Пример 16. Способ согласно примеру 15, причем этап окружения включает окружение металлической фольги вторым слоем герметика.

Пример 17: Способ согласно примерам 13-16, дополнительно включающий нанесение слоя герметика на металлическую фольгу до этапа оборачивания с образованием обернутой капсулы.

Пример 18: Способ согласно примеру 17, дополнительно включающий нагревание обернутой капсулы до температуры выше температуры плавления слоя герметика с образованием герметичного барьера, окружающего капсулу.

Далее примеры будут дополнительно описаны со ссылкой на чертежи, на которых:

фиг. 1 - схематическое изображение в перспективе иллюстративной высокобарьерной капсулы;

фиг. 2 - схематическое изображение в поперечном сечении иллюстративной высокобарьерной капсулы по линии 2-2, показанной на фиг. 1;

фиг. 3 - схематическое изображение другой иллюстративной высокобарьерной капсулы по линии 2-2, показанной на фиг. 1; и

фиг. 4 - схематическое изображение другой иллюстративной высокобарьерной капсулы по линии 2-2, показанной на фиг. 1.

Схематические чертежи не обязательно выполнены в масштабе, и они представлены для целей иллюстрации, а не для ограничения. На чертежах изображены один или более аспектов, описанных в настоящем изобретении. Тем не менее, следует понимать, что и другие аспекты, не изображенные на чертежах, входят в объем и сущность настоящего изобретения.

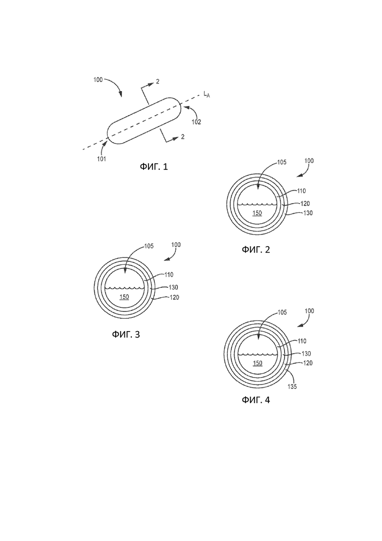
Фиг. 1 представляет собой схематическое изображение в перспективе иллюстративной высокобарьерной капсулы 100. На фиг. 2 - фиг. 4 представлены альтернативные конфигурации высокобарьерной капсулы 100. Высокобарьерная капсула 100 содержит полимерный корпус 110, проходящий вдоль продольной оси LA от первого конца 101 до второго конца 102, определяющий полость 105 капсулы, заключающую в себе порошок 150. Металлическая фольга 120 и слой 130 герметика покрывают внешнюю поверхность полимерного корпуса 110.

Фиг. 2 представляет собой схематическое изображение в поперечном сечении иллюстративной высокобарьерной капсулы 100. Слой 130 герметика контактирует с металлической фольгой 120, и металлическая фольга 120 отделяет слой 130 герметика от полимерного корпуса 110.

Фиг. 3 представляет собой схематическое изображение в поперечном сечении другой иллюстративной высокобарьерной капсулы 100. Слой 130 герметика контактирует с металлической фольгой 120, и слой 130 герметика отделяет металлическую фольгу 120 от полимерного корпуса 110.

Фиг. 4 представляет собой схематическое изображение в поперечном сечении еще одной иллюстративной высокобарьерной капсулы 100. Слой 130 герметика контактирует с металлической фольгой 120, и слой 130 герметика отделяет металлическую фольгу 130 от полимерного корпуса 110, и второй слой 135 герметика контактирует с металлической фольгой 120, и металлическая фольга 120 отделяет слой 130 герметика от второго слоя 135 герметика.

Для целей настоящего описания и приложенной формулы изобретения, за исключением случаев, когда указано иное, все числа, выражающие величины, количества, процентные доли и так далее, следует понимать как модифицированные во всех случаях термином «приблизительно». Кроме того, все диапазоны включают раскрытые точки минимума и максимума и любые промежуточные диапазоны внутри них, которые могут быть, а могут и не быть конкретно выражены в численной форме в данном документе. Следовательно, в данном контексте число А следует понимать как А ±2% от А. В этом же контексте число А может рассматриваться как включающее численные значения, находящиеся в пределах обычной стандартной ошибки измерения свойства, которая модифицирует число А. В некоторых случаях число А при использовании в приложенной формуле изобретения может отклоняться на выраженные выше в численной форме процентные доли при условии, что величина, на которую отклоняется А, существенно не влияет на основную и новую характеристику (характеристики) заявленного изобретения. Кроме того, все диапазоны включают раскрытые точки минимума и максимума и любые промежуточные диапазоны внутри них, которые могут быть, а могут и не быть конкретно выражены в численной форме в данном документе.

Похожие патенты RU2831725C1

название год авторы номер документа
МУНДШТУК ИНГАЛЯТОРА С АРОМАТИЧЕСКИМ ЭЛЕМЕНТОМ 2021
  • Батиста, Рюи Нуно
RU2833348C1
ПРОКАЛЫВАЮЩЕЕ ВСПОМОГАТЕЛЬНОЕ УСТРОЙСТВО ДЛЯ ИЗДЕЛИЯ В ВИДЕ ИНГАЛЯТОРА И ИНГАЛЯЦИОННОЙ СИСТЕМЫ 2018
  • Зюбер, Жерар
  • Уоллер, Юдит
  • Моэйи, Маша Бертин
RU2778729C2
ИНГАЛЯЦИОННОЕ ИЗДЕЛИЕ С ЗАКРЫВАЮЩИМ ЭЛЕМЕНТОМ ДЛЯ ПОТОКА ВОЗДУХА 2018
  • Бюлер, Фредерик Юлисс
RU2761750C2
МУНДШТУК ИНГАЛЯТОРА С ОТДЕЛЬНЫМ КАНАЛОМ ДЛЯ АРОМАТИЗИРОВАННОГО ВОЗДУХА 2021
  • Батиста, Рюи Нуно
RU2832975C1
РАСХОДНОЕ ИЗДЕЛИЕ С НИКОТИНОВЫМ ПОРОШКОМ 2018
  • Бюлер, Фредерик Юлисс
RU2768565C2
ИНГАЛЯТОР СО СКРУЧЕННЫМ ДИСТАЛЬНЫМ КОНЦЕВЫМ ЭЛЕМЕНТОМ 2020
  • Кампителли, Дженнаро
  • Кудерк, Гаэтан
RU2831296C1
ИНГАЛЯЦИОННАЯ СИСТЕМА ДЛЯ НИКОТИНА 2017
  • Зюбер Жерар
RU2734847C2
СПОСОБ И УСТРОЙСТВО ДЛЯ ИЗГОТОВЛЕНИЯ ИНГАЛЯЦИОННОГО ИЗДЕЛИЯ 2021
  • Драгетти, Фиоренцо
RU2808766C1
ИНГАЛЯТОР С ГРАНИЧНЫМ ЭЛЕМЕНТОМ 2018
  • Уоллер, Юдит
  • Моэйи, Маша Бертин
RU2777583C2
ИНГАЛЯТОР С ЗАВИХРЯЮЩЕЙ КОНЦЕВОЙ ВСТАВКОЙ 2017
  • Грант, Кристофер Джон
  • Зубер, Жерар
  • Санна, Даниеле
  • Секи, Джанлука
  • Уоллер, Юдит
  • Мелончелли, Ники
RU2753681C2

Иллюстрации к изобретению RU 2 831 725 C1

Реферат патента 2024 года КАПСУЛЬНОЕ ИЗДЕЛИЕ ДЛЯ ИНГАЛЯЦИОННЫХ УСТРОЙСТВ И СПОСОБ ЕГО ОБРАЗОВАНИЯ

Группа изобретений относится к области генерирующих аэрозоль изделий, а именно ингаляционных устройств с полостью для капсулы. Капсульное изделие для ингаляционных устройств содержит полимерный корпус, проходящий вдоль продольной оси от первого конца до второго конца и определяющий полость капсулы, заключающую в себе порошок; металлическую фольгу и слой герметика, покрывающие внешнюю поверхность полимерного корпуса. Слой герметика и металлическая фольга взаимодействуют с образованием герметичного барьера, покрывающего полимерный корпус или полость капсулы. Обеспечивается предотвращение попадания воды или влаги в полость капсулы. 2 н. и 13 з.п. ф-лы, 4 ил.

Формула изобретения RU 2 831 725 C1

1. Капсульное изделие для ингаляционных устройств, содержащее:

полимерный корпус, проходящий вдоль продольной оси от первого конца до второго конца и определяющий полость капсулы, заключающую в себе порошок; и

металлическую фольгу и слой герметика, покрывающие внешнюю поверхность полимерного корпуса,

причем слой герметика и металлическая фольга взаимодействуют с образованием герметичного барьера, покрывающего полимерный корпус или полость капсулы.

2. Капсульное изделие по п. 1, в котором слой герметика контактирует с металлической фольгой, и металлическая фольга отделяет слой герметика от полимерного корпуса.

3. Капсульное изделие по п. 1, в котором слой герметика контактирует с металлической фольгой, и слой герметика отделяет металлическую фольгу от полимерного корпуса.

4. Капсульное изделие по п. 1, в котором слой герметика контактирует с металлической фольгой, и слой герметика отделяет металлическую фольгу от полимерного корпуса, и второй слой герметика контактирует с металлической фольгой, и металлическая фольга отделяет слой герметика от второго слоя герметика.

5. Капсульное изделие по любому из предыдущих пунктов, в котором полимерный корпус определяет форму цилиндра с выпуклыми закругленными концами, и металлическая фольга и слой герметика определяют форму цилиндра с выпуклыми закругленными концами.

6. Капсульное изделие по любому из предыдущих пунктов, в котором слой герметика имеет температуру плавления 100°С или ниже или в диапазоне от 40°С до 80°С.

7. Капсульное изделие по любому из предыдущих пунктов, в котором слой герметика имеет толщину от 2 микрометров до 15 микрометров или от 3 микрометров до 10 микрометров.

8. Капсульное изделие по любому из предыдущих пунктов, в котором слой герметика содержит восковой материал.

9. Капсульное изделие по любому из предыдущих пунктов, в котором слой герметика содержит микрокристаллический воск.

10. Капсульное изделие по любому из предыдущих пунктов, в котором металлическая фольга имеет толщину в диапазоне от 2 микрометров до 10 микрометров или от 4 микрометров до 8 микрометров.

11. Капсульное изделие по любому из предыдущих пунктов, в котором металлическая фольга содержит алюминиевую фольгу.

12. Способ образования герметичной капсулы для ингаляционных устройств, включающий этапы:

оборачивания капсулы металлической фольгой; и

окружения капсулы слоем герметика с образованием герметичного барьера, окружающего капсулу.

13. Способ по п. 12, в котором этап окружения включает окружение металлической фольги слоем герметика.

14. Способ по п. 12, в котором этап окружения включает окружение капсулы слоем герметика, а затем оборачивание слоя герметика металлической фольгой.

15. Способ по п. 14, в котором этап окружения включает окружение металлической фольги вторым слоем герметика.

Документы, цитированные в отчете о поиске Патент 2024 года RU2831725C1

Станок для придания концам круглых радиаторных трубок шестигранного сечения 1924
  • Гаркин В.А.
SU2019A1
КАПСУЛЫ ДЛЯ ИНГАЛЯТОРОВ 2006
  • Лансессеэр Дидье
  • Хохрайнер Дитер
  • Шиве Йорг
  • Циренберг Бернд
RU2412722C2
Центробежный сгуститель 1935
  • Щелковский В.И.
SU50845A1
Станок для придания концам круглых радиаторных трубок шестигранного сечения 1924
  • Гаркин В.А.
SU2019A1
Многоступенчатая активно-реактивная турбина 1924
  • Ф. Лезель
SU2013A1

RU 2 831 725 C1

Авторы

Ланж, Росс

Негу, Кристиан

Лоренцетти, Чезаре

Даты

2024-12-12Публикация

2021-02-23Подача