Изобретение относится к области металлообработки и предназначено для повышения стойкости режущего диска и повышения качества обработанной поверхности в процессе фрикционного резания.
Известен способ чистовой обработки изделий (А.с. СССР №155742, МПК B24b; 67а. 10, B24b; 67а, 3130. Бюл. №13, 1963 г. Аналог), принцип работы которого заключается в том, что чистовую обработку изделий осуществляют вращающимся инструментом, создающим нагрев слоя металла в месте его контакта с изделием в результате возникающей теплоты трения с последующим удалением нагретого до жидкой - полужидкой фазы слоя металла из зоны обработки, при этом с целью повышения чистоты обработки, в качестве инструмента применяют твердосплавный круг.
Недостаток известного способа заключается в отсутствии системы охлаждения режущего диска.
Известен режущий диск (патент на изобретение Украина №30263 А МПК B23D 23/00, опубл. 15.11.2000. Бюл. №6-11. Аналог).
Изобретение относится к металлообрабатывающей промышленности и предназначено для предотвращения нароста, а также обеспечения контакта между заготовкой и режущим диском во время резания проката либо обработки плоских поверхностей.
Недостатком известного изобретения является отсутствие элементов, позволяющих снизить температуру в контактной зоне инструмента и заготовки, повысив тем самым стойкость инструмента.
Известен режущий диск с проточкой охлаждения (патент на изобретение Украина №25619 А МПК B23D 23/00, B23D 21/04, опубл. 25.12.1998. Бюл. №6. Аналог), состоящий из корпуса и элементов его закрепления в шпинделе станка, при этом корпус диска имеет круговую проточку, частично заполненную охлаждающей жидкостью.
Недостатком такого изобретения является отсутствие циркуляции охлаждающей жидкости, что приведет к быстрому ее нагреву в процессе работы диска, в результате чего значительно снизится эффективность охлаждения.
Наиболее близким по технической сущности является шлифовальный круг с внутренним охлаждением и соответствующим держателем шлифовального круга (патент на изобретение Германия DE 3415498 A1, B23F 21/02, опубл. 29.11.1984, Прототип).
Изобретение относится к шлифовальному кругу, выполненному из сегментов с радиальными каналами в местах соединения сегментов и связанному с ним держателю шлифовального круга, отверстия которого ведут к указанным каналам.
Задачей изобретения является повышение эффективности смазочно-охлаждающей жидкости на границах между шлифовальным кругом и боковой поверхностью зуба и увеличение жесткости всей системы держатель шлифовального круга/шлифовальный круг.
Недостатком известного изобретения является высокий расход смазочно-охлаждающей жидкости.
Техническим результатом изобретения является повышение эффективности отвода тепла от контактной зоны в процессе фрикционного резания.
Это достигается тем, что диск для фрикционного резания с системой охлаждения, содержащий корпус, выполненный с возможностью закрепления в шпинделе станка, и расположенные на корпусе элементы для подачи и слива охлаждающей жидкости, связанные с внутренними каналами корпуса и с соответствующими внешними рукавами для соединения с насосом охлаждающей жидкости.
Отличием данного технического решения от прототипа является тот факт, что диск для фрикционного резания с системой охлаждения снабжен крышкой с у плотнительным кольцом, которая закреплена на передней торцовой поверхности корпуса с образованием внутренней полости, и дисковым элементом, который закреплен на центральной части корпуса со стороны упомянутой крышки с разделением упомянутой внутренней полости на две части, одна из которых связана с внутренним каналом подачи охлаждающей жидкости, а другая через кольцевой канал, выполненный в корпусе, связана с внутренним каналом слива охлаждающей жидкости, при этом упомянутые элементы для подачи и слива охлаждающей жидкости выполнены в виде колец с каналами для прохождения охлаждающей жидкости, которые установлены на корпусе посредством стопорных колец с уплотнительными кольцами и прокладками и посредством штуцеров соединены с упомянутыми внешними рукавами.
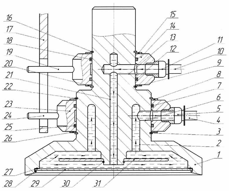
На фигуре представлена конструктивная схема диска для фрикционного резания с системой охлаждения в фронтальной проекции.
Изобретение содержит режущий диск 1, кольцевой канал 2, стопорные кольца 3, 9, 16, 22, 28, 30, рукава 4, 10, штуцеры 5, 11, каналы 6, 13, 21, уплотнительные кольца 7, 12, 18, 25, 27, прокладки 8, 15, 20, 26, кольца для подачи охлаждающей жидкости 14, 23, ограничитель 17, упоры 19, 24, крышку 29, дисковый элемент 31.
Принцип работы диска для фрикционного резания с системой охлаждения заключается в следующем. В процессе фрикционного резания, образованная температура негативно влияет на стойкость режущего инструмента и качество обработанной поверхности, в связи с этим разработан режущий диск 1 с системой охлаждения, которая содержит кольца для подачи охлаждающей жидкости 14, 23, закрепленные на корпусе (позиция на фигуре отсутствует) режущего диска 1, при помощи стопорных колец 3, 9, 16, 22, при этом герметичность обеспечивается уплотнительными кольцами 7, 12, 18, 25, и прокладками 8, 15, 20, 26. На кольцах для подачи охлаждающей жидкости 14, 23, закреплены штуцеры 5, 11, с рукавами 4, 10. Во избежание от проворачивания колец для подачи охлаждающей жидкости 14, 23 в процессе вращения режущего диска 1, предусмотрены упоры 19, 24, закрепленные на кольцах для подачи охлаждающей жидкости 14, 23, контактирующие с ограничителем 17. Для обеспечения необходимой циркуляции охлаждающей жидкости предусмотрен дисковый элемент 31 закрепленный на корпусе (позиция на фигуре отсутствует) режущего диска 1 при помощи стопорного кольца 30, в свою очередь, для герметичности системы предусмотрена крышка 29 с уплотнительным кольцом 27, закрепленная на торцовой поверхности режущего диска 1, при помощи стопорного кольца 28. Для подачи охлаждающей жидкости, а также ее циркуляции, конструкция содержит рукав 10 и штуцер 11 через которые в канал 13 и канал 21 подается охлаждающая жидкость, которая при помощи центробежной силы стремится к стенкам, расположенным в непосредственной близости с передней поверхностью режущего диска 1, затем через кольцевой канал 2 и канал 6, через штуцер 5 и рукав 4, охлаждающая жидкость поступает в емкость с насосом (на фигуре отсутствует), который обеспечивает ее циркуляцию.
Диск для фрикционного резания с системой охлаждения работает следующим образом. Для снижения температуры в контактной зоне инструмента и детали используют режущий диск, который содержит систему охлаждения, состоящую из колец для подачи охлаждающей жидкости, которые закрепляют на корпусе режущего диска при помощи стопорных колец, при этом герметичность установки обеспечивают с помощью уплотнительных колец и прокладок, затем на кольца для подачи охлаждающей жидкости устанавливают штуцеры с рукавами. Во избежание от проворачивания колец для подачи охлаждающей жидкости в процессе вращения режущего диска, используют упоры, которые закрепляют на кольцах для подачи охлаждающей жидкости, а на станке закрепляют ограничитель. Для обеспечения необходимой циркуляции охлаждающей жидкости используют дисковый элемент, который закрепляют на корпусе режущего диска при помощи стопорного кольца. Герметичность системы охлаждения обеспечивают также при помощи крышки с уплотнительным кольцом, которую закрепляют на торцовой поверхности режущего диска, при помощи стопорного кольца. Охлаждающая жидкость подается через рукав и штуцер в канал для подачи охлаждающей жидкости, которая при помощи центробежной силы стремится к стенкам, расположенным в непосредственной близости с передней поверхностью режущего диска, затем через кольцевой канал и канал для отбора, через штуцер и рукав, охлаждающая жидкость поступает в емкость с насосом, который обеспечивает ее циркуляцию.
| название | год | авторы | номер документа |
|---|---|---|---|
| Способ измерения температурных и силовых параметров в процессе резания при сверлении | 2022 |
|
RU2796967C1 |
| Устройство для подачи смазывающих технологических сред | 2021 |
|
RU2761401C1 |
| Способ измерения температурных и силовых параметров в процессе резания при сверлении | 2021 |
|
RU2765045C1 |
| Устройство для подачи смазывающих технологических сред | 2021 |
|
RU2760691C1 |
| Устройство для подачи смазывающей технологической среды | 2021 |
|
RU2772476C1 |
| Устройство для подачи смазывающей технологической среды | 2020 |
|
RU2734314C1 |
| Способ измерения температурных и силовых параметров процесса резания при сверлении | 2023 |
|
RU2812820C1 |
| Способ определения коэффициента трения смазочных материалов | 2021 |
|
RU2766943C1 |
| Способ измерения температурных и силовых параметров процесса резания при рассверливании | 2024 |
|
RU2838795C1 |
| Способ определения коэффициента трения смазочных материалов | 2022 |
|
RU2800944C1 |
Изобретение относится к области металлообработки и может быть использовано в процессе фрикционного резания. Диск содержит корпус, выполненный с возможностью закрепления в шпинделе станка, и расположенные на корпусе элементы для подачи и слива охлаждающей жидкости, связанные с внутренними каналами корпуса и с соответствующими внешними рукавами для соединения с насосом охлаждающей жидкости. При этом диск снабжен крышкой с уплотнительным кольцом, которая закреплена на передней торцовой поверхности корпуса с образованием внутренней полости, и дисковым элементом, который закреплен на центральной части корпуса со стороны упомянутой крышки с разделением упомянутой внутренней полости на две части, одна из которых связана с внутренним каналом подачи охлаждающей жидкости, а другая через кольцевой канал, выполненный в корпусе, связана с внутренним каналом слива охлаждающей жидкости, причем упомянутые элементы для подачи и слива охлаждающей жидкости выполнены в виде колец с каналами для прохождения охлаждающей жидкости, которые установлены на корпусе посредством стопорных колец с уплотнительными кольцами и прокладками и посредством штуцеров соединены с упомянутыми внешними рукавами. Использование изобретения позволяет повысить эффективность отвода тепла от контактной зоны резания, что способствует повышению стойкости режущего диска и качества обработанной поверхности. 1 ил.
Диск для фрикционного резания с системой охлаждения, содержащий корпус, выполненный с возможностью закрепления в шпинделе станка, и расположенные на корпусе элементы для подачи и слива охлаждающей жидкости, связанные с внутренними каналами корпуса и с соответствующими внешними рукавами для соединения с насосом охлаждающей жидкости, отличающийся тем, что он снабжен крышкой с уплотнительным кольцом, которая закреплена на передней торцовой поверхности корпуса с образованием внутренней полости, и дисковым элементом, который закреплен на центральной части корпуса со стороны упомянутой крышки с разделением упомянутой внутренней полости на две части, одна из которых связана с внутренним каналом подачи охлаждающей жидкости, а другая через кольцевой канал, выполненный в корпусе, связана с внутренним каналом слива охлаждающей жидкости, при этом упомянутые элементы для подачи и слива охлаждающей жидкости выполнены в виде колец с каналами для прохождения охлаждающей жидкости, которые установлены на корпусе посредством стопорных колец с уплотнительными кольцами и прокладками и посредством штуцеров соединены с упомянутыми внешними рукавами.
| DE 3415498 A1, 29.11.1984 | |||
| Способ борьбы с вредителями леса | 1957 |
|
SU116803A1 |
| УСТРОЙСТВО ДЛЯ ПОДАЧИ СМАЗОЧНО-ОХЛАЖДАЮЩЕЙ ЖИДКОСТИ ПРИ ПЛОСКОМ ПЕРИФЕРИЙНОМ ШЛИФОВАНИИ | 2014 |
|
RU2579325C1 |
| Устройство для подвода смазочно-охлаждающей жидкости | 1980 |
|
SU876372A1 |
| УСТРОЙСТВО ДЛЯ ФРИКЦИОННО-ЛЕЗВИЙНОГО РЕЗАНИЯ | 1999 |
|
RU2162771C2 |
| WO 2013107339 A1, 25.07.2013. | |||
Авторы
Даты
2025-02-13—Публикация
2024-06-24—Подача