Область техники
Изобретение относится к области информационной безопасности, а более конкретно к решениям администрирования компьютерных систем в сети, в частности системам и способам устранения неисправностей на компьютерах в сети.
Уровень техники
Технические неисправности влияют на работу компьютерной инфраструктуры компании, при этом не все возникающие технические неисправности являются равнозначными. Одни могут быть решены перезагрузкой компьютера, для решения других потребуется более сложный подход в устранении, в том числе и обращение к пользователю, отвечающему за устранение неисправностей в компьютерных системах. Одним из видов неисправностей является несвоевременное обновление программного обеспечения (далее - ПО). При несвоевременном обновлении ПО будут нарушены организация информационной безопасности и оперативность исправления существующих ошибок.
Системный администратор отвечает за корректную работу компьютерной инфраструктуры компании и за устранение технических неисправностей. Большая нагрузка на системного администратора может привести к задержкам в оказании технической поддержки и ухудшению производительности сотрудников. Чем сложнее подход к решению неисправности, тем больше времени потребуется на ее исправление.
В настоящее время присвоение оценки сложности исправления неисправностей происходит по определенным правилам, которые проверяют определенные критерии, и на их основании выставляется указанная оценка в рамках компьютерной системы (хоста). Как правило, используется 2-3 уровня градации (например, «низкий», «средний» и «высокий»). Оценка ведется на текущий момент времени, причем не учитываются состояние других хостов и истории неисправностей на них. Маленькое количество уровней градации приводит к тому, что компьютерные системы с нетипичными неисправностями могут оказаться на уровне компьютерных систем с типичными неисправностями. Это типовая проблема при устранении технических неисправностей. Также отсутствие учета распространенности и попыток устранения той или иной неисправности в компьютерной системе приводит к увеличению времени устранения как наиболее критичных ошибок, так и всех ошибок в целом. Отсутствие формирования статистики эффективности различных методик противодействия неисправностям в рамках хостов, объединенных в общую сеть, негативно отражается на создании типовых методик для решения определенных неисправностей.
В патентной публикации US 2016041866 A1 представлена система, которая учитывает статистику о неисправностях. Появляющиеся в компьютерных системах неисправности отправляются на сервер, и если неисправность была найдена в базе данных, то предлагается решение. Если же неисправность является новой для данной системы, она предоставляется для анализа и выработки решения администратору. После решение заносится в систему, чтобы избавиться от распространенных ошибок с помощью обновлений. В то же время к недостаткам системы можно отнести отсутствие интеллектуального подбора вариантов решений, в данном случае все известные решения применяются в порядке перебора до тех пор, пока неисправность не устранится или решения не закончатся. Также отсутствует формирование статистики эффективности решений в рамках конкретной сети. Также в данной системе администратору приходит информация о проблемном компьютере без уведомления о проделанных попытках решения и появляется необходимость в повторной проверке типовых решений.
В другой патентной публикации US2011276843A1 представлено решение, которое реализует интеллектуальный способ сообщения об ошибках в компьютерных системах. Один из вариантов способа работает следующим образом. Происходит проверка хоста на наличие ошибки, в случае ее обнаружения определяется приоритет ошибки и приоритет группы, к которой принадлежит ошибка. Отчет о проведенной проверке отправляется системному администратору. Отправление уведомления происходит в зависимости от присвоенного приоритета. В данной системе приоритет ошибки остается постоянным и определяется только единственным образом, также система не решает ошибки, а только сообщает и анализирует их, что является одним из недостатков.
Таким образом, существующие решения для устранения неисправностей не позволяют быстро адаптироваться (найти решение) для устранения новых и наиболее «важных» неисправностей в режиме реального времени. Одной из причин является то, что поиск решения для новой неисправности осуществляется преимущественно самим администратором, хотя при этом неисправность может иметь достаточно стандартный подход для ее решения.
Анализ предшествующего уровня техники позволяет сделать вывод о недостаточной эффективности применения текущих технологий и необходимости решения, направленного на обнаружение, ранжирование новых неисправностей с последующим их решением.
Раскрытие сущности изобретения
Технический результат заключается в сокращении времени устранения неисправностей на компьютерных системах за счет предлагаемого изобретения, в частности за счет ранжирования компьютерных систем согласно индексу проблемности неисправностей с последующим их устранением.
Согласно варианту реализации используется способ устранения неисправностей на устройствах в сети, включающий в себя этапы, на которых: получают информацию, связанную с неисправностями в работе, по меньшей мере о двух устройствах, где информация включает объективные и субъективные факторы; рассчитывают индекс проблемности для каждого устройства на основании полученной информации с учетом истории аналогичных неисправностей и глобальной статистики в масштабах сети, которая хранится в базе данных; формируют ранжированный список устройств, в порядке убывания рассчитанного значения индекса проблемности; определяют по меньшей мере одну эффективную типовую стратегию устранения неисправностей для каждого устройства в ранжированном списке; применяют определенную стратегию устранения неисправностей на каждом соответствующем устройстве; формируют результат применения каждой типовой стратегии устранения неисправностей и повторяют этапы, начиная с расчета индекса проблемности.
Согласно одному из частных вариантов реализации в случае индекса проблемности равного нулю устройство исключают из ранжированного списка.
Согласно другому частному варианту реализации объективные факторы включают такую информацию как: информация об отказах, сбоях, неисправностях компонентов каждого устройства в целом или по-отдельности; информация об уязвимостях на устройствах и возникающих трудностях при их устранении; информация о массовом обнаружении вредоносной активности на устройствах, сетевых атаках, возникших трудностях с устранением вредоносной активности и сетевых атак, информация о состоянии продукта или его подкомпонентов, существующих сбоев, отказов.
Согласно еще одному частному варианту реализации, субъективные факторы включают информацию о неисправностях устройств, которую предоставляют пользователи устройств в виде определенной формы жалоб через средства ввода-вывода устройств.
Согласно другому частному варианту реализации дополнительно расчет индекса проблемности осуществляется при помощи по меньшей мере одной из следующих баз данных (БД): БД аналогичных неисправностей; БД глобальной статистики неисправностей и их решений.
Согласно другому частному варианту реализации, ранжированный список имеет ограничение в количестве устройств, которое зависит от возможности одновременной работы с определенным количеством устройств.
Согласно другому частному варианту реализации, при формировании ранжированного списка проверяют, сформирован ли ранее ранжированный список и при этом информацию о новом устройстве добавляют в ранее сформированный ранжированный список, а информацию о старом устройстве обновляют, в связи с чем обновляется и место устройства в ранжированном списке согласно новому индексу проблемности.
Согласно еще одному частному варианту реализации, эффективной типовой стратегией устранения неисправностей является стратегия, которая устраняет наибольшее количество неисправностей на соответствующем устройстве.
Согласно другому частному варианту реализации, дополнительно при невозможности определить типовую стратегию устранения неисправностей для устройства, предоставляют информацию об устройстве на устройство администратора.
Согласно другому частному варианту реализации, стратегию устранения неисправности получают от устройства администратора.
Согласно другому частному варианту реализации, стратегию устранения неисправностей добавляют в базу данных глобальной статистики неисправностей и их решений, если по результатам применения указанной стратегии устранения неисправностей рассчитанный индекс проблемности для устройства снизился.
Согласно другому частному варианту реализации, определенную типовую стратегию устранения неисправностей применяют на соответствующем устройстве по меньшей мере одним из способов: воздействие на устройство производится путем создания и запуска операций; определение и настраивание основного перечня выполняемых операций осуществляется при помощи взаимодействия с администратором; взаимодействие БД аналогичных неисправностей с БД глобальной статистики неисправностей и их решений для выявления успешных стратегий устранения неисправностей.
Согласно другому частному варианту реализации, успешные стратегии устранения неисправностей, при наличии нескольких технических неисправностей на устройствах, выполняются подбором, осуществляемым с учетом влияния на большую часть из неисправностей.
Согласно еще одному частному варианту реализации, сформированный результат применения для каждой типовой стратегии устранения неисправности отражает оценку эффективности.
Согласно другому частному варианту реализации, применяют типовую стратегию устранения неисправности с большей оценкой эффективности раньше стратегии устранения неисправности с меньшей оценкой эффективности.
Согласно другому частному варианту реализации, система устранения неисправностей на устройствах в сети, которая включает: базу данных с объективными факторами, предназначенную для хранения информации в виде объективных факторов, указывающих на неисправности устройств в целом и их различных компонентов, и взаимодействующую с анализатором оценки индекса проблемности и средством автоматического решения типовых неисправностей; базу данных аналогичных неисправностей, предназначенную для хранения информации в виде истории возникновения неисправностей, возникающих на устройствах, и взаимодействующую с анализатором оценки индекса проблемности; базу данных глобальной статистики неисправностей и их решений, предназначенную для хранения информации в виде истории решений известных неисправностей, хранения перечня действий, применяемых в стратегиях устранения неисправностей, или самих стратегий, содержащих действия и предназначенных для устранения определенных неисправностей, и взаимодействующую с анализатором оценки индекса проблемности и средством автоматического решения типовых неисправностей; средство сбора субъективных факторов, предназначенное для сбора субъективных факторов с устройств и взаимодействующее с анализатором оценки индекса проблемности; анализатор оценки индекса проблемности, предназначенный для: расчета индекса проблемности для каждого устройства на основании информации, полученной от базы данных с объективными факторами и средства сбора субъективных факторов, ранжирования устройств согласно рассчитанному индексу проблемности, передачи ранжированного списка средству автоматического решения типовых неисправностей, получения обратной связи от средства автоматического решения типовых неисправностей, на основании которой осуществляет перерасчет индекса проблемности для устройств; средство автоматического решения типовых неисправностей, предназначенное для подбора типовых стратегий устранения неисправностей, применения выбранных стратегий устранения неисправностей на соответствующих устройствах и передачи результатов применения указанных стратегий в упомянутый анализатор.
Согласно другому частному варианту реализации, неисправность является состоянием устройства или его компонента, при котором он или его работа не соответствует хотя бы одному из требований нормативно-технической документации.
Согласно другому частному варианту реализации, подбор типовых стратегий устранения неисправностей осуществляется на основании информации, полученной от базы данных глобальной статистики неисправностей и их решений.
Согласно другому частному варианту реализации, обратная связь включает оценку эффективности, являющейся результатом применения стратегии, по меньшей мере для одной стратегии устранения неисправности.
Краткое описание чертежей
Дополнительные цели, признаки и преимущества настоящего изобретения будут очевидными из прочтения последующего описания осуществления изобретения со ссылкой на прилагаемые чертежи, на которых:
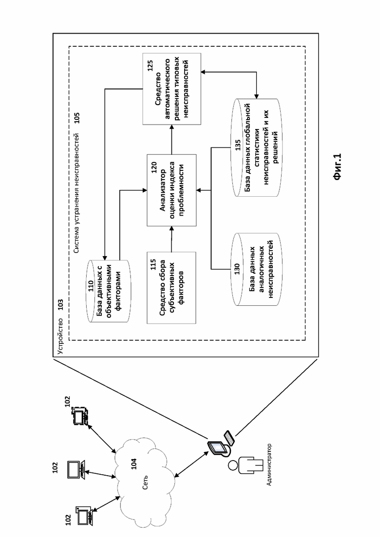
На Фиг. 1 схематически представлен пример реализации системы устранения неисправностей на компьютерных системах.
На Фиг. 2 представлен пример результата работы анализатора оценки индекса проблемности.
На Фиг. 3 представлен пример изменения оценки эффективности в зависимости от применяемых стратегий для различных неисправностей.
На Фиг. 4 представлен пример ранжирования компьютерных систем по индексу проблемности.
На Фиг. 5 представлена блок-схема, иллюстрирующая способ устранения неисправностей на компьютерных системах.
На Фиг. 6 представлен пример компьютерной системы общего назначения.
Осуществление изобретения
Объекты и признаки настоящего изобретения, способы для достижения этих объектов и признаков станут очевидными посредством отсылки к примерным вариантам осуществления. Однако, настоящее изобретение не ограничивается иными вариантами осуществления, раскрытыми ниже, оно может воплощаться в различных видах. Сущность, приведенная в описании, является ничем иным, как конкретными деталями, обеспеченными для помощи специалисту в области техники в исчерпывающем понимании изобретения, и настоящее изобретение определяется в объеме приложенной формулы.
На Фиг. 1 представлен пример реализации системы устранения неисправностей, которая реализуется по меньшей мере на одном устройстве 103. Неисправностью является состояние устройства, например устройства 102, или его компонента, при котором он или его работа не соответствует хотя бы одному из требований нормативно-технической документации. Устройство 103 осуществляет сбор данных, в частности о неисправностях, с устройств 102 через компьютерную сеть 104 и при помощи системы устранения неисправностей 105 выявляет наиболее популярные среди них неисправности, формирует стратегию устранения неисправностей, с последующим предоставлением устройствам 102 и получением обратной связи об эффективности применения сформированной стратегии. Примером устройств 102 и устройства 103 является компьютерная система, например такая, как представлена на Фиг. 6.
Система устранения неисправностей 105 включает в себя базу данных с объективными факторами 110, средство сбора субъективных факторов 115, анализатор оценки индекса проблемности 120, средство автоматического решения типовых неисправностей 125, базу данных аналогичных неисправностей 130 и базу глобальной статистики неисправностей и их решений 135.
В зависимости от варианта реализации база данных с объективными факторами 110, база данных аналогичных неисправностей 130 и база данных глобальной статистики неисправностей и их решений 135 могут быть осуществлены как в рамках одного запоминающего устройства, так и на разных.
База данных с объективными факторами 110 предназначена для хранения объективных факторов, указывающих на неисправности устройств 102 в целом и их различных компонентов в данный момент времени. Объективные факторы включают такую информацию как:
информацию об отказах, сбоях, неисправностях компонентов каждого устройства 102 в целом или по-отдельности (как физических, так и программных);
информацию об уязвимостях на устройствах 102 и возникающих трудностях при их устранении;
информацию о массовом обнаружении вредоносной активности на устройствах 102, сетевых атаках, возникших трудностях с устранением вредоносной активности и сетевых атак, информация о состоянии продукта или его подкомпонентов, существующих сбоев, отказов.
В одном из вариантов реализации наполнение базы данных 110 происходит автоматически путем получения информации по меньшей мере о двух устройствах 102. В общем случае агент (антивирус) устройства 102 передает по меньшей мере такие сведения, как: сведения о состоянии, сбоях и общий статус устройства 102. Общий статус состоит из актуальности баз данных 130 и 135, сведений об установленном ПО и найденных уязвимостях. Уязвимостью является недостаток устройства, используя который можно привести устройство к неисправности.
В другом варианте реализации база данных 110 наполняется на основании информации, получаемой по результатам выполнения стратегии устранения неисправностей на устройствах 102 (будет описано далее).
База данных 110 содержит в себе постоянно обновляемую информацию, в то время как вся история копируется в базу данных 130 для хранения.
База данных аналогичных неисправностей 130 предназначена для хранения информации об истории возникновения неисправностей на устройствах 102. База данных аналогичных неисправностей 130 необходима для определения частоты возникновения той или иной неисправности.
База данных глобальной статистики неисправностей и их решений 135 предназначена для хранения информации об истории решений известных неисправностей, в том числе неисправностей, информация о которых хранится в базах данных 110 и 130. Также в базе данных 135 хранится перечень действий, применяемых в стратегиях устранения неисправностей, или сами стратегии, содержащие действия и предназначенные для устранения определенных неисправностей. В одном из вариантов реализации перечень действий настраивается (формируется или обновляется) администратором. Действиями являются простейшими операциями, которые администратор может делегировать автоматике. Например, перезапуск программного обеспечения, перезапуск антивируса, вывод пользователю запросов на перезагрузку устройства 102 с повторным запуском задач после перезагрузки, установка обновленных действий продукта.
В частном варианте реализации база данных аналогичных неисправностей 130 и база данных глобальной статистики неисправностей и их решений 135 содержатся на стороннем сервере и/или являются частями одной объединенной базы данных.
Средство сбора субъективных факторов (далее - средство сбора) 115 устройства 103 предназначено для сбора субъективных факторов с устройств 102. Субъективные факторы включают информацию о неисправностях устройств 102, которую предоставляют пользователи устройств 102. Указанная информация предоставляется в виде определенной формы жалоб, которую предварительно заполняют через средства ввода-вывода пользователи устройств 102. Форма жалоб содержит информацию о неисправностях устройств по мнению пользователей устройств 102, например жалобы на сбои, замедления в работе устройства 102, т.е. все то, что пользователь посчитал отклонением от нормы работы устройства 102. В зависимости от варианта реализации форма жалоб может являться заранее сформированным списком, содержащим определенные виды неисправностей, из которых пользователь выбирает и отправляет, либо текстовое окно, в котором пользователь указывает информацию о неисправностях. Средство сбора 115 всю собранную информацию предоставляет анализатору оценки индекса проблемности 120.
Анализатор оценки индекса проблемности (далее - анализатор) 120 предназначен для расчета индекса проблемности каждого устройства 102 и их ранжирования согласно рассчитанному индексу проблемности.
Анализатор 120 получает информацию по меньшей мере об одной неисправности от средства сбора субъективных факторов 115. Далее анализатор 120 делает запросы и получает актуальную информацию от базы данных аналогичных неисправностей 130, базы данных глобальной статистики неисправностей и их решений 135 и базы данных с объективными факторами 110. Информация от базы данных аналогичных неисправностей 130 необходима для определения частоты возникновения появившихся неисправностей в сети, возникающих по меньшей мере на одном устройстве 102, что необходимо для расчета индекса проблемности. Информация из базы данных глобальной статистики неисправностей и их решений 135 необходима для подбора типовых стратегий устранения неисправностей и в последующем решения неисправностей для каждого устройства 102. Успешные стратегии устранения неисправностей, при наличии нескольких технических неисправностей на устройствах, выполняются подбором, осуществляемым с учетом влияния на большую часть из неисправностей. Например, если существует статистика, что конкретная стратегия помогает устранить конкретную неисправность в 95% случаев, то при подборе стратегии предпочтение отдадут этой конкретной стратегии, при отсутствии стратегии с большим процентом эффективности. Типовые стратегии устранения неисправностей применяются на устройстве следующим образом:
воздействие на устройство производится путем создания и запуска операций;
определение и настраивание основного перечня выполняемых операций осуществляется при помощи взаимодействия с администратором;
взаимодействие базы данных 130 с базой данных 135 для выявления успешных стратегий устранения неисправностей.
В одном из вариантов реализации глобальная статистика состоит из накопленных данных всех устройств 102. Накопленные данные собираются напрямую с каждого устройства. Информация от базы данных с объективными факторами 110 также используется при расчете индекса проблемности устройств 102.
Анализатор 120 на основе полученной информации проводит расчет индекса проблемности и ранжирование устройств 102 по вычисленному индексу проблемности.
Индекс проблемности предназначен для определения наиболее проблемного устройства из устройств 102 и рассчитывается с применением методик нечеткой логики. В одном из частных случаев реализации для каждого устройства 102 рассчитывается два варианта индекса проблемности. Первый вариант индекса проблемности (первая оценка) рассчитывается на текущий момент, а второй вариант индекса проблемности (вторая оценка) рассчитывается с учетом статистики устранения неисправностей. Первая оценка предназначена для решения уже известных существующих неисправностей и их устранения, а вторая оценка предназначена для выявления потенциально проблемных устройств.
Кроме того, каждое устройство 102 вначале обладает начальным индексом проблемности (базовой оценкой). Базовая оценка определяется и устанавливается для каждого устройства 102 либо системным администратором, либо является стандартной (начальной).
В частном случае реализации базовая оценка устройства 102 является средним числом, для возможности ее уточнения в большую или меньшую сторону. Например, при шкале от 0 до 100 базовая оценка - 50; при шкале от -100 до 100 базовая оценка - 0. Еще в одном частном случае базовая оценка может быть определена опытным путем. При наличии статистики изменения индекса проблемности базовой оценкой является среднестатистический показатель - абстрактное число. Например, при шкале от 0 до 100 базовая оценка может быть любым числом, исходя из статистики, как 15, так и 70 или при шкале от -100 до 100 базовая оценка - 20.
Далее анализатор 120 корректирует индекс проблемности, используя информацию из средства сбора субъективных факторов 115 и из баз данных 110, 130 и 135. При корректировке индекса проблемности учитываются такие факторы как:
1. Распространенность неисправности. Устройства 102 с распространенными неисправностями получают меньшую оценку, так как являются типовыми. Например, в сети существует множество устройств 102, подключенных через медленные, нестабильные каналы связи. Вследствие этого неисправность в виде сбоя обновления баз данных, проблемы передачи на устройство обновления большого размера, будет доминировать и снижение оценки будет обусловлено повторяющейся ситуацией.
2. Повторяемость неисправности. Учитывается уникальность неисправности по своему типу, ее циклическое повторение или тенденция на устройствах 102. Например, существуют события с повторяемостью, когда на сервере каждые три дня происходит критический сбой в работе компонента, который приводит к отказу в выполнении функционала и к перезапуску самого компонента. Также существуют события, вызванные случайностью, но возникающие на нескольких устройствах 102, когда в работе компонента происходит единичный сбой.
3. Результативность применения одной из типовых стратегий устранения неисправности. Например, применяется типовая стратегия «перезагрузка устройства», «чистка временных папок», «принудительный запуск задач типа обновления баз данных или патч-менеджмента». В некоторых случаях стратегия устраняет неисправность, в противном случае индекс проблемности устройства 102 поднимается в ранжированном списке и устранение неисправности на данном устройстве становится наиболее приоритетным.
Анализатор 120 на основании рассчитанного индекса проблемности формирует список, который содержит информацию об индексах проблемности устройств 102, при этом устройства в списке ранжированы от наиболее проблемного к менее проблемному устройству 102. Нулевая оценка индекса проблемности показывает отсутствие неисправностей на данном устройстве 102. Поэтому устройства с индексом проблемности равным нулю в ранжированный список не включаются. Для расчета индекса проблемности и формирования списка анализатор 120 взаимодействует с базой данных 110 и средством сбора субъективных факторов 115, а также с базой данных аналогичных неисправностей 130 и базой данных глобальной статистики неисправностей и их решений 135. После формирования ранжированного списка анализатор предоставляет его средству автоматического решения типовых неисправностей 125. В частном варианте реализации анализатор 120 предоставляет информацию об устройстве 102, стоящего первым по порядку ранжирования, средству автоматического решения типовых неисправностей 125.
Дополнительно анализатор 120 осуществляет пересчет индекса проблемности для каждого устройства 102 после получения обратной связи, включающей информацию об эффективности применения предоставленной стратегии устранения неисправностей, от средства автоматического решения типовых неисправностей 125. Обратная связь включает оценку эффективности по меньшей мере одной стратегии устранения неисправности. Оценка эффективности является результатом применения стратегии. Если подобранная стратегия устранила неисправность на устройстве 102, то оценка эффективности увеличивается, в противном случае - уменьшается.
После пересчета индекса проблемности анализатор 102 заново ранжирует сформированный список, который предоставляет средству 125. Стоит отметить, что при достижении нулевого значения индексом проблемности неисправность на устройстве 102 считается устраненной и такое устройство исключается из списка. Процесс пересчета индекса проблемности устройств 102 и последующего устранения неисправностей продолжается до тех пор, пока все неисправности не будут устранены.
Средство автоматического решения типовых неисправностей (далее - средство) 125 предназначено для подбора типовых стратегий устранения неисправностей и автоматического решения типовых неисправностей. Средство 125 получает информацию о неисправностях устройств 102 от анализатора 120. Информация может включать себя список ранжирования, включающий информацию о каждом устройстве 102, или в частном случае информацию об одном устройстве 102, у которого индекс проблемности имеет наивысший приоритет согласно списку ранжирования. Средство 125 определяет по меньшей мере одну типовую стратегию устранения полученных неисправностей для каждого устройства 102 в соответствии со списком ранжирования. Типовые стратегии устранения неисправности включают в себя определенный перечень действий, выполняемых средством 125 и применяемых для устранения неисправностей. Перечень действий хранится в базе данных 135. При подборе типовой стратегии устранения неисправности средство 125 дополнительно использует информацию из базы данных глобальной статистики неисправностей и их решений 135. Статистика типовых стратегий устранения неисправности, хранящаяся в базе данных 135, включает в себя показатель положительного применения той или иной стратегии для устранения конкретных неисправностей. В первую очередь будут применяться стратегии с наивысшим показателем.
Положительным применением является устранение неисправности при помощи соответствующей стратегии. При наличии двух и более неисправностей на устройствах 102 средство 125 подбирает стратегию, которая влияет на большую часть из неисправностей. Например, на одном устройстве 102 существует проблема с базами данных, сбой патч-менеджмента и нехватка оперативной памяти. Каждую из неисправностей можно устранить с помощью различных стратегий, но перезагрузка устройства с большей вероятностью справится с каждой из них. Если же неисправность не будет устранена, то в базе данных 135 список возможных стратегий устранения данной неисправности уменьшится.
Положительным исходом подбора стратегий устранения неисправности средством 125 является наличие по меньшей мере одной стратегии для соответствующей неисправности в базе данных 135. Отрицательным исходом является отсутствие стратегии устранения данной неисправности в базе данных 135.
В одном из частных вариантов при положительном исходе подбора типовой стратегии средством автоматического решения типовых неисправностей 125 на устройстве 102 запускается процесс реализации подобранных команд типовой стратегии с дальнейшим определением успешности применяемой стратегии, выражаемой в оценке общей эффективности. Средство 125 отправляет обратную связь о применении стратегии в виде оценки эффективности в анализатор оценки индекса проблемности 120 для актуализации данных об устройстве 102 и пересчета индекса проблемности. Актуализацией является замена содержащейся информации об устройстве 102 на новую информацию. После чего при нулевом значении индекса проблемности стратегия заносится в базу глобальной статистики неисправностей и их решений 135, в противоположном случае итерация с подбором и устранением повторяется, но уже с новой стратегией. Количество итераций определяется числом, заданным системным администратором. После исчерпания количества итераций средство автоматического решения типовых неисправностей 125 переходит к варианту отрицательного исхода.
В одном из частных вариантов при отрицательном исходе подбора типовой стратегии устранения неисправностей средством автоматического решения типовых неисправностей 125 запрос с отчетом отправляют администратору и ожидают от него ответа. Далее применяется стратегия устранения указанной неисправности, полученная в ответе от администратора, с дальнейшим отправлением результата применения стратегии в анализатор оценки индекса проблемности 120. При нулевом значении индекса проблемности сработавшая стратегия заносится в базу данных 135, в противоположном случае итерация с запросом администратору повторяется и применяется новая стратегия, полученная от администратора.
На Фиг. 2 изображена таблица, содержащая пример изменения индекса проблемности после проведения нескольких подборов и применений типовых стратегий устранения неисправности средством автоматического решения неисправностей 125. В таблице отображены устройства 102 (ПК1, … ПК7) и изменение индекса проблемности для каждого устройства 102. Вначале каждое устройство ПК1, … ПК7 имеет базовую оценку индекса проблемности. Столбец «Учет истории» содержит оценки по итогам учета информации, хранящейся в базах данных 110, 130, 135. Столбцы «Реализация стратегии 1», «Реализация стратегии 2» и «Реализация стратегии 3» содержат оценки индексов проблемности ПК 1, … ПК7 по итогам пересчета, последующего подбора и применения типовых стратегий, которые проводятся средством 125.
В данном примере база данных глобальной статистики неисправностей и их решений 135 хранит в себе неисправности, возникшие на ПК 1, … ПК 7, причем частота возникновения неисправностей также отображается в базе данных 135. Согласно примеру неисправность на ПК2 и ПК3 еще не встречалась, а на ПК7 встречается чаще, чем на ПК 1, ПК 4, ПК 5 и ПК 6.
На основе базы данных глобальной статистики неисправностей и их решений 135 анализатор оценки индекса проблемности 120 проводит учет истории, а именно корректировку базовой оценки для каждого ПК. В столбце «Учет истории» можно видеть, что индекс проблемности для ПК (2, 3) никак не изменился, так как информация о неисправностях отсутствует и проблема возникает впервые, в то время как для других ПК (1, 4, 5 6) неисправность встречалась ранее, а для ПК7 частота возникновения выше среднестатистических значений по другим ПК, в связи с чем индекс проблемности увеличивается сильнее остальных.
Анализатор оценки индекса проблемности 120 передает ранжированный список в средство автоматического решения типовых неисправностей 125, которое определяет стратегии для устранения неисправностей и применяет их. На основании результата применения анализатор 120 вносит изменения в индекс проблемности соответствующих ПК. Согласно столбцу «Реализация стратегии 1» неисправности на ПК5 и ПК6 были устранены после формирования первой стратегии устранения неисправностей с помощью средства 125, поэтому анализатор 120 при пересчете индексов проблемности для указанных ПК рассчитал их индекс проблемности как ноль, т.е. проблемы отсутствуют. В то же время на остальных ПК происходит повышение индекса проблемности на основании оценки эффективности применения первой стратегии, после чего ПК1, ПК2, ПК3, ПК4 и ПК7 заново ранжируют. Новый ранжированный список отправляют на средство 125 для подбора второй стратегии и следующей попытки решения. По результатам применения второй стратегии осуществляется пересчет индекса проблемности для каждого ПК, результаты которого представлены в столбце «Реализация стратегии 2». Далее осуществляется третий цикл пересчета индексов проблемности, подбора стратегии и последующего её применения.
Стоит отметить, что цикл повторяется до тех пор, пока не будут устранены все неисправности либо же не закончатся варианты стратегий по устранению неисправностей. После этого информация о ПК с неисправностью, для которой подобрать стратегию не удалось, отправляется системному администратору, от которого средство 125 получает новую стратегию устранения неисправности и применяет ее. Таким образом, производится максимальное число пересчетов индекса и подборов стратегий.
Стоит отметить, что представленная на Фиг. 2 таблица является примером изменения индекса проблемности, где все стратегии применяются в одинаковом для всех ПК порядке по причине отсутствия накопленной статистики. При этом к разным неисправностям или их совокупности могут быть подобраны как одинаковые стратегии устранения, так и различные стратегии. Пример подбора стратегий представлен далее при описании Фиг. 4.
На Фиг. 3 представлен пример изменения оценки эффективности в зависимости от применяемых стратегий для различных неисправностей. В таблице отображены устройства 102 (ПК1, … ПК7) и изменение оценки эффективности для каждого устройства 102 по итогам выполненных подобранных стратегий устранения неисправностей. Применение первой стратегии привело к устранению неисправностей на ПК5 и ПК6, поэтому в таблице можно видеть увеличение оценки эффективности для двух ПК и уменьшение для остальных пяти ПК. Общая оценка эффективности складывается из оценок для каждого ПК и постоянно изменяется при применении стратегии к каждому ПК. Далее оценка эффективности влияет на порядок подбора стратегий. Стратегия с большей эффективностью будет применена раньше стратегии с меньшей эффективностью.
На Фиг. 4 представлен пример ранжирования устройств 102 (ПК 1, ПК2 и ПК3) по индексу проблемности на основе неисправности, связанной с обновлением баз данных.
В одном из вариантов реализации существует 3 стратегии устранения неисправности, связанной с обновлением баз данных, а именно:
1. Повторный запуск обновления через случайные интервалы времени. При этом известно, что эффективность стратегии 80%;
2. Перезагрузка устройства 102 с последующим обновлением. При этом известно, что эффективность стратегии 69%;
3. Запуск задачи обновления с альтернативных источников. При этом известно, что эффективность стратегии 70%.
На Фиг. 4 представлены 4 блока, содержащие сведения по результату ранжирования и применения выбранных стратегий устранения неисправности.
Первый блок содержит информацию о начальных условиях для каждого ПК и возможные стратегии устранения неисправностей. Каждый следующий блок, состоит из двух таблиц: таблицы, показывающей, как изменяется индекс проблемности после применения выбранной стратегии, и таблицы, показывающей, как изменяется процент эффективности для каждой из стратегий после применения их на ПК. Прибавление к проценту эффективности единицы означает, что с помощью данной стратегии неисправность на ПК была устранена, вычитание единицы означает обратное.
Рассмотрим первый блок. В таблице можно видеть начальные значения эффективностей трех стратегий. Стратегии будут применяться в порядке убывания эффективности. Например, в данном случае применение стратегий будет в следующем порядке: стратегия 1, стратегия 3, стратегия 2. Порядок применения стратегий для каждого ПК одинаковый на первой итерации в связи с тем, что по данным стратегиям статистика отсутствует. Например, стратегия 1 имеет начальную оценку эффективности 80% для любого ПК, далее для каждого ПК оценка эффективности будет своя.
Рассмотрим второй блок. В первой таблице блока («Результат применения стратегии 1») показано, как изменятся индекс проблемности и оценка эффективности после применения стратегии 1. Стратегия 1 устраняет неисправность только на ПК3, поэтому индекс проблемности ПК3 приравнивается к нулю и исключается из ранжированного списка. Во второй таблице указанного блока показан результат изменения оценки эффективности. Оценка эффективности стратегии 1 для ПК3 увеличивается, а для ПК1 и ПК2 уменьшается. Из второго блока следует, что стратегия 1 более приоритетна для ПК3 и менее приоритетна для остальных ПК.
Так как для ПК1 и ПК2 стратегия 1 была не эффективна, то для указанных ПК применяется следующая стратегия с точки зрения эффективности, а именно стратегия 3, результаты которой представлены в третьем блоке. Для ПК 3 стратегия 3 не применяется, так стратегия 1 устранила указанную неисправность.
Рассмотрим третий блок. В первой таблице блока («Результат применения стратегии 3») показано, как изменятся индекс проблемности и оценка эффективности после применения стратегии 3. Стратегия 3 применяется только для ПК 1 и ПК2, так как ПК3 с индексом проблемности ноль исключен из ранжированного списка. Стратегия 3 устраняет неисправность у ПК1, после чего его индекс проблемности приравнивается к нулю, что можно видеть в первой таблице третьего блока. Однако неисправность на ПК2 не была устранена, в связи с этим индекс проблемности увеличивается. Также изменяется оценка эффективности. Во второй таблице третьего блока можно видеть, что оценка эффективности стратегии 2 для ПК1 увеличивается, а для ПК2 уменьшается. Из третьего блока следует, что стратегия 3 более приоритетна для ПК1, а менее приоритетна для ПК2.
Так как для ПК2 стратегия 3 была не эффективна, то для указанного ПК применяется следующая стратегия с точки зрения эффективности, а именно стратегия 2, результаты которой представлены в четвертом блоке. Для ПК 1 стратегия 2 не применяется, так стратегия 3 устранила указанную неисправность.
Рассмотрим четвертый блок. В первой таблице блока («Результат применения стратегии 2») показано, как изменятся индекс проблемности и оценка эффективности после применения стратегии 2. В списке ранжирования остается только ПК2, остальные ПК из него удалены в связи с обнулением индекса проблемности. Стратегия 2 устраняет неисправность на ПК2. Индекс проблемности ПК2 приравнивается к нулю, и ПК2 исключается из ранжированного списка, что можно видеть на первой таблице четвертого блока. На второй таблице четвертого блока показано, что оценка эффективности стратегии 2 для ПК2 увеличивается и данная стратегия становится более приоритетной для ПК2, чем для остальных.
Из первой итерации можно сделать вывод об изменении приоритетных стратегий для каждого из ПК следующим образом:
1. Для ПК 1: Приоритет выполнения стратегий сохранился - стратегия 1, стратегия 3, стратегия 2.
2. Для ПК2: Приоритет выполнения стратегий подвергся изменению. Наиболее эффективной осталась стратегия 1. Но при этом стратегия 2 теперь более приоритетна, чем стратегия 3.
3. Для ПК3: Приоритет выполнения стратегий сохранился - стратегия 1, стратегия 3, стратегия 2.
При повторении данной неисправности для каждого ПК будут применены стратегии устранения неисправностей в индивидуальном порядке эффективности. Пример описан для ПК с одной неисправностью.
В частном случае реализации при наличии нескольких неисправностей на ПК, индекс проблемности рассчитывается как сумма индексов проблемности для каждой неисправности.
На Фиг. 5 представлен способ устранения неисправностей, связанных с работой компьютера в сети. Представленный способ реализуется с помощью средств системы устранения неисправностей 105, представленных при описании Фиг. 1.
На этапе 505 с помощью анализатора оценки индекса проблемности 120 получают информацию о нарушении в работе устройств 102, где информация включает объективные и субъективные факторы. Информация получена из базы данных аналогичных неисправностей 130, базы данных глобальной статистики неисправностей и их решений 135 и базы данных с объективными факторами 110.
На этапе 510 с помощью анализатора оценки индекса проблемности 120 проводят расчет индекса проблемности для каждого устройства 102, информация о котором была получена.
Расчет индекса проблемности выполняется с учетом влияния следующих факторов, хранящихся в базах данных 130 и 135:
1. Распространенность неисправности. Распространенные неисправности получают меньшую оценку, так как являются типовыми.
2. Повторяемость неисправности. Учитывается уникальность неисправности по своему типу, ее циклическое повторение или тенденция.
3. Результативность применения одной из типовых стратегий устранения неисправности.
На этапе 515 рассчитанный индекс проблемности сравнивают со значением ноль. В случае, если индекс проблемности равен нулю, то информацию об устройстве 102 не добавляют в ранжированный список и переходят к этапу 505. В противном случае, если индекс проблемности отличен от нуля, то переходят к этапу 520.
На этапе 520 формируют ранжированный список на основании рассчитанного индекса проблемности, при этом устройства 102 расположены в указанном списке по убыванию рассчитанного значения индекса проблемности. В частном случае информацию об устройстве 102 добавляют в уже составленный ранжированный список, в котором устройства 102 ранжированы по убыванию рассчитанного значения индекса проблемности. При добавлении в ранжированный список устройство занимает место согласно индексу проблемности. Далее ранжированный список отправляют в средство автоматического решения типовых неисправностей 125 на этап 525.
В частном случае реализации ранжированный список имеет ограничения в количестве устройств 102. Ограничение задается в анализаторе оценки индекса проблемности 120 и зависит от возможности одновременной работы с определенным количеством устройств 102. Анализатор 120 контролирует заданное настройкой количество устройств, находящихся в цикле в данный момент времени. Если количество устройств 102 не достигло максимума, в цикл добавляют следующее проблемное устройство 102. В обратном случае ожидают устранения неисправностей заданных устройств 102. После ожидания весь процесс повторяют с этапа 505, но с устройств 102 поступают актуализированные данные, вследствие чего индекс проблемности и ранжированный список в анализаторе оценки индекса проблемности 120 пересчитывается на этапе 510.
В еще одном частном случае реализации в указанное средство 125 передают информацию последовательно о каждом устройстве 102 согласно очередности в сформированном списке.
На этапе 525 при помощи средства автоматического решения типовых неисправностей 125 и на основе базы данных глобальной статистики неисправностей и их решений 135, для каждого устройства 102 согласно ранжированному списку выявляют по меньшей мере одну наиболее эффективную типовую стратегию устранения неисправности. Наиболее эффективной типовой стратегией устранения неисправностей является подобранная стратегия, которая может устранить наибольшее количество неисправностей на соответствующем устройстве 102.
В частном случае реализации если средство автоматического решения типовых неисправностей 125 не выявило ни одной стратегии устранения неисправностей для какого-либо устройства 102 из ранжированного списка, то при помощи средства 125 отправляют информацию о соответствующем устройстве 102 на устройство системного администратора и ожидают ответа. Стоит отметить, что если информация отправляется на устройство администратора, то это говорит о том, что все доступные и разрешенные варианты устранения неисправностей были использованы и не дали положительного результата. Положительным результатом является наличие подобранной стратегии для указанной неисправности. После получения средством 125 обратной связи от устройства администратора по данному устройству 102 переходят к этапу 530. Обратной связью является подобранная стратегия устранения неисправностей для данного устройства 102.
На этапе 530 применяют выбранную стратегию устранения неисправностей с помощью средства автоматического решения типовых неисправностей 125 на соответствующем устройстве 102. Во время реализации выбранной стратегии устранения неисправностей осуществляют на каждом устройстве 102 действия, соответствующие стратегии для устранения неисправностей. При этом на этапе 535 формируют результат применения каждой стратегии устранения неисправностей. После завершения выбранной стратегии и формирования результатов его применения в анализатор 120 отправляют результат применения стратегии, на основании которого осуществляется пересчет индекса проблемности на этапе 510. Результатом применения типовой стратегии является оценка эффективности, описанная на Фиг. 3.
В частном случае реализации дополнительно средство 125 осуществляет анализ результата выполнения подобранной стратегии самостоятельно и в случае неудовлетворительного результата определяет новую стратегию устранения неисправностей, которую затем применяет и формирует результат ее применения. После этого результат отправляют в анализатор 120 для пересчета индекса проблемности на шаге 510.
Если индекс проблемности равен нулю, то принимается решение об исключении информации об устройстве 102 из ранжированного списка. В противном случае средство 125 осуществляет подбор другой типовой стратегии устранения неисправности. Результат применения стратегии добавляют в базу данных глобальной статистики неисправностей и их решений 135. Считается, что стратегия устранила неисправность, когда индекс проблемности приравнивается к нулю.
На Фиг. 6 представлена компьютерная система, на которой могут быть реализованы различные варианты систем и способов, раскрытых в настоящем документе. Компьютерная система 20 может представлять собой систему, сконфигурированную для реализации настоящего изобретения и может быть в виде одного вычислительного устройства или в виде нескольких вычислительных устройств, например, настольного компьютера, портативного компьютера, ноутбука, мобильного вычислительного устройства, смартфона, планшетного компьютера, сервера, мейнфрейма, встраиваемого устройства и других форм вычислительных устройств.
Как показано на Фиг. 6, компьютерная система 20 включает в себя: центральный процессор 21, системную память 22 и системную шину 23, которая связывает разные системные компоненты, в том числе память, связанную с центральным процессором 21. Системная шина 23 реализована, как любая известная из уровня техники шинная структура, содержащая в свою очередь память шины или контроллер памяти шины, периферийную шину и локальную шину, способную взаимодействовать с любой другой шинной архитектурой. Примерами шин являются: PCI, ISA, PCI-Express, HyperTransport™, InfiniBand™, Serial ATA, I2C и другие подходящие соединения между компонентами компьютерной системы 20. Центральный процессор 21 содержит один или несколько процессоров, имеющих одно или несколько ядер. Центральный процессор 21 исполняет один или несколько наборов машиночитаемых инструкций, реализующих способы, представленные в настоящем документе. Системная память 22 может быть любой памятью для хранения данных и/или компьютерных программ, исполняемых центральным процессором 21. Системная память может содержать как постоянное запоминающее устройство (ПЗУ) 24, так и память с произвольным доступом (ОЗУ) 25. Основная система ввода/вывода (BIOS) 26, содержит основные процедуры, которые обеспечивают передачу информации между элементами компьютерной системы 20, например, в момент загрузки операционной системы с использованием ПЗУ 24.
Компьютерная система 20 включает в себя одно или несколько устройств хранения данных, таких как одно или несколько извлекаемых запоминающих устройств 27, одно или несколько неизвлекаемых запоминающих устройств 28, или комбинации извлекаемых и неизвлекаемых устройств. Одно или несколько извлекаемых запоминающих устройств 27 и/или неизвлекаемых запоминающих устройств 28 подключены к системной шине 23 через интерфейс 32. В одном из вариантов реализации извлекаемые запоминающие устройства 27 и соответствующие машиночитаемые носители информации представляют собой энергонезависимые модули для хранения компьютерных инструкций, структур данных, программных модулей и других данных компьютерной системы 20. Системная память 22, извлекаемые запоминающие устройства 27 и неизвлекаемые запоминающие устройства 28 могут использовать различные машиночитаемые носители информации. Примеры машиночитаемых носителей информации включают в себя машинную память, такую как кэш-память, SRAM, DRAM, ОЗУ не требующую конденсатора (Z-RAM), тиристорную память (T-RAM), eDRAM, EDO RAM, DDR RAM, EEPROM, NRAM, RRAM, SONOS, PRAM; флэш-память или другие технологии памяти, такие как твердотельные накопители (SSD) или флэш-накопители; магнитные кассеты, магнитные ленты и магнитные диски, такие как жесткие диски или дискеты; оптические носители, такие как компакт-диски (CD-ROM) или цифровые универсальные диски (DVD); и любые другие носители, которые могут быть использованы для хранения нужных данных и к которым может получить доступ компьютерная система 20.
Системная память 22, извлекаемые запоминающие устройства 27 и не извлекаемые запоминающие устройства 28, содержащиеся в компьютерной системе 20 используются для хранения операционной системы 35, приложений 37, других программных модулей 38 и программных данных 39. Компьютерная система 20 включает в себя периферийный интерфейс 46 для передачи данных от устройств ввода 40, таких как клавиатура, мышь, стилус, игровой контроллер, устройство голосового ввода, устройство сенсорного ввода, или других периферийных устройств, таких как принтер или сканер через один или несколько портов ввода/вывода, таких как последовательный порт, параллельный порт, универсальная последовательная шина (USB) или другой периферийный интерфейс. Устройство отображения 47, такое как один или несколько мониторов, проекторов или встроенных дисплеев, также подключено к системной шине 23 через выходной интерфейс 48, такой как видеоадаптер. Помимо устройств отображения 47, компьютерная система 20 оснащена другими периферийными устройствами вывода (на Фиг. 6 не показаны), такими как динамики и другие аудиовизуальные устройства.
Компьютерная система 20 может работать в сетевом окружении, используя сетевое соединение с одним или несколькими удаленными компьютерами 49. Удаленный компьютер (или компьютеры) 49 является рабочим персональным компьютером или сервером, который содержит большинство или все упомянутые компоненты, отмеченные ранее при описании сущности компьютерной системы 20, представленной на Фиг. 6. В сетевом окружении также могут присутствовать и другие устройства, например, маршрутизаторы, сетевые станции или другие сетевые узлы. Компьютерная система 20 может включать один или несколько сетевых интерфейсов 51 или сетевых адаптеров для связи с удаленными компьютерами 49 через одну или несколько сетей, таких как локальная компьютерная сеть (LAN) 50, глобальная компьютерная сеть (WAN), интранет и Интернет. Примерами сетевого интерфейса 51 являются интерфейс Ethernet, интерфейс Frame Relay, интерфейс SONET и беспроводные интерфейсы.
Варианты раскрытия настоящего изобретения могут представлять собой систему, способ, или машиночитаемый носитель (или носитель) информации.
Машиночитаемый носитель информации является осязаемым устройством, которое сохраняет и хранит программный код в форме машиночитаемых инструкций или структур данных, к которым имеет доступ центральный процессор 21 компьютерной системы 20. Машиночитаемый носитель может быть электронным, магнитным, оптическим, электромагнитным, полупроводниковым запоминающим устройством или любой подходящей их комбинацией. В качестве примера, такой машиночитаемый носитель информации может включать в себя память с произвольным доступом (RAM), память только для чтения (ROM), EEPROM, портативный компакт-диск с памятью только для чтения (CD-ROM), цифровой универсальный диск (DVD), флэш-память, жесткий диск, портативную компьютерную дискету, карту памяти, дискету или даже механически закодированное устройство, такое как перфокарты или рельефные структуры с записанными на них инструкциями.
Система и способ, настоящего изобретения, могут быть рассмотрены в терминах средств. Термин "средство", используемый в настоящем документе, относится к реальному устройству, компоненту или группе компонентов, реализованных с помощью аппаратного обеспечения, например, с помощью интегральной схемы, специфичной для конкретного приложения (ASIC) или FPGA, или в виде комбинации аппаратного и программного обеспечения, например, с помощью микропроцессорной системы и набора машиночитаемых инструкций для реализации функциональности средства, которые (в процессе выполнения) превращают микропроцессорную систему в устройство специального назначения. Средство также может быть реализовано в виде комбинации этих двух компонентов, при этом некоторые функции могут быть реализованы только аппаратным обеспечением, а другие функции - комбинацией аппаратного и программного обеспечения. В некоторых вариантах реализации, по крайней мере, часть, а в некоторых случаях и все средство может быть выполнено на центральном процессоре 21 компьютерной системы 20. Соответственно, каждое средство может быть реализовано в различных подходящих конфигурациях и не должно ограничиваться каким-либо конкретным вариантом реализации, приведенным в настоящем документе.
В заключение следует отметить, что приведенные в описании сведения являются примерами, которые не ограничивают объем настоящего изобретения, определенного.
| название | год | авторы | номер документа |
|---|---|---|---|
| Система и способ определения уровня опасности событий информационной безопасности | 2022 |
|
RU2800739C1 |
| СИСТЕМА И СПОСОБ АДАПТИВНОГО УПРАВЛЕНИЯ И КОНТРОЛЯ ДЕЙСТВИЙ ПОЛЬЗОВАТЕЛЯ НА ОСНОВЕ ПОВЕДЕНИЯ ПОЛЬЗОВАТЕЛЯ | 2012 |
|
RU2534935C2 |
| СИСТЕМА И СПОСОБ АВТОМАТИЧЕСКОГО РАССЛЕДОВАНИЯ ИНЦИДЕНТОВ БЕЗОПАСНОСТИ | 2011 |
|
RU2481633C2 |
| Система и способ обнаружения признаков компьютерной атаки | 2017 |
|
RU2661533C1 |
| СИСТЕМА И СПОСОБ ПРЕДОТВРАЩЕНИЯ ИНЦИДЕНТОВ БЕЗОПАСНОСТИ НА ОСНОВАНИИ РЕЙТИНГОВ ОПАСНОСТИ ПОЛЬЗОВАТЕЛЕЙ | 2011 |
|
RU2477929C2 |
| СИСТЕМА И СПОСОБ ЗАЩИТЫ ОТ НЕЛЕГАЛЬНОГО ИСПОЛЬЗОВАНИЯ ОБЛАЧНЫХ ИНФРАСТРУКТУР | 2012 |
|
RU2536663C2 |
| СПОСОБ И СИСТЕМА КИБЕРТРЕНИРОВОК | 2022 |
|
RU2808388C1 |
| СПОСОБ И СИСТЕМА ПОСТРОЕНИЯ ПОИСКОВОГО ИНДЕКСА С ИСПОЛЬЗОВАНИЕМ АЛГОРИТМА МАШИННОГО ОБУЧЕНИЯ | 2018 |
|
RU2720954C1 |
| Система развертывания и управления программным обеспечением и способ осуществления её работы | 2020 |
|
RU2751215C1 |
| СИСТЕМА И СПОСОБ ПРЕДОСТАВЛЕНИЯ ПРАВ ДОСТУПА ПРИЛОЖЕНИЯМ К ФАЙЛАМ КОМПЬЮТЕРА | 2013 |
|
RU2546585C2 |
Изобретение относится к области информационной безопасности. Технический результат заключается в сокращении времени устранения неисправностей на компьютерных системах. Способ устранения неисправностей на устройствах в сети включает в себя этапы, на которых: получают информацию, связанную с неисправностями в работе; рассчитывают индекс проблемности для каждого устройства на основании полученной информации; формируют ранжированный список устройств на основании наиболее популярных неисправностей; определяют эффективную типовую стратегию устранения неисправностей для каждого устройства в ранжированном списке; применяют определенную стратегию устранения неисправностей на каждом соответствующем устройстве; формируют результат применения каждой типовой стратегии устранения неисправностей и повторяют часть этапов способа до тех пор, пока индекс проблемности каждого устройства не станет равным нулю. 2 н. и 17 з.п. ф-лы, 6 ил.
1. Способ устранения неисправностей на устройствах в сети, включающий в себя этапы, на которых:
а) получают информацию, связанную с неисправностями в работе, по меньшей мере о двух устройствах, где информация включает объективные и субъективные факторы;
б) рассчитывают индекс проблемности для каждого устройства на основании полученной информации с учетом истории аналогичных неисправностей и глобальной статистики в масштабах сети, которая хранится в базе данных, при этом индекс проблемности учитывает частоту возникновения появившихся неисправностях в сети и указывает на наиболее проблемные устройства;
в) формируют ранжированный список устройств на основании наиболее популярных неисправностей, которые отражаются рассчитанными значениями индексов проблемности;
г) определяют по меньшей мере одну эффективную типовую стратегию устранения неисправностей для каждого устройства в ранжированном списке, при этом наиболее эффективной стратегией устранения неисправностей является та, которая устраняет наибольшее количество неисправностей на устройствах;
д) применяют определенную стратегию устранения неисправностей на каждом соответствующем устройстве согласно сформированному списку устройств;
е) формируют результат применения каждой типовой стратегии устранения неисправностей и повторяют этапы с б) до г) до тех пор, пока индекс проблемности каждого устройства не станет равным нулю.
2. Способ по п. 1, в котором в случае индекса проблемности, равного нулю, устройство исключают из ранжированного списка.
3. Способ по п. 1, в котором упомянутые объективные факторы включают такую информацию как:
• информация об отказах, сбоях, неисправностях компонентов каждого устройства в целом или по-отдельности;
• информация об уязвимостях на устройствах и возникающих трудностях при их устранении;
• информация о массовом обнаружении вредоносной активности на устройствах, сетевых атаках, возникших трудностях с устранением вредоносной активности и сетевых атак, информация о состоянии продукта или его подкомпонентов, существующих сбоев, отказов.
4. Способ по п. 1, в котором упомянутые субъективные факторы включают информацию о неисправностях устройств, которую предоставляют пользователи устройств в виде определенной формы жалоб через средства ввода-вывода устройств.
5. Способ по п. 1, в котором дополнительно расчет индекса проблемности осуществляется при помощи по меньшей мере одной из следующих баз данных (БД):
а) БД аналогичных неисправностей;
б) БД глобальной статистики неисправностей и их решений.
6. Способ по п. 1, в котором упомянутый ранжированный список имеет ограничение в количестве устройств, которое зависит от возможности одновременной работы с определенным количеством устройств.
7. Способ по п. 1, в котором дополнительно на шаге в) проверяют, сформирован ли ранее ранжированный список и при этом информацию о новом устройстве добавляют в ранее сформированный ранжированный список, а информацию о старом устройстве обновляют, в связи с чем обновляется и место устройства в ранжированном списке согласно новому индексу проблемности.
8. Способ по п. 1, в котором эффективной типовой стратегией устранения неисправностей является стратегия, которая устраняет наибольшее количество неисправностей на соответствующем устройстве.
9. Способ по п. 1, в котором дополнительно при невозможности определить типовую стратегию устранения неисправностей для устройства предоставляют информацию об устройстве на устройство администратора.
10. Способ по п. 9, в котором стратегию устранения неисправности получают от устройства администратора.
11. Способ по п. 9, в котором упомянутую стратегию устранения неисправностей добавляют в базу данных глобальной статистики неисправностей и их решений, если по результатам применения указанной стратегии устранения неисправностей рассчитанный индекс проблемности для устройства снизился.
12. Способ по п. 1, в котором определенную типовую стратегию устранения неисправностей применяют на соответствующем устройстве по меньшей мере одним из способов:
а) воздействие на устройство производится путем создания и запуска операций;
б) определение и настраивание основного перечня выполняемых операций осуществляется при помощи взаимодействия с администратором;
в) взаимодействие БД аналогичных неисправностей с БД глобальной статистики неисправностей и их решений для выявления успешных стратегий устранения неисправностей.
13. Способ по п. 12, в котором упомянутые успешные стратегии устранения неисправностей, при наличии нескольких технических неисправностей на устройствах, выполняются подбором, осуществляемым с учетом влияния на большую часть из неисправностей.
14. Способ по п. 1, в котором сформированный результат применения для каждой типовой стратегии устранения неисправности отражает оценку эффективности.
15. Способ по п. 14, в котором применяют типовую стратегию устранения неисправности с большей оценкой эффективности раньше стратегии устранения неисправности с меньшей оценкой эффективности.
16. Система устранения неисправностей на устройствах в сети, которая включает:
а) базу данных с объективными факторами, предназначенную для хранения информации в виде объективных факторов, указывающих на неисправности устройств в целом и их различных компонентов, и взаимодействующую с анализатором оценки индекса проблемности и средством автоматического решения типовых неисправностей;
б) базу данных аналогичных неисправностей, предназначенную для хранения информации в виде истории возникновения неисправностей, возникающих на устройствах, и взаимодействующую с анализатором оценки индекса проблемности;
в) базу данных глобальной статистики неисправностей и их решений, предназначенную для хранения информации в виде истории решений известных неисправностей, хранения перечня действий, применяемых в стратегиях устранения неисправностей, или самих стратегий, содержащих действия и предназначенных для устранения определенных неисправностей, и взаимодействующую с анализатором оценки индекса проблемности и средством автоматического решения типовых неисправностей;
г) средство сбора субъективных факторов, предназначенное для сбора субъективных факторов с устройств и взаимодействующее с анализатором оценки индекса проблемности;
д) анализатор оценки индекса проблемности, предназначенный для:
• расчета индекса проблемности для каждого устройства на основании информации, полученной от базы данных с объективными факторами и средства сбора субъективных факторов, при этом индекс проблемности учитывает частоту возникновения появившихся неисправностях в сети и указывает на наиболее проблемные устройства,
• ранжирования устройств на основании наиболее популярных неисправностей, которые отражаются рассчитанными индексами проблемности,
• передачи ранжированного списка средству автоматического решения типовых неисправностей,
• получения обратной связи от средства автоматического решения типовых неисправностей, на основании которой осуществляет перерасчет индекса проблемности для устройств до тех пор, пока индекс проблемности каждого устройства не станет равным нулю;
е) средство автоматического решения типовых неисправностей, предназначенное для:
• подбора эффективных типовых стратегий устранения неисправностей, при этом наиболее эффективной стратегией устранения неисправностей является та, которая устраняет наибольшее количество неисправностей на устройствах,
• применения выбранных стратегий устранения неисправностей на соответствующих устройствах и передачи результатов применения указанных стратегий в упомянутый анализатор.
17. Система по п. 16, в которой неисправность является состоянием устройства или его компонента, при котором он или его работа не соответствует хотя бы одному из требований нормативно-технической документации.
18. Система по п. 16, в которой упомянутый подбор типовых стратегий устранения неисправностей осуществляется на основании информации, полученной от базы данных глобальной статистики неисправностей и их решений.
19. Система по п. 16, в которой упомянутая обратная связь включает оценку эффективности, являющейся результатом применения стратегии, по меньшей мере для одной стратегии устранения неисправности.
| Устройство для закрепления лыж на раме мотоциклов и велосипедов взамен переднего колеса | 1924 |
|
SU2015A1 |
| Способ получения цианистых соединений | 1924 |
|
SU2018A1 |
| Способ регенерирования сульфо-кислот, употребленных при гидролизе жиров | 1924 |
|
SU2021A1 |
| Способ защиты переносных электрических установок от опасностей, связанных с заземлением одной из фаз | 1924 |
|
SU2014A1 |
| Станок для придания концам круглых радиаторных трубок шестигранного сечения | 1924 |
|
SU2019A1 |
| Система и способ устранения проблем функционирования сервисов в сети передачи данных, содержащей виртуальные машины | 2019 |
|
RU2747465C2 |
Авторы
Даты
2025-03-04—Публикация
2024-04-27—Подача