Область техники, к которой относится изобретение
Изобретение относится к новому процессу для одноэтапного крупномасштабного производства различных нанофлюидов в модифицированном варианте лазерной абляции в открытой атмосфере.
ПРЕДПОСЫЛКИ ИЗОБРЕТЕНИЯ
В развивающейся области нанофлюидов известно, что такие гибридные текучие среды приобретают глобальный интерес как с научной, так и с промышленной точки зрения.
Одним из перспективных технологических применений наночастиц является их использование в качестве суспензий в различных вмещающих текучих средах для улучшения их тепловых свойств в целом и, в частности, характеристик теплопередачи такой текучей среды. Это позволило бы решить сложные проблемы охлаждения в различных тепловых системах. Термин «нанофлюид» относится к твердо-жидкой смеси или суспензии, получаемой путем диспергирования нано-масштабированных металлических или неметаллических твердых частиц в жидкостях.
Размер наночастиц (обычно менее 100 нм) в жидких смесях придает им способность взаимодействовать с жидкостями на молекулярном уровне и, таким образом, проводить тепло лучше, чем стандартные текучие среды для теплопередачи. Нанофлюиды могут демонстрировать повышенную теплопередачу благодаря сочетанию конвекции и проводимости и дополнительной передаче энергии за счет динамики частиц и столкновения в дополнение к повышенной внутренней теплопроводности самих наночастиц.
Суспензии твердых частиц миллиметрового и микронного размера в жидкостях были исследованы для охлаждения и других применений, но из-за относительно больших размеров частиц они склонны вызывать абразивное воздействие, которое разрушает компоненты системы. Кроме того, они блокируют небольшие проточные каналы и имеют склонность оседать под действием силы тяжести, что приводит к нежелательным перепадам давления. Такое явление осаждения должно быть максимально сведено к минимуму.
Напротив, наночастицы в текучих средах имеют малый импульс, что значительно снижает абразивный износ, а нанофлюиды можно описать как коллоиды, поскольку коллоид представляет собой вещество, состоящее из системы частиц, которые нерастворимы, но остаются в растворе и диспергируются в другой текучей среде. Нанофлюиды, впервые разработанные Stephen S. Choi из Министерства энергетики США, были получены с использованием или одноэтапных, или многоэтапных методик, а именно:
1 - техника прямого напыления
2 - техника синтеза наночастиц посредством погруженной дуги
3 - лазерная абляция
4 - сверхвысокочастотное излучение
5 - процесс полиола
6 - способ фазового перехода.
Металлы платиновой группы (PGM) представляют собой шесть переходных металлических элементов, которые химически, физически и анатомически схожи. PGM являются самыми плотными известными металлическими элементами.
Эти шесть PGM представляют собой:
1 - иридий (Ir)
2 - осмий (Os)
3 - палладий (Pd)
4 - платина (Pt)
5 - родий (Rh)
6 - рутений (Ru).
Для целей этого определения мы включаем золото и серебро для определения PGM.
Соответственно, задачей настоящего изобретения является обеспечение изобретения, которое относится к новому способу лазерной абляции, использующему одноэтапное крупномасштабное производство наночастиц из металлических, оксидных, карбидных и нитридных мишеней, которые могут быть изготовлены в виде нанофлюидов, в различных жидкостях, таких как масла, H2O, этиленгликоль (EG), и эти нанофлюиды имеют повышенную теплопроводность.
СУЩНОСТЬ ИЗОБРЕТЕНИЯ
Согласно первому аспекту изобретения предложен способ получения нанофлюида, причем способ включает лазерную абляцию мишени, по поверхности которой течет жидкость.
В варианте осуществления способ может включать перемещение мишени и лазерного луча относительно друг друга, предпочтительно перемещение мишени относительно лазерного луча таким образом, чтобы лазерный луч сканировал поверхность мишени в направлении X и/или Z, когда лазерный луч ориентирован в направлении Y и мишень обращена к лазерному лучу.
В варианте осуществления жидкость может непрерывно течь по поверхности мишени, которую подвергают лазерной абляции, и жидкость может быть расположена так, чтобы течь по мишени с заданной скоростью, чтобы поддерживать заданную толщину жидкости, текущей по мишени.
В варианте осуществления жидкость может быть нагрета до заданной температуры.
В варианте осуществления жидкость может быть в форме любого одного или более из группы, включающей воду, масло Castro, моторное масло, масло Rubbia или подобное.
В варианте осуществления мишень может быть в форме любой одной или более из группы, включающей металлическую мишень, оксидную мишень, нитридную мишень, карбидную мишень или подобное. Более предпочтительно металлическая мишень может быть в форме неокисленных, но чистых металлов на основе металлов платиновой группы (PGM). Еще более того, металлическая мишень может быть в форме Cu и/или Al. Более того, оксидная мишень может быть в форме окисленных металлов, которые могут быть выбраны из группы, включающей CuO, Al2O3, TiO2, MgO или подобное. Кроме того, нитридная мишень может быть в форме TiN. Кроме того, карбидная мишень может быть в форме TiC и/или WC.
В варианте осуществления способ может включать сбор жидкости, содержащей частицы, подвергнутые лазерной абляции, при этом частицы, подвергнутые лазерной абляции, находятся во взвешенном состоянии в собранной жидкости, при этом жидкость и взвешенные частицы, подвергнутые лазерной абляции, образуют нанофлюид.
В варианте осуществления способ может включать лазерную абляцию мишени в открытой атмосфере.
Согласно второму аспекту изобретения предусмотрен нанофлюид, изготовленный согласно способу первого аспекта изобретения.
Согласно третьему аспекту изобретения предусмотрена система лазерной абляции для изготовления нанофлюидов, причем система содержит:
источник лазерного луча для получения лазерного луча;
мишень, которая расположена таким образом, чтобы находиться на траектории лазерного луча; и
источник жидкости для выпуска жидкости на поверхность мишени, которая выполнена с возможностью быть подвергнутой лазерной абляции.
В варианте осуществления система может содержать ряд выпускных отверстий, сообщающихся по текучей среде с мишенью, для выпуска жидкости из источника жидкости на поверхность мишени, которая выполнена с возможностью быть подвергнутой лазерной абляции.
В варианте осуществления система может содержать средство для регулирования скорости, с которой жидкость выпускается на поверхность мишени.
В варианте осуществления система может содержать нагревательное средство для нагрева жидкости, которая предусмотрена таким образом, чтобы быть выпущенной на поверхность мишени.
В варианте осуществления система может содержать устройство сбора, которое выполнено с возможностью сбора жидкости, текущей по мишени, причем жидкость предназначена для переноса частиц, подвергнутых лазерной абляции, с мишени.
В варианте осуществления система может содержать компьютерную систему, которая соединена со средством перемещения, при этом компьютерная система и средство перемещения выполнены с возможностью перемещения мишени и лазера относительно друг друга, предпочтительно перемещения мишени относительно траектории лазерного луча, чтобы позволить лазерному лучу сканировать поверхность мишени и, соответственно, систематически сканировать поверхность мишени по мере того, как лазерный луч подвергает абляции мишень.
Краткое описание фигур
Объекты и признаки настоящего изобретения станут полностью очевидными, если следовать описанию, взятому в сочетании с прилагаемыми графическими материалами. Принимая во внимание, что эти графические материалы изображают только типичные варианты осуществления изобретения, и, следовательно, не должны рассматриваться как ограничивающие его объем, изобретение будет описано и объяснено с дополнительными конкретными подробностями посредством использования прилагаемых графических материалов, на которых представлено следующее.
На графических материалах:
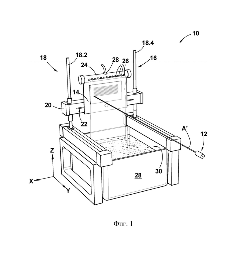
на фиг. 1 показана система лазерной абляции для получения нанофлюидов в соответствии с изобретением;
на фиг. 2 проиллюстрирована типичная просвечивающая электронная микроскопия наноразмерных наночастиц Cu, полученных в рамках описанного процесса, при котором движущаяся в направлении Z-X мишень Cu была покрыта текучим ламинарным слоем стандартного моторного масла;
на фиг. 3 проиллюстрирована типичная просвечивающая электронная микроскопия высокого разрешения наноразмерных наночастиц Cu, полученных в рамках описанного процесса;
на фиг. 4 показана теплопроводность наносуспензий Cu в стандартном моторном масле и теплопроводность чистого моторного масла, измеренные стандартным методом с использованием Pt проволоки; и
на фиг. 5 показана теплопроводность наносуспензий Cu и Al в стандартном трансмиссионном масле и теплопроводность чистого трансмиссионного масла, измеренные стандартным методом с использованием Pt проволоки;
на фиг. 6 показана теплопроводность наносуспензий Cu и Al в стандартном масле Motui и теплопроводность чистого масла Motui, измеренные стандартной Pt проволокой; и
на фиг. 7 показана теплопроводность наносуспензий Cu и Al в стандартном масле Castro и теплопроводность чистого масла Castro, измеренные стандартной Pt проволокой.
ПОДРОБНОЕ ОПИСАНИЕ ИЗОБРЕТЕНИЯ
В то время как различные аспекты согласно изобретению, концепции и признаки изобретения могут быть описаны и проиллюстрированы в данном документе как воплощенные в комбинации в примерных вариантах осуществления, эти различные аспекты, концепции, химические составы и признаки могут быть использованы во многих альтернативных вариантах осуществления либо по отдельности, либо в различных их комбинациях и субкомбинациях. Если в данном документе явно не исключено, предполагается что все такие комбинации и субкомбинации входят в объем настоящего изобретения. Более того, тогда как присутствуют различные альтернативные варианты осуществления в отношении различных аспектов, концепций и признаков изобретения, такие альтернативные структуры, конфигурации, способы, химические составы и компоненты, альтернативы в отношении формы, посадки и функционирования и т.д. могут быть описаны в данном документе. Такие описания не предназначены для того, чтобы представлять собой полный или исчерпывающий перечень доступных альтернативных вариантов осуществления, будь то известные в настоящее время или разработанные позднее.
Специалисты в данной области техники могут легко внедрить один или более аспектов согласно изобретению, концепций признаков в дополнительные варианты осуществления и использовать в рамках объема настоящего изобретения, даже если такие варианты осуществления явно не раскрыты в данном документе. Более того, для облегчения понимания настоящего изобретения могут быть включены примерные или репрезентативные значения и диапазоны; однако такие значения и диапазоны не следует толковать в ограничивающем смысле, и предполагается, что они являются критическими значениями или диапазонами, только если это явно указано. Кроме того, хотя различные аспекты, признаки и концепции могут быть явно идентифицированы в данном документе как являющиеся соответствующими изобретению или образующими часть изобретения, такая идентификация не предназначена для того, чтобы быть исключительной, но скорее могут существовать аспекты, концепции и признаки согласно изобретению, которые полностью описаны в данном документе, не будучи явно идентифицированными как таковые или как часть конкретного изобретения.
Как можно видеть на фиг. 1 графических материалов, предусмотрена система лазерной абляции, обозначенная в целом ссылочной позицией 10. Система 10 содержит источник 12 лазерного луча, который показан расположенным в направлении Y и обращенным по существу к прямоугольной или кубовидной мишени 14. Мишень 14 прикреплена к средству 16 перемещения, содержащему пару вертикальных рычагов 18; удлиненную опору 20, которая установлена между парой вертикальных рычагов 18; причем опора 20 образует продольное углубление 22, в котором размещен дополнительный элемент (не показан) на мишени 14, при этом дополнительный элемент (не показан) выполнен с возможностью соединения мишени 14 с опорой 20 и дополнительно выполнен с возможностью скольжения внутри углубления, чтобы позволить мишени перемещаться относительно опоры в направлении X относительно траектории лазерного луча, испускаемого источником 12 лазера в направлении Y; и исполнительный элемент (теперь показан), такой как двигатели (не показаны), которые выполнены с возможностью перемещения/передвижения опоры 20 вдоль рычагов 18.2, 18.4 в направлении Z относительно траектории A' лазерного луча, испускаемого источником 12 лазера в направлении Y, и дополнительно выполнены с возможностью перемещения мишени 14 относительно опоры 20 в направлении X за счет скользящего перемещения дополнительного элемента (не показан) в углублении 22.
Система 10 содержит компьютерную систему (не показана), которая содержит процессор (не показан) и запоминающее устройство (не показано), содержащее команды, которые выполнены с возможностью заставить средство 16 перемещения перемещать мишень 14 в направлениях X и Z в заданной последовательности, чтобы обеспечить возможность лазерного луча сканировать поверхность мишени 14, обращенную к лазерному лучу, и обеспечить возможность лазерного луча подвергать абляции поверхность мишени 14, находящуюся в контакте с лазерным лучом.
Система 10 дополнительно содержит трубу 24, образующую ряд расположенных на расстоянии в продольном направлении выпускных отверстий 26, которые сообщаются по потоку с мишенью 14 и которые выполнены с возможностью выпуска жидкости, которая поступает через впускное отверстие 28 в трубе 24 на поверхность мишени 14, которая обращена в направлении траектории A' луча. Система 10 дополнительно содержит источник жидкости (не показан), который выполнен с возможностью подачи жидкости во впускное отверстие 28, причем жидкость предусмотрена с возможностью выпуска на поверхность мишени 14 через выпускные отверстия 26. Жидкость течет по поверхности мишени управляемым ламинарным потоком, предпочтительно образуя движущееся тонкое покрытие, тогда как абляция происходит на границе раздела жидкости и мишени.
Запоминающее устройство (не показано) может быть дополнительно выполнено таким образом, чтобы заставлять процессор (не показан) регулировать скорость потока жидкости, выпускаемой на поверхность мишени 14 через выпускные отверстия 26, таким образом, чтобы поддерживать ламинарный поток жидкости по поверхности мишени 14, а также для поддержания минимальной толщины границы раздела, определенной между жидкостью и поверхностью мишени 14. Соответственно, команды в запоминающем устройстве могут быть предусмотрены так, чтобы соответствовать типу жидкости и типу мишени, которые используются в системе 10 лазерной абляции. Например, могут существовать заданные команды для мишени, которая является карбидной, и соответствующей жидкости, которая используется на карбидных мишенях, чтобы гарантировать, что заданный поток жидкости поддерживается на поверхности мишени, которая подлежит абляции.
Система 10 дополнительно содержит нагревательное средство (не показано), которое выполнено с возможностью нагрева жидкости до заданной температуры для доведения вязкости жидкости до заданной вязкости, которая подходит для поддержания заданной толщины или толщины покрытия жидкости.
Кроме того, система 10 содержит устройство 28 сбора, которое расположено под мишенью 14 и сообщается по текучей среде с мишенью 14 для сбора жидкости, капающей или вытекающей с мишени 14, причем жидкость содержит частицы мишени 14, которые были подвергнуты лазерной абляции с помощью лазерного луча.
Жидкость, собранная в устройстве 28 сбора, образует нанофлюид в соответствии с изобретением, при этом частицы, подвергнутые абляции, находятся во взвешенном состоянии в жидкости и предпочтительно равномерно диспергированы в жидкости. Образовавшиеся наночастицы не агломерируются и находятся во взвешенном состоянии в нанофлюиде в течение длительного периода времени, сводя к минимуму явления гравитационного осаждения.
Мишенью может быть металлическая мишень, оксидная мишень, нитридная мишень или карбидная мишень. Природа источника лазерной абляции определяется коэффициентом поглощения материала мишени. При необходимости жидкость следует нагреть, чтобы изменить ее вязкость, обеспечивая возможность ламинарного потока по мишени, чтобы избежать какой-либо существенной расфокусировки лазерного луча, достигающего мишени.
При использовании ламинарный поток жидкости и малая толщина текучей среды на движущейся в направлении X-Z мишени гарантируют, что лазерный луч не подвергается геометрическому нарушению на границе раздела жидкость-мишень. Тогда как мишень подвергается абляции, образовавшиеся наночастицы (т.е. частицы, подвергнутые абляции, из мишени) увлекаются/перемещаются движущейся жидкой пленкой, при этом создается целевой нанофлюид, который собирается в нижней части мишени в устройстве 28 сбора. Мишень 14 выполнена с возможностью перемещения в направлении X-Z для обеспечения абляции новой поверхности при любом взаимодействии лазерного пятна с мишенью. Как показано на фиг. 1, вмещающая текучая среда (т.е. жидкость), обычно слегка нагреваемая для снижения ее вязкости во время процесса абляции, подается к мишени 14 с заданной скоростью, обеспечивая равномерное покрытие в виде непрерывного тонкого слоя вмещающей текучей среды при непрерывном прохождении по мишени. Длина волны лазера определяется максимумом поглощения материала мишени. Плотность потока и частота повторения лазера, а также скорость перемещения мишени 14 в направлении X-Z определяют концентрацию формируемого затем нанофлюида. В случае нанофлюидов на основе H20 может происходить прямое окисление образовавшихся металлических наночастиц, как в стандарте LLSI/PLAL.
На фиг. 2 проиллюстрирована типичная просвечивающая электронная микроскопия наноразмерных наночастиц Cu, полученных в рамках описанного процесса, при котором движущаяся в направлении Z-X мишень Cu была покрыта текучим ламинарным слоем стандартного моторного масла.
На фиг. 3 проиллюстрирована типичная просвечивающая электронная микроскопия высокого разрешения наноразмерных наночастиц Cu, полученных в рамках описанного процесса, при котором движущаяся в направлении Z-X мишень Cu была покрыта текучим ламинарным слоем стандартного моторного масла. Будучи в основном кристаллическими по структуре, наночастицы Cu демонстрируют различные кристаллографические ориентации с морфологией оболочки ядра, кристаллическим ядром и аморфным покрытием оболочки.
На фиг. 4 показана теплопроводность наносуспензий Cu в стандартном моторном масле и теплопроводность чистого моторного масла, измеренные стандартным методом с использованием Pt проволоки. Тогда как теплопроводность моторного масла уменьшается с повышением температуры, теплопроводность нанофлюида Cu и моторного масла увеличивается. Теплопроводность при температуре 45 градусов Цельсия близка к 200%.
На фиг. 5 показана теплопроводность наносуспензий Cu и Al в стандартном трансмиссионном масле и теплопроводность чистого трансмиссионного масла, измеренные стандартным методом с использованием Pt проволоки. Тогда как теплопроводность трансмиссионного масла уменьшается с повышением температуры, теплопроводность нанофлюида Cu и трансмиссионного масла и Al и трансмиссионного масла увеличивается. Теплопроводность при температуре 45 градусов Цельсия близка к 22% для нанофлюида Cu и трансмиссионного масла, при этом около 17% для нанофлюида Al и трансмиссионного масла.
На фиг. 6 показана теплопроводность наносуспензий Cu и Al в стандартном масле Motui и теплопроводность чистого масла Motui, измеренные стандартным методом с использованием Pt проволоки. Тогда как теплопроводность масла Motui уменьшается с повышением температуры, теплопроводность нанофлюида Cu и масла Motui и Al и масла Motui увеличивается.
На фиг. 7 показана теплопроводность наносуспензий Cu и Al в стандартном масле Castro и теплопроводность чистого масла Castrol, измеренные стандартным методом с использованием Pt проволоки. Тогда как теплопроводность масла Castrol уменьшается с повышением температуры, теплопроводность нанофлюида Cu и масла Castrol и Al и моторного масла увеличивается. Теплопроводность при температуре 45 градусов Цельсия близка к 200% для нанофлюида Cu и масла Castrol, при этом около 193% для нанофлюида Al и масла Castrol.
Как изображено на фиг. 1, система лазерной абляции имеет следующие преимущества:
(i) она представляет собой одноэтапный процесс формирования нанофлюидов;
(ii) приводит к крупномасштабному производству и, следовательно, промышленному производству;
(iii) потенциал изготовления нанофлюидов из различных материалов мишени, таких как металлы, оксиды, нитриды, карбиды;
(iv) для получения нанофлюидов не требуется вакуум;
(V) наночастицы не агломерируются и находятся во взвешенном состоянии в нанофлюиде в течение длительного периода времени, сводя к минимуму явления гравитационного осаждения;
(vi) система может быть легко интегрирована с различными источниками лазера, работающими в различных временных режимах и различных спектральных диапазонах, для оптимизации скорости абляции путем регулирования оптического поглощения лазера веществом.
| название | год | авторы | номер документа |
|---|---|---|---|
| КЮВЕТА ДЛЯ ЛАЗЕРНОЙ АБЛЯЦИИ | 2014 |
|
RU2668079C2 |
| СПОСОБ ПОЛУЧЕНИЯ СФЕРИЧЕСКИХ КОЛЛОИДНЫХ НАНОРАЗМЕРНЫХ ЧАСТИЦ ЗОЛОТА МЕТОДОМ ИМПУЛЬСНОЙ ЛАЗЕРНОЙ АБЛЯЦИИ | 2023 |
|
RU2825640C1 |
| НАНОФЛЮИДЫ | 2020 |
|
RU2824163C2 |
| Катетер для абляции биологической ткани | 2019 |
|
RU2816632C2 |
| УСТРОЙСТВО ДЛЯ ЭНДОЛЮМИНАЛЬНОЙ ЛАЗЕРНОЙ АБЛЯЦИИ И СПОСОБ ЛЕЧЕНИЯ ВЕН | 2009 |
|
RU2506921C2 |
| СПОСОБ ПОЛУЧЕНИЯ ТОНКИХ ПЛЕНОК ИЗ КОЛЛОИДНЫХ РАСТВОРОВ НАНОЧАСТИЦ БЛАГОРОДНЫХ МЕТАЛЛОВ И ИХ СПЛАВОВ, ПОЛУЧЕННЫХ МЕТОДОМ ИМПУЛЬСНОЙ ЛАЗЕРНОЙ АБЛЯЦИИ ДЛЯ СПЕКТРОСКОПИИ УСИЛЕННОГО КОМБИНАЦИОННОГО РАССЕЯНИЯ | 2022 |
|
RU2789995C1 |
| СПОСОБ ПОЛУЧЕНИЯ ТОНКИХ ПЛЕНОК КАРБИДА КРЕМНИЯ МЕТОДОМ ВАКУУМНОЙ ЛАЗЕРНОЙ АБЛЯЦИИ | 2007 |
|
RU2350686C2 |
| СПОСОБ ЛАЗЕРНОЙ АБЛЯЦИИ ПАТОЛОГИЧЕСКОЙ ОБЛАСТИ СЕРДЦА | 2016 |
|
RU2654764C2 |
| СПОСОБ ЛАЗЕРНО-ИНДУЦИРОВАННОЙ МОДИФИКАЦИИ ХИМИЧЕСКОГО СОСТАВА НАНОЧАСТИЦ ДИСУЛЬФИДА МОЛИБДЕНА | 2023 |
|
RU2812405C1 |
| СПОСОБ ПОЛУЧЕНИЯ ПЛЕНОЧНЫХ ПОКРЫТИЙ ПОСРЕДСТВОМ ЛАЗЕРНОЙ АБЛЯЦИИ | 2006 |
|
RU2316612C1 |
Группа изобретений относится к новому процессу для одноэтапного крупномасштабного производства различных нанофлюидов в модифицированном варианте лазерной абляции в открытой атмосфере. Способ получения нанофлюида включает лазерную абляцию мишени, по поверхности которой течет жидкость. Жидкость непрерывно течет по поверхности мишени с заданной скоростью, чтобы поддерживать заданную толщину указанной жидкости. Способ выполняют в открытой атмосфере с использованием мишени, выбранной из металлов платиновой группы, меди, алюминия или их оксидов, нитридов или карбидов. Жидкость нагревают до заданной температуры для оптимизации вязкости для равномерного течения. Также заявлены нанофлюид для улучшения тепловых свойств и характеристик теплопередачи текучих сред, изготовленный в соответствии со способом, и система лазерной абляции для изготовления нанофлюидов. Группа изобретений обеспечивает одноэтапное крупномасштабное производство наночастиц из металлических, оксидных, карбидных и нитридных мишеней, которые могут быть изготовлены в виде нанофлюидов, в различных жидкостях, таких как масла, H2O, этиленгликоль (EG), и эти нанофлюиды имеют повышенную теплопроводность. 3 н. и 16 з.п. ф-лы, 7 ил.
1. Способ получения нанофлюида, который включает лазерную абляцию мишени, по поверхности которой течет жидкость, при этом жидкость непрерывно течет по поверхности мишени с заданной скоростью, чтобы поддерживать заданную толщину указанной жидкости, способ выполняют в открытой атмосфере с использованием мишени, выбранной из металлов платиновой группы, меди, алюминия или их оксидов, нитридов или карбидов, и жидкость нагревают до заданной температуры для оптимизации вязкости для равномерного течения.
2. Способ по п. 1, отличающийся тем, что указанный способ включает этап перемещения мишени и лазерного луча относительно друг друга.
3. Способ по п. 2, отличающийся тем, что указанный способ включает этап перемещения мишени относительно лазерного луча таким образом, что лазерный луч сканирует поверхность мишени в направлении X или Z, когда лазерный луч ориентирован в направлении Y, и мишень обращена к лазерному лучу.
4. Способ по любому из предыдущих пунктов, отличающийся тем, что жидкость находится в форме любых одного или более из группы, включающей воду, масло Castrol, моторное масло или масло Rubia.
5. Способ по любому из предыдущих пунктов, отличающийся тем, что мишень имеет форму любых одной или более из группы, включающей металлическую мишень, оксидную мишень, нитридную мишень или карбидную мишень.
6. Способ по п. 5, отличающийся тем, что оксидная мишень находится в форме окисленных металлов.
7. Способ по п. 6, отличающийся тем, что окисленные металлы выбирают из группы, включающей CuO, Al2O3, TiO2 или MgO.
8. Способ по любому из пп. 5-7, отличающийся тем, что нитридная мишень имеет форму TiN.
9. Способ по п. 7 или 8, отличающийся тем, что карбидная мишень имеет форму TiC или WC.
10. Способ по любому из предыдущих пунктов, отличающийся тем, что указанный способ включает этап сбора жидкости, содержащей частицы, подвергнутые лазерной абляции, при этом частицы, подвергнутые лазерной абляции, находятся во взвешенном состоянии в собранной жидкости, при этом жидкость и взвешенные частицы, подвергнутые лазерной абляции, образуют нанофлюид.
11. Способ по любому из предыдущих пунктов, отличающийся тем, что указанный способ включает этап лазерной абляции мишени в открытой атмосфере.
12. Нанофлюид для улучшения тепловых свойств и характеристик теплопередачи текучих сред, изготовленный в соответствии со способом по любому из пп. 1-11, отличающийся повышенной теплопроводностью, стабильностью в течение длительного периода времени без осаждения, и содержащий наночастицы металлов платиновой группы, меди или алюминия в жидкой среде, выбранной из воды, масла Castrol, моторного масла или масла Rubia.
13. Система лазерной абляции для изготовления нанофлюидов, которая содержит:
источник лазерного луча для получения лазерного луча, имеющего частоту повторения и частоту импульса, оптимизированные для материала мишени;
мишень, которая расположена таким образом, чтобы находиться на траектории лазерного луча, при этом мишень содержит металлы платиновой группы, медь, алюминий или их оксиды, нитриды или карбиды;
источник жидкости для выпуска жидкости на поверхность мишени, при этом жидкость выбирают из воды, масла Castrol, моторного масла или масла Rubia и нагревают до заданной температуры для поддержания ламинарного потока с минимальной толщиной в течение лазерной абляции; и
систему перемещения, управляемую компьютером, для перемещения мишени и лазерного луча относительно друг друга для систематического сканирования и абляции.
14. Система лазерной абляции по п. 13, отличающаяся тем, что содержит ряд выпускных отверстий, сообщающихся по текучей среде с мишенью, для выпуска жидкости из источника жидкости на поверхность мишени, которая выполнена с возможностью быть подвергнутой лазерной абляции.
15. Система лазерной абляции по п. 13 или 14, отличающаяся тем, что содержит средство для регулирования скорости, с которой жидкость выпускается на поверхность мишени.
16. Система лазерной абляции по любому из пп. 13-15, отличающаяся тем, что содержит нагревательное средство для нагрева жидкости, которая предусмотрена таким образом, чтобы быть выпущенной на поверхность мишени.
17. Система лазерной абляции по любому из пп. 13-16, отличающаяся тем, что содержит устройство сбора, которое выполнено с возможностью сбора жидкости, текущей по мишени, причем жидкость предусмотрена с возможностью переноса частиц, подвергнутых лазерной абляции, из мишени.
18. Система лазерной абляции по любому из пп. 13-17, отличающаяся тем, что содержит компьютерную систему, которая соединена со средством перемещения, при этом компьютерная система и средство перемещения выполнены с возможностью перемещения мишени и лазера относительно друг друга.
19. Система лазерной абляции по п. 18, отличающаяся тем, что компьютерная система и средство перемещения выполнены с возможностью перемещения мишени относительно траектории лазерного луча таким образом, чтобы позволить лазерному лучу сканировать поверхность мишени и, соответственно, систематически сканировать поверхность мишени, когда лазерный луч подвергает абляции мишень.
| IT ME 20110025 A1, 14.06.2013 | |||
| JP 2016530395 A, 29.09.2016 | |||
| US 20190202004 A1, 04.07.2019 | |||
| EP 1985403 B1, 18.05.2011 | |||
| СПОСОБ ПОЛУЧЕНИЯ СТРЕПТОКОККОВОЙ ГИАЛУРОНИДАЗЫ | 0 |
|
SU173887A1 |
| 0 |
|
SU153457A1 | |
| US 20130125674 A1, 23.05.2013. | |||
Авторы
Даты
2025-03-12—Публикация
2021-09-30—Подача