Изобретение относится к способу монтажа транспортной конструкции, содержащей два узла сегментов труб, причем в каждом сегменте может создаваться низкое давление воздуха, и в указанных узлах могут перемещаться капсулы, по существу, без воздушного трения. Указанная транспортная система часто именуется технологией Hyperloop. Изобретение также относится к соответствующей транспортной конструкции.
Технология Hyperloop является высокоскоростной транспортной системой для перевозки, как пассажиров, так и грузов. Она основана на герметизированной системе труб с низким давлением воздуха, по которой движется капсула, по существу, без воздушного сопротивления или воздушного трения. Система содержит три основных компонента: трубу, капсулу и станции. Труба является большой герметизированной системой низкого давления, которая может быть построена выше, ниже или на уровне земли. Она содержит необходимую инфраструктуру для обеспечения левитации/подвешивания, поступательного движения, торможения и т.д. Транспортное средство движется внутри указанной контролируемой среды и часто именуется капсулой. Капсула использует электрическую левитацию (электромагнитную или электродинамическую) или аэродинамическую левитацию (используя полозья на воздушной подушке) совместно с электромагнитным или аэродинамическим поступательным движением для скольжения по неподвижной направляющей. Станция является сооружением, где капсула может начинать движение или останавливаться, и где может осуществляться посадка/высадка пассажиров и погрузка/выгрузка грузов. Станции расположены на каждом крае герметизированной системы труб.
На изображениях надземная конструкция Hyperloop часто представлена в виде сегментов труб, концы которых просто опираются на опоры, расположенные с постоянным интервалом. Такая конструкция является очень привлекательной, но она не дает полного понимания существенных недостатков во время этапов монтажа. Одним из таких недостатков является то, что сегменты труб являются очень большими изделиями, которые сложно транспортировать на строительную площадку, особенно когда местность является пересеченной или труднодоступной или если трасса Hyperloop находится вдалеке от существующих дорог. Во избежание транспортирования сегментов труб из US9517901 известно об изготовлении и сборке труб на земле с помощью передвижной машины для изготовления труб (показанной на фиг. 9A), выполненной с возможностью перемещения по земле и направляемой по трассе строительства. Как вариант, передвижная система для изготовления на стройплощадке (показанная на фиг. 9B) может быть расположена в одном месте для изготовления ряда секций (например, пятидесяти трубных секций) и последующего перемещения на новое место. В обоих случаях возможность строительства трасс Hyperloop существует только в случае, если передвижная машина для изготовления труб или передвижная система для изготовления труб могут достигнуть стройплощадки. Кроме того, помимо других недостатков следует упомянуть, что во время перемещения вдоль трассы строительства подача энергии может быть затруднена, и всякий раз, когда машина/система должна перемещаться, могут потребоваться новые свидетельства на электрооборудование.
Таким образом, задача изобретения состоит в том, чтобы устранить указанные недостатки способов и конструкций по существующему уровню техники с помощью способа монтажа надземной транспортной конструкции, которая совместима с пересеченной местностью, и для которой можно более простым образом выполнять транспортировку различных изделий конструкции и их сборку.
С этой целью первый объект изобретения относится к способу монтажа участка транспортной конструкции, содержащего:
- множество опор, расположенных по существу, на равном расстоянии вдоль продольной оси X участка транспортной конструкции,
- первое множество балок, расположенных, по меньшей мере, на некоторых из опор и образующих:
○ первый узел сегментов труб, причем в первом узле может создаваться низкое давление воздуха и обеспечиваться круговое движение капсул, движущихся, по существу, без воздушного трения в сегментах труб,
○ первый транспортный путь с плоской крышей, который проходит от первого края участка транспортной конструкции до второго края участка транспортной конструкции,
каждая балка из первого множества балок содержит:
○ сегмент трубы первого узла сегментов трубы,
○ металлическую конструкцию, окружающую сегмент трубы первого узла сегментов трубы, причем верхняя поверхность металлической конструкции является участком первого транспортного пути с плоской крышей,
- второе множество балок, расположенных, по меньшей мере, на некоторых из опор и образующих:
○ второй узел сегментов труб, причем во втором узле может создаваться низкое давление воздуха и обеспечиваться круговое движение капсул, движущихся, по существу, без воздушного трения в сегментах труб,
○ второй транспортный путь с плоской крышей, который проходит от первого края участка транспортной конструкции до второго края участка транспортной конструкции рядом с первым транспортным путем с плоской крышей,
каждая балка из второго множества балок содержит:
○ сегмент трубы второго узла сегментов труб,
○ металлическую конструкцию, окружающую сегмент трубы второго узла сегментов труб, причем верхняя поверхность металлической конструкции является участком второго транспортного пути с плоской крышей,
способ включает в себя транспортирование транспортным средством (транспортными средствами) балок из первого и второго множеств по первому транспортному пути с плоской крышей, образованному уже установленными балками из первого множества балок, установку балок на место их использования поочередно у второго края первого транспортного пути с плоской крышей и у второго края второго транспортного пути с плоской крышей, и возврат транспортных средств к первому краю участка транспортной конструкции по второму транспортному пути с плоской крышей, образованному ранее установленными балками из второго множества балок.
Способ согласно изобретению также может включать в себя при необходимости нижеперечисленные признаки, рассматриваемые по отдельности или в комбинации:
- участок транспортной конструкции не содержит никаких платформ, образующих площадку для обслуживания,
- способ включает в себя первый этап монтажа опор,
- способ включает в себя дополнительный этап, на котором первая секция участка транспортной конструкции, содержащая, по меньшей мере, опору, балку из первого множества балок и балку из второго множества балок, монтируется на складе,
- транспортные средства загружаются балками у первого края участка транспортной конструкции,
- балки устанавливаются в требуемое положение краном для надвижки балок, который поддерживается самой конструкцией,
- балки изготавливаются на стройплощадке.
Второй объект изобретения относится к участку транспортной конструкции для капсул, перемещающихся, по существу, без воздушного трения в узле сегментов труб, в котором создано низкое давление воздуха; участок транспортной конструкции содержит:
- множество опор, расположенных по существу, на равном расстоянии вдоль продольной оси X участка транспортной конструкции,
- первое множество балок, расположенных, по меньшей мере, на некоторых из опор и образующих:
○ первый узел сегментов труб, в котором может создаваться низкое давление воздуха и обеспечиваться круговое движение капсул, движущихся, по существу, без воздушного трения в сегментах труб,
○ первый транспортный путь с плоской крышей, который проходит от первого края участка транспортной конструкции до второго края участка транспортной конструкции,
каждая балка из первого множества балок содержит:
○ сегмент трубы первого узла сегментов труб,
○ металлическую конструкцию, окружающую сегмент трубы первого узла сегментов трубы, причем верхняя поверхность металлической конструкции является участком первого транспортного пути с плоской крышей,
- второе множество балок, расположенных, по меньшей мере, на некоторых из опор и образующих:
○ второй узел сегментов труб, в котором может создаваться низкое давление воздуха и обеспечиваться круговое движение капсул, движущихся, по существу, без воздушного трения в сегментах труб,
○ второй транспортный путь с плоской крышей, который проходит от первого края участка транспортной конструкции до второго края участка транспортной конструкции рядом с первым транспортным путем с плоской крышей,
каждая балка из второго множества балок содержит:
○ сегмент трубы второго узла сегментов труб,
○ металлическую конструкцию, окружающую сегмент трубы второго узла сегментов труб, причем верхняя поверхность металлической конструкции является участком второго транспортного пути с плоской крышей.
Участок транспортной конструкции согласно изобретению дополнительно может включать в себя при необходимости нижеперечисленные признаки, рассматриваемые по отдельности или в комбинации:
- участок транспортной конструкции не содержит никаких платформ, образующих площадку для обслуживания,
- все балки первого множества балок расположены последовательно и непрерывно друг за другом вдоль продольной оси X участка транспортной конструкции, и все балки второго множества балок расположены последовательно и непрерывно друг за другом вдоль продольной оси X участка транспортной конструкции,
- металлическая конструкция содержит нижнюю панель, верхнюю панель и поперечные усиления, соединяющие нижнюю панель и верхнюю панель,
- каждое поперечное усиление проходит, по существу, в плоскости, перпендикулярной продольной оси X участка транспортной конструкции,
- каждое поперечное усиление проходит горизонтально и соответствует контуру сечения сегмента трубы,
- верхняя панель, по существу, является плоской поверхностью, пригодной для движения транспорта,
- участок транспортной конструкции дополнительно содержит третье множество балок, расположенных на первом множестве балок, и/или четвертое множество балок, расположенных на втором множестве балок.
Ясно, что изобретение основано на строительстве конструкции, состоящей из опор и балок, содержащих элементы трубы высокоскоростной транспортной системы, которые могут выдерживать транспортирование тяжелых изделий, таких как балки. Конструкция имеет круговую траекторию движения, так что, начиная со склада, транспортные средства, выполняющие круговое движение на участке конструкции уже на объекте, могут транспортировать каждое дополнительное изделие транспортной конструкции на место его расположения на стройплощадке и возвращаться на склад, не препятствуя движению других транспортных средств для транспортирования следующих изделий на стройплощадку. Таким образом, строительство транспортной конструкции можно легко выполнять независимо от рельефа местности.
Другие характеристики и преимущества изобретения подробно описаны ниже.
Изобретение станет более понятным из нижеприведенного описания, которое приводится только с целью объяснения и никоим образом не является ограничивающим.
На фиг. 1 показан участок транспортной конструкции согласно первому варианту осуществления изобретения;
на фиг. 2 подробно показана балка согласно варианту осуществления изобретения;
на фиг. 3 – участок транспортной конструкции согласно второму варианту осуществления изобретения;
на фиг. 4 – монтаж опор участка транспортной конструкции;
на фиг. 5 – монтаж первой секции участка транспортной конструкции согласно второму варианту осуществления изобретения;
на фиг. 6 – загрузка балок на складе на транспортные средства, расположенные на первой секции участка транспортной конструкции согласно второму варианту осуществления изобретения;
на фиг. 7 – транспортирование балок на строительную площадку по одному из транспортных путей с плоской крышей участка транспортной конструкции согласно второму варианту осуществления изобретения;
на фиг. 8 – установка в требуемое положение балок на строительной площадке;
на фиг. 9 – транспортные средства, вернувшиеся на склад согласно другому транспортному пути с плоской крышей.
Следует отметить, что относящиеся к пространственному расположению термины, такие как «нижний», «под», «внутренний», «внутрь», «наружный», «наружу» и т.д., используются в этой заявке со ссылкой на расположения и ориентации различных элементов участка транспортной конструкции после монтажа последней. Термины «выше по ходу» и «ниже по ходу» используются в заявке со ссылкой на направление сборки, начиная со склада.
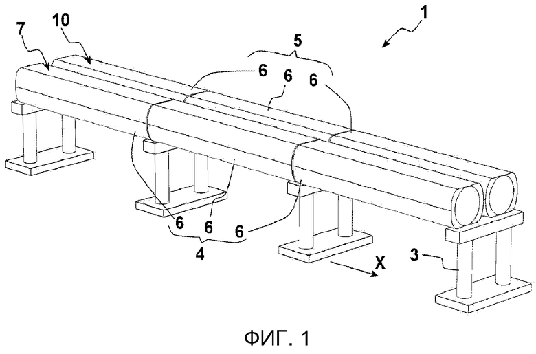
Со ссылкой на фиг. 1-3 участок транспортной конструкции 1 согласно изобретению в первую очередь содержит множество опор 3, первое множество 4 балок 6, расположенных, по меньшей мере, на части опор (т.е. по меньшей мере, на некоторых из опор) и образующих первый транспортный путь 7 с плоской крышей, проходящий от первого края участка транспортной конструкции до его второго края, и второе множество 5 балок 6, расположенных, по меньшей мере, на части опор (т.е. по меньшей мере, на некоторых из опор) и образующих второй транспортный путь 10 с плоской крышей, проходящей от первого края участка транспортной конструкции до его второго края рядом с первым транспортным путем 7 с плоской крышей.
Участок транспортной конструкции состоит из множества секций, предпочтительно, по меньшей мере, 3 секций. Секция ограничивается длиной балки. Она предпочтительно соответствует расстоянию между двумя следующими друг за другом опорами вдоль продольной оси X участка транспортной конструкции.
Опора 3 является вертикальной опорой для конструкции или верхнего строения, например, арки или моста. Она поддерживает верхнее строение и передает нагрузки от верхнего строения на фундамент. Форма опор согласно изобретению особо не ограничивается при условии, что они могут поддерживать балки.
Согласно первому варианту, показанному на фиг. 1, опоры являются свайными опорами, т.е. опорами, выполненным из двух или более колонн, поддерживающих оголовок опоры. Опоры, по существу, проходят в плоскости, перпендикулярной маршруту движения, т.е. перпендикулярной длине балок.
Согласно второму варианту, показанному на фиг. 3, опоры являются V-образными. Указанная V-образная форма, по существу, проходит в плоскости, перпендикулярной маршруту движения, т.е. перпендикулярной длине балок. Опоры содержат два наклонных плеча, проходящих наружу. Каждая опора может поддерживать одну балку. Опоры по второму варианту также могут содержать оголовок опоры в форме горизонтальной балки, связывающей два плеча. Оголовок опоры обеспечивает дополнительную опорную поверхность для балок и лучше распределяет нагрузку от балок на опоры.
При необходимости множество опор может быть разделено на первое множество опор и второе множество опор. Первое множество опор поддерживает первое множество балок, и второе множество опор поддерживает второе множество балок. Преимущество такой конструкции состоит в том, что пространство между первым и вторым транспортными путями с плоской крышей или уровень первого и второго транспортного путей с плоской крышей можно легко регулировать в зависимости от топографии земли.
Также возможны другие формы опор, такие как Y-образные, X-образные, H-образные опоры, одностолбчатые опоры, консольные опоры, рамные опоры, массивные опоры, простые колонны.
Опоры устанавливают, по существу, на равном расстоянии друг от друга вдоль продольной оси X участка транспортной конструкции.
Участок 1 транспортной конструкции согласно изобретению также содержит первое множество 4 балок 6, расположенных, по меньшей мере, на некоторых из опор 3 и образующих:
- первый узел 12 сегментов 14 труб, в котором может создаваться низкое давление воздуха и обеспечиваться круговое движение капсул, движущихся, по существу, без воздушного трения в сегментах труб, и
- первый транспортный путь 7 с плоской крышей, проходящий от первого края участка транспортной конструкции до его второго края.
Соответственно, каждая балка 6 из первого множества содержит:
○ сегмент 14 трубы из первого множества сегментов труб,
○ металлическую конструкцию 20, окружающую сегмент трубы первого узла сегментов труб, причем верхняя поверхность металлической конструкции является участком первого транспортного пути с плоской крышей,
Балка 6 является опорной балкой, используемой при строительстве. Она может быть выполнена из стали или бетона или она может быть составной конструкцией. Она может быть коробчатой балкой, т.е. балкой, которая имеет замкнутый контур сечения.
Конструкция сегментов 14 труб не ограничивается при условии, что они могут соединяться друг с другом с помощью продольных концов, прямо или косвенно, вдоль продольной оси и образовывать вышеописанный узел. В частности, сечение трубы не ограничивается. Оно может быть круглым или многоугольным.
Сегменты труб предпочтительно изготавливаются из стали. Сталь имеет преимущество, состоящее в том, что она имеет небольшой вес, в ней легко обеспечивается вакуумная герметичность, и сталь пригодна для повторной переработки.
Согласно варианту изобретения сегмент трубы выполняется из стальных листов, сваренных друг с другом.
Согласно другому варианту сегмент трубы содержит множество стеночных сегментов, соединенных друг с другом с помощью их продольных краев. Смежные стеночные сегменты расположены впритык вдоль линии соединения. Их края могут содержать полки для упрощения сборки. Каждый стеночный сегмент может содержать, по меньшей мере, одну центральную панель и две боковые панели. Боковые панели проходят с обеих сторон центральной панели по окружности сегмента трубы. Они ограждают центральную панель в боковом направлении. Боковые панели образуют угол с центральной панелью (панелями). Стеночный сегмент этого типа имеет преимущество, состоящее в том, что он может быть легко получен посредством простой гибки металлического листа. Боковые панели увеличивают жесткость стеночных сегментов и увеличивают прочность на изгиб указанных сегментов в продольном направлении.
Согласно другому варианту сегмент трубы является сегментом трубы с двойными стенками, где пространство между наружной трубой и внутренней трубой заполнено компаундом, увеличивающим жесткость.
Согласно другому варианту сегмент трубы содержит множество продольных стрингеров, прикрепленных к множеству кольцевых секций для формирования скелетообразного каркаса, на который крепятся секции обшивки с обеспечением воздухонепроницаемости.
Согласно другому варианту сегмент трубы содержит множество продолговатых наружных панелей обшивки, образующих наружную стенку сегмента трубы с двойными стенками. Панели являются криволинейными, так что в результате их сборки получают гладкую цилиндрическую поверхность. Они могут иметь выдавленный отпечаток для увеличения сопротивления продольному изгибу. Сегмент трубы также содержит внутренние детали из листа, формирующие внутреннюю стенку сегмента трубы с двойными стенками, сваренными друг с другом для получения воздухонепроницаемого соединения и приваренные к удлиненным наружным панелям обшивки.
Согласно другому варианту сегмент трубы содержит продолговатые криволинейные наружные детали кожуха, формирующие наружную стенку сегмента трубы с двойными стенками, внутреннюю стенку в форме многоугольной трубы с множеством граней и детали промежуточного кожуха, внутренняя сторона которых является плоской, и наружная сторона имеет такую же кривизну, как и продолговатые криволинейные наружные детали кожуха.
Выражение «низкое давление воздуха» означает давление воздуха ниже атмосферного давления, предпочтительно ниже или равное 10 кПа, более предпочтительно от 10 Па до 10 кПа.
В сущности, способность указанного узла находиться под низким давлением воздуха обеспечивается характеристиками стенки сегментов трубы, характеристиками соединения сегментов труб и наносным оборудованием. В частности, стенка сегментов труб должна быть воздухонепроницаемой. Различные способы обеспечения воздухонепроницаемости стенки труб хорошо известны, и специалисту в рассматриваемой области известно, как выбирать характеристики стенки в каждом конкретном случае. Кроме того, соединение между двумя сегментами труб должно быть воздухонепроницаемым. Воздухонепроницаемость соединения может обеспечиваться сваркой, добавлением таких компонентов, как эластомер, между сегментами труб, которые соединяются болтами или с помощью зажимания или расширительного соединения. Специалисту в рассматриваемой области известно, как обеспечивать воздухонепроницаемость соединения и его пригодность в каждом конкретном случае. Кроме того, насосное оборудование должно иметь надлежащие характеристики, так чтобы обеспечить достижение и поддержание низкого давления воздуха в узле сегментов труб, учитывая утечки воздуха в ходе выполнения работ. Специалисту в рассматриваемой области известно, как обеспечивать требуемые характеристики и пригодность насосного оборудования в каждом конкретном случае.
В сущности, способность узла обеспечивать круговое движение капсул, которые движутся, по существу, без воздушного трения в сегментах труб, достигается с помощью инфраструктуры, расположенной внутри трубных сегментов, которая обеспечивает левитацию/подвешивание, поступательное движение, торможение и т.д. Такие инфраструктуры уже хорошо известны и специалист в рассматриваемой области знает, как приспособить инфраструктуру к каждому конкретному случаю.
Балка также содержит металлическую конструкцию 20, в которую помещен сегмент трубы первого узла сегментов труб, причем верхняя поверхность металлической конструкции является участком первого транспортного пути 7 с плоской крышей.
В первом варианте выполнения металлической конструкции, показанной на фиг. 2, металлическая конструкция может содержать нижнюю панель 21, верхнюю панель 22 и поперечные усиления 23, соединяющие нижнюю панель и верхнюю панель.
Нижняя панель 21, по существу, плоский компонент, проходящий горизонтально. Предпочтительно он выполнен из листов, таких как стальные листы. Более предпочтительно он усилен продольными элементами 24 жесткости. Нижняя панель увеличивает жесткость балки и ограничивает прогиб балки между её опорами.
Верхняя панель 22 может быть плоским компонентом, проходящим горизонтально. Более предпочтительно она выполнена из листов, таких как стальные листы. Более предпочтительно она усилена продольными элементами жесткости. Верхняя панель увеличивает жесткость балки и ограничивает прогиб балки между её опорами. Верхняя поверхность верхней балки образует участок первого транспортного пути 7 с плоской крышей.
Поперечные усиления 23 проходят, по существу, в плоскости, перпендикулярной продольной оси X участка транспортной конструкции. Они проходят горизонтально и ограничивают ширину балки и увеличивают жесткость нижней панели и верхней панели, с которыми они соединены. Они проходят вертикально и ограничивают толщину балки и также увеличивают жесткость балки. В частности, они проходят до уровня или выше верха сегмента трубы, так что они могут быть соединены непосредственно с верхней панелью. В частности, они проходят до уровня или ниже низа сегмента трубы, так что они могут быть соединены непосредственно с нижней панелью. Они предпочтительно расположены на расстоянии друг от друга по длине балки, т.е. вдоль продольной оси X. Более предпочтительно, они расположены с равными интервалами. Они могут быть выполнены, например, из плоских панелей, гофрированных панелей или плоских панелей, усиленных элементами жесткости.
Согласно первому варианту металлической конструкции, показанной на фиг. 2, поперечное усиление 23 проходит горизонтально, так что оно соответствует контуру сечения сегмента трубы. Оно также увеличивает жесткость сегмента трубы и балки. Поперечное усиление предпочтительно содержит две поперечные секции 25, по одной с каждой стороны сегмента трубы. В частности, секция поперечного усиления, расположенная с одной стороны сегмента трубы, обращена к секции поперечного усиления, расположенной с другой стороны сегмента трубы.
Как вариант, поперечное усиление может содержать нижнюю горизонтальную балку, расположенную ниже сегмента трубы, верхнюю горизонтальную балку, расположенную выше сегмента трубы, и, по меньшей мере, одну вертикальную балку, соединенную с нижней и верхней горизонтальными балками. Поперечное усиление предпочтительно содержит две вертикальные балки, расположенные с каждой стороны сегмента трубы и соединенные с нижней и верхней горизонтальными балками для формирования конструкции квадратного сечения, в которую помещен сегмент трубы.
Согласно второму варианту металлической конструкции (не показан) металлическая конструкция, в которую помещен сегмент трубы, может содержать поперечные усиления и продольные усиления, соединяющие поперечные усиления. Поперечные усиления могут быть усилениями, описанными выше. Продольные усиления предпочтительно являются балками, в частности, двутавровыми балками. Продольные усиления могут быть расположены снизу поперечных усилений в виде нижних продольных усилений и/или выше продольных усилений в виде верхних продольных усилений. Балка предпочтительно содержит два множества продольных усилений, по одному с каждой стороны сегмента трубы.
В этом варианте верхняя поверхность верхних продольных усилений образует участок первого транспортного пути с плоской крышей. В частности, верхние поверхности содержат рельсы, образующие железнодорожную линию, так что железнодорожные транспортные средства могут перемещаться по железнодорожной линии.
Каждая металлическая конструкция 20 балки окружает один сегмент трубы. Другими словами, балка не содержит сегмент 14 трубы второго узла сегментов труб, расположенный рядом с сегментом 14 трубы первого узла 12 в металлической конструкции.
Предпочтительно каждая балка 6 проходит от одной опоры до соседней опоры. В частности, первый конец балки опирается на заданную опору, и второй конец балки опирается на соседнюю опору вдоль продольной оси X участка маршрута транспортирования или конструкции. Таким образом, балки можно легко устанавливать посредством их позиционирования на опорах. Как вариант, балка может проходить более чем на двух опорах.
Первое множество 4 балок 6 расположено вдоль продольной оси участка маршрута транспортирования или конструкции и образует первый транспортный путь 7 с плоской крышей. В частности, все балки 6 из первого множества 4 балок расположены последовательно и непрерывно друг за другом вдоль продольной оси X участка транспортной конструкции и образуют первый транспортный путь 7 с плоской крышей. Транспортный путь с плоской крышей означает, по меньшей мере, один непрерывный трек из балок, выполненный с возможностью выдерживать транспортирование тяжелых изделий, таких как балки, транспортными средствами. Транспортный путь с плоской крышей проходит от первого продольного края участка транспортной конструкции до второго продольного края участка транспортной конструкции независимо от длины участка.
Согласно варианту транспортного пути с плоской крышей верхняя поверхность балки, в частности, верхняя панель, является просто плоской поверхностью, пригодной для движения транспорта.
Согласно другому варианту транспортного пути с плоской крышей верхняя поверхность балки, в частности, верхняя панель, содержит рельсы, образующие железнодорожную линию, так что железнодорожные транспортные средства могут перемещаться по железнодорожной линии.
Участок 1 транспортной конструкции согласно изобретению дополнительно содержит второе множество 5 балок 6, расположенных, по меньшей мере, на некоторых из опор и образующих:
- второй узел 13 сегментов 14 труб, в котором может создаваться низкое давление воздуха и обеспечиваться круговое движение капсул, движущихся, по существу, без воздушного трения в сегментах труб, и
- второй транспортный путь 10 с плоской крышей, который проходит от первого края участка транспортной конструкции до второго края участка транспортной конструкции рядом с первым транспортным путем с плоской крышей.
Соответственно, каждая балка 6 из второго множества 5 содержит:
○ сегмент 14 трубы второго узла сегментов труб,
○ металлическую конструкцию 20, т.е. вторую металлическую конструкцию. окружающую сегмент труб второго узла сегментов труб, причем верхняя поверхность металлической конструкции является участком второго транспортного пути 10 с плоской крышей.
Характеристики и варианты сегментов труб первого узла, подробно описанные выше, также относятся к сегментам труб второго узла. Сегменты труб первого узла и сегменты труб второго узла могут быть идентичными с целью удобства материально-технического обеспечения.
Характеристики и варианты металлической конструкции, описанные выше, также относятся и к рассматриваемому случаю. Балки первого множества и балки второго множества могут быть идентичными с целью удобства материально-технического обеспечения. Определения и варианты, подробно описанные в отношении первого транспортного пути с плоской крышей, также относятся ко второму транспортному пути с плоской крышей.
Второй транспортный путь 10 с плоской крышей проходит рядом с первым транспортным путем 7. Термин «рядом» означает, что оба транспортных пути с плоской крышей, по существу, параллельны друг другу и проходят по соседству друг с другом. Этот термин не ограничивает расположение транспортных путей с плоской крышей на одном уровне и/или строго параллельно друг другу. Расстояние между первым и вторым транспортными путями с плоской крышей и/или уровень первого и второго транспортных путей с плоской крышей могут регулироваться в зависимости от топографии земли. Для ясности первый и второй транспортные пути с плоской крышей физически отделены друг от друга. В конструкции не предусмотрены два участка одного транспортного пути, образованные верхней поверхностью одного множества балок.
Первое множество 4, соответственно второе множество 5 балок 6, может быть расположено на всех опорах, как показано в вариантах на фиг. 1-3. В общем, первое множество 4, соответственно второе множество 5 балок 6, расположено на всех опорах, когда каждая опора проходит в поперечном направлении в достаточной степени, чтобы поддерживать первое множество балок и второе множество балок. Как вариант, первое множество 4, соответственно второе множество 5 балок 6, расположено только на части опор, как, например, в случае опор в виде колонн, где половина опор поддерживает первое множество балок, и половина опор поддерживает второе множество балок.
При необходимости между опорами и балками расположены поддерживающие устройства. Поддерживающее устройство является устройством, которое поддерживает балки и передает нагрузки и перемещения от балок и верхнего строения к опорной конструкции и фундаменту. Поддерживающие устройства обеспечивают контролируемое перемещение и уменьшают связанные с этим механические напряжения.
Благодаря первому множеству 4 балок 6 и второму множеству 5 балок 6 во время этапа строительства транспортные средства, выполняющие круговое движение на балках, уже установленных на объекте, могут легко транспортировать каждый дополнительный элемент участка транспортной конструкции на место его монтажа по одному транспортному пути с плоской крышей и возвращаться на склад по другому транспортному пути с плоской крышей. Доступ к земле на трассе строительства больше не требуется. Это преимущество будет подробно описано в ходе описания способа монтажа.
Согласно варианту участок транспортной конструкции дополнительно содержит третье множество балок 6, расположенных на первом множестве 4 балок, и/или четвертое множество балок 6, расположенных на втором множестве 5 балок. В частности, каждая балка из третьего множества балок расположена на балке из первого множества, и/или каждая балка из четвертого множества балок расположена на балке из второго множества. Такое позиционирование ограничивает площадь, занимаемую транспортной конструкцией. Оно также уменьшает количество переключателей и способствует использованию поверхности, в частности, для отклонения в направлении станций.
Характеристики и варианты балок из первого и второго множеств, подробно описанные выше, также относятся и к балкам третьего и четвертого множеств. Балки из всех множеств могут быть идентичными с целью удобства материально-технического обеспечения.
При необходимости участок 1 транспортной конструкции согласно изобретению не содержит никаких платформ ни на опорах, ни соединенных с балками первого или второго транспортных путей с плоской крышей. Платформа определяется как легкая конструкция, пригодная для движения транспорта. Платформы предпочтительно выполняются из стали. Они предпочтительно содержат настил для движения транспорта, т.е. поверхность, пригодную для движения транспорта, которая может быть усилена снизу продольной арматурой и/или поперечной арматурой. Указанная арматура повышает жесткость конструкции настила для движения транспорта. Настил для движения транспорта также может содержать перила вдоль продольных краев настила для движения транспорта в целях обеспечения безопасности. Настил для движения транспорта, арматура и перила предпочтительно выполнены из стали. Настил для движения транспорта предпочтительно является перфорированной поверхностью, например, перфорированным листом или металлической решеткой.
Соответственно, участок 1 транспортной конструкции согласно изобретению не содержит никаких площадок для обслуживания, образованных множеством платформ, расположенных вдоль продольной оси X. Площадка для обслуживания означает, по меньшей мере, один непрерывный трек, выполненный с возможностью выдерживать движение транспорта. Она отличается от транспортного пути тем, что она выполнена без возможности выдерживать транспортирование тяжелых деталей, таких как балки.
Ниже со ссылкой на фиг. 4-9 приведено описание способа монтажа участка 1 транспортной конструкции согласно изобретению.
На первом этапе, показанном на фиг. 4, монтируют опоры 3 участка 1 транспортной конструкции. Они могут монтироваться любым пригодным способом, например, с помощью щитовой опалубки. Способ монтажа включает в себя монтаж фундаментов опор, как того требует качество грунта. Этот этап может выполняться перед этапом установки балок 6 в требуемое положение или, по меньшей мере, частично в то же время, что и этап установки балок в требуемое положение. Другими словами, опоры могут монтироваться заблаговременно перед началом установки балок в требуемое положение, например, несколькими неделями ранее. Это дает время на застывание бетона и уплотнение почвы. Как вариант, некоторые опоры всё же монтируются во время начала установки балок в требуемое положение на первых смонтированных опорах.
Когда площадь, требуемая для монтажа ограничена, и требуются только транспортные средства малой грузоподъемности (бульдозеры, автобетоносмесители) опоры предпочтительно монтируются с помощью наземного доступа на место установки каждой опоры.
На втором этапе монтажа участка 1 транспортной конструкции монтируют балки 6 и платформы.
Как указано выше, монтаж балок и платформ начинается со склада 15, где хранится, по меньшей мере, часть изделий для транспортной конструкции. В зависимости от удобства транспортирования изделий на склад некоторые изделия могут изготавливаться на складе в производственных помещениях. В качестве примера можно упомянуть сегменты труб, металлические конструкции или балки, которые являются массивными изделиями. Изготовление некоторых изделий на складе сводит к минимуму время монтажа на строительной площадке и позволяет улучшить контроль качества изготавливаемых изделий.
Склад 15 предпочтительно располагается на месте будущей станции, в частности, пассажирской и/или товарной станции. Это ограничивает занимаемую площадь на этапе строительства. Это также ограничивает объем строительных работ. В частности, строительные работы, выполненные для строительства склада и необходимых для него производственных помещений, могут использоваться для монтажа станции. Склад предпочтительно располагается на уровне земли.
Как показано на фиг. 5, первый подэтап монтажа балок 6 выполняется на складе 15. Этот подэтап включает в себя монтаж на складе первой секции конструкции, содержащей, по меньшей мере, одну опору 3, балку 6 из первого множества балок и балку 6 из второго множества балок. В частности, этот подэтап включает в себя установку в требуемое положение балки из первого множества балок, по меньшей мере, на одну опору и установку в требуемое положение балки из второго множества балок, по меньшей мере, на одну опору. Более конкретно, балка из первого множества и балка из второго множества устанавливаются в требуемое положение на одну и ту же, по меньшей мере, одну опору. Эта установка в требуемое положение предпочтительно выполняется с помощью крана 16, который может захватывать изделия на складе и перемещать их на опоры.
Согласно первому варианту первая секция конструкции содержит единственную опору. Это является случаем, когда склад расположен на высоком месте. Первый край первой балки из первого множества балок может опираться на указанное высокое место, в то время как второй край может опираться на опору, расположенную на склоне. Сходным образом первый край первой балки из второго множества балок может опираться на указанное высокое место, в то время как второй край может опираться на опору, расположенную на склоне. В этом случае первый подэтап включает в себя установку в требуемое положение балки из первого множества балок между высоким местом и опорой и установку в требуемое положение балки из второго множества балок между высоким местом и опорой.
Согласно второму варианту, показанному на фиг. 5, первая секция конструкции содержит две опоры. Это является случаем, когда склад расположен, по существу, на ровном земельном участке. Первый край первой балки из первого множества балок может опираться на первую опору, в то время как второй край может опираться на вторую опору. Сходным образом первый край первой балки из второго множества балок может опираться на первую опору, в то время как второй край может опираться на вторую опору. В этом случае первый подэтап включает в себя установку в требуемое положение балки из первого множества балок на двух опорах и установку в требуемое положение балки из второго множества балок на двух опорах.
Первый подэтап может включать в себя монтаж на складе других секций конструкции. Количество секций, монтируемых на строительной площадке, определяется возможностями крана на складе устанавливать балки на опоры в требуемое положение.
После монтажа первой секции конструкции она содержит первый край рядом со складом и второй край на противоположном конце. Первый край первой секции соответствует первому краю участка транспортной конструкции, монтируемому согласно изобретению. Соответственно, положение первого края участка транспортной конструкции, монтируемого согласно изобретению, не будет изменяться с течением времени в процессе монтажа участка транспортной конструкции. Что касается второго края первой секции, то он соответствует второму краю опорной конструкции во время строительства при условии, что никакие другие секции конструкции не были смонтированы ниже по ходу первой секции. Другими словами, положение второго края конструкции в процессе строительства изменяется со временем каждый раз, когда новая секция монтируется ниже по ходу уже смонтированных секций транспортной конструкции.
Благодаря изделиям, составляющим смонтированную опорную конструкцию, транспортные средства 17 могут совершать круговое движение на первом транспортном пути 7 с плоской крышей, образованном, по меньшей мере, одной балкой 6 из первого множества 4 балок, и на втором транспортном пути 10 с плоской крышей, образованном, по меньшей мере, одной балкой 6 из второго множества 5 балок. В частности, транспортные средства, перевозящие изделия, которые должны быть установлены в требуемое положение на трассе строительства, во время строительства могут совершать круговое движение на первом транспортном пути с плоской крышей и/или втором транспортном пути с плоской крышей, начиная от первого края и до второго края конструкции. После доставки изделий на место их использования транспортные средства могут возвращаться к первому краю по второму транспортному пути с плоской крышей.
Соответственно, на втором подэтапе во время монтажа балок 6 другая секция опорной конструкции может монтироваться, как подробно описано ниже. Эта секция для упрощения именуется ниже «второй секцией», учитывая, что на складе была смонтирована только первая секция.
Вторая секция опорной конструкции содержит одну балку 6 из первого множества 4 балок, одну балку 6 из второго множества 5 балок и, по меньшей мере, одну опору 3 конструкции.
Как объясняется выше в отношении монтажа опор, по меньшей мере, дополнительная опора была смонтирована ниже по ходу первой секции конструкции.
Транспортные средства 17, пригодные для транспортирования тяжелых изделий, расположены на первой секции конструкции, в частности, на первом транспортном пути 7 с плоской крышей, более конкретно, на первой балке 6 из первого множества 4 балок. Транспортные средства могут подниматься краном 16 или могут достигать требуемого положения с помощью наклонного въезда или другого пригодного оборудования. Тип транспортных средств не ограничивается. Это могут быть колесные транспортные средства, например, грузовики, или поездные локомотивы. В зависимости от типа транспортных средств изделие (изделия), подлежащие транспортированию, могут загружаться или на одно транспортное средство или на несколько транспортных средств одновременно или транспортное средство может быть просто соединено с изделием (изделиями), как в случае поездного локомотива, для транспортирования изделия (изделий), оснащенного железнодорожными колесами. В этом описании термины «загружать» и «соединять» используются равным образом для обозначения погрузки в транспортное средство (транспортные средства) изделия и соединения транспортного средства (транспортных средств) с изделием. Термин «освобождать» используются равным образом для обозначения выгрузки изделия из транспортного средства (транспортных средств) и отсоединения транспортного средства (транспортных средств) от изделия.
Некоторые транспортные средства загружаются балкой (балками) из второй секции конструкции. В частности, транспортное средство (транспортные средства) загружаются одной балкой 6 из первого множества 4 балок, и транспортное средство (транспортные средства) загружаются, по меньшей мере, одной балкой 6 из второго множества 5 балок. Изделия могут транспортироваться со склада на первую секцию конструкции или могут подниматься со склада до первой секции конструкции с помощью крана. В первом случае они могут транспортироваться самими транспортными средствами. Во втором случае транспортные средства могут устанавливаться в требуемое положение с последующей загрузкой.
Далее изделия транспортируются транспортными средствами согласно первому транспортному пути 7 с плоской крышей от первого края до второго края конструкции при строительстве, который расположен рядом с местом их использования. В частности:
- балка 6 из первого множества 4 балок транспортируется по первому транспортному пути 7 с плоской крышей, образованному уже установленной балкой (балками) из первого множества балок,
- балка 6 из второго множества 5 балок транспортируется по первому транспортному пути 7 с плоской крышей, т.е. по тому же самому транспортному пути с плоской крышей, что и, по меньшей мере, одна балка 6 из первого множества балок.
Порядок, в котором изделия соединяются с транспортными средствами и транспортируются ко второму краю, не ограничивается. Кроме того, некоторые балки могут транспортироваться ко второму краю, в то время как другие балки всё еще загружаются на транспортные средства. Если балки из первого множества 4 и балки из второго множества 5 отличаются по конструкции, они предпочтительно поочередно транспортируются ко второму краю для удобства их установки в требуемое положение.
После транспортирования балки ко второму краю конструкции во время строительства она устанавливается в требуемое положение на месте использования, т.е. в рабочее положение в конструкции. В частности:
- балка 6 из первого множества 4 балок устанавливается в требуемое положение ниже по ходу первого транспортного пути 7 с плоской крышей. В частности, она устанавливается в требуемое положение после балки первого транспортного пути с плоской крышей, образующей второй край конструкции во время строительства. Более конкретно, она устанавливается в требуемое положение в одну линию с балкой 6 первого транспортного пути 7 с плоской крышей, образующей второй край вдоль продольной оси X. Еще более конкретно она устанавливается в требуемое положение так, что первый конец балки опирается на опору, образующую второй край первой секции конструкции, и второй конец балки опирается, по меньшей мере, на дополнительную опору, смонтированную ниже по ходу первой секции конструкции. Балка из первого множества балок предпочтительно устанавливается в требуемое положение краном 18, более предпочтительно краном для надвижки балок, который поддерживается самой опорной конструкцией;
- балка 6 из второго множества 5 балок также устанавливается в требуемое положение ниже по ходу второго транспортного пути 10 с плоской крышей. В частности, она устанавливается в требуемое положение после балки второго транспортного пути с плоской крышей, образующей второй край конструкции во время строительства. Более конкретно, она устанавливается в требуемое положение в одну линию с балкой второго транспортного пути с плоской крышей, образующей второй край вдоль продольной оси. Еще более конкретно она устанавливается в требуемое положение так, что первый конец балки опирается на опору, образующую второй край первой секции конструкции, и второй конец балки опирается на дополнительную опору, смонтированную ниже по ходу первой секции конструкции. Балка из второго множества балок предпочтительно устанавливается в требуемое положение краном 18, более предпочтительно краном для надвижки балок.
Использование крана 18, поддерживаемого конструкцией, является предпочтительным. Оно дополнительно ограничивает площадь, требуемую для монтажа, за счет исключения необходимости доступа с земли к строительной площадке и подготовки участка земли для установки крана. Кроме того, способ монтажа не зависит от топографии и неровностей рельефа.
Балки устанавливаются в заданное положение поочередно ниже по ходу первого транспортного пути 7 с плоской крышей и ниже по ходу второго транспортного пути 10 с плоской крышей, более предпочтительно, с помощью крана для надвижки балок. Порядок, в котором балки устанавливаются поочередно, не ограничивается. Кроме того, некоторые балки могут устанавливаться в требуемое положение, в то время как другие балки всё еще соединяются с транспортными средствами или транспортируются ко второму краю.
После установки балки соответствующее разгруженное транспортное средство (транспортные средства) может возвращаться к первому краю конструкции по второму транспортному пути 10 с плоской крышей. В частности:
- транспортное средство (транспортные средства) 17, из которого выгружена балка 6 из первого множества 4 балок, движется с первого транспортного пути 7 с плоской крышей на второй транспортный путь 10 с плоской крышей. Транспортное средство (транспортные средства) может быть поднято краном и установлено на второй транспортный путь с плоской крышей. Предпочтительно, оно поднимается краном для надвижки балок;
- транспортное средство (транспортные средства) 17, из которого выгружена балка 6 из второго множества 5 балок, движется с первого транспортного пути 7 с плоской крышей на второй транспортный путь 10 с плоской крышей. Транспортное средство (транспортные средства) может быть поднято краном и установлено на второй транспортный путь с плоской крышей. Предпочтительно, оно поднимается краном для надвижки балок.
После монтажа второй секции конструкции, как подробно описано выше, другие секции конструкции могут монтироваться друг за другом по сходному процессу, и как описано, ниже в отношении монтажа x-й секции конструкции.
Указанная x-я секция конструкции содержит n-ю балку 6 из первого множества 4 балок, n-ю балку 6 из второго множества 5 балок и, по меньшей мере, z-ю опору 3 конструкции. По умолчанию x, z и n отличаются. В случае, когда первая секция содержит 2 опоры, и каждая секция конструкции помимо первой секции содержит одну опору, z равно n+1.
По меньшей мере, z-я опора 3 была смонтирована ниже по ходу (x-1) первых секций.
Как показано на фиг. 6, транспортные средства 17, которые вернулись к первому краю конструкции после разгрузки балки (балок) предыдущей секции (секций) конструкции, загружаются балкой (балками) x-й секции конструкции. В частности, транспортное средство (транспортные средства) загружаются, по меньшей мере, n-й балкой из первого множества балок, и транспортное средство (транспортные средства) загружаются n-й балкой из второго множества балок.
Как показано на фиг. 7, начиная от первого края конструкции, балка (балки) 6 указанной x-й секции конструкции транспортируются транспортными средствами по первому транспортному пути 7 от первого края ко второму краю конструкции во время строительства, который расположен рядом с местом их использования. В частности:
- n-я балка 6 из первого множества 4 балок транспортируется по первому транспортному пути 7 с плоской крышей, образованному ранее установленными на опорах (n-1) балками из первого множества балок;
- n-я балка 6 из второго множества 5 балок транспортируется по первому транспортному пути 7 с плоской крышей, т.е. по тому же самому транспортному пути с плоской крышей, что и n-я балка 6 из первого множества балок.
Порядок, в котором балки соединяются с транспортными средствами и транспортируются ко второму краю, не ограничивается. Кроме того, некоторые балки могут транспортироваться ко второму краю, в то время как другие балки всё еще соединяются с транспортными средствами. Если балки первого множества 4 и балки второго множества 5 отличаются по конструкции, они предпочтительно поочередно транспортируются ко второму краю для удобства их установки в требуемое положение.
Как показано на фиг. 8 и 9, после транспортирования балки ко второму краю конструкции во время строительства, она устанавливается в требуемое положение на месте его использования. В частности:
- n-я балка 6 из первого множества балок устанавливается в требуемом месте ниже по ходу первого транспортного пути 7 с плоской крышей. В частности, она устанавливается в требуемом месте после балки первого транспортного пути с плоской крышей, образующей второй край конструкции во время строительства. Более конкретно, она устанавливается в требуемом месте в одну линию вдоль продольной оси с (n-1)-й балкой первого транспортного пути с плоской крышей. Еще более конкретно, она устанавливается в требуемом месте так, что первый конец n-й балки опирается на опору, образующую второй край ((z-1)-я опора), и второй конец n-й балки опирается на z-ю опору, смонтированную ниже по ходу конструкции. Указанная n-я балка из первого множества балок предпочтительно устанавливается в требуемое положение краном 18, более предпочтительно краном для надвижки балок, который поддерживается самой опорной конструкцией;
- n-я балка 6 из второго множества балок 5 устанавливается в требуемом месте ниже по ходу второго транспортного пути 10 с плоской крышей. В частности, она устанавливается в требуемом месте после балки второго транспортного пути с плоской крышей, образующей второй край конструкции во время строительства. Более конкретно, она устанавливается в требуемом месте в одну линию вдоль продольной оси с (n-1)-й балкой второго транспортного пути с плоской крышей. Еще более конкретно, она устанавливается в требуемом месте так, что первый конец n-й балки опирается на опору, образующую второй край ((z-1)-я опора), и второй конец n-й балки опирается на z-ю опору, смонтированную ниже по ходу конструкции. Другими словами, она устанавливается рядом с n-й балкой из первого множества. Указанная n-я балка из второго множества балок предпочтительно устанавливается в требуемое положение краном 18, более предпочтительно краном для надвижки балок;
Балки устанавливаются в заданное положение поочередно ниже по ходу первого транспортного пути 7 с плоской крышей и ниже по ходу второго транспортного пути 10 с плоской крышей, более предпочтительно, с помощью крана для надвижки балок. Порядок, в котором балки x-й секции устанавливаются поочередно, не ограничивается. Кроме того, некоторые балки x-й секции могут устанавливаться в требуемое положение, в то время как другие балки x-й всё еще соединяются с транспортными средствами или транспортируются ко второму краю.
Как показано на фиг. 8 и 9, после установки в требуемое положение балки из x-й секции конструкции, соответствующее разгруженное транспортное средство (транспортные средства) может вернуться к первому краю конструкции по второму транспортному пути 10 с плоской крышей. В частности:
- транспортное средство (транспортные средства), с которого разгружена n-я балка из первого множества балок, перемещается с первого транспортного пути 7 с плоской крышей на второй транспортный путь 10 с плоской крышей;
- транспортное средство (транспортные средства), с которого разгружена n-я балка из второго множества балок, перемещается с первого транспортного пути 7 с плоской крышей на второй транспортный путь 10 с плоской крышей;
Транспортное средство (транспортные средства) может подниматься краном и устанавливаться на площадку для обслуживания. Предпочтительно оно может подниматься краном для надвижки балок.
В конце этапа монтажа конструкции последняя балка из первого множества балок и последняя балка из второго множества балок устанавливаются в требуемое положение на последних опорах конструкции. Эти опоры могут граничить со вторым участком транспортной конструкции или использоваться совместно со вторым участком транспортной конструкции, который смонтирован или монтируется как продолжение соответствующего участка транспортной конструкции вдоль продольной оси маршрута транспортирования. Указанный второй участок транспортной конструкции монтируется от второго склада на месте возможной будущей станции, расположенном ниже по ходу соответствующей станции. Строительство второго участка транспортной конструкции выполняется посредством монтажа его конструкции в обратном направлении по отношению к монтажу конструкции соответствующего участка. Другими словами, строительство каждого участка ведется от склада в направлении другого склада, и в определенное время указанные два участка соединяются. Таким образом, последняя балка из первого множества балок соответствующего участка примыкает к последней балке из первого множества второго участка, так что первый узел 12 сегментов 14 труб является непрерывным. Сходным образом последняя балка из второго множества балок соответствующего участка примыкает к последней балке из второго множества второго участка, так что второй узел 13 сегментов 14 труб является непрерывным.
После того, как все секции участка транспортной конструкции были собраны одна за другой, при необходимости третье множество 5 балок может быть установлено на первое множество 4 балок, в частности, на первый транспортный путь 7 с плоской крышей, и/или при необходимости четвертое множество 5 балок может быть установлено на второе множество 4 балок, в частности, на второй транспортный путь 10 с плоской крышей.
После установки балок третьего множества, соответственно, четвертого множества, на балки первого множества, соответственно, второго множества, в результате чего они блокируют первый транспортный путь с плоской крышей, соответственно второй транспортный путь с плоской крышей, указанная сборка может выполняться в обратном направлении относительно сборки первого и второго множеств балок. Другими словами, балки третьего множества и/или четвертого множества сначала устанавливаются у второго края конструкции во время строительства и затем устанавливаются одна перед другой в направлении первого края конструкции, т.е. одна перед другой. В этом случае балки 6 третьего множества и/или четвертого множества балок могут транспортироваться транспортными средствами от первого края конструкции к месту их использования только по одному транспортному пути с плоской крышей, который выбирают из первого транспортного пути с плоской крышей и второго транспортного пути с плоской крышей, и транспортные средства возвращаются по другому транспортному пути с плоской крышей из первого транспортного пути 7 с плоской крышей и второго транспортного пути 10 с плоской крышей, как описано выше со ссылкой на первое и второе множество балок.
Как вариант, третье и/или четвертое множество балок монтируется в прямом направлении вместо обратного. В этом случае балки 6 третьего множества балок транспортируются транспортными средствами от первого края конструкции к месту их использования по одному транспортному пути с плоской крышей, который выбирают из третьего транспортного пути с плоской крышей, образованного балками из третьего множества балок, уже установленными на первом транспортном пути с плоской крышей, и или второго транспортного пути с плоской крышей или, при необходимости, четвертого транспортного пути с плоской крышей, образованному балками из четвертого множества балок, уже установленными на втором транспортном пути с плоской крышей. Транспортные средства возвращаются по другому транспортному пути с плоской крышей. Сходным образом балки 6 из четвертого множества балок транспортируются транспортными средствами от первого края конструкции к месту их использования по одному транспортному пути с плоской крышей, который выбирают из четвертого транспортного пути с плоской крышей, образованного балками из четвертого множества балок, уже установленными на втором транспортном пути с плоской крышей, и или первого транспортного пути с плоской крышей или, при необходимости, третьего транспортного пути с плоской крышей, образованному балками из третьего множества балок, уже установленными на первом транспортном пути с плоской крышей. Транспортные средства возвращаются по другому транспортному пути с плоской крышей.
Указанная сборка аналогична сборке, описанной выше в отношении первого множества и второго множества балок.
| название | год | авторы | номер документа |
|---|---|---|---|
| СПОСОБ МОНТАЖА ТРАНСПОРТНОЙ КОНСТРУКЦИИ | 2022 |
|
RU2838033C2 |
| СПОСОБ МОНТАЖА ТРАНСПОРТНОЙ КОНСТРУКЦИИ | 2022 |
|
RU2838078C2 |
| ТРАНСПОРТНАЯ КОНСТРУКЦИЯ | 2022 |
|
RU2838170C2 |
| СПОСОБ МОНТАЖА ТРАНСПОРТНОЙ КОНСТРУКЦИИ И УЧАСТОК ТРАНСПОРТНОЙ КОНСТРУКЦИИ | 2022 |
|
RU2836793C2 |
| СПОСОБ МОНТАЖА ТРАНСПОРТНОЙ КОНСТРУКЦИИ | 2022 |
|
RU2838171C2 |
| Способ формования балки транспортного средства | 2014 |
|
RU2685318C2 |
| Гаситель вибраций для сборных складов и аналогичных сооружений | 2014 |
|
RU2648784C2 |
| СТРУКТУРНАЯ СХЕМА ЦИЛИНДРИЧЕСКОГО КОРПУСА | 2006 |
|
RU2317915C2 |
| ВАНТОВАЯ УБИРАЮЩАЯСЯ КРЫША, УСТАНАВЛИВАЕМАЯ НАД ПОКРЫВАЕМЫМ КРЫШЕЙ УЧАСТКОМ (ВАРИАНТЫ) | 1996 |
|
RU2172806C2 |
| КОНСТРУКЦИЯ КУЗОВА И КРЫШИ ТРАНСПОРТНОГО СРЕДСТВА | 2012 |
|
RU2600018C2 |
Изобретение относится к способу монтажа участка транспортной конструкции, содержащего множество опор (3), первое множество балок (6), образующих первый узел сегментов труб и первый транспортный путь (7) с плоской крышей, второе множество балок, образующих второй узел сегментов труб и второй транспортный путь (10) с плоской крышей, причем в обоих узлах может создаваться низкое давление воздуха и обеспечиваться движение капсул, по существу, без воздушного трения, причем способ включает в себя этапы, в которых транспортируют транспортными средствами балки по одному транспортному пути с плоской крышей, устанавливают их в требуемое положение и возвращают транспортные средства по другому транспортному пути с плоской крышей. Изобретение также относится к участку транспортной конструкции. В результате создана транспортная конструкция, которая совместима с пересеченной местностью и с помощью которой благодаря указанному способу можно более простым образом выполнять транспортировку различных изделий конструкции и их сборку. 2 н. и 13 з.п. ф-лы, 9 ил.
1. Способ монтажа участка (1) транспортной конструкции, содержащего:
множество опор (3), расположенных, по существу, на равном расстоянии вдоль продольной оси X участка транспортной конструкции;
первое множество (4) балок (6), расположенных, по меньшей мере, на некоторых из опор и образующих
первый узел (12) сегментов (14) труб, в котором может создаваться низкое давление воздуха и обеспечиваться круговое движение капсул, движущихся, по существу, без воздушного трения в сегментах труб,
первый транспортный путь (7) с плоской крышей, который проходит от первого края участка транспортной конструкции до второго края участка транспортной конструкции,
каждая балка из первого множества балок содержит
сегмент (14) трубы первого узла сегментов труб,
металлическую конструкцию (20), окружающую сегмент трубы первого узла сегментов труб, причем верхняя поверхность металлической конструкции является участком первого транспортного пути с плоской крышей;
второе множество (5) балок (6), расположенных, по меньшей мере, на некоторых из опор и образующих
второй узел (13) сегментов (14) труб, в котором может создаваться низкое давление воздуха и обеспечиваться круговое движение капсул, движущихся, по существу, без воздушного трения в сегментах труб,
второй транспортный путь (10) с плоской крышей, который проходит от первого края участка транспортной конструкции до второго края участка транспортной конструкции рядом с первым транспортным путем с плоской крышей,
каждая балка из второго множества балок содержит
сегмент (14) трубы второго узла сегментов труб,
металлическую конструкцию (20), окружающую сегмент трубы второго узла сегментов труб, причем верхняя поверхность металлической конструкции является участком второго транспортного пути с плоской крышей,
способ включает в себя этапы, в которых транспортируют транспортным средством/транспортными средствами (17) балки (6) из первого и второго множеств по первому транспортному пути (7) с плоской крышей, образованному уже установленными балками из первого множества балок, устанавливают балки на место их использования поочередно у второго края первого транспортного пути с плоской крышей и у второго края второго транспортного пути с плоской крышей и возвращают транспортные средства к первому краю участка транспортной конструкции по второму транспортному пути (10) с плоской крышей, образованному ранее установленными балками из второго множества балок.
2. Способ по п. 1, в котором участок транспортной конструкции не содержит никаких платформ, образующих площадку для обслуживания.
3. Способ по любому из пп. 1 или 2, в котором способ включает в себя первый этап монтажа опор (3).
4. Способ по любому из пп. 1-3, в котором способ включает в себя дополнительный этап, на котором первую секцию участка транспортной конструкции, содержащую, по меньшей мере, опору (3), балку (6) из первого множества (4) балок и балку (6) из второго множества (5) балок, монтируют на складе (15).
5. Способ по любому из пп. 1-4, в котором транспортные средства (17) загружаются балками (6) у первого края участка транспортной конструкции.
6. Способ по любому из пп. 1-5, в котором балки (6) устанавливаются в требуемое положение краном (18) для надвижки балок, который поддерживается самой конструкцией.
7. Способ по любому из пп. 1-6, в котором балки (6) изготавливаются на складе (15).
8. Участок (1) транспортной конструкции для капсул, перемещающихся, по существу, без воздушного трения в узле сегментов труб, в котором создано низкое давление воздуха, при этом участок транспортной конструкции содержит:
множество опор (3), расположенных, по существу, на равном расстоянии вдоль продольной оси X участка транспортной конструкции;
первое множество (4) балок (6), расположенных, по меньшей мере, на некоторых из опор и образующих
первый узел (12) сегментов (14) труб, в котором может создаваться низкое давление воздуха и обеспечиваться круговое движение капсул, движущихся, по существу, без воздушного трения в сегментах труб,
первый транспортный путь (7) с плоской крышей, который проходит от первого края участка транспортной конструкции до второго края участка транспортной конструкции,
каждая балка из первого множества балок содержит
сегмент (14) трубы первого узла сегментов труб,
металлическую конструкцию (20), окружающую сегмент трубы первого узла сегментов труб, причем верхняя поверхность металлической конструкции является участком первого транспортного пути с плоской крышей;
второе множество (5) балок (6), расположенных, по меньшей мере, на некоторых из опор и образующих
второй узел (13) сегментов (14) труб, в котором может создаваться низкое давление воздуха и обеспечиваться круговое движение капсул, движущихся, по существу, без воздушного трения в сегментах труб,
второй транспортный путь (10) с плоской крышей, который проходит от первого края участка транспортной конструкции до второго края участка транспортной конструкции рядом с первым транспортным путем с плоской крышей,
каждая балка из второго множества балок содержит
сегмент (14) трубы второго узла сегментов труб,
металлическую конструкцию (20), окружающую сегмент трубы второго узла сегментов труб, причем верхняя поверхность металлической конструкции является участком второго транспортного пути с плоской крышей.
9. Участок транспортной конструкции по п. 8, в котором участок транспортной конструкции не содержит никаких платформ, образующих площадку для обслуживания.
10. Участок транспортной конструкции по любому из пп. 8 или 9, в котором все балки (6) первого множества (4) балок расположены последовательно и непрерывно друг за другом вдоль продольной оси X участка транспортной конструкции и все балки (6) второго множества (5) балок расположены последовательно и непрерывно друг за другом вдоль продольной оси X участка транспортной конструкции.
11. Участок транспортной конструкции по любому из пп. 8-10, в котором металлическая конструкция (20) содержит нижнюю панель (21), верхнюю панель (22) и поперечные усиления (23), соединяющие нижнюю панель и верхнюю панель.
12. Участок транспортной конструкции по п. 11, в котором каждое поперечное усиление (23) проходит, по существу, в плоскости, перпендикулярной продольной оси X участка транспортной конструкции.
13. Участок транспортной конструкции по любому из пп. 11 или 12, в котором каждое поперечное усиление (23) проходит горизонтально и соответствует контуру сечения сегмента трубы.
14. Участок транспортной конструкции по любому из пп. 11-13, в котором верхняя панель, по существу, является плоской поверхностью, пригодной для движения транспорта.
15. Участок транспортной конструкции по любому из пп. 8-14, дополнительно содержащий третье множество балок (6), расположенных на первом множестве (4) балок, и/или четвертое множество балок (6), расположенных на втором множестве (5) балок.
| Способ получения цианистых соединений | 1924 |
|
SU2018A1 |
| CN 114016383 A, 08.02.2022 | |||
| CN 109024103 A, 18.12.2018 | |||
| CN 108755294 A, 06.11.2018 | |||
| Станок для изготовления деревянных ниточных катушек из цилиндрических, снабженных осевым отверстием, заготовок | 1923 |
|
SU2008A1 |
| Сверхзвуковая наземная транспортная система с вакуумной подушкой | 2016 |
|
RU2630268C1 |
| US 9517901 B2, 13.12.2016. | |||
Авторы
Даты
2025-03-17—Публикация
2022-02-28—Подача