Изобретение относится к способу монтажа транспортной конструкции, содержащей узел сегментов труб, который может находиться под низким давлением воздуха и по которому могут двигаться капсулы, по существу, без воздушного трения. Указанная транспортная система часто именуется технологией Hyperloop. Изобретение также относится к соответствующей транспортной конструкции.
Технология Hyperloop является высокоскоростной транспортной системой для перевозки, как пассажиров, так и грузов. Она основана на герметизированной системе труб с низким давлением воздуха, по которой движется капсула, по существу, без воздушного сопротивления или воздушного трения. Система содержит три основных компонента: трубу, капсулу и станции. Труба является большой герметизированной системой низкого давления, которая может быть построена выше, ниже или на уровне земли. Она содержит необходимую инфраструктуру для обеспечения левитации/подвешивания, поступательного движения, торможения и т.д. Транспортное средство движется внутри указанной контролируемой среды и часто именуется капсулой. Капсула использует электрическую левитацию (электромагнитную или электродинамическую) или аэродинамическую левитацию (используя полозья на воздушной подушке) совместно с электромагнитным или аэродинамическим поступательным движением для скольжения по неподвижной направляющей. Станция является сооружением, где капсула может начинать движение или останавливаться, и где может осуществляться посадка/высадка пассажиров и погрузка/выгрузка грузов. Станции расположены на каждом крае герметизированной системы труб.
На изображениях надземная конструкция Hyperloop часто представлена в виде сегментов труб, концы которых просто опираются на опоры, расположенные с постоянным интервалом. Такая конструкция является очень привлекательной, но она не дает полного понимания существенных недостатков, возникающих в процессе монтажа. Одним из таких недостатков является то, что сегменты труб являются очень большими изделиями, которые сложно транспортировать на строительную площадку, особенно когда местность является пересеченной или труднодоступной или если трасса Hyperloop находится вдалеке от существующих дорог. Во избежание транспортирования сегментов труб из US9517901 известно об изготовлении и сборке труб на земле с помощью передвижной машины для изготовления труб (показанной на фигуре 9A), выполненной с возможностью перемещения по земле и направляемой по трассе строительства. Как вариант, передвижная система для изготовления на стройплощадке (показанная на фигуре 9B) может быть расположена в одно месте для изготовления ряда секций (например, пятидесяти трубных секций) и последующего перемещения на новое место. В обоих случаях возможность строительства трасс Hyperloop существует только в случае, если передвижная машина для изготовления труб или передвижная система для изготовления труб могут достигнуть стройплощадки. Кроме того, помимо других недостатков следует упомянуть, что во время перемещения вдоль трассы строительства подача энергии может быть затруднена, и всякий раз, когда машина/система должна перемещаться, могут потребоваться новые свидетельства на электрооборудование.
Таким образом, задача изобретения заключается в том, чтобы устранить указанные недостатки способов и конструкций по известному уровню техники с помощью способа монтажа надземной транспортной конструкции, которая совместима с пересеченной местностью, и для которой можно более простым образом выполнять транспортировку различных изделий конструкции и их сборку.
С этой целью первым объектом изобретения является способ монтажа участка транспортной конструкции, содержащего:
- множество опор, расположенных по существу, на равном расстоянии вдоль продольной оси X участка транспортной конструкции,
- множество платформ, соединенных с опорами и образующих площадку для обслуживания, которая проходит от первого края участка транспортной конструкции до второго края участка транспортной конструкции,
- первое множество балок, расположенных на опорах и образующих:
ο первый узел сегментов труб, в котором может создаваться низкое давление воздуха и обеспечиваться круговое движение капсул, движущихся, по существу, без воздушного трения в сегментах труб,
ο первый транспортный путь с плоской крышей, который проходит от первого края участка транспортной конструкции до второго края участка транспортной конструкции,
каждая балка содержит:
ο сегмент трубы первого узла сегментов труб,
ο металлическую конструкцию, окружающую сегмент трубы первого узла сегментов труб, причем верхняя поверхность металлической конструкции является участком первого транспортного пути с плоской крышей,
способ включает в себя:
ο (i) начиная от первого края участка транспортной конструкции, транспортирование транспортным средством (транспортными средствами) n-й балки из первого множества балок по первому транспортному пути с плоской крышей, образованному ранее установленными (n-1) балками из первого множества балок, установку в требуемое положение n-й балки на месте её использования и возврат транспортного средства (транспортных средств) к первому краю участка транспортной конструкции по площадке для обслуживания, и
ο (ii) начиная от первого края участка транспортной конструкции, транспортирование транспортным средством (транспортными средствами) y-й платформы из множества платформ по первому транспортному пути с плоской крышей, образованному ранее установленными балками из первого множества балок, установку в требуемое положение y-й платформы на месте её использования и возврат транспортного средства (транспортных средств) к первому краю участка транспортной конструкции по площадке для обслуживания.
Способ согласно изобретению также может включать в себя при необходимости нижеперечисленные признаки, рассматриваемые по отдельности или в комбинации:
- способ включает в себя перед этапом i) этап монтажа опор,
- способ включает в себя перед этапом i) дополнительный этап, на котором балка из первого множества балок и, по меньшей мере, платформа первой секции участка транспортной конструкции монтируются на строительной площадке,
- на этапах i) и ii) транспортные средства загружаются балкой и платформой у первого края участка транспортной конструкции,
- балки устанавливаются в требуемое положение краном для надвижки балок, который поддерживается самой конструкцией,
- этап монтажа x-й секции не включает в себя установку в требуемое положение n-й балки из второго множества балок,
- способ дополнительно включает в себя этап асинхронного монтажа второго множества балок, устанавливаемых, по меньшей мере, на некоторые из опор и образующих:
ο второй узел сегментов труб, в котором может создаваться низкое давление воздуха и обеспечиваться круговое движение капсул, движущихся, по существу, без воздушного трения в сегментах труб,
ο второй транспортный путь с плоской крышей, который проходит от первого края участка транспортной конструкции до второго края участка транспортной конструкции рядом с первым транспортным путем с плоской крышей,
этап асинхронного монтажа включает в себя, начиная от первого края, транспортирование транспортным средством (транспортными средствами) n-й балки из второго множества балок или по первому транспортному пути с плоской крышей или по второму транспортному пути с плоской крышей, установку в требуемое положение n-й балки на месте её использования и возврат транспортного средства (транспортных средств) к первому краю участка транспортной конструкции по площадке для обслуживания.
Второй объект изобретения относится к участку транспортной конструкции для капсул, перемещающихся, по существу, без воздушного трения в узле сегментов труб, в котором создано низкое давление воздуха, при этом участок транспортной конструкции содержит:
- множество опор, расположенных по существу, на равном расстоянии вдоль продольной оси X участка транспортной конструкции,
- множество платформ, соединенных с опорами и образующих площадку для обслуживания, которая проходит от первого края участка транспортной конструкции до второго края участка транспортной конструкции,
- первое множество балок, расположенных на опорах и образующих:
ο первый узел сегментов труб, в котором может создаваться низкое давление воздуха и обеспечиваться круговое движение капсул, движущихся, по существу, без воздушного трения в сегментах труб,
ο первый транспортный путь с плоской крышей, который проходит от первого края участка транспортной конструкции до второго края участка транспортной конструкции,
каждая балка содержит:
ο сегмент трубы первого узла сегментов труб,
ο металлическую конструкцию, окружающую сегмент трубы первого узла сегментов труб, причем верхняя поверхность металлической конструкции является участком первого транспортного пути с плоской крышей.
Участок транспортной конструкции согласно изобретению также может включать в себя при необходимости нижеперечисленные признаки, рассматриваемые по отдельности или в комбинации:
- участок транспортной конструкции дополнительно содержит второе множество балок, расположенных на первом множестве балок и образующих:
ο второй узел сегментов труб, в котором может создаваться низкое давление воздуха и обеспечиваться круговое движение капсул, движущихся, по существу, без воздушного трения в сегментах труб,
ο второй транспортный путь с плоской крышей, который проходит от первого края участка транспортной конструкции до второго края участка транспортной конструкции,
каждая балка из второго множества содержит:
ο сегмент трубы второго узла сегментов трубы
ο металлическую конструкцию, окружающую сегмент трубы второго узла сегментов труб, причем верхняя поверхность металлической конструкции является участком второго транспортного пути с плоской крышей,
- каждая балка дополнительно содержит сегмент трубы второго узла сегментов труб, расположенный рядом с сегментом трубы первого узла, металлическую конструкцию, окружающую оба сегмента труб, так что множество балок, расположенных на опорах, дополнительно образует второй узел сегментов труб, в котором может создаваться низкое давление воздуха и обеспечиваться круговое движение капсул, движущихся, по существу, без воздушного трения в сегментах труб,
- участок транспортной конструкции дополнительно содержит второе множество балок, расположенных на первом множестве балок и образующих:
ο третий узел и четвертый узел сегментов труб, причем в обоих узлах может создаваться низкое давление воздуха и обеспечиваться круговое движение капсул, движущихся, по существу, без воздушного трения в сегментах труб,
ο второй транспортный путь с плоской крышей, который проходит от первого края участка транспортной конструкции до второго края участка транспортной конструкции,
каждая балка из второго множества содержит:
ο сегмент трубы третьего узла сегментов труб,
ο сегмент трубы четвертого узла сегментов труб,
ο металлическую конструкцию, окружающую сегмент трубы третьего узла и сегмент трубы четвертого узла сегментов труб, причем верхняя поверхность металлической конструкции является участком второго транспортного пути с плоской крышей,
- металлическая конструкция содержит нижнюю панель, верхнюю панель и поперечные усиления, соединяющие нижнюю панель с верхней панелью,
- каждое поперечное усиление проходит, по существу, в плоскости, перпендикулярной продольно оси X участка транспортной конструкции,
- каждое поперечное усиление проходит горизонтально так, что оно соответствует контуру сечения сегмента трубы,
- верхняя панель, по существу является плоской поверхностью, пригодной для движения транспорта,
- металлическая конструкция содержит поперечные усиления и продольное усиление, соединяющее поперечные усиления,
- каждая балка проходит от одной опоры до соседней опоры,
- участок транспортной конструкции не содержит второе множество балок, расположенных, по меньшей мере, на некоторых из опор, и образующих второй транспортный путь с плоской крышей рядом с первым транспортным путем с плоской крышей.
Ясно, что изобретение основано на строительстве конструкции, состоящей из опор, платформ и балок, содержащих элементы трубы высокоскоростной транспортной системы, которые могут выдерживать транспортирование тяжелых изделий, таких как балки и платформы. Конструкция имеет круговую траекторию движения, так что, начиная со склада, транспортные средства, выполняющие круговое движение на участке конструкции уже на объекте, могут транспортировать каждое дополнительное изделие транспортной конструкции на место его расположения на стройплощадке и возвращаться на склад, не препятствуя движению других транспортных средств для транспортирования следующих изделий на стройплощадку. Таким образом, строительство транспортной конструкции можно легко выполнять независимо от рельефа местности.
Другие характеристики и преимущества изобретения подробно описаны ниже.
Изобретение станет более понятным из нижеприведенного описания, которое приводится только с целью объяснения и никоим образом не является ограничивающим.
На фигуре 1 показан участок транспортной конструкции согласно первому варианту осуществления изобретения;
на фигуре 2 подробно показана балка согласно варианту осуществления изобретения;
на фигуре 3 - участок транспортной конструкции согласно второму варианту осуществления изобретения;
на фигуре 4 подробно показана балка согласно варианту осуществления изобретения;
на фигуре 5 подробно показана внутренняя конструкция балки по фигуре 4;
на фигуре 6 - участок транспортной конструкции согласно третьему варианту осуществления изобретения;
на фигуре 7 - монтаж опор участка транспортной конструкции;
на фигуре 8 - монтаж первой секции участка транспортной конструкции согласно второму варианту осуществления изобретения;
на фигуре 9 - загрузка балок на складе на транспортные средства, расположенные на первой секции участка транспортной конструкции согласно второму варианту осуществления изобретения;
на фигуре 10 - транспортирование платформ на строительную площадку по первому транспортному пути участка транспортной конструкции согласно второму варианту осуществления изобретения;
на фигуре 11 - транспортирование балок на строительную площадку по первому транспортному пути участка транспортной конструкции согласно второму варианту осуществления изобретения;
на фигуре 12 - установка в требуемое положение балок на строительной площадке;
на фигуре 13 - транспортирование балок на строительную площадку по первому транспортному пути участка транспортной конструкции согласно первому варианту осуществления изобретения;
на фигуре 14 - транспортирование платформ на строительную площадку по первому транспортному пути участка транспортной конструкции согласно первому варианту осуществления изобретения;
на фигуре 15 - установка в требуемое положение балок на строительной площадке;
на фигуре 16 - транспортирование балок на строительную площадку по первому транспортному пути участка транспортной конструкции согласно третьему варианту осуществления изобретения.
Следует отметить, что относящиеся к пространственному расположению термины, такие как «нижний», «под», «внутренний», «внутрь», «наружный», «наружу» и т.д., используются в заявке со ссылкой на расположения и ориентации различных элементов участка транспортной конструкции после монтажа последней. Термины «выше по ходу» и «ниже по ходу» используются в заявке со ссылкой на направление сборки, начиная со склада.
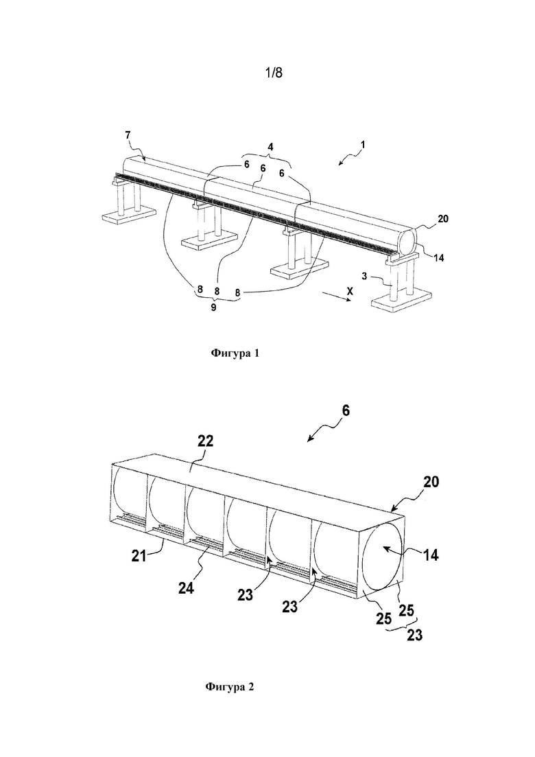
Со ссылкой на фигуры 1-6 участок транспортной конструкции 1, согласно изобретению, в первую очередь содержит множество опор 3, множество платформ 8, соединенных с опорами, и первое множество 4 балок 6, расположенных на опорах.
Участок транспортной конструкции состоит из множества секций, предпочтительно, по меньшей мере, 3 секций. Секция ограничивается длиной балки. Она предпочтительно соответствует расстоянию между двумя следующими друг за другом опорами вдоль продольной оси X участка транспортной конструкции.
Опора 3 является вертикальной опорой для конструкции или верхнего строения, например, арки или моста. Она поддерживает верхнее строение и передает на фундамент нагрузки на верхнее строение. Форма опор согласно изобретению особо не ограничивается при условии, что они могут поддерживать балки и платформы.
Согласно первому варианту, показанному на фигуре 1, опоры являются свайными опорами, т.е. опорами, выполненным из двух или более колонн, поддерживающих оголовок опоры. Опоры, по существу, проходят в плоскости, перпендикулярной маршруту движения, т.е. перпендикулярной длине балок.
Согласно второму варианту, показанному на фигуре 3, опоры являются V-образными. Указанная V-образная форма, по существу, проходит в плоскости, перпендикулярной маршруту движения, т.е. перпендикулярной длине балок. Опоры содержат два наклонных плеча, проходящих наружу. Они также могут содержать оголовок опоры в форме горизонтальной балки, связывающей два плеча. Эта опора может обеспечивать дополнительную опорную поверхность для балок и лучше распределять нагрузку от балок на опоры.
Также возможны другие формы опор, такие как Y-образные, X-образные, H-образные опоры, одностолбчатые опоры, консольные опоры, рамные опоры, массивные опоры, простые колонны.
Опоры устанавливают, по существу, на равном расстоянии друг от друга вдоль продольной оси X участка транспортной конструкции.
Участок 1 транспортной конструкции согласно изобретению также содержит множество платформ 8, расположенных вдоль продольной оси X и образующих площадку 9 для обслуживания, проходящую от первого продольного края участка опорной конструкции до второго продольного края участка опорной конструкции. Выражение «площадка для обслуживания» означает, по меньшей мере, один непрерывный трек, выполненный с возможностью выдерживания движения транспорта. В частности, она не предусмотрена для выдерживания транспортирования тяжелых изделий, таких как балки и платформы. Площадка для обслуживания проходит от первого продольного края участка опорной конструкции до второго продольного края участка опорной конструкции независимо от длины участка. Для большей наглядности площадка для обслуживания расположена над поверхностью земли. Она проходит, по существу, параллельно продольной оси X участка транспортной конструкции.
Платформа является легкой конструкцией, пригодной для движения транспорта. Платформы предпочтительно выполнены из стали. Они предпочтительно содержат настил для движения транспорта, т.е. поверхность, пригодную для движения транспорта, которая может быть усилена снизу продольной арматурой и/или поперечной арматурой. Указанная арматура повышает жесткость конструкции настила для движения транспорта. Настил для движения транспорта также может содержать перила вдоль продольных краев настила для движения транспорта в целях обеспечения безопасности. Настил для движения транспорта, арматура и перила предпочтительно выполнены из стали. Настил для движения транспорта предпочтительно является перфорированной поверхностью, например, перфорированным листом или металлической решеткой.
Платформы 8 соединены с опорами. Предпочтительно, продольные концы платформ соединены с опорами. В этом случае платформы предпочтительно имеют такую же длину, как и балки. Соответственно, опоры могут содержать опорную поверхность 19, которая может быть, например, участком формы самих опор или точкой крепления, добавленной к опоре. В случае, показанном на фигуре 1, опорная поверхность 19 имеет форму выступа, который проходит над оголовком опоры. В этом случае платформы площадки для обслуживания, в частности, их продольные концы, могут просто опираться на выступы. В случае, показанном на фигуре 3, опорная поверхность 19 имеет форму выступа, проходящего внутрь от плеча V-образной опоры. В этом случае платформы площадки для обслуживания, в частности, их продольные концы, могут просто опираться на выступы. Предпочтительно, два плеча содержат опорную поверхность. Более предпочтительно, опорные поверхности двух плеч заданной опоры, по существу, выровнены, т.е. расположены на одном уровне, так что платформы площадки для обслуживания могут более устойчиво опираться на опорные поверхности. Как вариант, платформы площадки для обслуживания могут опираться на другие части опоры, такие как горизонтальная балка H-образной опоры, если таковая установлена, или могут быть прикреплены к колонне.
Благодаря площадке 9 для обслуживания во время этапа строительства транспортные средства, доставившие изделия на стройплощадку, могут возвращаться на склад без препятствования другим транспортным средствам, которые транспортируют следующие изделия на стройплощадку. Это увеличивает скорость транспортирования изделий на стройплощадку и, таким образом, сокращает продолжительность этапа монтажа. Указанное преимущество подробно описано ниже при описании способа монтажа. Во время работы площадка для обслуживания, как преимущество, может использоваться для технического обслуживания, осмотра и/или в качестве пути эвакуации. Площадка для обслуживания может быть постоянной или временной.
Согласно первому варианту выполнения участка транспортной конструкции, показанному на фигурах 1 и 2, участок транспортной конструкции дополнительно содержит первое множество 4 балок 6, расположенных на опорах 3 и образующих:
- первый узел 12 сегментов 14 труб, в котором может создаваться низкое давление воздуха и обеспечиваться круговое движение капсул, движущихся, по существу, без воздушного трения в сегментах труб, и
- первый транспортный путь 7 с плоской крышей, который проходит от первого края участка транспортной конструкции до второго края участка транспортной конструкции.
Соответственно, каждая балка 6 содержит:
ο сегмент 14 трубы первого узла сегментов труб,
ο металлическую конструкцию 20, в которую помещен сегмент трубы перового узла сегментов труб, причем верхняя поверхность металлической конструкции является участком первого транспортного пути с плоской крышей.
Балка 6 является опорной балкой, используемой при строительстве. Она может быть выполнена из стали или бетона или она может быть составной конструкцией. Она может быть коробчатой балкой, т.е. балкой, которая имеет в сечении замкнутый контур.
Конструкция сегментов 14 труб не ограничивается при условии, что они могут соединяться друг с другом с помощью продольных концов, прямо или косвенно, вдоль продольной оси и образовывать вышеописанный узел. В частности, сечение трубы не ограничивается. Оно может быть круглым или многоугольным.
Сегменты труб предпочтительно изготавливаются из стали. Сталь имеет преимущество, состоящее в том, что она имеет небольшой вес, в ней легко обеспечивается вакуумная герметичность, и сталь пригодна для повторной переработки.
Согласно варианту осуществления изобретения сегмент трубы выполняется из стальных листов, сваренных друг с другом.
Согласно другому варианту сегмент трубы содержит множество стеночных сегментов, соединенных друг с другом с помощью их продольных краев. Смежные стеночные сегменты расположены впритык вдоль линии соединения. Их края могут содержать полки для упрощения сборки. Каждый стеночный сегмент может содержать, по меньшей мере, одну центральную панель и две боковые панели. Боковые панели проходят с обеих сторон центральной панели по окружности сегмента трубы. Они ограждают центральную панель в боковом направлении. Боковые панели образуют угол с центральной панелью (панелями). Стеночный сегмент этого типа имеет преимущество, состоящее в том, что он может быть легко получен посредством простой гибки металлического листа. Боковые панели увеличивают жесткость стеночных сегментов и увеличивают прочность на изгиб указанных сегментов в продольном направлении.
Согласно другому варианту сегмент трубы является сегментом трубы с двойными стенками, где пространство между наружной трубой и внутренней трубой заполнено компаундом, увеличивающим жесткость.
Согласно другому варианту сегмент трубы содержит множество продольных стрингеров, прикрепленных к множеству кольцевых секций для формирования скелетообразного каркаса, на который крепятся секции обшивки с обеспечением воздухонепроницаемости.
Согласно другому варианту сегмент трубы содержит множество продолговатых наружных секций обшивки, образующих наружную стенку сегмента трубы с двойными стенками. Панели являются криволинейными, так что в результате их сборки получают гладкую цилиндрическую поверхность. Они могут иметь выдавленный отпечаток для увеличения сопротивления продольному изгибу. Сегмент трубы также содержит внутренние детали из листа, формирующие внутреннюю стенку сегмента трубы с двойными стенками, сваренными друг с другом для получения воздухонепроницаемого соединения и приваренные к продолговатым наружным панелям обшивки.
Согласно другому варианту сегмент трубы содержит продолговатые криволинейные наружные детали кожуха, формирующие наружную стенку сегмента трубы с двойными стенками, внутреннюю стенку в форме многоугольной трубы с множеством граней и детали промежуточного кожуха, внутренняя сторона которых является плоской, и наружная сторона имеет такую же кривизну, как и продолговатые криволинейные наружные детали кожуха.
Выражение «низкое давление воздуха» означает давление воздуха ниже атмосферного давления, предпочтительно ниже или равное 10 кПа, более предпочтительно от 10 Па до 10 кПа.
В сущности, способность указанного узла находиться под низким давлением воздуха обеспечивается характеристиками стенки сегментов труб, характеристиками соединения сегментов труб и наносным оборудованием. В частности, стенка сегментов труб должна быть воздухонепроницаемой. Различные способы обеспечения воздухонепроницаемости стенки труб хорошо известны, и специалисту в рассматриваемой области известно, как выбирать характеристики стенки в каждом конкретном случае. Кроме того, соединение между двумя сегментами труб должно быть воздухонепроницаемым. Воздухонепроницаемость соединения может обеспечиваться сваркой, добавлением таких компонентов, как эластомер, между сегментами труб, которые соединяются болтами или с помощью зажимания или расширительного соединения. Специалисту в рассматриваемой области известно, как обеспечивать воздухонепроницаемость соединения и его пригодность в каждом конкретном случае. Кроме того, насосное оборудование должно иметь надлежащие характеристики, так чтобы обеспечить достижение и поддержание низкого давления воздуха в узле сегментов труб, учитывая утечки воздуха в ходе выполнения работ. Специалисту в рассматриваемой области известно, как обеспечивать требуемые характеристики и пригодность насосного оборудования в каждом конкретном случае.
В сущности, способность узла обеспечивать круговое движение капсул, которые движутся, по существу, без воздушного трения в сегментах труб, достигается с помощью инфраструктуры, расположенной внутри трубных сегментов, которая обеспечивает левитацию/подвешивание, поступательное движение, торможение и т.д. Такие инфраструктуры уже хорошо известны и специалист в рассматриваемой области знает, как приспособить инфраструктуру к каждому конкретному случаю.
Балка также содержит металлическую конструкцию 20, в которую помещен сегмент трубы перового узла сегментов труб, причем верхняя поверхность металлической конструкции является участком первого транспортного пути с плоской крышей.
В первом варианте выполнения металлической конструкции, показанной на фигуре 2, металлическая конструкция может содержать нижнюю панель 21, верхнюю панель 22 и поперечное усиление 23, соединяющее нижнюю панель и верхнюю панель.
Нижняя панель 21, по существу, плоский компонент, проходящий горизонтально. Предпочтительно он выполнен из листов, таких как стальные листы. Более предпочтительно он усилен продольными элементами 24 жесткости. Нижняя панель увеличивает жесткость балки и ограничивает прогиб балки между её опорами.
Верхняя панель 22 может быть плоским компонентом, проходящим горизонтально. Более предпочтительно она выполнена из листов, таких как стальные листы. Более предпочтительно она усилена продольными элементами жесткости. Верхняя панель увеличивает жесткость балки и ограничивает прогиб балки между её опорами. Верхняя поверхность верхней балки образует участок первого транспортного пути 7 с плоской крышей.
Поперечные усиления 23 проходят, по существу, в плоскости, перпендикулярной продольной оси X участка транспортной конструкции. Они проходят горизонтально и ограничивают ширину балки и увеличивают жесткость нижней панели и верхней панели, с которыми они соединены. Они проходят вертикально и ограничивают толщину балки и также увеличивают жесткость балки. В частности, они проходят до уровня или выше верха сегмента трубы, так что они могут быть соединены непосредственно с верхней панелью. В частности, они проходят до уровня или ниже низа сегмента трубы, так что они могут быть соединены непосредственно с нижней панелью. Они предпочтительно расположены на расстоянии друг от друга по длине балки, т.е. вдоль продольной оси X. Более предпочтительно, они расположены с равными интервалами. Они могут быть выполнены, например, из плоских панелей, гофрированных панелей или плоских панелей, усиленных элементами жесткости.
Согласно первому варианту металлической конструкции, показанной на фигуре 2, поперечное усиление 23 проходит горизонтально, так что оно соответствует контуру сечения сегмента трубы. Оно также увеличивает жесткость сегмента трубы и балки. Поперечное усиление предпочтительно содержит две поперечные усиливающие секции 25, по одной с каждой стороны сегмента трубы. В частности, поперечная усиливающая секция, расположенная с одной стороны сегмента трубы, обращена к поперечной усиливающей секции, расположенной с другой стороны сегмента трубы.
Как вариант, поперечное усиление может содержать нижнюю горизонтальную балку, расположенную ниже сегмента трубы, верхнюю горизонтальную балку, расположенную выше сегмента трубы, и, по меньшей мере, одну вертикальную балку, соединенную с нижней и верхней горизонтальными балками. Поперечное усиление предпочтительно содержит две вертикальные балки, расположенные с каждой стороны сегмента трубы и соединенные с нижней и верхней горизонтальными балками для формирования конструкции квадратного сечения, в которую помещен сегмент трубы.
Согласно второму варианту металлической конструкции (не показан) металлическая конструкция, в которую помещен сегмент трубы, может содержать поперечные усиления и продольные усиления, соединяющие поперечные усиления. Поперечные усиления могут быть усилениями, описанными выше. Продольные усиления предпочтительно являются балками, в частности, двутавровыми балками. Продольные усиления могут быть расположены снизу поперечных усилений в виде нижних продольных усилений и/или выше продольных усилений в виде верхних продольных усилений. Балка предпочтительно содержит два множества продольных усилений, по одному с каждой стороны сегмента трубы.
В этом варианте верхняя поверхность верхних продольных усилений образует участок первого транспортного пути с плоской крышей. В частности, верхние поверхности содержат рельсы, образующие железнодорожную линию, так что железнодорожные транспортные средства могут перемещаться по железнодорожной линии.
Предпочтительно каждая балка проходит от одной опоры до соседней опоры. В частности, первый конец балки опирается на заданную опору, и второй конец балки опирается на соседнюю опору вдоль продольной оси X участка трассы транспортирования или конструкции. Таким образом, балки можно легко устанавливать посредством их позиционирования на опорах. Как вариант, балка может проходить более чем на двух опорах.
Первое множество 4 балок 6 расположено вдоль продольной оси участка трассы транспортирования или конструкции и образует первый транспортный путь 7 с плоской крышей. В частности, все балки 6 из первого множества 4 балок расположены последовательно и непрерывно друг за другом вдоль продольной оси X участка транспортной конструкции и образуют первый транспортный путь 7 с плоской крышей. Транспортный путь с плоской крышей означает, по меньшей мере, один непрерывный трек из балок, выполненный с возможностью выдерживать транспортирование тяжелых изделий, таких как балки и платформы, транспортными средствами. Транспортный путь с плоской крышей проходит от первого продольного края участка транспортной конструкции до второго продольного края участка транспортной конструкции независимо от длины участка.
Согласно варианту транспортного пути с плоской крышей верхняя поверхность балки, в частности, верхняя панель, является просто плоской поверхностью, пригодной для движения транспорта.
Согласно другому варианту транспортного пути с плоской крышей верхняя поверхность балки, в частности, верхняя панель, содержит рельсы, образующие железнодорожную линию, так что железнодорожные транспортные средства могут перемещаться по железнодорожной линии.
Благодаря первому множеству 4 балок во время этапа строительства транспортные средства, выполняющие круговое движение по первому транспортному пути с плоской крышей, могут легко транспортировать каждый дополнительный элемент участка транспортной конструкции на место его монтажа. Доступ к земле на трассе строительства больше не требуется. Это преимущество будет подробно описано в ходе описания способа монтажа.
Согласно второму варианту выполнения участка транспортной конструкции, показанному на фигурах 3-5, каждая балка 6 из множества 4 балок содержит сегмент 14 трубы первого узла 12 сегментов труб и сегмент 14 трубы второго узла 13 сегментов труб, расположенный рядом с сегментом трубы первого узла 12. В этом случае металлическая конструкция 20 окружает оба сегмента труб, так что первое множество 4 балок, расположенных на опорах, образует первый узел 12 сегментов труб и второй узел 13 сегментов труб, причем в обоих узлах может создаваться низкое давление воздуха и обеспечиваться круговое движение капсул, движущихся, по существу, без воздушного трения в сегментах труб.
Характеристики и варианты сегментов труб первого узла, описанные выше, так же относятся к сегментам труб второго узла. Сегменты труб первого узла и сегменты труб второго узла могут быть идентичными с целью удобства материально-технического обеспечения.
Характеристики и варианты металлической конструкции, описанные в первом варианте выполнения участка транспортной конструкции, также распространяются на второй вариант выполнения участка транспортной конструкции.
В частности, каждое поперечное усиление 23 металлической конструкции, показанное на фигурах 4 и 5, содержит три поперечные усиливающие секции 25, одна с наружной стороны первого трубчатого элемента, одна между двумя трубчатыми элементами и одна с наружной стороны второго элемента трубы. Более конкретно, три поперечные усиливающие секции расположены, по существу, в одной плоскости.
Согласно третьему варианту выполнения транспортной конструкции участок транспортной конструкции также содержит первое множество 4 балок 6, описанных в первом и втором вариантах выполнения, и второе множество 5 балок, расположенных на первом множестве 4 балок, в частности, на первом транспортном пути 7 с плоской крышей. Такое расположение ограничивает занимаемую площадь транспортной конструкции. Оно также уменьшает количество переключателей и способствует использованию поверхности, в частности, для отклонения в направлении станций. Характеристики и варианты балок первого множества, подробно описанные выше, также распространяются на балки второго множества. Балки первого множества и второго множества могут быть идентичными с целью удобства материально-технического обеспечения.
В примере, показанном на фигуре 6, первое множество 4 балок является сходным с множеством балок, описанным в первом варианте выполнения, и второе множество 5 балок образует:
- второй узел 13 сегментов труб, в котором может создаваться низкое давление воздуха и обеспечиваться круговое движение капсул, движущихся, по существу, без воздушного трения в сегментах труб,
- второй транспортный путь 10 с плоской крышей, который проходит от первого края участка транспортной конструкции до второго края участка транспортной конструкции.
Соответственно, каждая балка 6 второго множества 5 содержит:
- сегмент 14 трубы второго узла 13 сегментов труб,
- металлическую конструкцию 20, окружающую сегмент трубы второго узла сегментов труб, причем верхняя поверхность металлической конструкции является участком второго транспортного пути с плоской крышей.
В другом примере, который не показан, первое множество 4 балок является сходным с множеством балок во втором варианте выполнения, и второе множество 5 балок 6 образует:
- третий и четвертый узлы сегментов труб, причем в обоих узлах может создаваться низкое давление воздуха и обеспечиваться круговое движение капсул, движущихся, по существу, без воздушного трения в сегментах труб,
- второй транспортный путь 10 с плоской крышей, который проходит от первого края участка транспортной конструкции до второго края участка транспортной конструкции.
Соответственно, каждая балка второго множества содержит:
ο сегмент 14 трубы третьего узла сегментов труб,
ο сегмент 14 трубы четвертого узла сегментов труб,
ο металлическую конструкцию 20, окружающую сегмент трубы третьего узла и сегмент трубы четвертого узла сегментов труб, причем верхняя поверхность металлической конструкции является участком второго транспортного пути с плоской крышей.
Согласно первому варианту выполнения участка транспортной конструкции участок опорной конструкции не содержит второе множество балок, расположенных, по меньшей мере, на некоторых из опор и образующих второй транспортный путь с плоской крышей рядом с первым транспортным путем с плоской крышей.
Согласно второму варианту выполнения участка транспортной конструкции (не показан) участок 1 транспортной конструкции дополнительно содержит второе множество балок 6, расположенных, по меньшей мере, на некоторых из опор и образующих:
- второй узел сегментов 14 труб, причем во втором узле может создаваться низкое давление воздуха и обеспечиваться круговое движение капсул, движущихся, по существу, без воздушного трения в сегментах труб, и
- второй транспортный путь с плоской крышей, продолжающийся от первого края участка транспортной конструкции до второго края участка транспортной конструкции рядом с первым транспортным путем с плоской крышей.
Каждая балка из второго множества содержит:
ο сегмент 14 трубы второго узла сегментов труб,
ο металлическую конструкцию 20, т.е. вторую металлическую конструкцию. окружающую сегмент трубы второго узла сегментов труб, причем верхняя поверхность металлической конструкции является участком второго транспортного пути с плоской крышей.
Характеристики и варианты сегментов труб первого узла, подробно описанные выше, также относятся к сегментам труб второго узла. Сегменты труб первого узла и сегменты труб второго узла могут быть идентичными с целью удобства материально-технического обеспечения. Характеристики и варианты металлической конструкции, описанные выше, также относятся и к рассматриваемому случаю. Определение и варианты, подробно описанные в отношении первого множества балок, также относятся и ко второму множеству балок. Балки первого множества и балки второго множества могут быть идентичными с целью удобства материально-технического обеспечения. Определения и варианты, подробно описанные в отношении первого транспортного пути с плоской крышей, также относятся ко второму транспортному пути с плоской крышей.
Термин «рядом» означает, что оба транспортных пути с плоской крышей, по существу, параллельны друг другу и проходят по соседству друг с другом. Этот термин не ограничивает расположение транспортных путей с плоской крышей на одном уровне и/или строго параллельно друг другу. Расстояние между первым и вторым транспортными путями с плоской крышей и/или уровень первого и второго транспортных путей с плоской крышей могут регулироваться в зависимости от топографии земли.
Ниже со ссылкой на фигуры 7-16 приведено описание способа монтажа участка 1 транспортной конструкции согласно изобретению.
На первом этапе, показанном на фигуре 7, монтируют опоры 3 участка 1 транспортной конструкции. Они могут монтироваться любым пригодным способом, например, с помощью щитовой опалубки. Способ монтажа включает в себя монтаж фундаментов опор, как того требует качество грунта. Этот этап может выполняться перед этапом установки балок 6 в требуемое положение или, по меньшей мере, частично в то же время, что и этап установки балок в требуемое положение. Другими словами, опоры могут монтироваться заблаговременно перед началом установки балок в требуемое положение, например, несколькими неделями ранее. Это дает время на застывание бетона и уплотнение почвы. Как вариант, некоторые опоры всё же монтируются во время начала установки балок в требуемое положение на первых смонтированных опорах.
Когда площадь, требуемая для монтажа ограничена, и требуются только транспортные средства малой грузоподъемности (бульдозеры, автобетоносмесители) опоры предпочтительно монтируются с помощью наземного доступа на место установки каждой опоры.
На втором этапе монтажа участка транспортной конструкции монтируют балки 6 и платформы 8.
Как указано выше, монтаж балок и платформ начинается со склада 15, где хранится, по меньшей мере, часть изделий для транспортной конструкции. В зависимости от удобства транспортирования изделий на склад некоторые изделия могут изготавливаться на складе в производственных помещениях. В качестве примера можно упомянуть сегменты труб металлических конструкций, которые являются массивными изделиями. Изготовление некоторых изделий на складе сводит к минимуму время монтажа на строительной площадке и позволяет улучшить контроль качества изготавливаемых изделий.
Склад 15 предпочтительно располагается на месте будущей станции, в частности, пассажирской и/или товарной станции. Это ограничивает занимаемую площадь на этапе строительства. Это также ограничивает объем строительных работ. В частности, строительные работы, выполненные для строительства склада и необходимых для него производственных помещений, могут использоваться для монтажа станции. Склад предпочтительно располагается на уровне земли.
Как показано на фигуре 8, первый подэтап монтажа балок 6 и платформ 8 выполняется на складе. Этот подэтап включает в себя монтаж на складе балки 6 из первого множества балок и, по меньшей мере, платформы 8, образующих, по меньшей мере, часть первой секции конструкции. В частности, этот подэтап включает в себя установку в требуемое положение балки из первого множества балок, по меньшей мере, на одну опору. Эта установка в требуемое положение предпочтительно выполняется с помощью крана 16, который может захватывать изделия на складе и перемещать их на опоры. Порядок сборки балки (балок) и платформы (платформ) может варьироваться в зависимости от конструкции и в зависимости от того, как платформа связана с остальной частью конструкции.
Согласно первому варианту первая секция конструкции содержит единственную опору. Это является случаем, когда склад расположен на высоком месте. Первый край первой балки может опираться на указанное высокое место, в то время как второй край первой балки может опираться на опору, расположенную на склоне. В этом случае первый подэтап включает в себя установку в требуемое положение балки из первого множества балок между высоким местом и опорой.
Согласно второму варианту, показанному на фигуре 8, первая секция конструкции содержит две опоры. Это является случаем, когда склад расположен, по существу, на ровном земельном участке. Первый край первой балки может опираться на первую опору, в то время как второй край первой балки может опираться на вторую опору. В этом случае первый подэтап включает в себя установку в требуемое положение балки из первого множества балок на двух опорах.
Первый подэтап может включать в себя монтаж на складе других секций или частей секции конструкции. Количество секций или частей секций, монтируемых на строительной площадке, определяется возможностями крана на складе устанавливать изделия на опоры в требуемое положение.
После монтажа балки (балок) из первого множества и платформы (платформ) первой секции конструкции первая секция содержит первый край, расположенный рядом со складом, и второй край, расположенный на противоположном конце. Первый край первой секции соответствует первому краю транспортной конструкции, монтируемой по изобретению. Соответственно, положение первого края участка транспортной конструкции, монтируемой согласно изобретению, не будет изменяться с течением времени в процессе монтажа участка транспортной конструкции. Что касается второго края первой секции, то она соответствует второму краю конструкции во время строительства при условии, что никакие другие секции конструкции не были смонтированы после первой секции. Другими словами, положение второго края конструкции в процессе строительства изменяется со временем каждый раз, когда новая секция монтируется ниже по ходу уже смонтированных секций транспортной конструкции.
Благодаря изделиям, составляющим смонтированную конструкцию, транспортные средства 17 могут совершать круговое движение на первом транспортном пути 7 с плоской крышей, образованном, по меньшей мере, одной балкой 6 из первого множества 4 балок, и на площадке 9 для обслуживания, образованной, по меньшей мере, одной платформой 8. В частности, транспортные средства, перевозящие изделия, которые должны быть установлены в требуемое положение на трассе строительства, во время строительства могут совершать круговое движение на первом транспортном пути с плоской крышей, начиная от первого края и до второго края конструкции. После доставки изделий на место их использования транспортные средства могут возвращаться к первому краю по площадке для обслуживания.
Соответственно, на втором подэтапе во время монтажа балок 6 и платформ 8 балка (балки) из первого множества и платформа (платформы) другой секции конструкции могут монтироваться, как подробно описано ниже. Эта секция для упрощения именуется ниже «второй секцией», учитывая, что на складе были смонтированы только балка (балки) из первого множества и платформа (платформы) первой секции.
Вторая секция конструкции содержит, по меньшей мере, одну балку 6 из первого множества 4 балок, по меньшей мере, одну платформу 8 из множества платформ и, по меньшей мере, одну опору 3 конструкции.
Как объясняется выше в отношении монтажа опор, по меньшей мере, дополнительная опора была смонтирована ниже по ходу первой секции конструкции.
Транспортные средства 17, пригодные для транспортирования тяжелых изделий, расположены на первой секции конструкции, в частности, на первом транспортном пути 7 с плоской крышей, более конкретно, на первой балке 6 из первого множества 4 балок. Транспортные средства могут подниматься краном 16 или могут достигать требуемого положения с помощью наклонного въезда или другого пригодного оборудования. Тип транспортных средств не ограничивается. Это могут быть колесные транспортные средства, например, грузовики, или поездные локомотивы. В зависимости от типа транспортных средств изделие (изделия), подлежащие транспортированию, могут загружаться или на одно транспортное средство или на несколько транспортных средств одновременно или транспортное средство может быть просто соединено с изделием (изделиями), как в случае поездного локомотива, для транспортирования изделия (изделий), оснащенного железнодорожными колесами. В этом описании термины «загружать» и «соединять» используются равным образом для обозначения погрузки в транспортное средство (транспортные средства) изделия и соединения транспортного средства (транспортных средств) с изделием. Термин «освобождать» используются равным образом для обозначения выгрузки изделия из транспортного средства (транспортных средств) и отсоединения транспортного средства (транспортных средств) от изделия.
Некоторые транспортные средства загружаются балкой из первого множества балок и платформой (платформами) из второй секции конструкции. В частности, транспортное средство (транспортные средства) загружаются одной балкой 6 из первого множества 4 балок, и транспортное средство (транспортные средства) загружаются, по меньшей мере, одной платформой 8. Изделия могут транспортироваться со склада на первую секцию конструкции или могут подниматься со склада до первой секции конструкции с помощью крана. В первом случае они могут транспортироваться самими транспортными средствами. Во втором случае транспортные средства могут устанавливаться в требуемое положение с последующей загрузкой.
Далее изделия транспортируются транспортными средствами от первого края до второго края конструкции при строительстве, который расположен рядом с местом их использования. В частности:
- балка 6 из первого множества 4 балок транспортируется по первому транспортному пути 7 с плоской крышей, образованному балками из первого множества балок, уже установленных в требуемом месте,
- по меньшей мере, одна платформа 8 транспортируется по первому транспортному пути с плоской крышей.
Порядок, в котором изделия соединяются с транспортными средствами и транспортируются ко второму краю, не ограничивается. Кроме того, некоторые изделия могут транспортироваться ко второму краю, в то время как другие изделия загружаются на транспортные средства.
После транспортирования изделия ко второму краю конструкции во время строительства оно устанавливается в требуемое положение на месте использования, т.е. в рабочее положение в конструкции. В частности:
- балка 6 из первого множества 4 балок устанавливается в требуемое положение ниже по ходу первого транспортного пути 7 с плоской крышей. В частности, она устанавливается в требуемое положение после балки первого транспортного пути с плоской крышей, образующей второй край конструкции во время строительства. Более конкретно, она устанавливается в требуемое положение в одну линию с балкой 6 первого транспортного пути 7 с плоской крышей, образующей второй край вдоль продольной оси X. Еще более конкретно она устанавливается в требуемое положение так, что первый конец балки опирается на опору, образующую второй край первой секции конструкции, и второй конец балки опирается, по меньшей мере, на дополнительную опору, смонтированную ниже по ходу первой секции конструкции. Балка из первого множества балок предпочтительно устанавливается в требуемое положение краном 18, более предпочтительно краном для надвижки балок, который поддерживается самой опорной конструкцией;
- по меньшей мере, одна платформа 8 устанавливается в требуемое положение ниже по ходу площадки 9 для обслуживания. В частности, она устанавливается в требуемое положение после платформы площадки для обслуживания, образующей второй край конструкции во время строительства. Боле конкретно, она устанавливается в требуемое положение в одну линию вдоль продольной оси X с платформой площадки для обслуживания, образующей второй край. Еще более конкретно, она устанавливается в требуемое положение таким образом, что первый конец платформы опирается на опору, образующую второй край первой секции конструкции, и второй конец платформы опирается на дополнительную опору, смонтированную ниже по ходу первой секции конструкции. По меньшей мере, одна платформа предпочтительно устанавливается в требуемое положение краном, более предпочтительно краном для надвижки балок.
Использование крана 18, поддерживаемого опорной конструкцией, является предпочтительным. Оно дополнительно ограничивает площадь, требуемую для монтажа, за счет исключения необходимости доступа с земли к строительной площадке и подготовки участка земли для установки крана. Кроме того, способ монтажа не зависит от топографии и неровностей рельефа.
После установки изделия в требуемое положение соответствующее разгруженное транспортное средство (транспортные средства) может вернуться к первому краю конструкции по площадке для обслуживания. В частности:
- транспортное средство (транспортные средства) 17, из которого выгружена балка 6 из первого множества 4 балок, движется с первого транспортного пути 7 с плоской крышей на площадку 9 для обслуживания. В случае, когда площадка для обслуживания не находится на уровне первого транспортного пути с плоской крышей, транспортное средство (транспортные средства) может быть поднято краном и установлено на площадку для обслуживания. Предпочтительно, оно поднимается краном для надвижки балок;
- транспортное средство (транспортные средства) 17, из которого выгружена, по меньшей мере, одна платформа 8, движется с первого транспортного пути 7 с плоской крышей на площадку 9 для обслуживания. В случае, когда площадка для обслуживания не находится на уровне первого транспортного пути с плоской крышей, транспортное средство (транспортные средства) может быть поднято краном и установлено на площадку для обслуживания. Предпочтительно, оно поднимается краном для надвижки балок.
Порядок, в котором изделия устанавливаются в требуемое положение, не ограничивается. Кроме того, некоторые изделия могут устанавливаться в требуемое положение, в то время как другие изделия всё еще соединяются с транспортными средствами или транспортируются ко второму краю. Предпочтительно, по меньшей мере, одна платформа 8 сначала устанавливается в требуемое положение, так что транспортное средство (транспортные средства), из которого выгружается балка 6 из первого множества 4 балок, может более легко перемещаться на площадку для обслуживания.
После вышеописанного монтажа балки из первого множества балок и платформы (платформ) второй секции конструкции, балки из первого множества балок и платформы из других секций конструкции могут монтироваться согласно сходному процессу и как подробно описано ниже в отношении монтажа балки из первого множества балок и платформы (платформ) x-й секции конструкции.
Указанная x-я секция конструкции содержит n-ю балку 6 из первого множества 4 балок, по меньшей мере, y-ю платформу 8 из множества платформ и, по меньшей мере, z-ю опору 3 конструкции. По умолчанию x, y, z и n отличаются. В случае, когда каждая секция конструкции содержит одну платформу, x равно n и y. В этом случае n-я балка из первого множества балок также является x-й, и y-я платформа из множества платформ также является x-й. В случае, когда первая секция содержит 2 опоры, и каждая секция конструкции помимо первой секции содержит одну опору, z равно n+1.
По меньшей мере, z-я опора 3 была смонтирована ниже по ходу (x-1) первых секций.
Как показано на фигуре 9, транспортные средства 17, которые вернулись к первому краю конструкции после разгрузки балки (балок) и платформы (платформ) предыдущей секции (секций) конструкции, загружаются балкой из первого множества балок и платформой (платформами) x-й секции конструкции. В частности, транспортное средство (транспортные средства) загружаются n-й балкой из первого множества балок, и транспортное средство (транспортные средства) загружаются y-й платформой из множества платформ. Если x-я секция содержит дополнительную платформу (платформы), они соединяются с транспортным средством сходным образом.
Как показано на фигурах 10, 11, 13 и 14, начиная от первого края конструкции, балка 6 из первого множества балок и платформа (платформы) 8 указанной x-й секции конструкции транспортируются транспортными средствами от первого края ко второму краю конструкции во время строительства, который расположен рядом с местом их использования. В частности:
- n-я балка 6 из первого множества 4 балок транспортируется вдоль первого транспортного пути 7 с плоской крышей, образованного ранее установленными в требуемом месте (n-1) балками из первого множества балок;
- y-я платформа 8 из множества платформ транспортируется по первому транспортному пути 7 с плоской крышей, образованному ранее установленными в требуемом месте балками из первого множества балок.
Если x-я секция содержит дополнительную платформу (платформы), они транспортируются сходным образом. Порядок, в котором изделия соединяются с транспортными средствами и транспортируются ко второму краю, не ограничивается. Кроме того, некоторые изделия могут транспортироваться ко второму краю, в то время как другие изделия всё еще соединяются с транспортными средствами.
Как показано на фигурах 11, 12. 14 и 15, после транспортирования изделия ко второму краю конструкции во время строительства, оно устанавливается в требуемое положение на месте его использования. В частности:
- n-я балка 6 из первого множества балок устанавливается в требуемом месте ниже по ходу первого транспортного пути 7 с плоской крышей. В частности, она устанавливается в требуемом месте после балки первого транспортного пути с плоской крышей, образующей второй край конструкции во время строительства. Более конкретно, она устанавливается в требуемом месте в одну линию вдоль продольной оси с (n-1)-й балкой первого транспортного пути с плоской крышей. Еще более конкретно, она устанавливается в требуемом месте так, что первый конец n-й балки опирается на опору, образующую второй край ((z-1)-я опора), и второй конец n-й балки опирается на z-ю опору, смонтированную ниже по ходу конструкции. Указанная n-я балка из первого множества балок предпочтительно устанавливается в требуемое положение краном 18, более предпочтительно краном для надвижки балок, который поддерживается самой опорной конструкцией;
- указанная y-я платформа 8 устанавливается в требуемое положение ниже по ходу площадки для обслуживания. В частности, она устанавливается в требуемое положение после (y-1)-й платформы площадки для обслуживания, т.е. платформы площадки для обслуживания, образующей второй край конструкции во время строительства. Более конкретно, она устанавливается в требуемое положение в одну линию вдоль продольной оси с платформой площадки для обслуживания, образующей второй край. Еще более конкретно она устанавливается в требуемое положение таким образом, что первый конец y-й платформы опирается на опору, образующую второй край ((z-1)-я опора), и второй конец y-й платформы опирается на z-ю опору, смонтированную ниже по ходу конструкции. Указанная y-платформа предпочтительно устанавливается в требуемое положение краном 18, более предпочтительно краном для надвижки балок, который поддерживается самой опорной конструкцией.
Как показано на фигурах 11, 12, 14 и 15, после установки в требуемое положение изделия x-й секции конструкции, соответствующее разгруженное транспортное средство (транспортные средства) может вернуться к первому краю конструкции по площадке для обслуживания. В частности:
- транспортное средство (транспортные средства), с которого разгружена n-я балка из первого множества балок, перемещается с первого транспортного пути 7 с плоской крышей на площадку 9 для обслуживания;
- транспортное средство (транспортные средства), с которого разгружена y-я платформа, перемещается с первого транспортного пути 7 с плоской крышей на площадку 9 для обслуживания.
В случае, когда площадка для обслуживания расположена не на уровне первого транспортного пути с плоской крышей, транспортное средство (транспортные средства) может подниматься краном и устанавливаться на площадку для обслуживания. Предпочтительно, оно поднимается краном для надвижки балок.
Если x-я секция содержит дополнительную платформу (платформы), они устанавливаются в требуемое положение сходным образом, и соответствующие транспортные средства сходным образом возвращаются к первому краю. Порядок, в котором изделия x-й секции устанавливаются в требуемое положение, не ограничивается. Кроме того, некоторые изделия x-й секции могут устанавливаться в требуемое положение, в то время как другие изделия x-й секции или следующих секций соединяются с транспортными средствами или транспортируются ко второму краю. Предпочтительно, сначала y-я платформа устанавливается в требуемое положение, так что транспортное средство (транспортные средства), транспортирующее n-ю балку из первого множества балок, может более легко перемещаться с первого транспортного пути с плоской крышей на площадку для обслуживания.
При необходимости этап монтажа не включает в себя одновременно с транспортированием и установкой в требуемое положение n-й балки из первого множества балок транспортирование n-й балки из второго множества балок и её установку в требуемое положение использования рядом с n-й балкой из первого множества балок. Другими словами, этап монтажа балки и платформы (платформ) x-й секции не включает в себя установку в требуемое положение n-й балки из второго множества балок. Кроме того, установка в заданное положение (n+1)-й балки из первого множества балок выполняется перед установкой n-й балки из добавочного второго количества балок в требуемое положение использования рядом с n-й балкой из первого количества балок.
В конце этапа монтажа конструкции последняя балка из первого множества балок устанавливается в требуемое положение на последних опорах конструкции. Эти опоры могут граничить со вторым участком транспортной конструкции или использоваться совместно со вторым участком транспортной конструкции, который смонтирован или монтируется как продолжение соответствующего участка транспортной конструкции вдоль продольной оси маршрута транспортирования. Указанный второй участок транспортной конструкции монтируется от второго склада на месте возможной будущей станции, расположенном ниже по ходу соответствующей станции. Строительство второго участка транспортной конструкции выполняется посредством монтажа конструкции в обратном направлении по отношению к монтажу опорной конструкции соответствующего участка. Другими словами, строительство каждого участка ведется от склада в направлении другого склада, и в определенное время указанные два участка соединяются. Таким образом, последняя балка из первого множества балок соответствующего участка примыкает к последней балке из первого множества второго участка, так что первый узел 12 сегментов 14 труб является непрерывным.
После сборки всех секций участка транспортной конструкции, по меньшей мере, частично, на первое множество 4 балок может быть установлено дополнительное второе множество 5 балок, в частности, на первый транспортный путь 7 с плоской крышей. В этом случае балки 6 второго множества балок могут транспортироваться транспортными средствами от первого края конструкции на место их использования по первому транспортному пути с плоской крышей, как описано выше со ссылкой на первое множество балок. Поскольку балки второго множества устанавливаются на балки первого множества и блокируют первый транспортный путь с плоской крышей, указанная сборка выполняется в обратном направлении по сравнению со сборкой первого множества балок. Другими словами, балки второго множества сначала устанавливают в требуемое положение на второй крае конструкции во время строительства и затем устанавливают их в требуемое положение одну перед другой в направлении первого края конструкции, т.е. одну впереди другой, как показано на фигуре 16.
Как вариант, второе множество балок монтируется в прямом направлении, а не в обратном направлении. В этом случае балки 6 второго множества балок могут транспортироваться транспортными средствами от первого края конструкции на место их использования по второму транспортному пути с плоской крышей, образованному балками второго множества балок, уже установленными на первом транспортном пути с плоской крышей. Такая сборка является сходной со сборкой, описанной выше со ссылкой на первое множество балок. В частности, по меньшей мере, одна первая балка из второго множества балок устанавливается в требуемое положение на балку (балки) первого множества балок, образующих первую секцию конструкции. Далее транспортные средства, пригодные для транспортирования тяжелых изделий, размещаются на втором транспортном пути с плоской крышей, образованном уже установленной балкой (балками) из второго множества балок. Транспортные средства загружаются балками второго множества балок и транспортируют балки от первого края конструкции к последней балке второго множества, расположенной на первом транспортном пути с плоской крышей.
Согласно варианту выполнения способа монтажа участка 1 транспортной конструкции способ также включает в себя дополнительный этап, на котором второе множество балок на участке 1 транспортной конструкции собирают вразбежку по отношению к узлу из первого множества 4 балок 6 и определенному количеству платформ 8. Термин «вразбежку» или «асинхронно» означает, что установка в требуемое положение балки из первого множества балок заданной секции участка транспортной конструкции, включающего в себя два множества балок, начинается до того, как балка из второго множества предыдущей секции была установлена в требуемое положение. В частности, установка в заданное положение (n+1)-й балки из первого множества балок выполняется до установки в требуемое положение использования n-й балки из второго множества балок рядом с n-й балкой из первого множества балок.
Согласно варианту дополнительный этап начинается после монтажа первого множества 4 балок 6 и множества платформ 8 участка транспортной конструкции.
В частности, способ включает в себя этап асинхронного монтажа второго множества балок 6, устанавливаемых, по меньшей мере, на некоторые из опор и образующих:
ο второй узел сегментов 14 труб, в котором может создаваться низкое давление воздуха и обеспечиваться круговое движение капсул, движущихся, по существу, без воздушного трения в сегментах труб,
ο второй транспортный путь с плоской крышей, который проходит от первого края участка транспортной конструкции до второго края участка транспортной конструкции рядом с первым транспортным путем с плоской крышей,
этап асинхронного монтажа включает в себя, начиная от первого края, транспортирование транспортным средством (транспортными средствами) 17 указанной n-й балки 6 из второго множества балок или по первому транспортному пути 7 с плоской крышей или по второму транспортному пути с плоской крышей, установку в требуемое положение n-й балки на месте её использования и возврат транспортного средства (транспортных средств) к первому краю транспортной конструкции по площадке 9 для обслуживания.
Принцип транспортирования и установки в требуемое положение балок из второго множества балок аналогичен принципу транспортирования и установки в требуемое положение балок из первого множества балок. Детали и варианты, описанные выше в отношении способа монтажа первого множества балок, относятся и ко второму множеству балок.
В частности, согласно варианту, в котором дополнительный этап начинается, когда монтаж первого множества балок всё еще выполняется, на первом подэтапе, по меньшей мере, одна балка из второго множества балок устанавливается в требуемое положение, по меньшей мере, на одну опору первой секции конструкции рядом с балкой из первого множества. На втором подэтапе транспортные средства, расположенные на втором транспортном пути с плоской крышей, образованном, по меньшей мере, одной уже установленной балкой, загружаются одной балкой из второго множества балок. Далее последняя транспортируется по второму транспортному пути с плоской крышей, образованному балкой (балками) из второго множества балок, расположенных на первой секции конструкции. Далее балка 6 из второго множества балок устанавливается в требуемое положение ниже по ходу второго транспортного пути с плоской крышей рядом с n-й балкой из первого множества. В частности, она устанавливается в требуемое положение после балки второго транспортного пути с плоской крышей, образующей второй край второго транспортного пути с плоской крышей во время строительства. Другими словами, она устанавливается в требуемое положение рядом с n-й балкой из первого множества. И, наконец, транспортное средство (транспортные средства) 17, освобожденное от балки 6 из второго множества балок, перемещается со второго транспортного пути с плоской крышей на площадку 9 для обслуживания и возвращается к первому краю конструкции по площадке для обслуживания.
В частности, согласно варианту, в котором дополнительный этап начинается только после монтажа первого множества 4 балок 6 и множества платформ 8 участка транспортной конструкции, на первом подэтапе, по меньшей мере, одна балка из второго множества балок устанавливается в требуемое положение, по меньшей мере, на одну опору первой секции конструкции рядом с балкой из первого множества. На втором подэтапе транспортные средства, расположенные на первом транспортном пути с плоской крышей, загружаются одной балкой из второго множества балок. Далее последняя транспортируется по первому транспортному пути с плоской крышей. Далее балка 6 из второго множества балок перемещается в боковом направлении и устанавливается в требуемое положение ниже по ходу второго транспортного пути с плоской крышей, как описано выше. И, наконец, транспортное средство (транспортные средства) 17, освобожденные от балки 6 из второго множества балок, перемещаются с первого транспортного пути с плоской крышей на площадку 9 для обслуживания и возвращаются к первому краю конструкции по площадке для обслуживания.
После монтажа первых балок второго множества балок, как описано выше, можно монтировать другие балки согласно аналогичному процессу.
| название | год | авторы | номер документа |
|---|---|---|---|
| СПОСОБ МОНТАЖА ТРАНСПОРТНОЙ КОНСТРУКЦИИ | 2022 |
|
RU2838033C2 |
| СПОСОБ МОНТАЖА ТРАНСПОРТНОЙ КОНСТРУКЦИИ | 2022 |
|
RU2836498C2 |
| ТРАНСПОРТНАЯ КОНСТРУКЦИЯ | 2022 |
|
RU2838170C2 |
| СПОСОБ МОНТАЖА ТРАНСПОРТНОЙ КОНСТРУКЦИИ И УЧАСТОК ТРАНСПОРТНОЙ КОНСТРУКЦИИ | 2022 |
|
RU2836793C2 |
| СПОСОБ МОНТАЖА ТРАНСПОРТНОЙ КОНСТРУКЦИИ | 2022 |
|
RU2838171C2 |
| Способ формования балки транспортного средства | 2014 |
|
RU2685318C2 |
| ПЕРЕДВИЖНАЯ ПЛАТФОРМА | 1999 |
|
RU2178376C2 |
| КОНСТРУКЦИЯ ПОДМОСТЕЙ | 2015 |
|
RU2710582C2 |
| ВАНТОВАЯ УБИРАЮЩАЯСЯ КРЫША, УСТАНАВЛИВАЕМАЯ НАД ПОКРЫВАЕМЫМ КРЫШЕЙ УЧАСТКОМ (ВАРИАНТЫ) | 1996 |
|
RU2172806C2 |
| СТРУКТУРНАЯ СХЕМА ЦИЛИНДРИЧЕСКОГО КОРПУСА | 2006 |
|
RU2317915C2 |
Изобретение относится к способу монтажа участка транспортной конструкции, содержащего множество опор, множество платформ, образующих площадку для обслуживания, первое множество балок, образующих первый узел сегментов трубы, в котором может создаваться низкое давление воздуха и по которому могут перемещаться капсулы, по существу, без воздушного трения, и образующих первый транспортный путь с плоской крышей, причем способ включает в себя транспортирование транспортным средством (транспортными средствами) балок и платформ по первому транспортному пути, их установку в требуемое положение и возврат транспортного средства (транспортных средств) по площадке для обслуживания. Изобретение также относится к участку транспортной конструкции. В результате создана транспортная конструкция, которая совместима с пересеченной местностью и для которой благодаря указанному способу можно более простым образом выполнять транспортировку различных изделий конструкции и их сборку. 2 н. и 13 з.п. ф-лы, 16 ил.
1. Способ монтажа участка (1) транспортной конструкции, содержащего:
множество опор (3), расположенных, по существу, на равном расстоянии вдоль продольной оси X участка транспортной конструкции,
множество платформ (8), соединенных с опорами и образующих площадку (9) для обслуживания, которая проходит от первого края участка транспортной конструкции до второго края участка транспортной конструкции,
первое множество (4) балок (6), расположенных на опорах и образующих:
- первый узел (12) сегментов (14) труб, в котором может создаваться низкое давление воздуха и обеспечиваться круговое движение капсул, движущихся, по существу, без воздушного трения в сегментах труб,
- первый транспортный путь (7) с плоской крышей, который проходит от первого края участка транспортной конструкции до второго края участка транспортной конструкции,
каждая балка содержит:
- сегмент (14) трубы первого узла сегментов труб,
- металлическую конструкцию (20), окружающую сегмент трубы первого узла сегментов труб, причем верхняя поверхность металлической конструкции является участком первого транспортного пути с плоской крышей,
способ включает в себя этапы, на которых:
(i) начиная от первого края участка транспортной конструкции, транспортируют транспортным средством/транспортными средствами (17) n-ю балку (6) из первого множества (4) балок по первому транспортному пути (7) с плоской крышей, образованному ранее установленными (n-1) балками из первого множества балок, устанавливают в требуемое положение n-ю балку на месте её использования и возвращают транспортное средство/транспортные средства к первому краю участка транспортной конструкции по площадке (9) для обслуживания, и,
(ii) начиная от первого края участка транспортной конструкции, транспортируют транспортным средством/транспортными средствами (17) y-ю платформу (8) из множества платформ по первому транспортному пути (7) с плоской крышей, образованному ранее установленными балками из первого множества балок, устанавливают в требуемое положение y-ю платформу на месте её использования и возвращают транспортное средство/транспортные средства к первому краю участка транспортной конструкции по площадке (9) для обслуживания.
2. Способ по п. 1, в котором перед этапом i) содержится этап монтажа опор.
3. Способ по любому из пп. 1 или 2, включающий в себя перед этапом i) дополнительный этап, на котором балку (6) из первого множества (4) балок и, по меньшей мере, платформу (8) первой секции участка транспортной конструкции монтируют на строительной площадке.
4. Способ по любому из пп. 1-3, в котором на этапах i) и ii) транспортные средства (17) загружают балкой (6) и платформой (8) у первого края участка транспортной конструкции.
5. Способ по любому из пп. 1-4, в котором балки (6) устанавливают в требуемое положение краном (18) для надвижки балок, который поддерживается самой конструкцией.
6. Участок (1) транспортной конструкции для капсул, перемещающихся, по существу, без воздушного трения в узле сегментов труб, в котором создано низкое давление воздуха, причем инфраструктура участка транспортной конструкции содержит:
множество опор (3), расположенных по существу, на равном расстоянии вдоль продольной оси X участка транспортной конструкции,
множество платформ (8), соединенных с опорами и образующих площадку (9) для обслуживания, которая проходит от первого края участка транспортной конструкции до второго края участка транспортной конструкции,
первое множество (4) балок (6), расположенных на опорах и образующих:
- первый узел (12) сегментов (14) труб, в котором может создаваться низкое давление воздуха и обеспечиваться круговое движение капсул, движущихся, по существу, без воздушного трения в сегментах труб,
- первый транспортный путь (7) с плоской крышей, который проходит от первого края участка транспортной конструкции до второго края участка транспортной конструкции,
каждая балка (6) содержит:
- сегмент (14) трубы первого узла сегментов труб,
- металлическую конструкцию (20), окружающую сегмент трубы первого узла сегментов труб, причем верхняя поверхность металлической конструкции является участком первого транспортного пути с плоской крышей.
7. Участок транспортной конструкции по п. 6, дополнительно содержащий второе множество (5) балок (6), расположенных на первом множестве (4) балок (6) и образующих:
- второй узел (13) сегментов труб, в котором может создаваться низкое давление воздуха и обеспечиваться круговое движение капсул, движущихся, по существу, без воздушного трения в сегментах труб,
- второй транспортный путь (10) с плоской крышей, который проходит от первого края участка транспортной конструкции до второго края участка транспортной конструкции,
каждая балка из второго множества содержит:
- сегмент (14) трубы второго узла (13) сегментов труб,
- металлическую конструкцию (20), окружающую сегмент трубы второго узла сегментов труб, причем верхняя поверхность металлической конструкции является участком второго транспортного пути с плоской крышей.
8. Участок (1) транспортной конструкции по п. 6, в котором каждая балка (6) дополнительно содержит сегмент (14) трубы второго узла (13) сегментов труб, расположенный рядом с сегментом трубы первого узла (12), металлическую конструкцию (20), окружающую оба сегмента труб так, что множество балок, расположенных на опорах, дополнительно образует второй узел (13) сегментов труб, в котором может создаваться низкое давление воздуха и обеспечиваться круговое движение капсул, движущихся, по существу, без воздушного трения в сегментах труб.
9. Участок (1) транспортной конструкции по п. 8, дополнительно содержащий второе множество (5) балок (8), расположенных на первом множестве (4) балок (6) и образующих:
- третий узел и четвертый узел сегментов труб, причем в обоих узлах может создаваться низкое давление воздуха и обеспечиваться круговое движение капсул, движущихся, по существу, без воздушного трения в сегментах труб,
- второй транспортный путь (10) с плоской крышей, который проходит от первого края участка транспортной конструкции до второго края участка транспортной конструкции,
каждая балка из второго множества содержит:
- сегмент (14) трубы третьего узла сегментов труб,
- сегмент (14) трубы четвертого узла сегментов труб,
- металлическую конструкцию (20), окружающую сегмент трубы третьего узла и сегмент трубы четвертого узла сегментов труб, причем верхняя поверхность металлической конструкции является участком второго транспортного пути с плоской крышей.
10. Участок транспортной конструкции по любому из пп. 6-9, в котором металлическая конструкция (20) содержит нижнюю панель (21), верхнюю панель (22) и поперечные усиления (23), соединяющие нижнюю панель с верхней панелью.
11. Участок транспортной конструкции по п. 10, в котором каждое поперечное усиление (23) проходит, по существу, в плоскости, перпендикулярной продольной оси X участка транспортной конструкции.
12. Участок транспортной конструкции по любому из пп. 10 или 11, в котором каждое поперечное усиление (23) проходит горизонтально так, что оно соответствует контуру сечения сегмента трубы.
13. Участок транспортной конструкции по любому из пп. 10-12, в котором верхняя панель, по существу, является плоской поверхностью, пригодной для движения транспорта.
14. Участок транспортной конструкции по любому из пп. 6-13, в котором металлическая конструкция (20) содержит поперечные усиления (23) и продольное усиление, соединяющее поперечные усиления.
15. Участок транспортной конструкции по любому из пп. 6-14, в котором каждая балка (6) проходит от одной опоры до соседней опоры.
| US 9517901 B2, 13.12.2016 | |||
| CN 108755294 A, 06.11.2018 | |||
| CN 114016383 A, 08.02.2022 | |||
| US 8166596 B2, 01.05.2012 | |||
| CN 109024103 A, 18.12.2018 | |||
| Способ получения цианистых соединений | 1924 |
|
SU2018A1 |
| Сверхзвуковая наземная транспортная система с вакуумной подушкой | 2016 |
|
RU2630268C1 |
Авторы
Даты
2025-04-10—Публикация
2022-02-28—Подача