Изобретение относится к машиностроению и может использоваться для испытания подшипников скольжения.
Известен стенд для испытания подшипников скольжения, содержащий станину, валы со сменными цапфами, механизм радиального нагружения, механизм преобразования возвратно-поступательного движения в вращательное в виде крестообразной направляющей рейки с бегунком, соединенным с приводным зубчатым колесом [RU №2827470, кл. G01M 13/04 (2006.01), приоритет от 05.03.2024].
Недостаток данного стенда - неравномерная скорость скольжения испытуемых подшипников скольжения из-за особенностей конструкции механизма преобразования возвратно-поступательного движения во вращательное, так же, такая конструкция, при сколько-нибудь значительных нагрузках имеет высокую вероятность заклинивания подвижного бегунка в наклонной направляющей рейки. То есть конструкция прототипа не может имитировать постоянные скорости скольжения в испытуемых узлах трения, которые присутствуют в реальных подшипниках скольжения, и, так же, гарантированно обеспечивать реальные величины нагрузок.
Техническим результатом является обеспечение проведения испытаний подшипников скольжения на трение и изнашивание в сравнимых условиях реверсивного и одностороннего вращательного движения при постоянных скоростях скольжения, в широком диапазоне нагрузочных режимов. Указанный технический результат достигается за счет того, что механизм преобразования возвратно-поступательного движения во вращательное выполнен в виде прямоугольной приводной рейки, соединенной со штоком приводного гидроцилиндра и содержащей на внутренних поверхностях вертикальных сторон зубчатые сектора, расположенные в шахматном порядке и смещенные относительно середины в разные стороны, ответные зубчатым секторам приводной шестерни, причем расположения этих зубчатых секторов смещены относительно диаметральной плоскости поочередно в разные стороны, что обеспечивает при достижении приводной шестерни верхней или нижней мертвой точки поступательного хода прямоугольной приводной рейки - выход из зацепления зубьев приводной рейки и приводной шестерни с одной стороны приводной рейки при одновременном зацеплении зубьев приводной рейки и приводной шестерни с противоположной стороны приводной рейки при проскакивании зубьев приводной шестерни по лыске приводной рейки на бывшей рабочей стороне, в результате чего приводная шестерня получает одностороннее вращательное движение при возвратно-поступательном движении рейки.
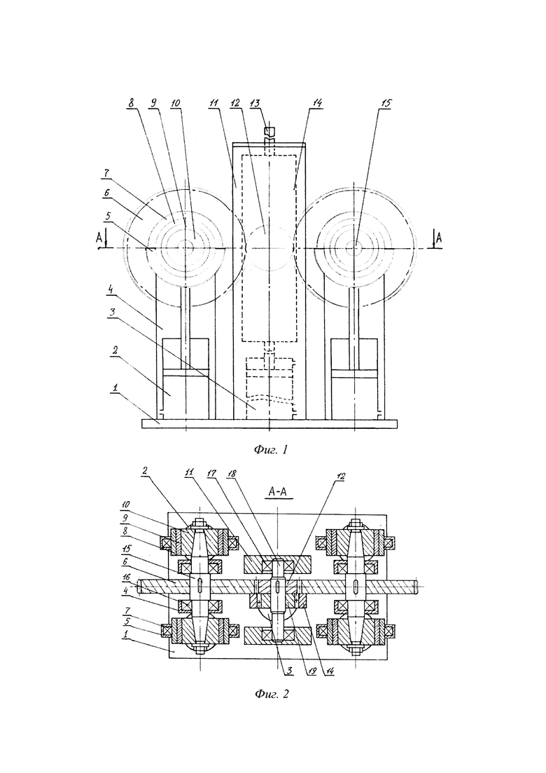
На фиг. 1 изображен стенд для испытания подшипников скольжения на трение и изнашивание - общий вид, на фиг. 2 - разрез А-А общего вида, на фиг. 3 - приводная рейка, на фиг. 4 - приводная шестерня.
Стенд для испытания подшипников скольжения на трение и изнашивание состоит из сварной станины 1, четырех гидроцилиндров нагружения 2, одного приводного гидроцилиндра 3, четырех боковых стоек 4, четырех обойм нагружающих подшипников качения 5, двух боковых шестерен 6, четырех нагружающих подшипников качения 7, четырех обойм подшипников скольжения 8, четырех исследуемых втулок 9, четырех цапф 10, двух центральных стоек 11, центральной шестерни 12, направляющей 13, приводной рейки 14, двух вторичных валов 15, четырех подшипников качения боковых стоек 16, двух подшипников центральных стоек 17, первичного вала 18, приводной шестерни 19.
Стенд работает следующим образом. От гидростанции через шланги рабочая жидкость подается в поршневые полости гидроцилиндров 2, которые через обоймы 5 и подшипники качения 7 создают нагрузку на исследуемый подшипник скольжения. После этого рабочая жидкость поочередно подается в поршневую и штоковую полости гидроцилиндра 3, тем самым сообщая штоку и соединенной с ним рейке 14 возвратно-поступательное движение, которая через зубчатую передачу, в которую входят шестерни 6, 12 и 19 сообщают валам 15 и через них исследуемым подшипникам скольжения возвратно-вращательное движение. Одностороннее вращательное или прерывистое вращательное движение достигается за счет реечной передачи между приводной рейкой 14 с зубчатыми секторами, расположенными в шахматном порядке и смещенными относительно середины рейки к ее краям и приводной шестерней 19 с зубчатыми секторами, расположенными в шахматном порядке и смещенными относительно диаметральной плоскости, ответными соответствующим зубчатым секторам приводной рейки 14. То есть, при достижении приводной шестерни 19 верхней или нижней мертвой точки поступательного хода прямоугольной приводной рейки 14 - выход из зацепления зубьев приводной рейки 14 и приводной шестерни 19 с одной стороны приводной рейки 14 при одновременном зацеплении зубьев приводной рейки 14 и приводной шестерни 19 с противоположной стороны приводной рейки 14 при проскакивании зубьев приводной шестерни 19 по лыске приводной рейки 14 на бывшей рабочей стороне, в результате чего приводная шестерня 19 получает одностороннее вращательное движение при возвратно-поступательном движении рейки 14.
Необходимые угол поворота, частота реверсирования и скорость скольжения регулируются ходом штока гидроцилиндра 3 и давлением рабочей жидкости в гидроцилиндре 3. Корректировка этих характеристик возможна изменением передаточного отношения зубчатой передачи.
Таким образом, за счет оригинального механизма преобразования возвратно-поступательного движения приводной рейки 14 во вращательное движение приводной шестерни 19 достигается равномерная скорость вращения испытуемых подшипников скольжения 9, причем допускаются любые нагрузочные режимы испытаний на трение и изнашивание без риска заклинивания приводного механизма.
| название | год | авторы | номер документа |
|---|---|---|---|
| СТЕНД ДЛЯ ИСПЫТАНИЯ ПОДШИПНИКОВ СКОЛЬЖЕНИЯ | 2024 |
|
RU2827470C1 |
| УСТАНОВКА ДЛЯ ФОРМОВАНИЯ ИЗДЕЛИЙ ИЗ БЕТОННЫХ СМЕСЕЙ | 1991 |
|
RU2047483C1 |
| ДВИГАТЕЛЬ ВНУТРЕННЕГО СГОРАНИЯ (ВАРИАНТЫ) | 2009 |
|
RU2423615C2 |
| Устройство для преобразования вращательного движения в возвратно-поступательное | 1990 |
|
SU1772483A1 |
| Устройство для преобразования вращательного движения в возвратно-поступательное | 2018 |
|
RU2705441C2 |
| УСТРОЙСТВО ДЛЯ ИСПЫТАНИЯ МАТЕРИАЛОВ | 1991 |
|
RU2044296C1 |
| ШАРНИРНОЕ УСТРОЙСТВО С ДЛИННЫМ ВОЗВРАТНО-ПОСТУПАТЕЛЬНЫМ ХОДОМ ДЛЯ ФРОНТАЛЬНОЙ ПАНЕЛИ | 2016 |
|
RU2718349C2 |
| Стенд испытательный для пневмопривода трубопроводной арматуры | 2019 |
|
RU2737152C1 |
| МУСКУЛЬНЫЙ ПРИВОД ТРАНСПОРТНОГО СРЕДСТВА | 2013 |
|
RU2521469C1 |
| ВЕЛОСИПЕД РЕЕЧНЫЙ ГОНОЧНЫЙ | 2011 |
|
RU2477240C2 |
Изобретение относится к машиностроению и может использоваться для испытания подшипников скольжения на трение и изнашивание. Устройство выполнено в виде прямоугольной приводной рейки, соединенной со штоком приводного гидроцилиндра и содержащей на внутренних поверхностях вертикальных сторон зубчатые сектора, расположенные в шахматном порядке и смещенные относительно середины в разные стороны, ответные зубчатым секторам приводной шестерни. Причем расположение этих зубчатых секторов смещены относительно диаметральной плоскости поочередно в разные стороны, что обеспечивает при достижении приводной шестерни верхней или нижней мертвой точки поступательного хода прямоугольной приводной рейки - выход из зацепления зубьев приводной рейки и приводной шестерни с одной стороны приводной рейки при одновременном зацеплении зубьев приводной рейки и приводной шестерни с противоположной стороны приводной рейки при проскакивании зубьев приводной шестерни по лыске приводной рейки на бывшей рабочей стороне. В результате приводная шестерня получает одностороннее вращательное движение при возвратно-поступательном движении рейки. Технический результат заключается в обеспечении проведения испытаний подшипников скольжения на трение и изнашивание в сравнимых условиях реверсивного и одностороннего вращательного движения при постоянных скоростях скольжения, в широком диапазоне нагрузочных режимов. 4 ил. 
Стенд для испытания подшипников скольжения на трение и изнашивание, содержащий станину, валы со сменными цапфами, механизм радиального нагружения, механизм преобразования возвратно-поступательного движения во вращательное, отличающийся тем, что механизм преобразования возвратно-поступательного движения во вращательное выполнен в виде прямоугольной приводной рейки, соединенной со штоком приводного гидроцилиндра и содержащей на внутренних поверхностях вертикальных сторон зубчатые сектора, расположенные в шахматном порядке и смещенные относительно середины в разные стороны, ответные зубчатым секторам приводной шестерни, причем расположение этих зубчатых секторов смещены относительно диаметральной плоскости поочередно в разные стороны, что обеспечивает при достижении приводной шестерни верхней или нижней мертвой точки поступательного хода прямоугольной приводной рейки - выход из зацепления зубьев приводной рейки и приводной шестерни с одной стороны приводной рейки при одновременном зацеплении зубьев приводной рейки и приводной шестерни с противоположной стороны приводной рейки при проскакивании зубьев приводной шестерни по лыске приводной рейки на бывшей рабочей стороне, в результате чего приводная шестерня получает одностороннее вращательное движение при возвратно-поступательном движении рейки.
| СТЕНД ДЛЯ ИСПЫТАНИЯ ПОДШИПНИКОВ СКОЛЬЖЕНИЯ | 2024 |
|
RU2827470C1 |
| US 11592061 B2 28.02.2023 | |||
| Машина для испытания подшипников,преимущественно кривошипных прессов | 1983 |
|
SU1095051A1 |
| 0 |
|
SU211734A1 | |
| Машина для испытания подшипников скольжения | 1973 |
|
SU465572A1 |
Авторы
Даты
2025-03-31—Публикация
2024-12-06—Подача