Область техники
Изобретение относится к области транспортных перевозок, перевалок и хранения навальных и сыпучих грузов, насыпных грузов массой не более 15 тонн, в том числе пищевых (зерновых) грузов и некоторых опасных грузов по классификации ООН таких, как комовая сера, аммиачная селитра, каменно-угольный пек и др. Также изобретение относится к мультимодальным перевозкам насыпных грузов на различных видах транспорта без перегрузки насыпного груза из многооборотного мягкого контейнера, и к разгрузке насыпных грузов из мягких контейнеров в трюм судна или в бункеры открытого и закрытого типов.
Уровень техники
Из уровня техники известен мягкий контейнер для транспортировки и хранения насыпных грузов по патенту на изобретение RU 2188785 С1, МПК B65D 88/16, B65D 88/22 05.09.2001, характеризующийся тем, что содержит емкость с верхним загрузочным отверстием и нижним разгрузочным отверстием, силовую сетку с подъемными петлями, дном и зачековочное устройство, включающее в себя ленточные петли с металлическим колечком на одном конце для пережима, шпильку для зачековки и контровочные ленточки для предохранения от самопроизвольной расчековки. Емкость размещена в силовой сетке и соединена с ней в верхней части посредством разъемного соединения. Последнее состоит из последовательно соединенных между собой петель, укрепленных на емкости и на силовой сетке с замыканием последней группы петель шнуровой завязкой. Причем продолжения петель, укрепленных на емкости, выполнены в виде лент, размещенных наклонно к направлению нитей основы и утка ткани емкости. В силовой сетке выполнено дно с отверстием и ободным элементом, совмещенным с разгрузочным отверстием емкости. Емкость снабжена рукавами с ленточными петлями для пережима и системой клапанов. Один из рукавов укреплен вверху на загрузочном отверстии емкости для обеспечения процесса загрузки без распыливания насыпного груза и герметизации верхней части контейнера при транспортировке и хранении насыпного груза. Другой рукав имеет зачековочное устройство и укреплен на нижнем разгрузочном отверстии емкости с возможностью заправки его выходного участка при разгрузке в люки транспортных средств и хранилища и исключения распыливания насыпного груза в окружающую среду. Система клапанов имеет зачековочное устройство и укреплена на одном элементе отверстия дна силовой сетки для фиксации в сложенном состоянии рукава, укрепленного на разгрузочном отверстии емкости.
Вкладыш с каркасной сеткой не образуют неразъемное соединение, но соединены между собой в верхней части быстроразъемным соединением, позволяющим быстро производить сборку и разборку контейнера, необходимые при замене вкладыша при перевозке различных, не совместимых грузов и при ремонте контейнера. В этом патенте также не конкретизированы характеристики лент и ткани-основы, применяемые в конструкции мягкого контейнера. Однако, работоспособность быстроразъемного соединения вкладыша с каркасной сеткой и силового каркаса вкладыша в этом контейнере также зависит от характеристик его лент и ткани-основы.
Наиболее близким аналогом предлагаемого изобретения является мягкий контейнер для транспортировки и хранения грузов по патенту на изобретение RU 2132296 С1, МПК B65D 88/22, B65D 33/02, B65D 33/14, 27.11.1998, характеризующийся тем, что состоит из двух отдельных элементов - рукава и дна, выполненных из текстильных материалов, упроченных ленточным силовым каркасом и связанных между собой быстроразъемным соединением. При этом контейнер снабжен двумя фартуками - нижним для перекрывания места соединения рукава и дна и верхним для закрывания загрузочного проема. Контейнер поднимается краном за подъемные петли, образованные продолжением лент силового каркаса.
В указанном патенте фартук, закрепленный в нижней части, снабжен лентами, сходящимися в центре дна контейнера, с петлями на их свободных концах, через которые пропущена стягивающая лента заведомо малой прочности, разрывающаяся в начальный момент загрузки. Эта конструкция применена с целью препятствования не сплошному перекрыванию места быстроразъемного соединения рукава и дна мягкого контейнера, которое может произойти от воздействия воздуха, перемещаемого в рукаве во время его загрузки.
Контейнер поднимают краном за подъемные петли, образованные продолжением вертикальных лент силового каркаса. Вертикальные ленты скреплены с горизонтальными лентами силового каркаса, которые при заполнении контейнера образуют кольцевой каркас, придающий контейнеру стабильную форму для размещения его в транспортном средстве. Контейнер позволяет перемещать большие массы сыпучих грузов (до 15 т.) и обеспечивает быструю загрузку и быструю (мгновенную) разгрузку. Полностью закрытая поверхность контейнера предохраняет груз от пыления во время его перевозки и хранения. Однако, в этом патенте не конкретизируются место постоянного скрепления рукава с дном, конструкция увязывания верхнего фартука, характеристики быстроразъёмного соединения, а также не приводятся допустимые соотношения характеристик его лент и ткани-основы. Многолетняя эксплуатация мягких контейнеров с неразъемной конструкцией силового каркаса и ткани-основы рукава и дна, связанных между собой таким быстроразъемным соединением, показывает, что их работоспособность (долговечность, надежность) зависит от соотношения характеристик лент и ткани-основы, несоблюдение которых приводит в определенных условиях эксплуатации контейнера к заклиниванию петель быстроразъемного соединения, а также к повышенным ремонтным и эксплуатационным затратам.
Раскрытие сущности изобретения
Задачей, решаемой заявленным изобретением, является создание конструкции мягкого контейнера для транспортировки и хранения насыпных грузов с быстроразъемным соединением, позволяющим разгружать такой контейнер в две стадии, поочередно разгружая первую половину груза, и, при необходимости, разгружая мягкий контейнер полностью, что может быть востребовано при догрузке транспортных средств и бункеров.
Еще одной задачей, решаемой заявленным изобретением является создание конструкции мягкого контейнера транспортировки и хранения насыпных грузов, которая обеспечивает надежность петлевого замка и предотвращает его разрушение.
Поставленная задача решается тем, что мягкий контейнер для транспортировки и хранения насыпных грузов выполнен содержащим рукав и дно, выполненные из ткани-основы, и обшитые ленточным силовым каркасом неразборным соединением, при этом ткань-основа в ее верхней части образует верхний фартук, а в ее нижней части образует нижний фартук, при этом вертикальные ленты силового каркаса расположенные в его верхней части образуют грузовые подъемные петли, узел крепления дна и рукава, образованный посредством соединения петлевым замком петель вертикальных лент силового каркаса, расположенных в нижней части рукава и петель радиальных лент дна, и зачековочный узел, отличающийся тем, что узел крепления дна и рукава выполнен с неразрывной частью соединения петель дна и рукава, неразрывная часть образована малыми петлями, каждая из которых пришита на внешнюю сторону петлевого основания каждой из двух пар соседних петель рукава и дна, сквозь малые петли продето многослойное ленточное кольцо, при этом зачековочный узел расположен на узле крепления дна и рукава с противоположной стороны от неразрывной части соединения петель дна и рукава, зачековочный узел состоит из двух коротких соседних петель дна и одной короткой петли рукава, в каждую из коротких петель продето металлическое кольцо, с одной стороны замыкающая петля рукава выполнена с возможностью прохождения сквозь два кольца соседних коротких петель дна и ее зачековки на кольце короткой петли рукава одной металлической шпилькой, при этом с другой стороны замыкающие петли дна и рукава выполнены с возможностью их зачековки на кольце короткой петли рукава второй металлической шпилькой.
Заявленный мягкий контейнер обеспечивает повышение надежности, уменьшение ремонтных и эксплутационных затрат за счет разгрузки начальной петли петлевого замка и предотвращения его разрушения, а также повышение эксплуатационных характеристик за счет разгрузки такого контейнера в две стадии, поочередно разгружая первую половину груза, и, при необходимости, разгружая мягкий контейнер полностью.
При этом верхний фартук может быть выполнен с возможностью формирования крыши, посредством его стягивания и обвязывания полученного стянутого пучка стягивающей лентой, укрепленной на верхнем фартуке с целью недопущения распыления и намокания груза.
Кроме того, на внутренней поверхности рукава могут быть расположены завязки для удержания верхнего фартука в свернутом виде и последующего его закрепления карабинами к лентам грузовых петель с целью наибольшего раскрытия загрузочного проема во время загрузки.
Помимо этого, относительное удлинение ткани основы превышает относительное удлинение ленты силового каркаса не менее чем на 10%, а прочность ткани-основы составляет не менее 15% от прочности лент силового каркаса, что позволяет обеспечить целостность конструкции рукава и дна с нашитым на них силовым каркасом.
При этом ленты петель рукава и дна имеют ширину не более 40 мм для безотказного срабатывания петлевого замка.
Ленты силового каркаса, расположенные на радиусных криволинейных участках имеют ширину не превышающую 25-38 мм, что способствует равномерному нагружению нитей основы лент по всей ширине ленты.
Краткое описание чертежей
На фиг. 1 показан общий вид сбоку мягкого контейнера для транспортировки и хранения грузов со схематическим изображением зачековочного узла, расположенного на узле крепления дна и рукава.
На фиг. 2 показан фрагмент узла крепления дна и рукава с неразрывной частью соединения петель дна и рукава.
На фиг. 3 показан разрез по линии А-А, обозначенный на фиг.2, демонстрирующий неразрывную часть соединения петель дна и рукава.
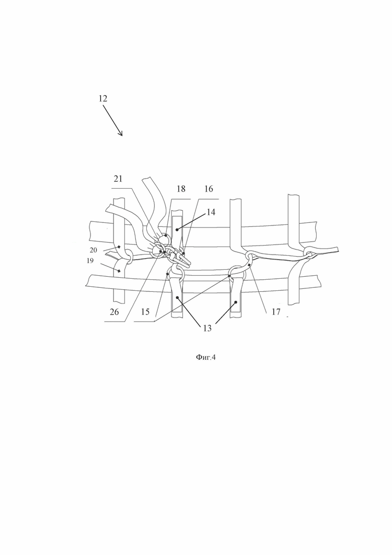
На фиг. 4 показан фрагмент узла крепления рукава и дна с зачековочным узлом.
На фиг. 5 показана верхняя часть мягкого контейнера, демонстрирующая верхний фартук в разобранном виде.
На фиг. 6 показана верхняя часть контейнера, демонстрирующая верхний фартук в стянутом и обвязанном виде.
На фиг.7 показана верхняя часть контейнера, демонстрирующая верхний фартук в свернутом виде с закрепленными карабинами.
Осуществление изобретения
Мягкий контейнер 1 содержит рукав 2 и дно 3, выполненные из ткани-основы и обшитые ленточным силовым каркасом 4. Ткань-основа в ее верхней части образует верхний фартук 5, а в нижней части - нижний фартук (на фиг. не показан).
Вертикальные ленты силового каркаса 4, расположенные в его верхней части образуют грузовые подъемные петли 6.
Узел крепления 7 дна и рукава, образованный посредством соединения петлевым замком петель вертикальных лент силового каркаса, расположенных в нижней части рукава и петель радиальных лент дна.
Узел крепления 7 дна и рукава содержит неразрывную часть 8 соединения петель дна и рукава. Неразрывная часть 8 образована малыми петлями 9, каждая из которых пришита на внешнюю сторону петлевого основания каждой из двух пар соседних петель 10 дна и рукава. Сквозь малые петли 9 продето многослойное ленточное кольцо 11.
Зачековочный узел 12 расположен на узле крепления 7 дна и рукава с противоположной стороны от неразрывной части 8 соединения петель дна и рукава. Зачековочный узел 12 состоит из двух коротких петель 13 дна и одной короткой петли 14 рукава. В короткие петли 13 продеты металлические кольца 15, в короткую петлю 14 продето металлическое кольцо 16. С одной стороны замыкающая петля 17 рукава проходит сквозь два кольца 15 соседних коротких петель 13 и зачековывается на кольце 16 короткой петли 14 металлической шпилькой 18. С другой стороны замыкающая петля 19 дна и замыкающая петля 20 рукава зачековывается на кольце 16 короткой петли 14 металлической шпилькой 21.
Верхний фартук 5 выполнен с возможностью формирования крыши, посредством его стягивания и обвязывания полученного стянутого пучка 22, стягивающей лентой 23, укрепленной на верхнем фартуке 5.
На внутренней поверхности рукава расположены завязки 24 для удержания верхнего фартука 5 в свернутом виде и последующего его закрепления карабинами 25 к лентам грузовых петель 6.
В предлагаемом изобретении быстроразъемное соединение, а именно узел крепления 7 дна и рукава, образуется соединением петель корпуса в виде петель рукава и петель дна контейнера. Причем каждая петля силового каркаса 4 рукава 2 формируется в виде продолжения вертикальных лент рукава 2, а каждая петля силового каркаса 4 дна 3 формируется в виде продолжения радиальных лент дна. Количество петель на рукаве 2 и на дне 3 одинаковое, а их длина равна расстоянию между вертикальными лентами силового каркаса 4 рукава 2 и расстоянию между радиальными лентами дна на линии его соединения с рукавом контейнера. В предлагаемом изобретении рукав 2 и дно 3 скрепляются неразрывными лентами, равными по прочности вертикальным лентам рукава 2 и радиальным лентам дна 3 в неразрывной части 8.
Неразрывная часть 8 конструктивно решена посредством пришивания малой петли 9 с внешней стороны на петлевое основание каждой из двух пар соседних петель 10 дна и рукава.
Такая конструкция позволяет соединить неразрывно рукав 2 и дно 3 мягкого контейнера в постоянном месте, путем совмещения соседних петель 10 с малыми петлями 9 рукава с аналогичными петлями дна, и продевания, например, ленты ЛТПЭ 30х500 (лента техническая полиэфирная шириной 30 мм и разрывной прочностью не менее 500 кг) последовательно в каждую из четырех малых петель 9 в 5 слоев для того, чтобы добиться равной прочности постоянного неразрывного соединения с прочностью вертикальных лент силового каркаса 4. В результате такой сборки образуются две пары петель 9, опоясанных многослойным ленточным кольцом 11. Такое соединение образует неразрывную часть 8 на узле крепления 7 дна и рукава. Продевание попарно петель 10 рукава и дна изнутри многослойного ленточного кольца 11 с последующей сборкой петлевого замка в одну сторону и повторения такой сборки в другую сторону, позволяет разгрузить начальную петлю петлевого замка и предотвратить его разрушение.
Зачековочный узел 12 расположен на узле крепления 7 дна и рукава с противоположной стороны от неразрывной части 8 соединения петель дна и рукава. Зачековочный узел имеет конструкцию состоящую из двух коротких петель 13 дна и одной короткой петли 14 рукава. В короткие петли 13 продето металлические кольца 15, а в короткую петлю 14 продето металлическое кольцо 16. С одной стороны замыкающая петля 17 рукава проходит сквозь два кольца 15 соседних коротких петель 13 и зачековывается на кольце 16 короткой петли 14 металлической шпилькой 18. С другой стороны замыкающая петля 19 дна и замыкающая петля 20 рукава зачековывается на кольце 16 короткой петли 14 металлической шпилькой 21. Шпильки 18 и 21 по отдельности связывают контровочной лентой 26 с малой прочностью, предохраняя ее от выпадения из петли, будучи не нагруженной, перед загрузкой или складированием контейнера в порожнем состоянии. Такая сборка петель петлевого замка позволяет равномерно замкнуть нагрузку от веса груза на всю линию соединения рукава и дна, включая неразрывную завязку и зачековку двумя металлическими шпильками. При этом единственным местом размыкания рукава и дна остается зачековочный узел 12, который размыкается путем одновременного вынимания шпильки из соответствующей петли. Таким образом, каждая половина дна зачекована своей шпилькой. Это позволяет разгружать такой мягкий контейнер в две стадии, поочередно выдергивая шпильку 18, разгружая первую половину груза мягкого контейнера и, при необходимости, выдергивая шпильку 21, разгружая мягкий контейнер полностью.
Верхний фартук 5, закрывающий загрузочный проем мягкого контейнера 1 от распыления груза и, в то же время, обеспечивающий полное раскрытие загрузочного проема во время загрузки, изготавливается в виде продолжения ткани-основы рукава достаточного размера, чтобы перекрыть центр контейнера 1. Причем, во время загрузки верхний фартук 5 скатывают в рулон и удерживают его в верхней части рукава завязками 24, предварительно прикрепленными в нескольких местах к рукаву 2 контейнера изнутри и карабинами 25 к лентам грузовых петель 6 контейнера. После загрузки контейнера верхний фартук 5 расправляют над грузом и увязывают его в транспортном положении, защищая груз от намокания и распыления. С целью ускорения процесса укрывания груза верхним фартуком, являющимся, на самом деле, крышей мягкого контейнера, на соответствующем расстоянии, примерно, от края крыши до центра, пришивают несколько петель 27, сквозь которые продевают пришитую одним концом к верхнему фартуку 5 ленту 23 достаточной прочности, чтобы стянуть и обвязать верхний фартук 5 в стянутом положении.
Выбор прочностных и упругих характеристик лент силового каркаса 4 и ткани-основы имеет закономерность, состоящую в том, что совместимость неразборного их соединения обеспечивается, если относительное удлинение ткани-основы превышает относительное удлинение ленты силового каркаса не менее, чем на 10%, а прочность ткани-основы составляет не менее 15% от прочности лент силового каркаса. Указанные прочностные соотношения обеспечивают нормальную работу швейного шва, обеспечивающего целостность конструкции рукава 2 и дна 3 с нашитым на них силовым каркасом 4. При соблюдении этих условий упругие деформации силового каркаса 4 рукава 2 и дна 3 контейнера под влиянием веса груза не приводят к разрушению ткани-основы и швейных швов на рукаве и дне контейнера.
Ленты петель петлевого замка, с одной стороны, должны быть равнопрочными с вертикальными лентами силового каркаса рукава и радиальными лентами дна, но, с другой стороны, должны иметь небольшую ширину, до 40 мм, чтобы обеспечить надежную работу петлевого замка при разгрузке груза, когда все петли выходят из зацепления друг с другом в исходное положение. За счет малой ширины петли петлевого замка имеют меньшее трение при выходе из зацепления. Причем, это правило также распространяется на все ленточные детали силового каркаса с шириной ленты в интервале 25-38 мм. Лимитированная ширина лент способствует более равномерному нагружению нитей основы лент по ее ширине, если они расположены на радиусных участках в плоскости силового каркаса, т.е. воздействия сил на них. Ширина таких лент в конструкции мягких контейнеров с быстроразъемным дном не должна превышать 40 мм. Несоблюдение прочностных, упругих и геометрических характеристик лент силового каркаса и ткани-основы приводит к воздействию разрушающей нагрузки на конструкцию мягкого контейнера с быстроразъемным дном и разрушению швейных швов на радиусных участках силового каркаса дна.
| название | год | авторы | номер документа |
|---|---|---|---|
| МЯГКИЙ КОНТЕЙНЕР ДЛЯ ТРАНСПОРТИРОВКИ И ХРАНЕНИЯ НАСЫПНЫХ ГРУЗОВ | 2024 |
|
RU2826273C1 |
| МЯГКИЙ КОНТЕЙНЕР ДЛЯ ТРАНСПОРТИРОВКИ И ХРАНЕНИЯ НАСЫПНЫХ ГРУЗОВ | 2024 |
|
RU2826192C1 |
| МЯГКИЙ КОНТЕЙНЕР ДЛЯ ТРАНСПОРТИРОВКИ И ХРАНЕНИЯ НАСЫПНЫХ ГРУЗОВ (ВАРИАНТЫ) | 2022 |
|
RU2781314C1 |
| Контейнер мягкий стропный самовыгружной | 2016 |
|
RU2646730C2 |
| МЯГКИЙ КОНТЕЙНЕР ДЛЯ ТРАНСПОРТИРОВКИ И ХРАНЕНИЯ НАСЫПНЫХ ГРУЗОВ | 2001 |
|
RU2188785C1 |
| МЯГКИЙ КОНТЕЙНЕР ДЛЯ ТРАНСПОРТИРОВКИ И ХРАНЕНИЯ НАСЫПНЫХ ГРУЗОВ И ВКЛАДЫШ МЯГКОГО КОНТЕЙНЕРА | 2023 |
|
RU2830930C1 |
| Вкладыш мягкого контейнера для транспортировки и хранения насыпных грузов | 2023 |
|
RU2839128C2 |
| МЯГКИЙ КОНТЕЙНЕР ДЛЯ ТРАНСПОРТИРОВКИ И ХРАНЕНИЯ НАСЫПНЫХ ГРУЗОВ | 2023 |
|
RU2818162C1 |
| Мягкий контейнер для транспортировки и хранения насыпных грузов | 2023 |
|
RU2839192C2 |
| Мягкий контейнер для транспортировки и хранения насыпных грузов | 2022 |
|
RU2787606C1 |
Изобретение относится к области транспортных перевозок, перевалок и хранения навальных и сыпучих грузов, насыпных грузов массой не более 15 тонн, в том числе пищевых (зерновых) грузов и некоторых опасных грузов по классификации ООН, таких как комовая сера, аммиачная селитра, каменно-угольный пек и др. Мягкий контейнер для транспортировки и хранения насыпных грузов выполнен содержащим рукав и дно, выполненные из ткани-основы и обшитые ленточным силовым каркасом неразборным соединением. Ткань-основа в ее верхней части образует верхний фартук, а в ее нижней части образует нижний фартук. Вертикальные ленты силового каркаса, расположенные в его верхней части, образуют грузовые подъемные петли. Также содержит узел крепления дна и рукава, образованный посредством соединения петлевым замком петель вертикальных лент силового каркаса, расположенных в нижней части рукава, и петель радиальных лент дна, и зачековочный узел. Узел крепления дна и рукава выполнен с неразрывной частью соединения петель дна и рукава. Неразрывная часть образована малыми петлями, каждая из которых пришита на внешнюю сторону петлевого основания каждой из двух пар соседних петель рукава и дна. Сквозь малые петли продето многослойное ленточное кольцо. Зачековочный узел расположен на узле крепления дна и рукава с противоположной стороны от неразрывной части соединения петель дна и рукава. Зачековочный узел состоит из двух коротких соседних петель дна и одной короткой петли рукава. В каждую из коротких петель продето металлическое кольцо. С одной стороны замыкающая петля рукава выполнена с возможностью прохождения сквозь два кольца соседних коротких петель дна и ее зачековки на кольце короткой петли рукава одной металлической шпилькой. С другой стороны замыкающие петли дна и рукава выполнены с возможностью их зачековки на кольце короткой петли рукава второй металлической шпилькой. Изобретение обеспечивает повышение надежности, уменьшение ремонтных и эксплутационных затрат за счет разгрузки начальной петли петлевого замка и предотвращения его разрушения, а также повышение эксплуатационных характеристик за счет разгрузки такого контейнера в две стадии, поочередно разгружая первую половину груза и при необходимости разгружая мягкий контейнер полностью. 5 з.п. ф-лы, 7 ил.
1. Мягкий контейнер для транспортировки и хранения насыпных грузов, содержащий рукав и дно, выполненные из ткани-основы и обшитые ленточным силовым каркасом неразборным соединением, при этом ткань-основа в ее верхней части образует верхний фартук, а в ее нижней части образует нижний фартук, при этом вертикальные ленты силового каркаса, расположенные в его верхней части, образуют грузовые подъемные петли, узел крепления дна и рукава, образованный посредством соединения петлевым замком петель вертикальных лент силового каркаса, расположенных в нижней части рукава, и петель радиальных лент дна, и зачековочный узел, отличающийся тем, что узел крепления дна и рукава выполнен с неразрывной частью соединения петель дна и рукава, неразрывная часть образована малыми петлями, каждая из которых пришита на внешнюю сторону петлевого основания каждой из двух пар соседних петель рукава и дна, сквозь малые петли продето многослойное ленточное кольцо, при этом зачековочный узел расположен на узле крепления дна и рукава с противоположной стороны от неразрывной части соединения петель дна и рукава, зачековочный узел состоит из двух коротких соседних петель дна и одной короткой петли рукава, в каждую из коротких петель продето металлическое кольцо, с одной стороны замыкающая петля рукава выполнена с возможностью прохождения сквозь два кольца соседних коротких петель дна и ее зачековки на кольце короткой петли рукава одной металлической шпилькой, при этом с другой стороны замыкающие петли дна и рукава выполнены с возможностью их зачековки на кольце короткой петли рукава второй металлической шпилькой.
2. Мягкий контейнер по п.1, отличающийся тем, что верхний фартук выполнен с возможностью формирования крыши, посредством его стягивания и обвязывания полученного стянутого пучка стягивающей лентой, укрепленной на верхнем фартуке.
3. Мягкий контейнер по п.1, отличающийся тем, что на внутренней поверхности рукава расположены завязки для удержания верхнего фартука в свернутом виде и последующего его закрепления карабинами к лентам грузовых петель.
4. Мягкий контейнер по п.1, отличающийся тем, что относительное удлинение ткани-основы превышает относительное удлинение ленты силового каркаса не менее чем на 10%, а прочность ткани-основы составляет не менее 15% от прочности лент силового каркаса.
5. Мягкий контейнер по п.1, отличающийся тем, что ленты петель рукава и дна имеют ширину не более 40 мм.
6. Мягкий контейнер по п.1, отличающийся тем, что ленты силового каркаса, расположенные на радиусных криволинейных участках, имеют ширину, не превышающую 25-38 мм.
| МЯГКИЙ КОНТЕЙНЕР ДЛЯ ТРАНСПОРТИРОВКИ И ХРАНЕНИЯ НАСЫПНЫХ ГРУЗОВ | 2024 |
|
RU2826192C1 |
| МЯГКИЙ КОНТЕЙНЕР ДЛЯ ТРАНСПОРТИРОВКИ И ХРАНЕНИЯ НАСЫПНЫХ ГРУЗОВ | 2024 |
|
RU2826273C1 |
| МЯГКИЙ КОНТЕЙНЕР ДЛЯ ТРАНСПОРТИРОВКИ И ХРАНЕНИЯ ГРУЗОВ | 1998 |
|
RU2132296C1 |
| СПОСОБ ОЗОЛЕНИЯ ПРОБ ПИЩЕВЫХ ПРОДУКТОВ | 0 |
|
SU207461A1 |
Авторы
Даты
2025-04-28—Публикация
2024-08-30—Подача