Заявленное изобретение относится к многофункциональным малогабаритным машинам повышенной проходимости, с автономным приводом и дистанционным управление, с возможностью установки агрегатированного сменного рабочего оборудования различного назначения, предназначенного для использования в различных областях народного хозяйства.
Известен четырехколесный квадроцикл повышенной проходимости с полным приводом, включающий в себя: раму, рулевое управление, тормозную систему, сиденье, рычаги и педали управления, колеса, которое установлены на специальных бортовых узлах, внутри которых находятся редуктора и электродвигатели. Бортовые узлы крепятся к раме квадроцикла с помощью вертикально расположенных телескопических направляющих с возможностью перемещения вверх-вниз. Каждый бортовой узел, вместе с установленным на нем колесом, имеет возможность поворачиваться вокруг вертикальной оси. Поворот бортового узла вокруг вертикальной оси производится электродвигателем с помощью зубчатой передачи. Вертикальное перемещение колес квадроцикла осуществляется четырьмя гидроцилиндрами, вверх-вниз относительно корпуса квадроцикла, независимо от других колес. RU 2774967 С1, дата публикации 24.06.2022. Принят за аналог.
Недостатками рассмотренной конструкции являются: отсутствие признаков многофункционального применения по назначению; недостаточно развитая рама, затрудняющая установку габаритного агрегатированного сменного оборудования; ограниченная грузоподъемность; механическая трансмиссия с ограничением по тяговым характеристикам; пилотная система руления и управления движением.
Известен дистанционно управляемый, колесный транспорт, содержащей: колесную платформу, с не менее чем с тремя колесными парами с электроприводом; круговую цепную передачу; поворотный, относительно центральной вертикальной оси колесной платформы, кузов; привод управления; амортизацию колес; ящик для аккумуляторных батарей. RU 2388639 С1, дата публикации 10.05.2010. Принят за аналог.
Недостатками рассмотренной конструкции являются: отсутствие признаков многофункционального применения по назначению; сложная система управления движением транспортного средства; низкая проходимость; не предполагается возможность установки сменного агрегатированного оборудования.
Известно многофункциональное транспортное средство состоит из двигателя, гусеничного движителя, тележки, платформы. Тележка многофункционального шасси состоит из двух полурам, шарнирно соединенных между собою. Поворот осуществляется при помощи гидроцилиндров. Крутящий момент от двигателя через трансмиссию передается на приводной вал, который приводит в действие ведущее колесо, которое через гусеницу соединено с ведомым колесом. Транспортное средство может быть использовано в условиях трудной проходимости, в шахтах для транспортировки грузов или складских помещениях. RU 2641951 С1, дата публикации 23.01.2018. Принят за аналог.
Недостатками рассмотренной конструкции являются: безальтернативный вариант механической трансмиссии с двигателем внутреннего сгорания; отсутствие автономного погрузочно-разгрузочного оборудования; не предполагает возможность установки сменного агрегатированного оборудования; пилотная система руления и управления движением; гусеничный движитель, применение которого не является универсальным.
Известно электрическое подъемно-транспортное устройство-кран-штабелер, управляемое рядом стоящим оператором, состоящее из моста, по которому перемещается тележка, оборудованная полноповоротной колонной, по которой, с помощью привода подъема, вертикально перемещается вилочный захват. ГОСТ 16553-88. Краны-штабелеры. Типы. Принят за аналог.
Недостатками рассмотренной конструкции являются: устройство не предполагает многофункциональное применение, в частности, как транспортного средства повышенной проходимости.
Известен малогабаритный электропогрузчик, включающий четырехколесное шасси с ведущим и управляемым мостами, с рабочим местом водителя, устройством рулевого управления грузоподъемник, с кареткой, снабженной вилочным захватом, гидро- и электропривод, противовес и аккумуляторную батарею и систему управления. RU, 134920 Ш, дата публикации 27.11.2013. Принят за аналог.
Недостатками рассмотренной конструкции являются: устройство не предполагает многофункционального применения, в частности, как транспортное средство повышенной проходимости; противовес и консольно расположенный вилочный захват ограничивают возможность транспортирования груза по пересеченной местности.
Известно самоходное шасси малогабаритного транспортного средства, выполненное с возможностью использования для содержания территорий общественного пользования в жилых городских массивах, в том числе с использованием агрегатированного сменного рабочего оборудования, коммунального назначения, например: подметально-уборочного; снегоочистительного; перевозки сварочного оборудования с газовыми баллонами и другое. Самоходное шасси содержит несущую раму, размещенные на ней двигатель с трансмиссией и приводом на ведущие колеса, подвеску, рабочее место водителя, размещенное в кабине с рулевой колонкой и необходимыми органами управления. Передние колеса выполнены ведущими. RU 2549749 С1, дата публикации, 27.04.2015. Принят за аналог.
Недостатками рассмотренной конструкции являются: безальтернативный вариант механической трансмиссии с двигателем внутреннего сгорания; отсутствие автономного погрузочно-разгрузочного оборудования; пилотная система руления и управления движением.
Известен одноосный тягач МА3-529 В представляющий собой колесную тяговую машину с одной осью, предназначенную для буксировки различных транспортных полуприцепных агрегатов. Полуприцепной агрегат является функциональным продолжением тягача, без которого он не может быть использован. Основные данные: общий вес тягача в снаряженном состоянии без нагрузки - 9000 кг; габариты, ВхШхД-2900х2950х4200 мм; наименьший радиус поворота равен базе автопоезда; силовая передача-механическая коробка передач. Органы управления и контрольно-измерительные приборы расположены в кабине. Для управления двигателем и коробкой отбора мощности вне кабины, в задней части рамы тягача, установлены дублирующие органы управления и контрольно-измерительные приборы. Одноосные тягачи МА3-529: инструкция по эксплуатации. Военное издательство, Москва 1962, с. 23.
Недостатками рассмотренной конструкции являются: область применения тягача в составе автопоезда ограничивается транспортными и рабочими операциями, определенными значительными габаритными и технико-экономическими показателям; пилотное управление; не может быть использована в городском и коммунальном хозяйстве.
Известен одноосный тягач, содержащий раму, с которой связан ведущий мост с колесами и на которой установлены двигатель, рулевое управление с исполнительными гидроцилиндрами связанными с рамой, переднее и заднее сцепное шарнирное устройство, в виде закрепленных на раме кронштейнов, с которыми посредством шарниров с вертикальной осью соединены монтажные суппорты для установки на нем сменного технологического оборудования, причем исполнительные гидроцилиндры имеют возможность поворота без демонтажа относительно рамы в горизонтальной плоскости на 180° вокруг вертикальных осей. Принят за аналог.RU 2053152 С1.
Недостатками рассмотренной конструкции являются: область применения тягача ограничивается транспортными и рабочими операциями определенными значительными габаритными и технико-экономическими показателям; пилотное управление; не может быть использована в городском и коммунальном хозяйстве.
Известна многофункциональная машина с использованием агрегатированного сменного рабочего оборудования коммунального назначения. Шасси включает раму, кабину машиниста, двигатель, механически связанный с редуктором отбора мощности, коробкой передач и передним и задним ведущими мостами. Рама выполнена шарнирно сочлененной. Все перечисленные агрегаты размещены на передней полу раме, а кабина выдвинута вперед относительно оси переднего моста, с возможностью откидывания вперед, что улучшает показатели обзорности, маневренности и ремонтопригодности. RU 2169095 С1, дата публикации 20.06. 2001. Принят за прототип.
Недостатками рассмотренной конструкции являются: безальтернативный вариант механической трансмиссии с двигателем внутреннего сгорания; отсутствие автономного погрузочно-разгрузочного оборудования; пилотная система руления и управления движением; предполагает перемещение в пределах городских территорий с отсутствием востребованного качества повышенной проходимости; шарнирно сочлененная рама не обеспечивает, в полной мере, возможности маневрирования.
Задачей, на решение которой направлено заявленное техническое решение, является реализация многофункциональной малогабаритной машины повышенной проходимости, с дистанционным управлением, состоящей из одноосного энергетического модуля, состоящего из вертикальной расположенной полурамы, с установленным на ней мостом с колесами и энергетической установкой, а также, грузового модуля, состоящего из горизонтальной расположенной, «П»-образной в плане, полурамы, по бокам которой устанавливаются полумосты с колесами, при этом, сочленение полурам выполняется посредством шарнирного соединения, обеспечивающего угловое перемещение полурам в вертикальном и горизонтальном направлениях, при этом, относительное угловое перемещение полурам в горизонтальном направлении является управляемым, в пределах ±90°, посредством привода, а в вертикальном направлении, на угол, величина которого ограничивается пружинной подвеской с встроенным демпферами, при этом, в «П»-образном в плане пространстве полурамы грузового модуля, в пределах колесной базы машины, устанавливается грузовая платформа, каретка которой соединена с приводом и перемещается по-средствам опор по направляющим, установленными в вертикальном направлении на «П»-образной полураме. Установка грузовая платформа в пределах колесной базы машины, обеспечивает устойчивое положение машины при выполнении грузовых операций и при транспортирование груза по пересеченной местности, кроме того, на полурамах и в их пространствах, может быть установлено агрегатированное оборудование различного назначения. В том числе, установка оборудования коммунального назначения: кузов, самосвальная платформа, роторный снегоуборщик, вакуумный уборщик. В том числе, установка оборудования сельскохозяйственного назначения: косилка с бункером накопителем; опрыскиватель с емкостью для воды или реагентов. При это, установка на заявленной машине системы дистанционного управление, позволяет реализовать ее логистические функции, как беспилотного транспортного средства повышенной проходимости, используемого для транспортирования груза, по пересеченной местности, с автономным обеспечением операций его загрузки/выгрузки. Область применения: фермерские хозяйства, лесные хозяйства, садоводческие питомники, коммунальные хозяйства, складское хозяйство, внутрицеховой транспорт и т.п.
Решение данной задачи достигается за счет того, что, заявленная машина, состоящая из вертикально и горизонтально расположенных полурам, сочлененных шарнирным соединением, допускающим их относительное перемещения в горизонтальном направлении на угол ±90°, а в вертикальном направлении, на угол, величина которого ограничивается пружинной подвеской с встроенным демпферами, установленной между кареткой шарнирного соединения и вертикально расположенной полу рамой, в которой установлен ведущий мост, с колесами и дифференциалом, соединенным муфтой с механическим редуктором, соединенным с приводным двигателем, при чем, при включенной муфте, машина функционирует как тягово-транспортное средство, а при ее выключение, машина функционирует в режиме прицепного транспортного модуля, при чем, угловое перемещение вертикальной полурамы, с установленным в ней мостом, на угол ±90° обеспечивается поворотным устройством, с линейным или вращательным приводом, чем обеспечивается возможность разворота машины в пределах своей база, кроме того, угловое перемещение полурамы расположенной в вертикальном направлении, с установленным в ней мостом, на угол ±90°, обеспечивает возможность установки колес моста поперек колеи, что обеспечивает возможность движения передней части машины поперек колеи с разворотом машины, и тем самым повышенную проходимость машины, кроме того, в «П»-образном, в плане, пространстве полурамы, установлена, в пределах базы машины, каретка с грузовой платформой, с возможностью перемещения в вертикальном направление в направляющих посредствам роликовых опор и фиксацией своего вертикального положения приводом, что улучшает условия перемещения груза и удержания его в транспортном положение, при передвижении машины по пересеченной местности, кроме того, заявленная машина может быть оборудована системой электропривода, автономное функционирование которой обеспечивается, периодически заряжаемыми, аккумуляторами, кроме того, заявленная машина может быть оборудована гидростатической системой, автономное функционирование которой обеспечивается, гидростатической насосной станцией, механически связанной с приводным двигателем, кроме того, в качестве приводного двигателя может быть использован двигатель внутреннего сгорания, соединенный с генератором, или электродвигатель, соединенный с электрической системой заявленной машины, кроме того, по крайней мере, одна из полу рама оборудована сцепным устройством, кроме того, машина может быть оборудована агрегатированным оборудованием различного назначения, кроме того, управление работой агрегатов и систем машины, обеспечивается блоком управления, являющимся также приемником радиосигналов управления, генерируемых пультом управления, находящимся у оператора, а пространства в передней части и внутри заявленной машины, используется для установки сменного агрегатированного оборудования.
Технический результат изобретения, обеспечивается приведенной совокупностью признаков и определяется эффективностью использования заявленной машины, как многофункциональной малогабаритной машины повышенной проходимости, с дистанционным управлением и автономным приводом, с возможностью установки агрегатированного сменного рабочего оборудования различного назначения. Кроме того, в заявленной машине реализуются качества обзорности, маневренности и ремонтопригодности, с возможностью автономной загрузка/выгрузка и транспортировка по пересеченной местности груза. Заявленные качества предопределяют использование заявленной машины в различных областях народного хозяйства: фермерские хозяйства, лесные хозяйства, садоводческие питомники, коммунальные хозяйства, складское хозяйство, внутрицеховой транспорт и т.д.
Для достижения технического результата заявленная машина выполняется из одноосного энергетического модуля, состоящего из расположенной в вертикальном направлении, передней полурамы, с установленным на ней мостом с колесами и энергетической установкой, и грузового модуля, состоящего из расположенной в горизонтальном направлении, «П»-образной, в плане, полурамы, по бокам которой установлены полумосты с колесами, при этом, сочленение полурам выполнено посредством шарнирного соединения, выполненного в виде каретки шарнирного соединения, с перпендикулярно установленными на ней, в вертикальном и горизонтальном направлениях, простых шарниров, при этом, относительной угловое перемещение полурам в горизонтальном направлении, обеспечивается линейным или круговым приводом, а в «П»-образном, в плане, пространстве полу рамы грузового модуля, в пределах колесной базы машины, установлена грузовая платформа, что обеспечивает выполнение грузовых операций без использования противовеса, что упрощает конструкцию машины, а также обеспечивает ее устойчивое положение при транспортировании груза по пересеченной местности. При этом, грузовая платформа устанавливается с приводом перемещения. При этом, величина угла в вертикальной плоскости ограничивается пружинной подвеской с встроенным демпфером, установленной между кареткой шарнирного соединения и передней полурамой, расположенной в вертикальном направлении. При этом, в качестве энергетической установки используется электродвигатель. При этом, в качестве энергетической установки используется блок аккумуляторов, а в ходовых колесах устанавливаются приводные электродвигатели, а для автономного функционирования электроприводов, машина оборудуется системой внешней подзарядки аккумуляторов.
При этом, в качестве энергетической установки используется двигатель внутреннего сгорания, с установленным на нем генератором, соединенный с механической коробкой, отключаемой муфтой и дифференциалом моста.
При этом, в качестве энергетической установки используется комбинированная силовая установка состоящая: из двигателя внутреннего сгорания с установленным на нем генератором, соединенного с механической коробкой, отключаемой муфтой и дифференциалом моста, а в ходовых колесах установливаются приводные электродвигатели. При этом, в качестве энергетической установки используется комбинированная силовая установка, состоящая из двигателя внутреннего сгорания, соединенного с механической коробкой и насосной станцией, состоящей, по крайней мере, из одного гидравлического насоса, а в ходовых колесах установливаются приводные гидравлические двигатели. При этом, угловое перемещение передней полурамы, установленной в вертикальном направлении, с установленным в ее нижней части мостом, обеспечивающее изменение направления движения машины, обеспечивается приводом перемещения каретки шарнирного соединения, выполненным в виде передачи поступательного движения, состоящей, по крайней мере, из одного линейного двигателя, выполненного в виде актуатора или гидравлического цилиндра.
При этом, угловое перемещение передней полурамы, установленной в вертикальном направлении, с установленным в ее нижней части мостом, обеспечивающее изменение направления движения машины, обеспечивается приводом перемещения каретки шарнирного соединения, выполненным в виде передачи вращательного движения, выполненного в виде зубчатой или цепной передачи с электрическим или гидростатическим приводом.
При этом, грузовая платформа, для транспортировки грузов установленных на поддонах, выполняется в виде вилочного подъемника.
При этом, перемещение грузовой платформы и удержание ее в транспортном положение обеспечивается приводом, выполненного в виде тали с электрическим или гидростатическим приводами, устанавливаемой на траверсе «П»-образной, в плане, полурамы. При этом, перемещение грузовой платформы и удержание ее в транспортном положение обеспечивается линейным приводом, выполненным в виде актуатора или гидравлического цилиндра, установленные между кареткой грузовой платформы и траверсой «П»-образной в плане полурамы.
При этом, на полурамах, и в их пространствах, может быть установлено агрегатированное оборудование различного назначения, для установки которых используются крепежные системы известной конструкции, устанавливаемые на полурамах машины. При этом, управление работой приводами и агрегатированного оборудования, обеспечивается блоком управления, являющимся также приемником радиосигналов управления, генерируемых пультом управления, находящимся у оператора.
Изобретение поясняется представленным на фигурах примерами устройства, на которых:
Фиг. 1 изображен вид сверху заявленной машины, состоящим из двух полурам, вертикальной полурамы 1 и «П»-образной полурамы 2, соединенных шарнирным устройством, состоящим из каретки шарнирного устройства 5, и установленных на ней простых шарниров, допускающим перемещения в горизонтальной плоскости, на угол ±90°, относительно вертикальной оси 3, и перемещения в вертикальной плоскости, относительно установленной в нем горизонтальной оси, на угла величина которого ограниченна пружинной подвеской с встроенным демпфером 4, установленной между кареткой шарнирного устройства 5 и вертикальной полурамой 1. В полураме 1, установлен мост 6, с дифференциалом 7 и колесами 8, установленными на тормозных барабанах, приводимых в движение приводным двигателем 9. Угловое перемещение полурамы 1 обеспечивается, по крайней мере, одним линейным двигателем 10, устанавливаемым между кареткой шарнирного соединения 5 и «П»-образной полурамой 2. По бокам «П»-образной полурамы 2 установлены полумосты 11 с колесами 12. В промежутке «П»-образной полурамой, установлена грузовая платформа 13, которая может быть выполнен в форме вил, перемещение и удержание которой в транспортном положение обеспечивается приводом 14, выполненного в виде тали, установленной на траверсе 15 «П»-образной полурамы 2 или линейного двигателя. Автономное функционирование электроприводов заявленной машины обеспечивается, периодически заряжаемыми, посредством системы внешней зарядки, аккумуляторами 16, управление работой машины обеспечивается блоком управления, являющимся также приемником радиосигналов управления, генерируемых пультом управления, находящимся у оператора. Пространства 17,18 используется для установки сменного агрегатированного оборудования.
Фиг. 2 изображен вид спереди на переднюю, установленную в вертикальном направлении, полураму 1, в нижней части которой установлен мост 6, с дифференциалом 7 и колесами 8, а ее верхняя часть сопряжена с простым шарниром 19, установленным, в перпендикулярной полураме 1 плоскости, в нижней части каретки шарнирного соединения 5, соединенной посредствам простого шарнира 3, расположенным в вертикальном направлении, с полурамой 2, при этом, между кареткой шарнирного соединения 5 и, установленной в вертикальном направлении, полурамой 1, установлена пружинная подвеска 4, с гидравлическими демпферами.
Фиг. 3 изображен вид сверху заявленной машины, с указанием рассмотренных на фиг. 1 элементов заявленной машины 1-18, с вариантом электропривода ее колес, по крайней мере, двумя, приводными электродвигателями 20, парно установленных на колесах 8, 12.
Фиг. 4 изображен вид сверху заявленной машины, с указанием рассмотренных на фиг. 1, 2, 3 элементов заявленной машины 1-20, с вариантом гибридной силовой установки, состоящей из двигателя внутреннего сгорания 21 с генератором 22, включенного в электрическую систему заявленной машины, с вариантами: механический привода колес, от двигателя внутреннего сгорания, соединенного с дифференциалом 7 через механическую коробку 23; электропривода ее колес, по крайней мере двумя, приводными электродвигателями 20, парно установленных на колесах 8, 12.
Фиг. 5 изображен вид сверху заявленной машины, с указанием рассмотренных на фиг. 1,2,3,5 элементов заявленной машины 1-20,с вариантом гибридной силовой установки, состоящей из двигателя внутреннего сгорания 21, гидростатической насосной станции, состоящей из, по край мере одного, гидростатического насоса 24, а также элементов гидростатического привода, включенных в гидравлическую систему заявленной машины: гидростатических моторов 25, обеспечивающего вращение колес 8,12; гидравлических цилиндров 26, обеспечивающих управления углом поворота кареткой шарнирного устройства 5, и тем самым управление углом поворота передней полурамы 1; гидрофи-цированной таль 27, обеспечивающей подъем грузовой платформы.
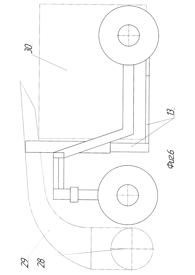
Фиг. 6 изображен вид сбоку заявленной машины, с указанием рассмотренной на фиг. 1 грузовой платформы 13, с вариантом установки роторной снегоуборочной системы с ротором 28 направляющим коробом 29 и накопительным бункером 30.
Фиг. 7 изображен вид сбоку заявленной машины, с указанием рассмотренной на фиг. 1, грузовой платформы 13. с вариантом установки вакуумной уборочной системы состоящей из щеток 31, вакуумных рукавов 32 и вакуумной емкости 33.
Согласно изобретения, технический результат достигается при функционирование заявленной машины и обеспечивается следующим образом.
Во всех вариантах движения, возможность изменения взаимного расположения полурам 1, 2, в горизонтальном и вертикальном направлениях, при движении и выполнение маневров заявленной машины, обеспечивается шарнирным соединением, состоящим из перпендикулярно установленных, на противоположных сторонах перемещаемой приводом каретки шарнирного соединения 5, простых шарниров 3, 19. При это, привод перемещения каретки шарнирного соединения, выполненный в виде передачи поступательного движения, состоит, по крайней мере, из одного линейного двигателя, выполненного в виде актуатора или гидравлического цилиндра, а привод перемещения каретки шарнирного соединения выполненный в виде передачи вращательного движения, выполняется в виде зубчатой или цепной передачи с электрическим или гидростатическим приводами. Устойчивое относительное положение полурам 1, 2, при движение заявленной машины по пересеченной местности и уменьшение возникающих при этом динамических нагрузок, обеспечивается пружинное подвеской 4 с встроенным гидравлическим демпфером. Управление движением машины определяется последовательными сигналами радиоуправления, поступающими от пульта оператора на блок управления машины. В варианте электропривода от электрической силовой установки, включение электродвигателя 9, в выбранном направлении вращения, через дифференциал 7, обеспечивает вращение колес 8 в выбранном направлении движения заявленной машины. Остановка заявленной машины обеспечивается при прерывании управляющего сигнала на вращение электродвигателя 9 и включением барабанных тормозов.
В варианте электропривода от приводных электродвигателей 20, установленных в колесах машины, включение приводных электродвигателей 20, в выбранном направлении вращения, обеспечивает вращение колес 8 в выбранном направлении движения заявленной машины. Это обеспечивает улучшение тяговых свойств и условий маневрирования машины. Остановка заявленной машины обеспечивается при прерывании управляющего сигнала на вращение приводных электродвигателей 20 и включением барабанных тормозов. В варианте комбинированного, электромеханического привода, состоящего из механического привода от двигателя внутреннего сгорания и системы электропривода, возможны два варианта обеспечения движения заявляемой машины. В варианте механического привода, двигатель внутреннего сгорания 21, подключен к дифференциалу 7 через механическую коробку 23, переключениями в которой, посредствам электрической системы управления, устанавливается направление движения заявленной машины. Остановка заявленной машины обеспечивается при прерывании управляющего сигнала, и включении барабанных тормозов. В варианте электрического привода, двигатель внутреннего сгорания 21 отключен от дифференциала 7, посредством механической коробки 23, а направление движения заявленной машины, устанавливается управлением направления вращения приводных электродвигателей 20, установленных в колесах 8, 12. Остановка заявленной машины обеспечивается при прерывании управляющего сигнала, и включении барабанных тормозов. Двигатель внутреннего сгорания 19, с установленным в нем генератором, обеспечивает автономную зарядку аккумуляторов.
В вариантах заявленной машины с электроприводами, выбор направления движения заявляемой машины определяется включением-выключением линейных двигателей 10, выполненных в виде актуаторов, направление движения которых, разворачивает каретку шарнирного соединения 5 и полу раму 1 установленную в вертикальном направлении, в пределах +/- 90°, с установленным мостом 6 и колесами 8 в требуемое направление движения заявляемой машины.
В вариантах заявленной машины с электроприводами, автономная загрузка/выгрузка груза, и удержание его в транспортном положение при его транспортировке по пересеченной местности, обеспечивается грузовой платформой 13, расположенной в пределах базы машины. Вертикальной перемежение которой выполняется приводом выполненным в виде тали 14 с электроприводом, установленной на траверсе 15 «П»-образной полу рамы 2, или выполняется линейны двигателем, выполненным в виде актуатора, установленного между траверсой 15 «П»-образной полу рамы 2 и кареткой грузовой платформы. Управление механизмами подъема обеспечивается последовательными радио сигналами с пульта управления оператора.
В варианте гидростатического привода, энергетическая установки, состоит из двигателя внутреннего сгорания 21, и гидростатической насосной станции, состоящей из, по край мере одного, гидростатического насоса 24, а также элементов гидростатического привода, включенных в гидравлическую систему заявленной машины и гидростатических моторов 25, обеспечивающего вращение колес 8, 12. Направление движения заявленной машины изменяется, управляемым воздействием линейных двигателей, выполненных в виде гидравлических цилиндров 26, на каретку шарнирного соединения 5 разворачивая ее и полураму 1 установленную в вертикальном направлении в требуемом направлении. Автономная загрузка/выгрузка груза на поддоне, перемещение груза и удержание его в транспортном положение при его транспортировке по пересеченной местности, обеспечивается грузовой платформой 13, выполненной в виде вилочного подъемником 13, вертикальной перемежение которого обеспечивается гидростатическим приводом 27, известной конструкции гидрофицированной тали, установленной на траверсе 15 «П»-образной полу рамы 2, или выполняется линейны двигателем, выполненным в виде гидравлического цилиндра, установленного между траверсой 15 «П»-образной полу рамы 2 и кареткой грузовой платформы.
Установка в пространства 17, 18 для сменного агрегатированного оборудования, оборудования коммунального назначения, в частности: снегоуборочной системы с ротором 28, направляющим коробом 29, накопительным бункером 30; вакуумной уборочной системы, состоящей из щеток 31, вакуумных рукавов 32 и вакуумной емкости 33, обеспечивает использования заявленной машины для уборки снега и мусора, в стесненных условиях дворовых территорий.
Установка в пространства 17, 18 для сменного агрегатированного оборудования, оборудования сельскохозяйственного назначения, в частности: косилки с бункером накопителем; опрыскивателя с емкостью для воды или реагентов, обеспечивает использования заявленной машины в условиях фермерских хозяйств.
Повышенная проходимость заявленной машины, в частности преодоление глубокой колеи, обеспечивается возможностью разворота моста 6 приводных колес 8 на угол в пределах +/- 90°, что предопределяет выбор благоприятного направления движения, в частности движение поперек колеи. При этом, в отличие от известного способа, разворота колес относительно моста закрепленного в жесткой раме, управляемый разворот моста 6 обеспечивает выход, по крайней мере, одного из ходовых колес 8 из колеи, что увеличивает проходимость заявленной машины.
| название | год | авторы | номер документа |
|---|---|---|---|
| Тяговое средство | 1985 |
|
SU1263572A1 |
| Форвардер | 2021 |
|
RU2761556C1 |
| РОТОРНЫЙ ТРАНШЕЙНЫЙ ЭКСКАВАТОР | 1992 |
|
RU2034961C1 |
| Мини-трактор "СТАВРОПОЛЕЦ" | 2024 |
|
RU2834933C1 |
| ТРАНСПОРТНОЕ СРЕДСТВО | 2001 |
|
RU2226474C2 |
| ТРАНСПОРТНОЕ СРЕДСТВО | 1991 |
|
RU2033362C1 |
| Универсальное колесное шасси для ремонта и содержания автомобильных дорог | 1988 |
|
SU1539118A1 |
| САМОХОДНОЕ ШАССИ МАЛОГАБАРИТНОГО ТРАНСПОРТНОГО СРЕДСТВА | 2013 |
|
RU2549749C1 |
| Машина коммунальная малогабаритная | 2015 |
|
RU2614876C1 |
| СЕЛЬСКОХОЗЯЙСТВЕННОЕ ТЯГОВО-ТРАНСПОРТНОЕ И ЭНЕРГЕТИЧЕСКОЕ СРЕДСТВО | 2012 |
|
RU2499379C2 |
Изобретение относится к многофункциональным малогабаритным машинам повышенной проходимости. Многофункциональная машина содержит раму, состоящую из двух шарнирно сочлененных полурам, установленных на колесах с возможностью их относительного поворота приводом. В одной из полурам установлена силовая установка с генератором с возможностью ее механического соединения с колесами полурамы. Шарнирное соединение полурам выполнено посредствам двух простых шарниров, перпендикулярно установленных на противоположных сторонах перемещаемой приводом в круговом направлении каретки шарнирного соединения, образующих единую конструкцию. Горизонтально расположенный простой шарнир соединен с верхней частью, расположенной в вертикальном направлении, передней полурамы, в нижней части которой установлен мост с ходовыми колесами. Вертикально расположенный простой шарнир соединен с траверсой задней «П»-образной полурамы, на боковых сторонах которой раздельно установлены полумосты с ходовыми колесами. В «П»-образном пространстве полурамы установлена грузовая платформа с приводом перемещения. Достигается возможность создания многофункциональной малогабаритной машины повышенной проходимости с дистанционным управлением. 15 з.п. ф-лы, 7 ил.
1. Многофункциональная машина с возможностью использования агрегатированного сменного рабочего оборудования различного назначения, содержащая раму, состоящую из двух шарнирно сочлененных полурам, установленных на колесах с возможностью их относительного поворота приводом, с установкой в одной из полурам силовой установки с генератором, с возможностью ее механического соединения с колесами полурамы, отличающаяся тем, что шарнирное соединение полурам выполнено посредством двух перпендикулярно установленных на противоположных сторонах перемещаемой приводом в круговом направлении каретки шарнирного соединения простых шарниров, образующих единую конструкцию, при этом горизонтально расположенный простой шарнир соединен с верхней частью, расположенной в вертикальном направлении, передней полурамы, в нижней части которой установлен мост с ходовыми колесами, а вертикально расположенный простой шарнир соединен с траверсой задней, расположенной в горизонтальном направлении, «П»-образной в плане полурамы, на боковых сторонах которой раздельно установлены полумосты с ходовыми колесами, а в ее «П»-образном пространстве, в пределах базы машины, установлена грузовая платформа с приводом перемещения.
2. Многофункциональная машина по п.1, отличающаяся тем, что управление работой приводами и агрегатированным оборудованием обеспечивается блоком управления, являющимся также приемником радиосигналов управления, генерируемых пультом управления, находящимся у оператора.
3. Многофункциональная машина по п.1, отличающаяся тем, что между передней полурамой и кареткой шарнирного соединения установлена пружинная подвеска с встроенным демпфером.
4. Многофункциональная машина по п.1, отличающаяся тем, что в качестве силовой установки используется электродвигатель, а машина оборудована системой внешней подзарядки аккумуляторов.
5. Многофункциональная машина по п.1, отличающаяся тем, в ходовых колесах устанавливаются приводные электродвигатели, а машина оборудована системой внешней подзарядки аккумуляторов.
6. Многофункциональная машина по п.1, отличающаяся тем, что в качестве силовой установки используется двигатель внутреннего сгорания с установленным на нем генератором, соединенный с механической коробкой, отключаемой муфтой и дифференциалом моста.
7. Многофункциональная машина по п.1, отличающаяся тем, что силовая установка состоит из двигателя внутреннего сгорания с установленным на нем генератором, соединенного с механической коробкой, отключаемой муфтой и дифференциалом моста, а в ходовых колесах установлены приводные электродвигатели.
8. Многофункциональная машина по п.1, отличающаяся тем, что силовая установка состоит из двигателя внутреннего сгорания, соединенного с механической коробкой и насосной станцией, состоящей, по крайней мере, из одного гидравлического насоса, а в ходовых колесах установлены приводные гидравлические двигатели.
9. Многофункциональная машина по п.1, отличающаяся тем, что угловое перемещение передней полурамы, с установленным в ней мостом с изменением направления движения машины, обеспечивается приводом перемещения каретки шарнирного соединения, выполненным в виде передачи поступательного движения.
10. Многофункциональная машина по пп.1, 9, отличающаяся тем, что передача поступательного движения выполнена, по крайней мере, из одного линейного двигателя, выполненного в виде актуатора или гидравлического цилиндра.
11. Многофункциональная машина по п.1, отличающаяся тем, что угловое перемещение передней полурамы, с установленным в ней мостом с изменением направления движения машины, обеспечивается приводом перемещения каретки шарнирного соединения, выполненным в виде передачи вращательного движения.
12. Многофункциональная машина по пп.1, 11, отличающаяся тем, что передача вращательного движения выполнена в виде зубчатой или цепной передачи.
13. Многофункциональная машина по п.1, отличающаяся тем, что приводом перемещения грузовой платформы является таль, в исполнении с электрическим или гидравлическим приводами, установленная на траверсе «П»-образной в плане полурамы.
14. Многофункциональная машина по п.1, отличающаяся тем, что приводом перемещения грузовой платформы является линейный двигатель, выполненный в виде актуатора или гидравлического цилиндра, установленный между кареткой грузовой платформы и траверсой «П»-образной в плане полурамы.
15. Многофункциональная машина по п.1, отличающаяся тем, что машина оборудована системой внешней подзарядки аккумуляторов.
16. Многофункциональная машина по п.1, отличающаяся тем, что для установки сменного агрегатированного оборудования используются пространства в передней и внутренней частях заявленной машины, а для их установки крепежные системы известной конструкции, устанавливаемые на полурамах машины.
| ШАССИ МНОГОФУНКЦИОНАЛЬНОЙ МАШИНЫ ДЛЯ АГРЕГАТИРОВАНИЯ СО СМЕННЫМ РАБОЧИМ ОБОРУДОВАНИЕМ КОММУНАЛЬНОГО НАЗНАЧЕНИЯ | 1999 |
|
RU2169095C1 |
| ЗАЩИТНОЕ УСТРОЙСТВО ДЛЯ ШАССИ С ШАРНИРНО СОЧЛЕНЕННОЙ РАМОЙ | 2002 |
|
RU2216453C1 |
| МНОГОФУНКЦИОНАЛЬНАЯ МАШИНА КОММУНАЛЬНОГО НАЗНАЧЕНИЯ | 2006 |
|
RU2312035C1 |
| СПОСОБ ПОЛУЧЕНИЯ КРИСТАЛЛОВ ЛЕКАРСТВЕННОГО СРЕДСТВА ЖЕЛАЕМОГО РАСПРЕДЕЛЕНИЯ РАЗМЕРА И МОРФОЛОГИИ | 2020 |
|
RU2833561C2 |
| US 8240409 B2, 14.08.2012. | |||
Авторы
Даты
2025-05-07—Публикация
2024-07-05—Подача