Область техники
Изобретение относится к судостроению, а именно к движительным устройствам в частности к движительным комплексам типа винт-насадка объектов движущихся в водной среде, и может быть использовано в качестве движителя надводного судна или для перемещения подводных объектов, путем образования струи и создания движущей продольной силы.
Уровень техники
Известны движительные комплексы судов, содержащие гребные винты, установленные с перекрытием дисков винтов, что позволяет повысить гидродинамический КПД таких комплексов.
Однако такие движительные комплексы недостаточно эффективны при высоких значениях коэффициента нагрузки по упору.
Известен также движительный комплекс типа винты в насадке, содержащий два или четыре гребных винта, причем между гребными винтами расположена кормовая часть судна (патент №2101210, МПК B63G 8/00 (1995.01), B63G 8/08 (1995.01), Опубликовано: 10.01.1998) или (патент №2681415, МПК B63G 8/00 (2006.01), Опубликовано: 06.03.2019 Бюл. №7) в котором обтекаемый корпус содержит группу из трех или четырех кормовых маршевых реверсивных водометных движителей. Входные и выходные патрубки движителей жестко закреплены в корпусе аппарата. При этом входные отверстия входных патрубков маршевых движителей выполнены в виде единой кольцевой щели по периметру корпуса аппарата в поперечном сечении, а в выходных отверстиях выходных патрубков кормовых маршевых водометных движителей установлены направляющие пластины.
Однако такая конструкция приводит к росту габаритов комплекса и снижению его эффективности из-за невозможности снижения потерь с окружными вызванными скоростями, но такая конструкция позволяет создавать разный упор на дисках винтов и повысить управляемость. Возникает необходимость дополнительно ставить группу носовых поперечных движителей для повышения управляемости.
Наиболее близким к предлагаемому изобретению, по своей технической сущности, является движительный комплекс двухвального судна (авт.св. СССР №846395, опубл. 1975), содержащий гребные винты, диски которых размещены в одной плоскости и установлены в насадке с перекрытием дисков винтов, за счет чего достигается повышение гидравлического КПД и уменьшение поперечных габаритов движительного комплекса-прототип.
Недостатком размещения дисков винтов в одной плоскости с перекрытием дисков винтов с количеством лопастей винтов более 2 не позволяет создавать достаточный упор при высоких нагрузках на малых скоростях вращения винтов в режиме, например, экономического хода с высоким гидравлическим КПД.
Недостатком данной конструкции является низкое значение тяги и пропульсивного коэффициента полезного действия, а также склонность к кавитации в периферийной области лопасти. На высокой скорости поток воды, перемещаемый центробежной силой на большой скорости, ударяется во внутреннюю стенку кольцевой насадки и создает торможение вращающему моменту винта.
Раскрытие сущности изобретения
Задача изобретения-создание движительного комплекса типа винт-насадка для объекта находящегося в воной среде с высоким гидравлическим КПД при высоких нагрузках на всех режимах работы на прямых курсах, для обеспечения максимального упора на всех скоростях движения при минимальных габаритах движительного комплекса.
Технический результат от использования предложенного изобретения - увеличение упора и пропульсивного коэффициента полезного действия гребных винтов с лопастями петлевидной формы, повышение энергетической эффективности на всех скоростях движения.
Поставленная задача достигается тем, что движительный комплекс объекта находящегося и движущегося в водной среде, содержащий гребные винты и насадку, может иметь от 2 до 5 гребных винтов, ступицы которых расположены в одной плоскости на одной линии, на кривой или в вершинах прямоугольника.
В движительном комплексе количество гребных винтов может быть от 2 до 5, торцы ступиц которых расположены в одной плоскости на одной линии, на кривой, при этом гребные винты выполнены попеременно правого и левого вращения, с лопастями петлевидной формы, образующие два дисковых пространства, объединенных на торце лопасти перемычкой в форме части насадки, при этом парные лопасти в своих дисковых пространствах смещены друг относительно друга на половину ширины лопасти, и имеющие двусторонний сегментный профиль лопастей характеризующийся неизменностью геометрии формы профиля лопасти по всей длине криволинейной огибающей профиля лопасти, симметричным исполнением ширины лопасти относительно средней линии лопасти, насадка винта смещена и располагается между корпусом судна или подводного объекта перед первым диском лопастей петлевых лопастей гребного винта, содержит лопасти спрямляющего аппарата и в выходном сечении не выходит за границы дискового пространства каждого из винтов, при этом валы гребных винтов движительного комплекса подводного объекта могут располагаться под разными углами, при этом оси валов могут пересекаться до и после общего дискового пространства гребных винтов.
Стойки крепления насадки имеют угол установки для компенсации закручивания потока гребными винтами, который определяется расчетным путем в зависимости от скорости вращения гребного винта.
Лопасти петлевидных гребных винтов имеют двусторонний сегментный профиль, который позволяет обеспечить неизменность геометрии формы профиля лопасти по всей длине криволинейной огибающей профиля лопасти для создания благоприятных условий обтекания профиля потоком и минимизации кавитации и потерь создаваемого давления.
Петлевидная форма позволяет снизить кавитационные явления при работе гребного винта, а форма и расположение криволинейной огибающей профиля лопасти гребного винта снижает потери и способствуют улучшению гидродинамических характеристик, и, как следствие, повышению тяги и пропульсивного КПД.
Описанная сложная винтовая поверхность с переменной относительной шириной и переменным разнесением передней и задней части лопасти по ее высоте обеспечивает улучшение гидродинамических характеристик гребного винта. Две засасывающие и две нагнетающие поверхности одной лопасти гребного винта обеспечивают повышение тяговых характеристик винта.
Возможно применение гребных винтов с параметрами приведенными для конструкции, описанной в патенте №2780771 (МПК В63Н 1/00, опубликовано 30.09.2022, бюл. №28).
Преимущество движителя с винтами фиксированного шага является наивысший КПД для движителей объектов в водной среде. Гребные винта имеют относительно низкую стоимость изготовления, они проще в эксплуатации и обслуживании. Гребные винты с постоянным шагом надежны и долговечны.
Для создания достаточного упора движительного комплекса объекта находящегося в водной среде, например, мелкосидящего судна необходима определенная площадь диска винта. При малой осадке это возможно только с помощью увеличения количества гребных винтов. Но с увеличением количества винтов увеличивается ширина судна. Пересечение дискового пространства нескольких винтов позволяет создать упор при малой ширине судна и повысить гидравлический КПД комплекса, состоящего из нескольких гребных винтов малого диаметра. Мощность двигателя делится на количество гребных винтов.
Для объекта с движительным комплексом погруженного в водную среду, при работе гребных винтов кроме закручивания, имеет место сужение потока воды, что приводит к некоторому уменьшению КПД винта. Для устранения этого явления применяют направляющие насадки. Насадка представляет собой кольцо, в котором вращается гребной винт. Сечение насадки имеет профиль крыла, обращенного выпуклой поверхностью к винту.
Насадка повышает коэффициент пропульсивности гребного винта. Винты с насадками успешно используются при необходимости создания дополнительного упора на малых скоростях хода.
У гребного винта, работающего в насадке, осевые скорости потока воды возрастают в самой насадке, в силу чего скорость обтекания гребного винта с насадкой значительно выше, чем без нее.
Так как часть упора, требуемого от движительной установки, создается в насадке, а скорость натекания воды на винт повышается, то насадка оказывает на него разгружающее действие. Это приводит к повышению КПД винта, благодаря чему при той же мощности судовой энергетической установки создается больший упор движителя.
Направляющая насадка выравнивает поток воды, поступающий к гребному винту, устраняет косое обтекание винта водой, улучшает его работу на волнении.
При противоположном направлении вращения гребных винтов и схождении линий валов винтов за дисковым пространством, сужение потока воды происходит в противоположных направлениях при этом потоки объединяются, что усиливает эффект увеличения упора, поскольку они складываются в единый поток.
В случае схождения линий валов винтов до дискового пространства, происходит расхождение суживающихся потоков от каждого гребного винта, что увеличивает площадь упора движительного комплекса.
При наличии 4 винтов на одной линии, два средних винта складывают потоки, а два крайних потока расходятся, что увеличивает скорость потока и упор в центре движительного комплекса.
При наличии 4 винтов в узлах четырехугольника на кормовой оконечности веретенообразного подводного объекта, выгоднее складывать сужающиеся потоки от гребных винтов.
Наличие насадки на судах, плавающих на мелководье, выравнивает потери воды за кормой, что уменьшает размывание грунта дна или стенок канала от работы гребного винта.
При наличии нескольких гребных винтов объединенных в единое дисковое пространство возникает необходимость в насадке, огибающей дисковое пространство винтов с возможно малым - не более 0,5% от диаметра гребного винта зазором между концами лопастей и телом насадки.
Минимальная величина зазора принята равной 0,1% от диаметра D винта в виду того, что при меньшем ее значении возрастает величина гидравлического сопротивления, что ведет к увеличению энергозатрат.
При большем ее значении возрастает величина гидравлического сопротивления от увеличения трения в зазоре, что также ведет к увеличению энергозатрат, поэтому принято не более 0,5% от диаметра гребного винта зазором между концами лопастей и телом насадки. Величина зазора может определяться размерами и конструктивными особенностями гребных винтов и насадки.
Предложенный движительный комплекс типа винт-насадка для подводного объекта с компактным объединенным дисковым пространством взаимно-пересекающихся гребных винтов на параллельных валах с петлевидными лопастями позволяет создать движительный комплекс с высоким гидравлическим КПД при высоких нагрузках на всех режимах работы на прямых курсах с максимальным упором на всех скоростях движения.
Технический результат от использования предложенного изобретения - увеличение упора и пропульсивного коэффициента полезного действия гребного винта, повышение энергетической эффективности на всех скоростях движения.
Краткое описание чертежей
Для пояснения сущности предлагаемого изобретения
на фиг.1 - представлен движительный комплекс, гребные винты которого имеют лопасти петлевидной формы.
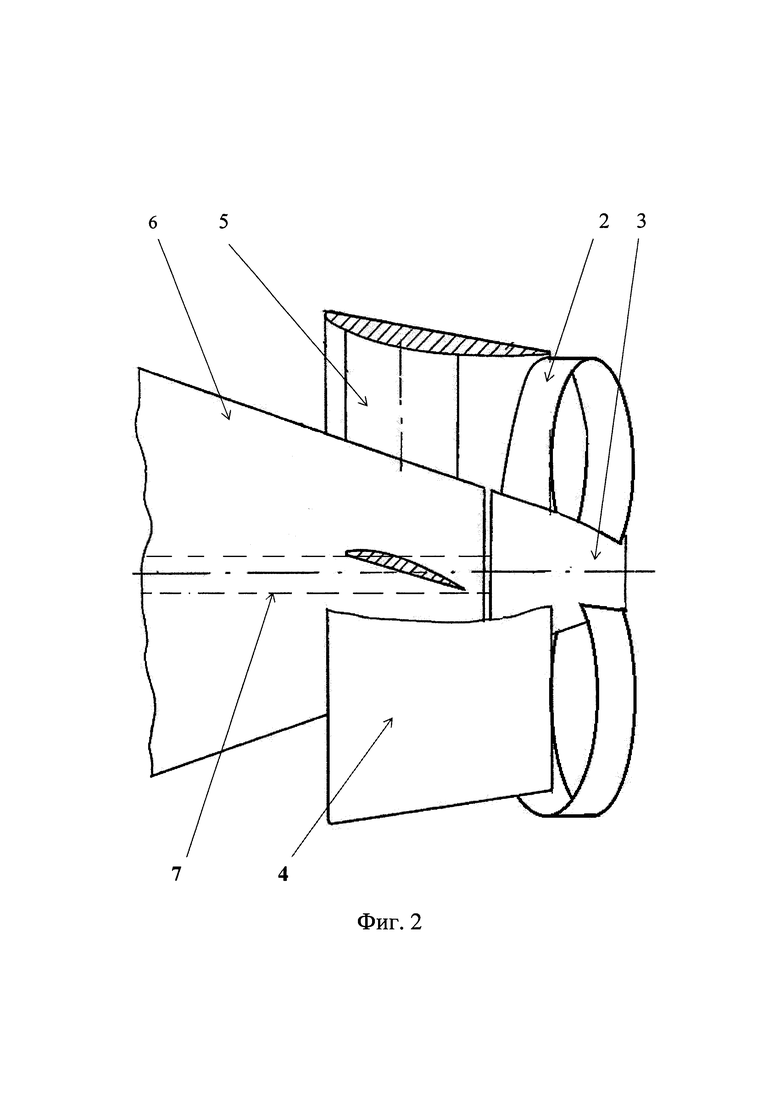
на фиг.2 - представлен вид сбоку на движительный комплекс с петлеобразными гребными винтами, где:
1 - петлеобразный гребной винт;
2 - лопасть;
3 - втулка;
4 - насадка;
5 - стойка;
6 - кормовая оконечность; 7-вал;
Осуществление изобретения
На фиг.1 и 2 изображен подводный объект, снабженный движительным комплексом в составе двух петлеобразных гребных винтов 1 на валах 7, установленных в насадке 4 со стойками 5, в кормовой оконечности 6 подводного объекта с перекрытием дисков петлеобразных лопастей 2. Петлеобразные гребные винты 1 попеременно выполнены правого и левого вращения и не имеют возможности изменения шага лопастей.
Петлеобразные гребные винты 1 с лопастями 2 петлевидной формы, образуют два дисковых пространства, объединенных на торце лопасти перемычкой в форме части насадки 4, при этом парные лопасти 2 в своих дисковых пространствах смещены друг относительно друга на половину ширины лопасти, и имеют двусторонний сегментный профиль лопастей 2 характеризующийся неизменностью геометрии формы профиля лопасти по всей длине криволинейной огибающей профиля лопасти 2, симметричным исполнением ширины лопасти относительно средней линии лопасти 2.
На чертеже фиг.2 насадка 4 винта 1 смещена и располагается между кормовой оконечностью 6 подводного объекта перед первым диском лопастей петлевых лопастей гребного винта 1, содержит стойки 5 в виде лопастей спрямляющего аппарата компенсирующих кренящий момент, возникающий на корпусе подводного объекта при работе петлеобразного гребного винта 1. У каждого петлеобразного гребного винта 1 угол расположения стоек 5 различный для компенсации кренящего момента при работе винта 1 правого и левого вращения. Насадка 5 в выходном сечении не выходит за границы дискового пространства каждого из винтов 1.
Стойки 5 устанавливаются внутренними концами на корпусе, а на их наружных концах крепится насадка 4. Выпуклая сторона стоек 5 обращена в сторону вращения винта 1, а плоская или вогнутая образует с осевым направлением положительный угол установки лопастей, отсчитываемый от направления движения в сторону вращения винта 1. При этом угол атаки в каждом сечении лопасти и форма профиля рассчитываются таким образом, чтобы скорость закрутки потока на стойках 5 была равна скорости закрутки потока в соответствующих сечениях гребного винта 1. Однако в тех случаях, когда требования к простоте изготовления более значимы, чем требования к коэффициенту полезного действия движителя, закручивающие лопасти стоек 5 могут устанавливаться под постоянным углом установки и иметь постоянную по высоте стойки 5 форму профиля. При этом необходимый для компенсации момента гребного винта 1 угол установки стоек 5 определяется расчетным путем либо подбирается экспериментально.
Насадка 4 выполнена в виде кольцевого крыла, обращенного выпуклой стороной внутрь, и устройство для ее крепления на корпусе сужающейся кормовой оконечности 6 подводного объекта, при этом проточный кольцевой канал движителя образован с внутренней стороны сужающейся кормовой оконечностью 6 подводного объекта, а с наружной стороны - выпуклой частью профиля насадки 4.
Угол конусности наружной поверхности насадки 5 меньше угла конусности сужающейся кормовой оконечности 6 подводного объекта.
Гребные валы приводятся во вращение от одного приводного двигателя через редуктор (условно не показаны) и валы 2. При вращении петлеобразных гребных винтов 1 при равенстве угловых скоростей лопасти одного из гребных винтов 1 входят в промежуток между лопастями другого гребного винта 1. При этом возможно уменьшение габаритов движительного комплекса.
Расположение насадки 4 в зоне сужающегося потока вдоль сужающейся кормовой оконечности 6 подводного объекта и выбор оптимального угла ее конусности обеспечивают возникновение на насадке 4 полезной силы тяги даже при малых значениях нагрузки петлеобразных гребных винтов 1.
Использование элементов конструкции крепления насадки 4 в виде стоек 5, на корпусе, в качестве закручивающего аппарата обеспечивает возникновение момента, компенсирующего момент крена от работы гребного винта 14, а также приводит к увеличению КПД последнего, которое полностью или частично компенсирует сопротивление закручивающих стоек 5 крепления насадки 4.
Наличие торцевой поверхности петлеобразных гребных винтов 1 позволяет увеличить тягу винта, не увеличивая частоту его вращения, что позволяет снизить энергозатраты на привод петлеобразных гребных винтов 1. Расположение петлеобразных гребных винтов 1 в выходном сечении насадки 4 или за ее пределами не вызывает ускорения потока на элементах винта 1 и, следовательно, не ухудшает его кавитационных характеристик.
При наличии двух петлеобразных гребных винтов 1, происходит суммарное увеличение КПД предлагаемого движительного комплекса по сравнению с одиночным гребным винтом при одинаковых условиях работы при высоких нагрузках на прямых курсах, для обеспечения максимального упора на всех скоростях движения.
Взаимодействие пересекающихся гребных винтов отработано на пространственной модели в графическом редакторе, что позволяет выбрать оптимальные геометрические характеристики движительного комплекса.
| название | год | авторы | номер документа |
|---|---|---|---|
| Движительный комплекс подводного объекта | 2023 |
|
RU2827383C1 |
| ДВИЖИТЕЛЬНЫЙ КОМПЛЕКС ДЛЯ ПОДВОДНОГО АППАРАТА | 2002 |
|
RU2222469C1 |
| СУДОВОЙ ДВИГАТЕЛЬ С ГОНДОЛОЙ, УСТАНАВЛИВАЕМОЙ ПОД КОРПУСОМ СУДНА | 2005 |
|
RU2372246C2 |
| КОЛЕСНЫЙ ДВИЖИТЕЛЬНО-РУЛЕВОЙ КОМПЛЕКС СУДНА ЛЕДОВОГО ПЛАВАНИЯ | 2011 |
|
RU2456201C1 |
| ДВИЖИТЕЛЬНО-РУЛЕВОЙ КОМПЛЕКС СУДНА | 2017 |
|
RU2661271C2 |
| КОРМОВАЯ ОКОНЕЧНОСТЬ СУДНА С ДВИЖИТЕЛЬНО-РУЛЕВЫМ КОМПЛЕКСОМ | 2001 |
|
RU2203824C2 |
| ПОДВОДНОЕ СУДНО ДЛЯ ОБСЛУЖИВАНИЯ ПОДВОДНЫХ ДОБЫЧНЫХ КОМПЛЕКСОВ НА АРКТИЧЕСКОМ ШЕЛЬФЕ И ДРУГИХ ПОДВОДНО-ТЕХНИЧЕСКИХ РАБОТ | 2016 |
|
RU2629625C1 |
| ДВИГАТЕЛЬНО-ДВИЖИТЕЛЬНЫЙ МОДУЛЬ КОЛЬЦЕВОЙ КОНСТРУКЦИИ | 2017 |
|
RU2670341C1 |
| КОРМОВАЯ ОКОНЕЧНОСТЬ СУДНА С ДВИЖИТЕЛЬНО-РУЛЕВЫМ КОМПЛЕКСОМ | 2001 |
|
RU2196698C2 |
| УНИВЕРСАЛЬНОЕ ПОЛУПОГРУЖНОЕ КРУПНОТОННАЖНОЕ ТРАНСПОРТНОЕ СУДНО ДЛЯ ПЛАВАНИЯ В МОРЯХ С ЛЕДОВЫМ ПОКРОВОМ И НА ЧИСТОЙ ВОДЕ | 2015 |
|
RU2585199C1 |
Изобретение относится к судостроению, а именно к движительным устройствам, в частности к движительным комплексам типа винт-насадка объектов, движущихся в водной среде. Движительный комплекс объекта в водной среде содержит гребные винты и насадку. У гребных винтов торцы ступицы расположены в одной плоскости на одной линии, на кривой. Гребные винты выполнены попеременно правого и левого вращения с лопастями петлевидной формы, образуют два дисковых пространства, объединенных на торце лопасти перемычкой в форме части насадки. Парные лопасти в своих дисковых пространствах смещены друг относительно друга на половину ширины лопасти и имеют двусторонний сегментный профиль лопастей, характеризующийся неизменностью геометрии формы профиля лопасти по всей длине криволинейной огибающей профиля лопасти, симметричным исполнением ширины лопасти относительно средней линии лопасти. Насадка винтов смещена и располагается между корпусом судна или кормовой оконечностью подводного объекта перед первым диском лопастей петлевых лопастей гребного винта, содержит лопасти спрямляющего аппарата и в выходном сечении не выходит за границы дискового пространства каждого из винтов. Достигается увеличение упора и пропульсивного коэффициента полезного действия гребных винтов с лопастями петлевидной формы, повышение энергетической эффективности на всех скоростях движения. 1 з.п. ф-лы, 2 ил.
1. Движительный комплекс объекта в водной среде, содержащий гребные винты и насадку, отличающийся тем, что количество гребных винтов может быть от 2 до 5, у которых торцы ступицы расположены в одной плоскости на одной линии, на кривой, при этом гребные винты выполнены попеременно правого и левого вращения с лопастями петлевидной формы, образуют два дисковых пространства, объединенных на торце лопасти перемычкой в форме части насадки, при этом парные лопасти в своих дисковых пространствах смещены друг относительно друга на половину ширины лопасти и имеют двусторонний сегментный профиль лопастей, характеризующийся неизменностью геометрии формы профиля лопасти по всей длине криволинейной огибающей профиля лопасти, симметричным исполнением ширины лопасти относительно средней линии лопасти, насадка винтов смещена и располагается между корпусом судна или кормовой оконечностью подводного объекта перед первым диском лопастей петлевых лопастей гребного винта, содержит лопасти спрямляющего аппарата и в выходном сечении не выходит за границы дискового пространства каждого из винтов.
2. Движительный комплекс объекта в водной среде по п.1, отличающийся тем, что валы винтов могут располагаться под разными углами, при этом оси валов могут пересекаться до и после общего дискового пространства винтов, стойки крепления насадки имеют угол установки для компенсации закручивания потока гребными винтами.
| Движительный комплекс | 1979 |
|
SU846395A1 |
| Движительный комплекс судна | 1989 |
|
SU1740245A1 |
| US 3772886 A1, 20.11.1973 | |||
| CN 107380383 A, 24.11.2017 | |||
| Малогабаритный многофункциональный автономный необитаемый подводный аппарат - носитель сменной полезной нагрузки | 2018 |
|
RU2681415C1 |
Авторы
Даты
2025-05-26—Публикация
2024-08-05—Подача