Изобретение относится к области нефтепереработки и может быть использовано для получения керосиновой фракции.
Известен способ получения бензинов и реактивного топлива из малосернистых, и/или сернистых, и/или высокосернистых нефтей путем электрообессоливания последних пропусканием потока нефти через систему электродов, расположенных в электродегидраторах, атмосферной и/или атмосферно-вакуумной перегонки обессоленной нефти с использованием колонн атмосферной перегонки, вывода из последних прямогонных бензиновых и керосиновых фракций, стабилизации бензиновых фракций, вторичной перегонки стабильных фракций, гидроочистки бензиновых и керосиновых фракций в присутствии катализатора с использованием реакторов гидроочистки, риформинга гидроочищенной бензиновой фракции в присутствии катализатора в реакторах риформинга с последующим компаундированием полученных в процессах перегонки и гидроочистки фракций (В.Н. Эрих, М.Г. Расина, М.Г. Рудин. Химия и технология нефти и газа. Л. Химия, ЛО-1985 г., с.96-152).
Указанному способу свойственны такие недостатки, как относительно невысокие качество и выход целевых продуктов, а также повышенные энергозатраты на процесс и недостаточная эффективность конструктивных решений технологических схем.
Наиболее близким к предлагаемому является способ получения керосиновой фракции ректификацией нефти на установках первичной переработки и выделением легкой бензиновой фракции от начала кипения до 180°С в колонне предварительного испарения при температуре верха колонны 149-179°С, низа колонны 268-275°С и отгонкой прямогонной бензиновой и керосиновой фракции в основной ректификационной колонне, при температуре верха 109-144°С, которую регулируют количеством бензиновой фракции (с температурой кипения от 85°С до 180°С), подаваемой как острое орошение в шлемовую часть. Легкую бензиновую фракцию из колонны предварительного испарения и оставшуюся прямогонную бензиновую фракцию (от 85°С до 180°С) из основной ректификационной колонны направляют на блок вторичной перегонки бензина с получением трех фракций бензина (фракция от начала кипения до 70°С, от 70°С до 110°С, от 110°С до 180°С) (патент RU №2436838).
Однако в данном способе происходит неполный отбор керосиновой фракции, являющейся дефицитным авиационным топливом, часть керосиновой фракции уходит во фракции бензина и дизельного топлива, процесс ректификации в основной колонне не достаточно эффективен.
Целью изобретения является повышение выхода керосиновых фракций и увеличение эффективности процесса ректификации в основной колонне.
Поставленная цель достигается применением способа получения керосиновой фракции ректификацией нефти на установках первичной переработки с выделением легкой бензиновой фракции в колонне предварительного испарения и отгонкой прямогонной бензиновой и керосиновой фракции в основной ректификационной колонне, температуру верха которой регулируют острым орошением в шлемовой части основной ректификационной колонны подачей части бензиновой фракции, а легкую бензиновую фракцию из колонны предварительного испарения и оставшуюся прямогонную бензиновую фракцию из основной ректификационной колонны направляют на блок стабилизации и вторичной перегонки бензина, при этом в основной ректификационной колонне отгоняют прямогонную бензиновую фракцию с температурой от 40°С до 180°С, на блоке стабилизации и вторичной перегонки получают три фракции бензина (фракция от начала кипения до 70°С, от 70°С до 110°С, от 80°С до 180°С), в остром орошении шлемовой части основной ректификационной колонны часть бензиновой фракции (от 40°С до 180°С) заменяют фракцией бензина с температурой кипения от 80°С до 180°С с блока вторичной перегонки бензина в соотношении по объему бензиновой фракции (от 40°С до 180°С) к фракции бензина с температурой кипения (от 80°С до 180°С), равном (40-70):(30-60).
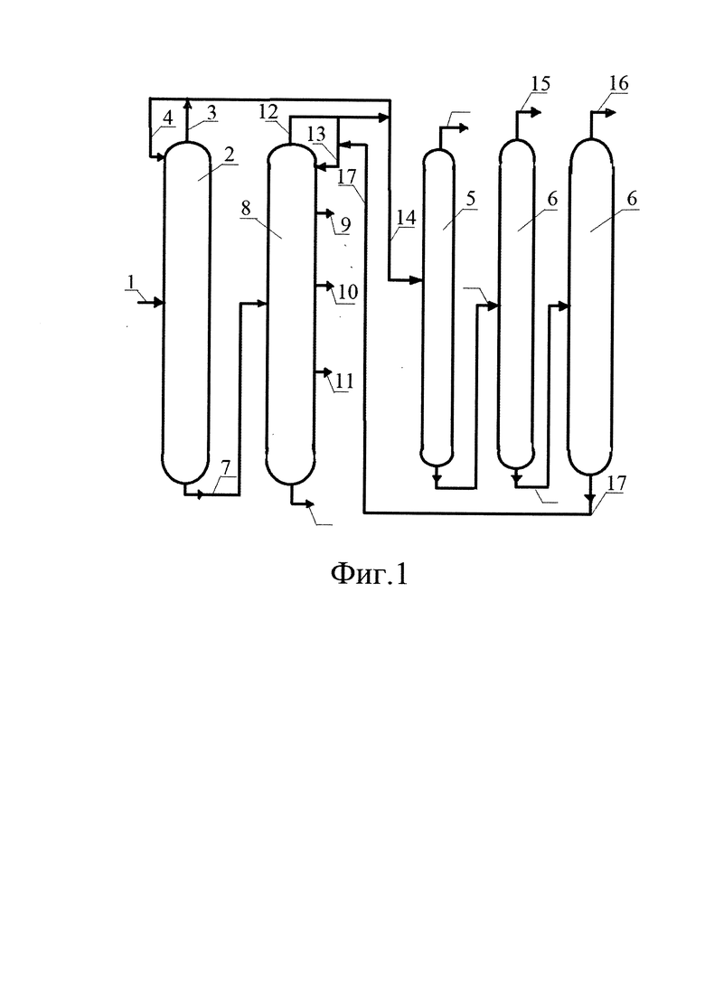
Способ получения керосиновой фракции осуществляют следующим образом (см. Фиг. 1).
Нефтяное сырье (1) подают в колонну предварительного испарения бензина (2) установки первичной перегонки нефти. С верха колонны выделяют из нефтяного сырья легкую бензиновую фракцию (3), часть которой (4) направляют на острое орошение колонны предварительного испарения (2), остальную часть на блок стабилизации (5) и вторичной перегонки бензина (6). Далее частично отбензиненную нефть (7) с низа колонны предварительного испарения (2) подают в основную ректификационную колонну (8), где идет дальнейший процесс разделения нефти на прямогонные фракции: керосина (9), легкого и тяжелого дизельного топлива (10,11). С верха основной ректификационной колонны (8) отделяют бензиновую фракцию (12) (от 40°С до 180°С), часть которой (13) направляют на острое орошение основной ректификационной колонны (8), остальную часть на блок стабилизации (5) и вторичной перегонки бензина (6). Таким образом часть легкой бензиновой фракции из колонны предварительного испарения и часть прямогонной бензиновой фракции (от 40°С до 180°С) из основной ректификационной колонны направляют на блок стабилизации (5) и вторичной перегонки бензина (6) с получением трех фракций бензина: (15) фракция от начала кипения до 70°С, (16) от 70°С до 110°С, (17) от 80°С до 180°С). Температуру верха колонны предварительного испарения (2) поддерживают в пределах 141-179°С, предпочтительно 141-148°С, температуру низа колонны в пределах 250-280°С, а температуру верха основной ректификационной колонны (8) 99-120°С регулируют подачей острого орошения в шлемовую часть основной ректификационной колонны (8), при этом часть бензиновой фракции (13) (от 40°С до 180°С), которую подают на острое орошение, заменяют фракцией бензина (17) с температурой кипения от 80°С до 180°С с блока вторичной перегонки бензина (6) в соотношении по объему бензиновой фракции (13) (от 40°С до 180°С) к фракции бензина (17) с температурой кипения (от 80°С до 180°С), равном (40-70):(30-60).
Регулятор температуры верха основной ректификационной колонны автоматически устанавливает расход бензина (от 40°С до 180°С) в зависимости от количества подаваемого бензина с температурой кипения от 80°С до 180°С с блока вторичной перегонки бензина и требуемого выхода конечных продуктов. Конечный продукт прямогонную керосиновую фракцию (9) выводят боковым погоном из основной ректификационной колонны.
Как видно из таблицы 1 проведение процесса получения прямогонных керосиновых фракций по предлагаемому способу по сравнению с прототипом позволяет увеличить выход на 3,0-16,0% керосина - дефицитного реактивного топлива - при снижении температуры верха основной ректификационной колонны, что позволяет использовать дешевые и доступные хладагенты для конденсации паров ректификата (вода, воздух) и также уменьшить требуемые поверхности холодильников, конденсаторов. Предлагаемый способ прост для осуществления и может быть реализован на стандартном оборудовании нефтеперерабатывающих заводов.
| название | год | авторы | номер документа |
|---|---|---|---|
| СПОСОБ ПОЛУЧЕНИЯ КЕРОСИНОВОЙ ФРАКЦИИ | 2024 |
|
RU2840648C1 |
| СПОСОБ ПОЛУЧЕНИЯ КЕРОСИНОВОЙ ФРАКЦИИ | 2024 |
|
RU2840459C1 |
| СПОСОБ ДЕМЕРКАПТАНИЗАЦИИ КЕРОСИНОВЫХ ФРАКЦИЙ | 2019 |
|
RU2691761C1 |
| СПОСОБ ДЕМЕРКАПТАНИЗАЦИИ КЕРОСИНОВЫХ ФРАКЦИЙ | 2023 |
|
RU2806044C1 |
| Способ переработки бензиновых фракций | 1990 |
|
SU1754763A1 |
| СПОСОБ ПРЯМОЙ ПЕРЕГОНКИ НЕФТИ НА МАЛОГАБАРИТНОЙ УСТАНОВКЕ | 2004 |
|
RU2269372C1 |
| СПОСОБ ПОЛУЧЕНИЯ НЕФТЯНОГО РАСТВОРИТЕЛЯ | 2004 |
|
RU2271380C1 |
| СПОСОБ ПОЛУЧЕНИЯ ПРЯМОГОННЫХ НЕФТЯНЫХ ГАЗОВ ПРИ ФРАКЦИОНИРОВАНИИ НЕФТИ | 2009 |
|
RU2417244C1 |
| СПОСОБ ПЕРЕРАБОТКИ УГЛЕВОДОРОДНОГО СЫРЬЯ | 2020 |
|
RU2748456C1 |
| СПОСОБ ПЕРЕРАБОТКИ НЕФТИ | 2004 |
|
RU2264431C1 |
Изобретение относится к области нефтепереработки и может быть использовано для получения керосиновых фракций. Изобретение относится к способу получения керосиновой фракции ректификацией нефти на установках первичной переработки с выделением легкой бензиновой фракции в колонне предварительного испарения и отгонкой прямогонной бензиновой и керосиновой фракции в основной ректификационной колонне, температуру верха которой регулируют острым орошением в шлемовой части основной ректификационной колонны подачей части бензиновой фракции, а легкую бензиновую фракцию из колонны предварительного испарения и оставшуюся прямогонную бензиновую фракцию из основной ректификационной колонны направляют на блок стабилизации и вторичной перегонки бензина. Способ характеризуется тем, что в основной ректификационной колонне отгоняют прямогонную бензиновую фракцию с температурой от 40°С до 180°С, на блоке стабилизации и вторичной перегонки получают три фракции бензина (фракция от начала кипения до 70°С, от 70°С до 110°С, от 80°С до 180°С), в остром орошении шлемовой части основной ректификационной колонны часть бензиновой фракции (от 40°С до 180°С) заменяют фракцией бензина с температурой кипения от 80°С до 180°С с блока вторичной перегонки бензина в соотношении по объему бензиновой фракции (от 40°С до 180°С) к фракции бензина с температурой кипения (от 80°С до 180°С), равном (40-70):(30-60). Использование изобретения позволяет повысить выход керосиновых фракций и увеличить эффективность процесса ректификации в основной колонне. 1 ил., 1 табл.
Способ получения керосиновой фракции ректификацией нефти на установках первичной переработки с выделением легкой бензиновой фракции в колонне предварительного испарения и отгонкой прямогонной бензиновой и керосиновой фракции в основной ректификационной колонне, температуру верха которой регулируют острым орошением в шлемовой части основной ректификационной колонны подачей части бензиновой фракции, а легкую бензиновую фракцию из колонны предварительного испарения и оставшуюся прямогонную бензиновую фракцию из основной ректификационной колонны направляют на блок стабилизации и вторичной перегонки бензина, отличающийся тем, что в основной ректификационной колонне отгоняют прямогонную бензиновую фракцию с температурой от 40°С до 180°С, на блоке стабилизации и вторичной перегонки получают три фракции бензина (фракция от начала кипения до 70°С, от 70°С до 110°С, от 80°С до 180°С), в остром орошении шлемовой части основной ректификационной колонны часть бензиновой фракции (от 40°С до 180°С) заменяют фракцией бензина с температурой кипения от 80°С до 180°С с блока вторичной перегонки бензина в соотношении по объему бензиновой фракции (от 40°С до 180°С) к фракции бензина с температурой кипения (от 80°С до 180°С), равном (40-70):(30-60).
| СПОСОБ ДЕМЕРКАПТАНИЗАЦИИ КЕРОСИНОВЫХ ФРАКЦИЙ | 2023 |
|
RU2806044C1 |
| Способ каталитической переработки легких углеводородных фракций и установка для его осуществления | 2021 |
|
RU2753602C1 |
| СПОСОБ ПЕРЕРАБОТКИ НЕФТИ | 2018 |
|
RU2664653C1 |
| СИСТЕМА УПРАВЛЕНИЯ КОСМИЧЕСКОГО АППАРАТА | 2013 |
|
RU2560204C2 |
| US 4673490 A1, 16.06.1987 | |||
| CN 109722271 A, 07.05.2019 | |||
| JP 4414098 B2, 10.02.2010 | |||
| US 4648959 A, 10.03.1987. | |||
Авторы
Даты
2025-05-26—Публикация
2024-09-24—Подача