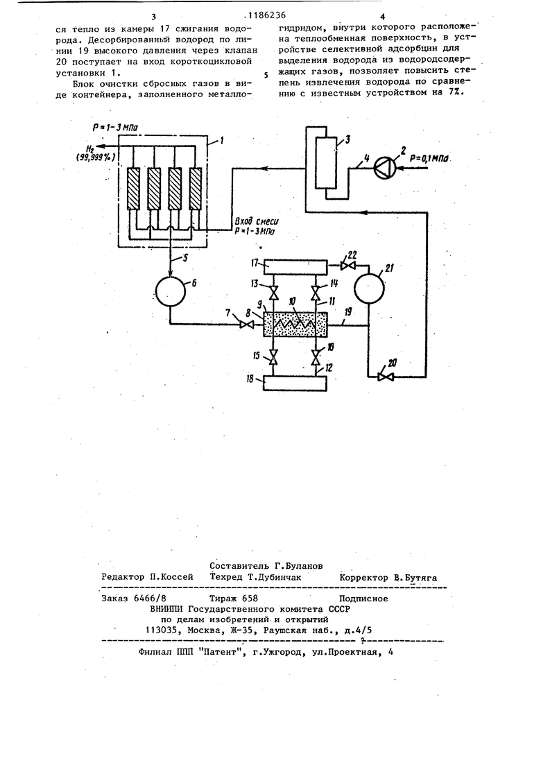
Изобретение относится к химическо технологии и может быть использовано для получения особо чистого водорода из водородосодержащих газов., Известны устройства короткоцикловой адсорбции , позволяющие осуществлять выделение водорода из водородсодержащих газов порядка 80%. При этом использование низкотемпературных колонн, повышаюищх выделе ние водорода из водородсодержалщх га зо стадии регенерации короткоцикловой адсорбции, малоэффективно из-за своей сложности и энергоемкости. Наиболее близким к изобретению по технической сущности является устрой ство селективной адсорбции для вьщеЛения водорода из смеси легких газов, содержащее компрессор для компримирования и подачи исходной смеси газов под давлением 2,0-3,5 МПа, узел предварительной очистки от отравляющих сорбент примесей, короТкоЦТ1КЛОВУЮ установку, блок очистки . сброспых. газов в виде диффузионного разделительного аппарата, где и качестве полупроницаемых мембран используются полые полимернйе волокна с проницаемой стенкой для водорода. Выделенный в блоке очистки сбросных газов водород поступает как на вход устройства селективной адсорбции, так и на различные стадии регенерации сорбентов короткоцикловой устаповки Сз. Степень выделения водорода чисто ТЫ 99,999% в этом устройстве составляет 90%. Для увеличения степени выделения водорода в диффузионном раздехштельном аппарате необходимо повышать в нем давление, а это ведет к усложнению конструкции и увеличени толцины мембраны. Целью изобретения является увеличение степени вьделения водорода из водородсодержащих газов. Поставленная цель достигается тем, что в устройстве селективной ад .сорбции для выделения водорода из в дородсодержащих газов, содержащем компрессор, узел предварительной очистки, короткоцикловую установку, блок очистки сбросных газов короткоцикловой установки, последний вынол ,нен в виде контейнера, заполненного металлогидридом, внутри которого рас положена теплообменная поверхность, и снабженного охладителем, ресивером и камерой сжигания водорода, соединенными между собой циркуляционным контуром. На чертеже изображено устройство селективной адсорбции для выделения водорода из водородсодержащих газов. Устройство содержит короткоцикловую установку 1, состоящую из блока адсорберов, заполненных цеолитом, активированным углем или их комбинацией, компрессор 2 и узел 3 предвари-, тельной очистки от отравляющих сорбент примесей, установленных на линии 4 высокого давления.. Линия 5 низкого давления через ресивер 6 и клапан 7 соединена с входом контейнера 8, заполненного металлогидридом 9. В тутри контейнера расположена теплообменная поверхность 10, соединенная с циркуляционными контурами 11 и 12 через клапаны 13-16 с камерой 17 сжлгания водорода и охладителем 18. Выход контейнера соединен линией 19 высокого давления водорода через клапан 20 с входом короткоцйкловой установки и ресивером 21, клапаном 22 с камерой 1 7 с}кигания водорода . Устройство работает следующим образом, 1 Поступающий водород, содержащий га:з при .давлении 0,1 МПа, сжимается в компрессоре 2 до давления 1-3 МПа, по линии 4 высокого давления поступает в узел 3 предварительной очистки от отравляющих сорбент примесей и подается на вход короткоцизсловой установки 1. Сбросные газы короткоцикловой установки при давлении О,10,5 МПа по линии 5 низкого давления попадают в рессивер 6, откуда через клапан 7 подаются на слой металлогидрида 9 контейнера 8. Выделившееся тепло в процессе сорбции водорода из сбросных газов отводится через теплообменную поверхность 10 в охладитель 18 посредством циркуляционного теплоносителя с к.лапанами 15 и 16. При этом не прореагировавшие С металлогидридом примеси собираются в рессивере 21 и через клапан 22 подаются в камеру 17 сжигания водорода с целью наиболее полной утилизации имеющегося теплового ресурса. Для десорбции водорода под давлением 1-3 МПа к металлогидриду через теплообменную поверхность 10 посредством циркуляционного контура 11 теплоносителя, клапанов 13 и 14 подводится тепло из камеры 17 сжигания водорода. Десорбированный водород по линии 19 высокого давления через клапан 20 поступает на вход короткоцикловой установки 1,
Блок очистки сбросных газов в виде контейнера, заполненного металлоP l-JMns
гидридом, внутри которого расположена теплообменная поверхность, в устройстве селективной адсорбции для выделения водорода из водородсодержалщх газов, позволяет повысить степень извлечения водорода по сравнению с известным устройством на 7%. р-о,1мпа

| название | год | авторы | номер документа |
|---|---|---|---|
| АППАРАТ ДЛЯ ПОЛУЧЕНИЯ ВОДОРОДА ОСОБОЙ ЧИСТОТЫ | 2024 |
|
RU2837364C1 |
| УСТАНОВКА ДЛЯ ПОЛУЧЕНИЯ ВОДОРОДА | 1998 |
|
RU2124928C1 |
| СПОСОБ ПОЛУЧЕНИЯ ВОДОРОДА ИЗ УГЛЕВОДОРОДНОГО СЫРЬЯ | 2009 |
|
RU2394754C1 |
| СПОСОБ ПОЛУЧЕНИЯ ВОДОРОДА С ИСПОЛЬЗОВАНИЕМ ПАРОВОГО РИФОРМИНГА С ЧАСТИЧНЫМ ОКИСЛЕНИЕМ | 2005 |
|
RU2378188C2 |
| СПОСОБ ПРОИЗВОДСТВА КАРБАМИДА НА ОСНОВЕ СОВМЕСТНОГО ПРОИЗВОДСТВА ВОДОРОДА И УГЛЕКИСЛОГО ГАЗА | 2023 |
|
RU2832221C1 |
| Способ производства водорода | 2022 |
|
RU2791358C1 |
| Технологический экспериментально-демонстрационный комплекс для развития технологий производства водорода из природного газа | 2023 |
|
RU2816702C1 |
| СПОСОБ ГЕНЕРАЦИИ ЭНЕРГИИ В АНАЭРОБНОЙ СИСТЕМЕ | 2014 |
|
RU2561345C1 |
| СПОСОБЫ РАБОТЫ ВОДОРОДНЫХ ОБРАТИМЫХ ТЕРМОХИМИЧЕСКИХ ЦИКЛОВ И УСТРОЙСТВА ДЛЯ ИХ РЕАЛИЗАЦИИ НА БАЗЕ МЕТАЛЛОГИДРИДНЫХ ТЕХНОЛОГИЙ | 2012 |
|
RU2524159C2 |
| Газохимическое производство водорода | 2020 |
|
RU2729790C1 |
УСТРОЙСТВО СЕЛЕКТИВНОЙ АДСОРБЦИИ ДЛЯ ВЬЩЕЛЕНИЯ ВОДОРОДА ИЗ ВОДОРОДСОДЕРЖАЩИХ ГАЗОВ, содержащее компрессор, узел предварительной очистки, короткоцикловую установку, блок очистки сбросных газов короткоцикловой установки, отличающ е е с я тем, что, с целью увеличения степени вьщеления водорода из водородсодержащих газов, блок очистки сбросных газов выполнен в виде контейнера, заполненного металлогидридом, внутри которого расположена теплообменная поверхность, и снабжёнг ного охладителем, ресивером и камерой сжигания водорода, соединенными между (Л собой циркуляционным контуром. 
| Шумяцкий Ю.И., Громова К.И., Кельцев Н.В., Серегин Ю.А | |||
| Новые адсорбционные процессы | |||
| Короткоцикловая адсорбция | |||
| - Химическая промышленность за рубежом, 1968, вьш | |||
| Способ восстановления хромовой кислоты, в частности для получения хромовых квасцов | 1921 |
|
SU7A1 |
| Способ получения молочной кислоты | 1922 |
|
SU60A1 |
| Подорожанский М.М., Пличко B.C., Шустиков В.И., Яворская З.Г | |||
| Получение водорода из коксового газа методом короткоцикловой адсорбции | |||
| - Кокс и химия | |||
| Приспособление для изготовления в грунте бетонных свай с употреблением обсадных труб | 1915 |
|
SU1981A1 |
| с | |||
| Прибор с двумя призмами | 1917 |
|
SU27A1 |
| Патент США № 3564816, кл | |||
| Печь для непрерывного получения сернистого натрия | 1921 |
|
SU1A1 |
| Патент США № 3838553, кл | |||
| Печь для непрерывного получения сернистого натрия | 1921 |
|
SU1A1 |
| Патент США № 4238204, кл | |||
| Печь для непрерывного получения сернистого натрия | 1921 |
|
SU1A1 |
Авторы
Даты
1985-10-23—Публикация
1984-02-10—Подача