Изобретение относится к устройствам для обработки металлов резанием, прежде всего к изготовлению полотен ленточных пил по металлу, и может быть использовано в областях, связанных с механической обработкой металлов и композитов.
Одной из актуальных проблем обработки металлов является повышение эффективности процесса пиления, что в большей степени связано с повышением ресурса работы полотна пилы и прежде всего зубьев. Этой задачи достигают в основном за счет снижения механических усилий, действующих на режущую кромку зуба ленточной пилы, в том числе снижения сил резания. Последнего в свою очередь добиваются распределением механической нагрузки между зубьев группы, каждый из которых имеет свою геометрию поперечного реза, а суммарно дают необходимую общую площадь поперечного реза в канале пропила. В качестве примера осуществления таких эффективных технологий пиления металлов можно назвать технические решения, приведенные в патентах: патент США US 7131365 B2, МПК B27B 33/02, 07/1/2006, 07.11.2006; патент США US 10363620 B2, МПК B23D 61/12, 30.07.2019. Недостатком полотен, полученных по указанным патентам, является быстрое изнашивание режущих кромок зубьев и соответственно низкий рабочий ресурс полотна пилы.
Наиболее близким (прототипом) по совокупности существенных признаков к заявляемому изобретению является полотно ленточной пилы по металлу, содержащее зубчатую часть с режущими зубьями одной или разной высоты, с переменным или постоянным шагом, основным назначением которой является пиление металла. При этом разводка может быть стандартной, чередованием, волнообразной, групповой. Зуб преимущественно косой с прямой режущей кромкой, с острым передним углом (ГОСТ Р 53924-2010. Полотна ленточных пил. [Электронный ресурс] - URL: https://docs.cntd.ru/document/1200082571 (дата обращения 22.05.2023). Указанной конструкции полотна ленточных пил также присущи недостатки, указанных выше полотен: быстрая деформация и затупление зубьев, а также низкий рабочий ресурс полотна пилы.
Решаемой задачей заявляемого изобретения является повышение ресурса работы полотна пилы по металлу и его зубьев, а также снижение деформации и затупления зубьев. Кроме того, техническим результатом является расширение арсенала технических средств полотен ленточных пил и их зубьев.
Указанного технического результата в заявляемом изобретении достигают за счет выполнения режущей кромки зуба в виде ломаной линии в плоскости задней поверхности зуба и в пределах ее ширины, что в свою очередь приводит к изменению плоской передней поверхности зуба на гранную поверхность.
Заявляемое изобретение имеет следующий, общий с ближайшим аналогом существенный признак - зуб полотна ленточной пилы по металлу, содержащий режущую кромку.
Отличают заявляемое изобретение от прототипа следующие существенные признаки:
- выполнение режущей кромки зуба в виде ломаной линии в плоскости задней поверхности зуба и в пределах ее ширины,
- изменение плоской передней поверхности зуба на гранную.
Приведённые существенные признаки являются отличительными от прототипа, т.к. не содержатся в совокупности существенных признаков прототипа, т.е. не присутствуют в перечне признаков, осуществляемых в прототипе, и не являются их характеристикой.
Для однозначного и более полного понимания описания заявляемого изобретения далее приведены уточнения и раскрытия, использованных выше понятий и терминов, а также описание технического решения.
Основой замысла заявляемого технического решения является уменьшение нагрузки на режущие кромки зубьев полотна пилы путем понижения удельного сопротивления резанию материала канала пропила или снижения сил резания на скошенных звеньях ломаной линии ввиду их удлинения относительно прямой кромки, выполненной по ширине передней поверхности. Кроме того, в области вершин режущей кромки, выполненной по ломаной линии, происходит усиление ее проникающей способности за счет выполнения острия аналогично вершине трехгранной пирамиды. Еще одним положительным фактором выполнения режущей кромки по ломаной линии является добавление эффекта пиления при воздействии на материал пропила скошенных звеньях кромки.
Реализуют замысел путем выполнения режущей кромки зуба полотна ленточной пилы в виде ломаной линии. При этом эту кромку выполняют в одной плоскости, а именно в плоскости задней поверхности зуба. Если обрабатываемый материал требует увеличенного заднего угла, то рекомендуется сделать заднюю поверхность уступом с главным и вспомогательными задними углами, при этом главный задний угол желательно делать как можно меньше, а плоскость поверхности с главным задним углом по площади равной верхней площадке вершины зуба. Со стороны передней поверхности зуба выполнение режущей кромки в виде ломаной приводит к образованию в ее верхней части гранной поверхности.
Режущую кромку преимущественно в форме выпуклой ломаной линии выполняют по всей ширине вершины зуба, однако крайние звенья могут быть выполнены с образованием вогнутого угла относительно предыдущей ломаной линии. Такое исполнение крайних звеньев режущей кромки может служит для компенсации перекосов и напряжений на других участках режущей кромки. Количество звеньев режущей кромки зависит от задачи, материала заготовки и зуба, чистоты обработки и может меняться. Минимальное количество звеньев равно трем, максимальное количество не оговаривается и в своем пределе приводит форму кромки к дуге, что в действительности невыполнимо. На практике, преимущественно используют режущую кромку зуба с количеством звеньев до 10-12, а преимущественно выполняют 5-8 звеньев.
Исполнение звеньев может быть как симметричным относительно центрально плоскости полотна, так и асимметричным. Симметричное используют для спокойного пиления, асимметричное в случае неоднородных материалов или для выполнения определенной функции в группе зубьев. Большое значение имеет расположение звеньев кромки, особенно центральных звеньев. По центру может быть размещено два звена углом (угловое размещение) или одно звено фронтально. Угловое размещение используют при обработке мягких сплавов, фронтальное - для твердых. Звенья могут быть исполнены как равными, так и различными по размеру, что также зависит от исполняемой функции зуба и необходимости компенсации напряжений. В общем случае от размера, количества и симметрии расположения звеньев зависят совокупные геометрия и площадь реза.
Зубья с режущей кромкой, выполненной в виде ломаной линии, могут быть использованы по отдельности в ряду зубьев пилы с левой или правой поперечной разводкой. В этом случае возможно выравнивание главной задней поверхности по горизонтали. Возможно также использование таких зубьев в составе групп зубьев. В этом случае эти зубья целесообразно ставить первыми и, возможно, с уменьшенными размерами отдельных элементов, а последующие зубья доведут геометрию реза до требуемой.
Заявляемое изобретение является промышленно применимым в области обработки металлов резанием и может быть использовано в областях машиностроения и строительства, связанных с обработкой металлов и твердых материалов. Осуществление заявляемого технического решения может быть выполнено специалистами с соответствующей подготовкой. При осуществлении изобретения используют устройства, приборы и материалы, выпускаемые промышленностью и находящиеся в открытой продаже. Методами осуществления изобретения являются методы механической и физико-химической обработки металлических материалов, а именно обработка металлических лент, полотен металлорежущими инструментами, осуществление пайки сварки, шлифование. Средствами осуществления изобретения являются станки для обработки металла резанием - лазерные, электроэрозионные, механические, а также шлифовальные станки, устройства пайки, контактной сварки.
В приведенном выше описании убедительно обосновано достижение технического результата, заключающегося в повышении ресурса работы полотна пилы по металлу и его зубьев, а также в снижении деформации и затупления зубьев. Этот результат достигнут за счет понижения удельного сопротивления резанию материала канала пропила или снижения сил резания на скошенных звеньях ломаной линии ввиду их удлинения относительно прямой кромки. Одновременно в области вершин режущей кромки, выполненной по ломаной линии, происходит усиление ее проникающей способности за счет выполнения острия аналогично вершине трехгранной пирамиды. Кроме того, техническим результатом является расширение арсенала технических средств полотен пил различного вида.
Таким образом, показано, что совокупность существенных признаков заявляемого изобретения, позволяющая достичь заявленного технического результата, отличается от совокупности существенных признаков аналогов, прототипа, а также и других известных источников данных, т.е. не известно применение данной совокупности существенных признаков с получением заявленного технического результата. Другими словами, заявляемое изобретение не известно из уровня техники.
В ходе изучения уровня техники полотен пил различного вида по металлу не выявлены технические решения, существенные признаки которых по отдельности или в какой-либо совокупности совпадают с отличительными существенными признаками заявляемого изобретения, включая его характеристики, и позволяют достичь заявляемого технического результата. Таким образом, подтверждено отсутствие известности влияния отличительных существенных признаков заявляемого изобретения на заявленный технический результат.
Следует также обратить внимание, что использование как всей заявленной совокупности, так и отдельных существенных признаков, в том числе отличительных признаков, для получения заявленного технического результата не следует явным образом для специалистов из уровня техники, т. к. не является объединением, изменением или совместным использованием сведений, содержащихся в уровне техники, и/или общих знаний специалиста.
Действительно осуществление совокупности нижеприведенных отличительных существенных признаков заявляемого изобретения не следует для специалистов явным образом из уровня техники и является нестандартным и неизвестным решением, а именно осуществление следующего решения:
- выполнение режущей кромки зуба в виде ломаной линии в плоскости задней поверхности зуба и в пределах ее ширины,
- изменение плоской передней поверхности зуба на гранную.
На основании приведенного выше описания следует выделить следующие частные случаи выполнения заявляемого изобретения:
1. Описанный выше зуб полотна ленточной пилы по металлу, в котором количество звеньев режущей кромки, выполненной по ломаной линии, равняется минимум трем.
2. Описанный выше зуб полотна ленточной пилы по металлу, в котором режущая кромка выполнена в виде выпуклой по направлению хода резания ломаной линии.
3. Описанный выше зуб полотна ленточной пилы по металлу, в том числе и по п. 2, в котором на одном или обоих концах режущей кромки, выполненной по выпуклой ломаной линии исполнены звенья, образующие вогнутый угол относительно предыдущей ломаной линии.
4. Описанный выше зуб полотна ленточной пилы по металлу, в котором звенья режущей кромки, выполненной по выпуклой ломаной линии, равны между собой.
5. Описанный выше зуб полотна ленточной пилы по металлу, в котором звенья режущей кромки, выполненной по выпуклой ломаной линии, имеют разную длину.
6. Зуб полотна пилы по п. 1, отличающийся тем, что звенья режущей кромки, выполненной по выпуклой ломаной линии, размещены углом или фронтально относительно поверхности обрабатываемой заготовки.
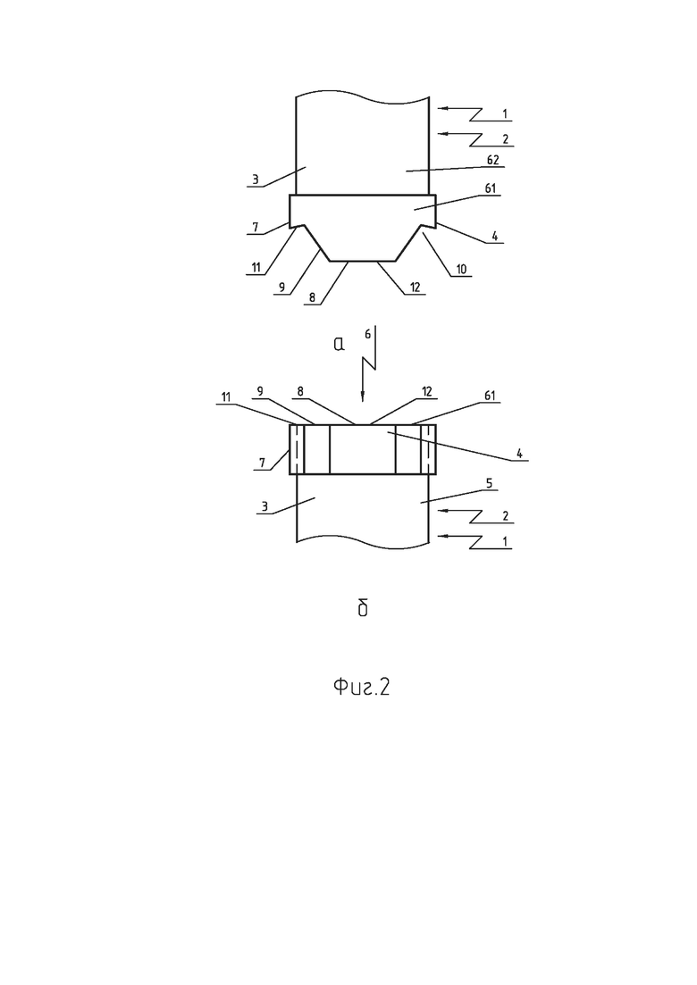
Описание заявленного зуба полотна ленточной пилы по металлу, содержащего режущую кромку пояснено на фиг. 1 и 2. На этих фигурах приведен вариант исполнения на вершине зуба твердосплавной пластины, т.е. режущая кромка выполнена по краю твердосплавной пластины. В случае выполнения зуба без твердосплавной пластины в его вершине все приведенные на фигурах элементы выполнены аналогично.
Фиг. 1 - зуб полотна ленточной пилы по металлу с режущей кромкой в виде выпуклой ломаной линии с равными по длине звеньями и угловым расположением центральных звеньев, а - вид сверху, б - вид спереди;
Фиг. 2 - зуб полотна ленточной пилы по металлу с режущей кромкой в виде выпуклой в центральной части ломаной линии с разными по длине звеньями, с фронтальным расположением центрального звена и крайними звеньями, образующими вогнутый угол относительно предыдущего звена, а - вид сверху, б - вид спереди.
На указанных фигурах приведены следующие обозначения:
1 - полотно ленточной пилы по металлу, 2 - зубчатая часть полотна ленточной пилы, 3 - зуб полотна ленточной пилы, 4 - твердосплавная пластина, 5 - передняя поверхность зуба, 6 - задняя поверхность зуба, 61 - главная задняя поверхность зуба, 62 - вспомогательная задняя поверхность зуба, 7 - боковая сторона зуба, 8 - режущая кромка зуба, 9 - звено режущей кромки зуба, выполненной по ломаной линии, 10 - вогнутый угол, 11 - крайние звенья режущей кромки, 12 - центральные звенья режущей кромки.
Заявляемое изобретение - «Зуб полотна ленточной пилы по металлу» выполнено следующим, описанным ниже образом.
Для изготовления полотен пил по металлу 1 используют ленты, полосы и листы из инструментальных, легированных, быстрорежущих и рессорных сталей толщиной, преимущественно, от 0,60 до 2,00 мм. Из этого сортамента выполняют плоские заготовки необходимого размера для будущего пильного полотна. На одной протяженной стороне заготовки формируют зубчатую часть 2 путем нарезания зубьев 3. На конце зубьев, в их вершинах закрепляют твердосплавные пластины 4 путем сварки или пайки. После этого на твердосплавных пластинах формируют переднюю 5 и заднюю 6 поверхности, а также боковые стороны зуба 7. Заднюю поверхность, как правило, выполняют из двух смежных поверхностей - главной 61 и вспомогательной 62. Поверхности выполняют методами шлифования и/или лазерной обработки. Затем с помощью обработки шлифованием вершины зуба со стороны передней поверхности формируют режущую кромку 8 зуба в виде ломаной линии, состоящей из звеньев 9 различной или одинаковой длины. Эту линию выполняют преимущественно выпуклой. В ряде случаев по краям кромки, выполненной по выпуклой ломаной линии, изготавливают звенья, образующие вогнутый угол 10 относительно предыдущей ломаной линии. Эти крайние звенья 11 выполняют роль стабилизаторов направления полотна пилы. Центральные звенья 12 кромки зуба могут быть размещены углом или фронтально относительно поверхности обрабатываемой заготовки. При выполнении режущей кромки в виде ломаной линии на передней поверхности зуба и частично на смежных участках боковых сторон зуба происходит образование гранной поверхности 13.
Таким образом, зуб полотна ленточной пилы по металлу 1, согласно заявляемому изобретению, содержит зубчатую часть 2, выполненную по одной узкой стороне полотна, на которой вырезаны режущие зубья 3. На вершине каждого зуба закреплена твердосплавная пластина 4, поверхности которой обработаны с помощью лазера и/или шлифованием с образованием передней 5 и задней 6 поверхностей, а также боковых сторон 7 зуба. Задняя поверхность в свою очередь может содержать главную 61 и вспомогательную 62 поверхности. В плоскости главной задней поверхности со стороны передней поверхности и частично боковых сторон сформирована режущая кромка 8 зуба в виде ломаной линии, состоящей из звеньев 9 различной или одинаковой длины. Ломаная линия кромки преимущественно выполнена выпуклой. В ряде случаев по краям кромки, выполненной по выпуклой ломаной линии, изготовлены звенья, которые образуют вогнутый угол 10 относительно предыдущей ломаной линии. Эти крайние звенья 11 выполняют роль стабилизаторов направления полотна пилы. Центральные звенья 12 кромки зуба могут быть размещены углом или фронтально относительно поверхности обрабатываемой заготовки. При выполнении режущей кромки в виде ломаной линии, сопряжение передней и задней поверхностей происходит по звеньям режущей кромки, за счет этого на передней поверхности зуба и частично на боковых сторонах происходит образование гранной поверхности 13.
Пример 1
Из стальной ленты марки У8А толщиной 0,9 мм было изготовлено полотно ленточной пилы шириной 20 мм. По одному краю полотна, с помощью режущего (фреза) и шлифовального (шлифовальный круг) инструмента были нарезаны режущие зубья, т.е. была выполнена зубчатая часть полотна пилы. На каждом зубе сверху выполнена твердосплавная режущая пластинка из сплава ВК8. Зубья имели высоту 5 мм с постоянным шагом 4 мм.
Формировали зубья в два этапа. На первом этапе формировали зубья с прямой кромкой, на втором этапе выполняли кромку в виде ломаной линии и соответствующую переднюю поверхность. Форма зубьев была стандартная, конфигурация после первого этапа следующая: угол альфа α (передний угол) равен 10°, угол бета β1 (главный задний угол) равен 12°, угол бета β2 (вспомогательный задний угол) равен 20°, угол заострения равен 68°, угол гамма γ (боковое уширение) равен 5°, ширина обточенных пластин ВК8 составляла 1,1 - 1,3 мм.
На втором этапе на задней поверхности указанного зуба, на площадке с главным углом на стороне, обращенной к обрабатываемому материалу, формировали режущую кромку, состоящую из 6 равных звеньев, расположение звеньев симметричное относительно плоскости симметрии ленточного полотна, два центральных звена размещены углом в 150-160° навстречу обрабатываемой заготовки, угол заострения на звеньях режущей кромки был равен 66-68°. Передний угол на гранях передней поверхности составлял 9-10°. Длину каждого звена кромки определяли примерно, как ¼ диаметра описанной окружности правильного 12-угольника, размещенного на главной задней поверхности зуба, и более точно определяли практически при шлифовании, она составляла 0, 14-0,16 мм. Разводка зубьев стандартная, ширина разводки составляет 50-60% от толщины полотна на каждую сторону.
Общая длина полотна ленточной пилы составила 2362 мм, разводка зубьев соединение свободных концов полотна ленточной пилы осуществлено сваркой, вершины всех зубьев выполнены на одном уровне с точностью до 0,1 мм.
Полученное полотно ленточной пилы помещали в ленточнопильный консольный станок JET HVBS-712K 750 Вт. Скорость пильного полотна 70 м/мин. С помощью этого станка распиливали поперечно круг из стали марки 30Х диаметром 60 мм, плоскость пиления перпендикулярна оси заготовки. Пиление проводили до резкого усиления вибрации полотна или разрыва полотна пилы. Резкое усиление вибрации полотна является следствием выкрашивания твердосплавной вершины режущего зуба, появления трещин в области ножки и/или вершины зуба, распространения трещин на полотно. Указанные причины, если не остановить процесс пиления и не заменить полотно пилы, приведут полотно к разрыву. Еще одной причиной прекращения пиления является отклонение плоскости резания от заданной. Таким образом, ресурс работы полотна пилы определяли как время его работы да остановки пилы или до разрыва полотна пилы. Измеряли ресурс работы полотна по количеству резов и/или по наработке площади резания в кв. м. Количество испытуемых кругов брали по необходимости, длина отрезанных заготовок равнялась 50 мм. Конечные результаты определяли по совокупности всех резов.
Аналогичные испытания были также проведены с полотном ленточной пилы, изготовленным приведенным выше способом, после первого этапа, т.е. без изменения режущей кромки зуба, а именно: режущая кромка на твердосплавной пластине была выполнена прямой, а режущие зубья имели высоту 5 мм и постоянный шаг 4 мм.
Испытания показали следующие результаты:
- Ресурс работы полотен пилы с выполнением режущей кромки зуба по ломаной линии составил 274 реза или 0,774 кв. м;
- Ресурс работы полотен пилы без изменения режущей кромки, т.е. с прямой режущей кромкой составил 196 резов или 0,556 кв. м.
Пример 2
Аналогично примеру 1 было изготовлено полотно ленточной пилы. Режущие зубья имели высоту 5 мм с постоянным шагом 4 мм. На каждом зубе сверху была выполнена твердосплавная режущая пластинка из сплава ВК8, на которой потом формировали боковые стороны, переднюю и заднюю поверхности, а также режущую кромку зуба. Другие характеристика зубьев, длина полотна, количество конструкционных элементов также были аналогичны и их значения указаны в примере 1.
Отличием изготовленного данного полотна ленточной пилы от примера 1 являлось формирование режущей кромки из 3 звеньев, а именно, из одного центрального и двух боковых, размер центрального звена составлял 0,50 мм, размеры боковых звеньев 0,20 мм, расположение звеньев симметричное относительно плоскости симметрии ленточного полотна, центральное звено размещен под углом 90° к плоскости симметрии ленточного полотна. На концах обоих боковых звеньев исполнены дополнительные звенья размером 0,08 мм, образующие относительно них вогнутый угол величиной 130-140°. Угол заострения на звеньях режущей кромки был равен 66-68°. Разводка зубьев стандартная, ширина разводки составляет 50-60% от толщины полотна на каждую сторону.
Испытания изготовленных полотен пилы и условия их проведения также были проведены аналогично способу, указанному в примере 1.
Испытания показали следующие результаты: Ресурс работы полотен пилы с выполнением режущей кромки зуба по ломаной линии составил 259 резов или 0,732 кв. м. Ресурс работы полотен пилы без изменения режущей кромки, т.е. с прямой режущей кромкой указан в примере 1.
Приведенные в указанных примерах данные убедительно показывают преимущество заявляемых зубьев полотен ленточных пил, которое, главным образом, выражается в повышении ресурса их работы.
Представленные выше варианты исполнения зуба полотна ленточной пилы по металлу не следует рассматривать как ограничивающие объем изобретения. Напротив, возможны также варианты, модификации и эквиваленты описанных примеров в пределах объема прав, изложенных в формуле изобретения.
Приведенные выше описание осуществления изобретения и примеры его реализации подтверждают достижение заявленного технического результата в процессе осуществления изобретения при реализации всей совокупности его существенных признаков. Они также показывают причинно-следственную связь существенных признаков между собой и достигаемым техническим результатом.
| название | год | авторы | номер документа |
|---|---|---|---|
| Пильное полотно для ножовки по металлу | 2024 |
|
RU2834518C1 |
| Полотно ленточной пилы по металлу с абразивом | 2024 |
|
RU2828896C1 |
| Полотно ленточной пилы по металлу | 2024 |
|
RU2828893C1 |
| Полотно пилы по металлу | 2024 |
|
RU2834793C1 |
| Пильное полотно для ножовки по металлу | 2024 |
|
RU2836985C1 |
| ЛЕНТОЧНАЯ ПИЛА | 2006 |
|
RU2305626C1 |
| РЕЖУЩИЙ ИНСТРУМЕНТ И СПОСОБ ЕГО ИЗГОТОВЛЕНИЯ | 2008 |
|
RU2396163C2 |
| СПОСОБ ЗАТОЧКИ ПИЛ | 2007 |
|
RU2365473C2 |
| КРУГЛАЯ СТРОГАЛЬНАЯ ПИЛА ДЛЯ ЧИСТОВОГО ПРОДОЛЬНО-ПОПЕРЕЧНОГО РЕЗАНИЯ ДРЕВЕСИНЫ | 1999 |
|
RU2158674C1 |
| ПИЛЬНАЯ ЦЕПЬ | 1997 |
|
RU2121434C1 |
Изобретение относится к устройствам для обработки металлов резанием, прежде всего к изготовлению полотен ленточных пил по металлу, и может быть использовано в областях, связанных с механической обработкой металлов и композитов. Зуб полотна ленточной пилы по металлу содержит режущую кромку, которая выполнена в виде ломаной линии в плоскости задней поверхности зуба и в пределах ее ширины с образованием звеньев режущей кромки и гранной передней поверхности. Повышается ресурс работы полотна пилы по металлу и его зубьев, снижаются деформации и затупления зубьев. 6 з.п. ф-лы, 2 ил.
1. Зуб полотна ленточной пилы по металлу, содержащий режущую кромку, отличающийся тем, что режущая кромка выполнена в виде ломаной линии в плоскости задней поверхности зуба и в пределах ее ширины с образованием звеньев режущей кромки и гранной передней поверхности.
2. Зуб полотна пилы по п. 1, отличающийся тем, что режущая кромка содержит по меньшей мере три звена ломаной линии.
3. Зуб полотна пилы по п. 1, отличающийся тем, что режущая кромка выполнена в виде выпуклой по направлению хода резания ломаной линии.
4. Зуб полотна пилы по п. 3, отличающийся тем, что на одном или обоих концах режущей кромки, выполненной по выпуклой ломаной линии, выполнены звенья, образующие вогнутый угол относительно предыдущего звена ломаной линии.
5. Зуб полотна пилы по п. 3, отличающийся тем, что звенья режущей кромки, выполненной по выпуклой ломаной линии, равны между собой.
6. Зуб полотна пилы по п. 3, отличающийся тем, что звенья режущей кромки, выполненной по выпуклой ломаной линии, имеют разную длину.
7. Зуб полотна пилы по п. 3, отличающийся тем, что звенья режущей кромки, выполненной по выпуклой ломаной линии, расположены под углом или фронтально относительно поверхности обрабатываемой заготовки.
| ПИЛЬНОЕ ПОЛОТНО ДЛЯ ПИЛЕНИЯ ПОЛЫХ ФОРМОВАННЫХ ПРОФИЛЕЙ | 2012 |
|
RU2580260C2 |
| Пила для чистового резания древесины | 1991 |
|
SU1801744A1 |
| Узел уплотнения стеклянных труб в отверстиях трубных досок теплообменного аппарата | 1978 |
|
SU715919A1 |
| ФАСЕТНОЕ РЕЖУЩЕЕ ПОЛОТНО ПИЛЫ ДЛЯ СНЯТИЯ МНОГОСЛОЙНОЙ СТРУЖКИ И СПОСОБ ЕГО ИСПОЛЬЗОВАНИЯ | 2004 |
|
RU2372189C2 |
| RU 2007141227 A, 20.05.2009 | |||
| DE 102007054601 A1, 20.05.2009 | |||
| US 11813683 B2, 14.11.2023. | |||
Авторы
Даты
2025-02-14—Публикация
2024-05-21—Подача